JP2010056780A - Rfid通信装置、rfid通信用ゲート及びrfid通信方法 - Google Patents

Rfid通信装置、rfid通信用ゲート及びrfid通信方法 Download PDF

Info

Publication number
JP2010056780A
JP2010056780A JP2008218614A JP2008218614A JP2010056780A JP 2010056780 A JP2010056780 A JP 2010056780A JP 2008218614 A JP2008218614 A JP 2008218614A JP 2008218614 A JP2008218614 A JP 2008218614A JP 2010056780 A JP2010056780 A JP 2010056780A
Authority
JP
Japan
Prior art keywords
reflected
radio wave
rfid communication
wave
radio
Prior art date
Legal status (The legal status is an assumption and is not a legal conclusion. Google has not performed a legal analysis and makes no representation as to the accuracy of the status listed.)
Granted
Application number
JP2008218614A
Other languages
English (en)
Other versions
JP5347379B2 (ja
Inventor
Hidehiro Kametani
秀洋 亀谷
Kenichi Matsumura
謙一 松村
Current Assignee (The listed assignees may be inaccurate. Google has not performed a legal analysis and makes no representation or warranty as to the accuracy of the list.)
NEC Corp
Original Assignee
NEC Corp
Priority date (The priority date is an assumption and is not a legal conclusion. Google has not performed a legal analysis and makes no representation as to the accuracy of the date listed.)
Filing date
Publication date
Application filed by NEC Corp filed Critical NEC Corp
Priority to JP2008218614A priority Critical patent/JP5347379B2/ja
Publication of JP2010056780A publication Critical patent/JP2010056780A/ja
Application granted granted Critical
Publication of JP5347379B2 publication Critical patent/JP5347379B2/ja
Expired - Fee Related legal-status Critical Current
Anticipated expiration legal-status Critical

Links

Images

Landscapes

  • Near-Field Transmission Systems (AREA)

Abstract

【課題】必要な電界強度を確保しつつ、RFIDタグの読み取り範囲を特定し、電波の漏洩や、読み取り範囲外のRFIDタグとの誤通信を抑制する。
【解決手段】アンテナ2から放射される電波をRFIDタグに向けて反射させる電波反射板3が備えられたRFID通信装置1であって、前記電波反射板3は、略フラットな反射面部に、反射波が強度を強め合う部分、及び/又は、反射波が強度を弱め合う部分を積極的につくり、反射波を所定方向に集束させる反射波集束パターン4を有する。
【選択図】図1

Description

本発明は、RFIDタグ(ICタグ)と通信を行うためのRFID通信装置及びRFID通信用ゲート係り、詳しくは、アンテナから放射される電波をRFIDタグに向けて反射させる電波反射板が備えられたRFID通信装置、RFID通信用ゲート及びRFID通信方法
に関する。
近年、RFIDタグと通信を行うためのRFID通信装置やRFID通信用ゲートが普及している。この種のRFID通信装置には、RFIDタグに向けて電波を放射するとともに、RFIDタグからの応答電波をキャッチするアンテナが備えられている。
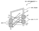
例えば、図13に示すRFID通信用ゲート201は、ゲート通過領域の左右両側に立設される支柱部202にそれぞれアンテナ203を有し、こられのアンテナ203を順次切換えてRFIDタグと通信を行うようになっている。
しかしながら、アンテナ203の近傍域では、電波の放射範囲が狭いため、ゲート内の全域に電波を放射するには、多くのアンテナ203が必要になる。
このため、アンテナ数の増加は、コストを上昇させるだけでなく、アンテナ203の切換時間を増やし、高速移動するRFIDタグの読取性能を低下させる可能性がある。
そこで、アンテナから放射される電波をRFIDタグに向けて反射させる電波反射板を備えたRFID通信装置が提案されている(例えば、特許文献1参照)。このようなRFID通信装置によれば、アンテナ数を削減しつつ、近傍域での電波放射範囲を広げることができるので、コストを削減できるだけでなく、アンテナの切換時間を減らし、高速移動するRFIDタグの読取性能を向上させることができる。
特開2006−345463号公報
しかしながら、電波反射板を用いる従来のRFID通信装置においては、必要な電界強度を確保しつつ、RFIDタグの読み取り範囲を特定することが困難であるため、電波の漏洩や、読み取り範囲外のRFIDタグとの誤通信が発生する可能性があった。
具体的には、図14に示すように、アンテナ203の近傍(例えばオフセット=0.6m)に電波反射板204(長さ1.5λ以上、好ましくは2λ(λは860MHz帯の場合、約35cm)を設置し、アンテナ203から垂直方向に放射角65°で放射した電波を、電波反射板204で水平方向に反射させて電波受面(距離=2.5m)に放射する場合、電波反射板204の反射放射角は65°となり、放射角の抑制作用は得られない。
また、図15に示すように、アンテナ203の遠方(例えばオフセット=1.2m以上)に電波反射板204(長さ1.5λ以上、好ましくは2λ)を設置し、アンテナ203から垂直方向に放射角65°で放射した電波を、電波反射板204で水平方向に反射させて電波受面(距離=2.5m)に放射する場合、電波反射板204の反射放射角は30°程度となり、放射角を抑えることは可能となる。
しかしながら、図15に示すように、アンテナ203から放射される電波のうち、電波反射板204で反射されない多くの電波が無駄になるので、電界強度が低下してしまうことになる。
なお、電波反射板の反射波の拡がりを抑えるために、電波反射板を1.5λよりも小さくすることが考えられる。
ところが、この場合には、図16に示すように、電波の回折や散乱が増えるため、結果的に電波の拡がりを抑えることが困難であるだけでなく、反射面積の減少により電界強度が弱くなってしまうという問題が生じる。
また、電波反射板の反射波の拡がりを抑えるために、反射面に放物面や楕円面をもつパラボラ反射板を用いたり、異なる角度で設置される複数の電波反射板を用いることも可能であるが、このようにすると、コストが上昇するだけでなく、アンテナとの位置関係を高精度に調整し、かつ、精度を保つ必要があった。
さらに、アンテナや電波反射板の配置に制約があるRFID通信用ゲートにおいては、パラボラ反射板や、複数の電波反射板を設置することが非常に難しいという問題も生じる。
本発明は、上記の事情にかんがみなされたものであり、必要な電界強度を確保しつつ、RFIDタグの読み取り範囲を特定し、電波の漏洩や、読み取り範囲外のRFIDタグとの誤通信を抑制できるRFID通信装置、RFID通信用ゲート及びRFID通信方法の提供を目的とする。
上記目的を達成するため本発明のRFID通信装置は、アンテナから放射される電波をRFIDタグに向けて反射させる電波反射板が備えられたRFID通信装置であって、前記電波反射板は、略フラットな反射面部に、反射波が強度を強め合う部分、及び/又は、反射波が強度を弱め合う部分を積極的につくり、反射波を所定方向に集束させる反射波集束パターンを有する構成としてある。
また、上記目的を達成するため本発明のRFID通信用ゲートは、アンテナから放射される電波を、ゲート通過領域のRFIDタグに向けて反射させる電波反射板が備えられたRFID通信用ゲートであって、前記電波反射板は、略フラットな反射面部に、反射波が強度を強め合う部分、及び/又は、反射波が強度を弱め合う部分を積極的につくり、反射波を所定方向に集束させる反射波集束パターンを有する構成としてある。
さらに、上記目的を達成するため本発明のRFID通信方法は、アンテナから放射される電波を電波反射板によりRFIDタグに向けて反射させて通信を行わせるRFID通信方法であって、電波反射板の略フラットな反射面部に形成した、反射波が強度を強め合う部分、及び/又は、反射波が強度を弱め合う部分を備えた反射波集束パターンにより、アンテナから放射される電波の反射波を所定方向に集束させる方法としてある。
本発明によれば、必要な電界強度を確保しつつ、RFIDタグの読み取り範囲を特定することができ、電波の漏洩や、読み取り範囲外のRFIDタグとの誤通信を抑制できる。
以下、本発明のRFID通信装置、RFID通信用ゲート及びRFID通信方法の好ましい実施形態について、図面を参照して説明する。
[RFID通信装置]
まず、本発明の一実形態に係るRFID通信装置について、図1〜図10を参照して説明する。
図1は、本発明の一実施形態に係るRFID通信装置(電波吸収壁を省略)の概略側面図である。
図2(a)は、本実施形態の電波反射板の正面図、(b)は、(a)に示す電波反射板のX−X断面図である。
また、図3は、反射波集束パターンの他の実施形態を示す電波反射板の概略正面図である。
これらの図に示すように、本発明の一実施形態に係るRFID通信装置1は、アンテナ2から放射される電波(図1に示す破線矢印)を所定のRFIDタグ(図示せず)に向けて反射させる電波反射板3を備えている。
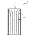
電波反射板3は、略フラットな反射面部を有し、該反射面部には、反射波が強度を強め合う部分、及び/又は、反射波が強度を弱め合う部分を積極的につくり、反射波を所定方向に集束させる反射波集束パターン4が形成されている。
具体的には、電波反射板3は、図2に示すように、ベースとなる反射板5の上に、帯状に形成された複数の電波吸収体6を並列状に配置して、電波反射部と電波吸収部を交互に形成するとともに、電波反射部の幅が外側ほど狭くなるシリンドリカルフレネルレンズパターン形状の反射波集束パターン4を形成している。
例えば、反射波集束パターン4は、ベースとなる反射板素材の上に、シリンドリカルフレネルレンズパターンを描くように電波吸収シート(テープ)を貼り付けることで形成できる。
このような反射波集束パターン4によれば、電波反射板3の幅方向中央側では十分な反射面積が確保されるので、反射波が互いに強度を強め合い、また、電波反射板3の幅方向外端側では反射面積が抑えられているので、反射波が互いに強度を弱め合うこととなる。その結果、電波反射板3の長さ方向における反射波を集束させずに、電波反射板3の幅方向における反射波を集束させることが可能になる。
また、電波反射板3には、図2に示すように、幅方向の両端部に電波反射方向に延出する電波吸収壁9を備えることができる(図1では図示省略)。このような電波吸収壁9を備えることにより、さらに指向性を高めるとともに、電波の回折を防止することができる。
このようにして、RFIDの反射板に、超解像技術を用いることによってアクティブなフェーズド・アレイ・アンテナ類似の効果を持たせることができ、かつ、低価格で高信頼性のRFID通信装置を実現することができる。
なお、反射波集束パターン4は、アンテナ2からの遠方界7では、電波反射部と電波吸収部が平行に配置されるが、近傍界8では、アンテナ2との距離に応じて間隔を調整することが好ましい。
例えば、図3に示すように、電波反射部と電波吸収部の間隔を、アンテナ2との距離が小さくなるほど広くし、末広がり状の非平行配置とすることができる。
反射波集束パターン4は、電波を反射させる素材、電波を吸収する素材、電波の波長に応じた周期性をもつ素材、電波を散乱させる素材のうち、一又は複数の素材を用いて形成することができる。
電波を反射させる素材としては、例えば、アルミ、鉄などの金属を用いることができ、電波を吸収する素材としては、例えば、フェライト、電波吸収体(細かい金属を樹脂で閉じ込めたもの)などを用いることができる。
また、電波の波長に応じた周期性をもつ素材としては、例えば、誘電率が一様で明確なものを用いることができ、電波を散乱させる素材としては、例えば、アルミ、鉄などの金属や、水などの水分を用いることができる。
以下、電波を反射させる素材と、電波を吸収する素材との組み合せによる反射波集束パターン4の具体的な構成例について説明する。
図4は、反射波集束パターンの構成例1を示す断面図である。
また、図5は、反射波集束パターンの構成例2を示す断面図である。
さらに、図6は、反射波集束パターンの構成例3を示す断面図である。
図4に示す反射波集束パターン4は、平板状の電波吸収体10の上に、帯状の反射板11を反射波の位相差が2枚の反射板11の中心で0、両端で1/2・λとなるように水平方向に間隔をあけて設置することにより構成されている。
具体的には、一つの反射板11の中心から隣の反射板11の中心までの距離が1・λ+(λ×整数)倍(位相が同じ)、例えば、{λ、2λ、3λ・・・}とし、両端では、1/2・λ+(λ×整数)倍(位相が180゜ずれる)、例えば、{0.5λ、1.5λ、2.5λ・・・・}とする。これにより、反射板11からの反射波が加算されて強め合う部分(中心側)と、減算されて弱め合う部分(両端側)がつくられる。
図5に示す反射波集束パターン4は、平板状の主反射板12の上に、厚さ約1/2・λ(誘電率≒1の時)の建材13(電波的には空のウレタン、発泡スチロールなど)を挟んで帯状の副反射板14を設置することにより構成されている。
これにより、主反射板12の中心部分で副反射板13の反射波との位相差により加算されて強め合う部分ができる。
図6に示す反射波集束パターン4は、図5と同様に、平板状の主反射板12の上に、厚さ約1/2・λ(誘電率≒1の時)の建材13を挟んで帯状の副反射板14を設置し、さらに、副反射板14の左右両側に、主反射板12と垂直方向に1/4・λ離してサイド副反射板15を設置した構成としてある。
このようにすると、主反射板12から外側方に反射する反射波と干渉し、強度を弱め合うので、外側方への反射波の拡がりを抑制し、幅方向の指向性をさらに高めることができる。
ここで、図6で示したサイド副反射板15は、電波反射板3の両端に一つずつ配置してもよく、また、一つの副反射板14に対し、その左右両側に一つずつ配置してもよい。前者の場合には、反射効率は良いものの、打ち消し合う反射波が少ないので、電波拡散の抑制効果は低い。逆に、後者の場合には、電波拡散の抑制効果は高くなるが、反射効率が低くなる。従って、これらの配置パターンは、実装するシステムに応じてカスタマイズすることができる。
なお、図5や図6に示す副反射板14の設置間隔は、水平方向に等間隔であってもよいが、アンテナ2からの距離に応じて調整することが好ましい。すなわち、アンテナ2から左右に離れるほど入射角が狭くなり、その分だけ隣との波長の距離が長くなるので、アンテナ2に近い部分では間隔を広くし、遠い部分では間隔が次第に狭くなるように配置調整を行うことができる。
図7は、電波反射板の断面構成例を示す図であり、(a)は、平板状の反射板と帯状の電波吸収シートで構成した電波反射板の断面図、(b)は、平板状の電波吸収板と帯状の電波反射シートで構成した電波反射板の断面図、また、(c)は、平板状の反射板と帯状の電波反射シートと建材とで構成された電波反射板の断面図を示している。
これらの図に示すように、本発明の電波反射板3は、様々な素材を用いて形成することが可能であり、アンテナ特性や設置環境等に応じて、最適な電波反射板3を構成することができる。
具体的には、図7(a)に示すように、平板状の反射板16と帯状の電波吸収シート17で構成された電波反射板3や、図7(b)に示すように、平板状の電波吸収板18と帯状の電波反射シート19で構成された電波反射板3は、電波を吸収する素材を用いていることから、電波の利用効率は低くなる。
一方、図7(c)に示す電波反射板3は、電波を吸収する素材を用いることなく、平板状の反射板20と帯状の電波反射シート21と建材22で構成されるため、アンテナ2からの電波の利用効率を飛躍的に高めることができる。
図8は、本実施形態に係る電波反射板3による反射波集束パターンの動作原理を模式的に示す説明図であり、(a)は最小構成の反射波集束パターン(水平構成)の説明図、(b)は同じく最小構成の反射波集束パターン(垂直構成)の説明図である。
具体的には、図8では最小構成の反射波集束パターン4を示しており、図8(a)に示す反射波集束パターン4は、主反射板23の左右両側にサイド副反射板24を配置して構成されている。この反射波集束パターンは、最先端半導体のレチクルにおけるアシストバーと同等の作用を持たせることで、主反射板23からの反射波の拡がりを抑制できる。
また、図8(b)に示す反射波集束パターン4は、平板状の主反射板25の上に、建材26を挟んで帯状の副反射板27を設置してなり、垂直構成の反射波集束パターンとしては最小構成のものである。
次に、以上のような構成からなる本実施形態の電波反射板3の作用について説明する。
アンテナ2から放射された電波が電波反射板3で反射され、RFIDタグと通信を行う。
電波反射板3は、例えば、図6に示したような反射波集束パターン4を有する。この場合、アンテナ2からの電波は、主反射板12、副反射板14及びサイド副反射板15に反射される。
主反射板12と副反射板14は、1/2・λの距離を離して設置されているため、それぞれの反射波の位相差はλとなり加算され中心で強め合う。
一方、主反射板12と副反射板14の双方から1/4・λの距離をとってサイド副反射板15が設置されているため、主反射板12とサイド副反射板15からの反射波の位相差は1/2・λとなり、互いに減算されて両端において弱め合う。
また、副反射板14とサイド副反射板15からの反射波の位相差も1/2・λであるため、同様に両端で減算されて弱め合う。
これにより、反射板3からの反射波は中心で強くなり、外方に広がる反射波は打ち消しあって弱くなるため、電波の漏洩や、読み取り範囲外のRFIDタグとの誤通信を抑制することが可能となる。
なお、アンテナ2からの電波が電波反射板3に対して斜めに入射する場合は、入射角により近傍と遠方において電波反射板3までの距離に差が出てしまう。
この場合、入射角の異なる近傍と遠方の距離差を補正するために、各反射板12、14、15同士の垂直距離を、入射角に応じて変化させることが好ましい。
例えば、図9に示すように、建材13の厚みを変え、各反射板12、14、15同士の垂直距離を調節する。
あるいは、図10に示すように、各反射板12、14、15同士を垂直方向に離す建材13の厚みを変えずに、建材13の誘電率(ε)を変えることで、実効的に1/2・λ、1/4・λを作成してもよい。
以上のように構成された本実施形態のRFID通信装置1によれば、以下のような効果が得られる。
第一の効果は、読取率の向上である。その理由は、通常の平面反射板を利用する場合に比べ、反射波が集束されて電界強度が高まり、読み取り範囲での読取率が向上する一方で、電波漏洩が減り、読み取り範囲外で過読が抑制されるからである。
第二の効果は、電波漏洩の低減である。その理由は、電波が反射時に集束されるとともに、余分なサイドローブが打ち消されるからである。
第三の効果は、電波反射板3の配置や加工の容易性である。その理由は、電波反射板3の反射面部が略フラットだからである。
第四の効果は、アンテナ2の数に比して広い読み取り範囲を確保できることである。その理由は、長さ方向の反射波を集束することなく、幅方向の反射波を集束させるからである。
第五の効果は、高速搬送時の読取性能の向上である。その理由は、アンテナ数の削減により、アンテナ2の切り換え時間が減少するからである。
以上のように、本実施形態のRFID通信装置1では、RFIDの反射板として、超解像技術を用いることによってアクティブなフェーズド・アレイ・アンテナ類似の効果を持たせることができ、かつ、低価格で高信頼性のRFID通信装置を実現することができる。
[RFID通信用ゲート]
次に、本発明の一実施形態に係るRFID通信用ゲートについて、図11及び図12を参照して説明する。
図11は、本発明の第一の実施形態に係るRFID通信用ゲートの概略斜視図であり、図12は、本発明の第二の実施形態に係るRFID通信用ゲートの概略斜視図である。
図11、12に示すように、RFID通信用ゲート30は、アンテナ2から放射される電波を、ゲート通過領域のRFIDタグ(図示せず)に向けて反射させる電波反射板3を備えて構成されており、電波反射板3は、略フラットな反射面部に、反射波が強度を強め合う部分、及び/又は、反射波が強度を弱め合う部分を積極的につくり、反射波を所定方向に集束させる反射波集束パターン4を有している。
具体的には、電波反射板3は、ゲート通過領域の左右両側に立設される左右の支柱部31に沿って、それぞれ1枚(図11参照)、又は2枚(図12参照)ずつ配置され、支柱部31の上端側(又は下端側)に配置されるアンテナ2からの電波をゲート通過領域に向けて反射させるようにしてある。
また、反射波集束パターン4は、ゲート通過領域の高さ方向における反射波を集束させずに、ゲート通過領域の前後方向における反射波を集束させる。
なお、上記構成の他、RFID通信用ゲート30に備えられる電波反射板3及び反射波集束パターン4は、上述した本発明の一実施形態に係る電波反射板3、反射波集束パターン4等と同様となっており、詳細な説明は省略する。
このような構成とすることにより、本実施形態のRFID通信用ゲート30では、電波反射板3の数を削減してコストダウンが図れるとともに、読み取り範囲を最適化することが可能となる。
このように、本実施形態に係るRFID通信用ゲート30によれば、本発明の電波反射板3により、必要な電界強度を確保しつつ、RFIDタグの読み取り範囲を特定し、電波の漏洩や、読み取り範囲外のRFIDタグとの誤通信を抑制することができる。
すなわち、本実施形態のRFID通信用ゲート30では、RFIDの反射板に、超解像技術を用いることによってフェーズド・アレイ・アンテナで実現されるような電波の左右方向の集束を実現し、また、必要に応じて、左右・上下に反射板を配置して、これら複数の反射板を用いることで上下方向の電波放射角を確保することが実現でき、低価格かつ高信頼性のRFID通信用ゲートを提供することができる。
以上、本発明のRFID通信装置、RFID通信用ゲート及びRFID通信方法について、好ましい実施形態を示して説明したが、本発明は、上述した実施形態にのみ限定されるものではなく、本発明の範囲で種々の変更実施が可能であることは言うまでもない。
例えば、本発明のRFID通信装置、RFID通信用ゲート及びRFID通信方法の適用対象としては、特に限定されるものではない。
本発明の適用対象は、例えば、複数台のRFID通信装置を配置させ、漏洩・誤読取の防止が重要になる現場、例えば、トラックターミナル、物流倉庫、自動倉庫の通路や、荷物の積上げ、積み下ろし現場などに好適に用いることができる。
また、1台のRFID通信装置を狭いスペースに配置し、設置スペースへの要求や、読み取り範囲外のRFIDタグの読み取りを行うことがあってはならない商店などの商品自動決算装置、人や車などの入退場路、更には、商店の一時置き倉庫・仮倉などの出入口についても適用可能である。
本発明は、アンテナから放射される電波をRFIDタグに向けて反射させる電波反射板が備えられたRFID通信装置やRFID通信用ゲートに好適に用いることができる。
本発明の一実施形態に係るRFID通信装置の概略側面図である。 本発明の一実施形態に係るRFID通信装置の、(a)は電波反射板の正面図、(b)は、(a)に示す電波反射板のX−X断面図である。 本発明の反射波集束パターンの他の実施形態を示す電波反射板の概略正面図である。 本発明の反射波集束パターンの構成例1を示す断面図である。 本発明の反射波集束パターンの構成例2を示す断面図である。 本発明の反射波集束パターンの構成例3を示す断面図である。 本発明の電波反射板の断面構成例を示す図であり、(a)は、平板状の反射板と帯状の電波吸収シートで構成された電波反射板の断面図、(b)は、平板状の電波吸収板と帯状の電波反射シートで構成された電波反射板の断面図、また、(c)は、平板状の反射板と帯状の電波反射シートと建材で構成された電波反射板の断面図である。 本発明の一実施形態に係る電波反射板による反射波集束パターンの動作原理を模式的に示す説明図であり、(a)は最小構成の反射波集束パターン(水平構成)の説明図、(b)は同じく最小構成の反射波集束パターン(垂直構成)の説明図である。 入射角の異なる近傍と遠方の距離差を補正する機能を備えた電波反射板の一実施形態を示す、(a)は断面図、(b)はその平面図である。 入射角の異なる近傍と遠方の距離差を補正する機能を備えた電波反射板の他の実施形態を示す断面図である。 本発明の第一の実施形態に係るRFID通信用ゲートの概略斜視図である。 本発明の第二の実施形態に係るRFID通信用ゲートの概略斜視図である。 従来例に係るRFID通信用ゲートの概略斜視図である。 従来例に係る電波反射板の作用説明図である。 従来例に係る電波反射板の作用説明図である。 従来例に係る電波反射板の作用説明図である。
符号の説明
1 RFID通信装置
2 アンテナ
3 電波反射板
4 反射波集束パターン
30 RFID通信用ゲート
31 支柱部

Claims (11)

  1. アンテナから放射される電波をRFIDタグに向けて反射させる電波反射板が備えられたRFID通信装置であって、
    前記電波反射板は、略フラットな反射面部に、反射波が強度を強め合う部分、及び/又は、反射波が強度を弱め合う部分を備え、反射波を所定方向に集束させる反射波集束パターンを有することを特徴とするRFID通信装置。
  2. 前記反射波集束パターンは、前記電波反射板の長さ方向における反射波を集束させずに、前記電波反射板の幅方向における反射波を集束させることを特徴とする請求項1記載のRFID通信装置。
  3. 前記反射波集束パターンは、電波を反射させる素材、電波を吸収する素材、電波の波長に応じた周期性をもつ素材、電波を散乱させる素材のうち、一又は複数の素材を用いて形成されることを特徴とする請求項1又は2記載のRFID通信装置。
  4. 前記反射波集束パターンは、位相差が1/2・λ、λ、及び、その他の反射波を生成するために、電波を反射する反射板上に、水平方向に距離を離した2枚以上の電波吸収体を設置して構成されることを特徴する請求項1〜3のいずれかに記載のRFID通信装置。
  5. 前記反射波集束パターンは、位相差が1/2・λ、λ、及び、その他の反射波を生成するために、水平方向、及び/又は、垂直方向に距離を離した2枚以上の電波反射体を設置して構成されることを特徴する請求項1〜3のいずれかに記載のRFID通信装置。
  6. 前記反射波集束パターンは、位相差が1/2・λ、λ、及び、その他の反射波を生成するために、垂直方向に距離を離した2枚以上の電波反射体を設置して構成され、さらに、入射角の異なる近傍と遠方の距離差を補正するために、前記電波反射体同士の垂直距離を、入射角に応じて変化させたことを特徴する請求項5記載のRFID通信装置。
  7. 前記反射波集束パターンは、位相差が1/2・λ、λ、及び、その他の反射波を生成するために、垂直方向に距離を離した2枚以上の電波反射体を設置して構成され、さらに、入射角の異なる近傍と遠方の距離差を補正するために、前記電波反射体同士を垂直方向に離す建材の誘電率を、入射角に応じて変化させたことを特徴する請求項5記載のRFID通信装置。
  8. アンテナから放射される電波を、ゲート通過領域のRFIDタグに向けて反射させる電波反射板が備えられたRFID通信用ゲートであって、
    前記電波反射板は、略フラットな反射面部に、反射波が強度を強め合う部分、及び/又は、反射波が強度を弱め合う部分を備え、反射波を所定方向に集束させる反射波集束パターンを有することを特徴とするRFID通信用ゲート。
  9. 前記電波反射板は、ゲート通過領域の左右両側に立設される左右の支柱部に沿って、それぞれ1枚ずつ配置され、前記支柱部の上端側又は下端側に配置されるアンテナからの電波をゲート通過領域に向けて反射させ、
    前記反射波集束パターンは、ゲート通過領域の高さ方向における反射波を集束させずに、ゲート通過領域の前後方向における反射波を集束させることを特徴とする請求項8記載のRFID通信用ゲート。
  10. アンテナから放射される電波を電波反射板によりRFIDタグに向けて反射させて通信を行わせるRFID通信方法であって、
    電波反射板の略フラットな反射面部に形成した、反射波が強度を強め合う部分、及び/又は、反射波が強度を弱め合う部分を備えた反射波集束パターンにより、アンテナから放射される電波の反射波を所定方向に集束させることを特徴とするRFID通信方法。
  11. 前記反射波集束パターンが、前記電波反射板の長さ方向における反射波を集束させずに、前記電波反射板の幅方向における反射波を集束させることを特徴とする請求項10記載のRFID通信方法。
JP2008218614A 2008-08-27 2008-08-27 Rfid通信装置、rfid通信用ゲート及びrfid通信方法 Expired - Fee Related JP5347379B2 (ja)

Priority Applications (1)

Application Number Priority Date Filing Date Title
JP2008218614A JP5347379B2 (ja) 2008-08-27 2008-08-27 Rfid通信装置、rfid通信用ゲート及びrfid通信方法

Applications Claiming Priority (1)

Application Number Priority Date Filing Date Title
JP2008218614A JP5347379B2 (ja) 2008-08-27 2008-08-27 Rfid通信装置、rfid通信用ゲート及びrfid通信方法

Publications (2)

Publication Number Publication Date
JP2010056780A true JP2010056780A (ja) 2010-03-11
JP5347379B2 JP5347379B2 (ja) 2013-11-20

Family

ID=42072250

Family Applications (1)

Application Number Title Priority Date Filing Date
JP2008218614A Expired - Fee Related JP5347379B2 (ja) 2008-08-27 2008-08-27 Rfid通信装置、rfid通信用ゲート及びrfid通信方法

Country Status (1)

Country Link
JP (1) JP5347379B2 (ja)

Cited By (1)

* Cited by examiner, † Cited by third party
Publication number Priority date Publication date Assignee Title
JP2021150769A (ja) * 2020-03-18 2021-09-27 東芝テック株式会社 無線タグ読取装置

Citations (4)

* Cited by examiner, † Cited by third party
Publication number Priority date Publication date Assignee Title
JPH1127035A (ja) * 1997-07-04 1999-01-29 Dainippon Printing Co Ltd アンテナ
JP2003249872A (ja) * 2002-02-22 2003-09-05 Sharp Corp 無線通信システム
JP2007116451A (ja) * 2005-10-20 2007-05-10 Denso Corp 無線通信システム
JP2007143132A (ja) * 2005-10-21 2007-06-07 Nitta Ind Corp 通信改善用シート体ならびにそれを備えるアンテナ装置および電子情報伝達装置

Patent Citations (4)

* Cited by examiner, † Cited by third party
Publication number Priority date Publication date Assignee Title
JPH1127035A (ja) * 1997-07-04 1999-01-29 Dainippon Printing Co Ltd アンテナ
JP2003249872A (ja) * 2002-02-22 2003-09-05 Sharp Corp 無線通信システム
JP2007116451A (ja) * 2005-10-20 2007-05-10 Denso Corp 無線通信システム
JP2007143132A (ja) * 2005-10-21 2007-06-07 Nitta Ind Corp 通信改善用シート体ならびにそれを備えるアンテナ装置および電子情報伝達装置

Cited By (4)

* Cited by examiner, † Cited by third party
Publication number Priority date Publication date Assignee Title
JP2021150769A (ja) * 2020-03-18 2021-09-27 東芝テック株式会社 無線タグ読取装置
CN113496130A (zh) * 2020-03-18 2021-10-12 东芝泰格有限公司 无线标签读取装置
US11475228B2 (en) 2020-03-18 2022-10-18 Toshiba Tec Kabushiki Kaisha Wireless tag reader
JP7535385B2 (ja) 2020-03-18 2024-08-16 東芝テック株式会社 無線タグ読取装置

Also Published As

Publication number Publication date
JP5347379B2 (ja) 2013-11-20

Similar Documents

Publication Publication Date Title
CN102104200B (zh) 曲线阵列馈源双焦抛物反射面空间功率合成天线
CN101826658B (zh) 一种基站天线的反射板及基站天线
KR100731278B1 (ko) 안테나 어셈블리
KR102001519B1 (ko) 좁은 빔폭을 갖는 무선 통신 안테나
JPH09307343A (ja) マイクロストリップアンテナ装置
JP5013267B2 (ja) レーダアンテナ装置
RU2257649C2 (ru) Зеркальная антенна с общей апертурой с усовершенствованной конструкцией облучателя
US20250260158A1 (en) Integrated base station antenna
JP5347379B2 (ja) Rfid通信装置、rfid通信用ゲート及びrfid通信方法
CN113661610A (zh) 雷达装置以及雷达装置用托架
US20100073141A1 (en) Ic tag reading device
WO2019235354A1 (ja) Rfidシステム
KR102418087B1 (ko) 반사형 안테나 장치 및 그 설계방법
JP2008140216A (ja) Icタグ読取装置
JP5565319B2 (ja) セクタアンテナ
CN110994190A (zh) 一种复合型超宽频引向器及高低频嵌套组阵
EP3883052B1 (en) Wireless tag reader
RU2336615C1 (ru) Многолучевая зеркальная антенна
JP6037761B2 (ja) アンテナ装置
EP4360166A1 (en) Antenna apparatus comprising an array of radiators and a refractive device
JP3822818B2 (ja) 誘電体漏れ波アンテナ
JPH0342723B2 (ja)
JP2020038544A (ja) 通信用ゲート
JP2008028795A (ja) アンテナ装置
JP2003300500A (ja) 電波吸収装置及び航空機用インテークダクト

Legal Events

Date Code Title Description
A621 Written request for application examination

Free format text: JAPANESE INTERMEDIATE CODE: A621

Effective date: 20110602

A977 Report on retrieval

Free format text: JAPANESE INTERMEDIATE CODE: A971007

Effective date: 20121113

A131 Notification of reasons for refusal

Free format text: JAPANESE INTERMEDIATE CODE: A131

Effective date: 20121120

A521 Request for written amendment filed

Free format text: JAPANESE INTERMEDIATE CODE: A523

Effective date: 20130117

A131 Notification of reasons for refusal

Free format text: JAPANESE INTERMEDIATE CODE: A131

Effective date: 20130212

A521 Request for written amendment filed

Free format text: JAPANESE INTERMEDIATE CODE: A523

Effective date: 20130401

TRDD Decision of grant or rejection written
A01 Written decision to grant a patent or to grant a registration (utility model)

Free format text: JAPANESE INTERMEDIATE CODE: A01

Effective date: 20130723

A61 First payment of annual fees (during grant procedure)

Free format text: JAPANESE INTERMEDIATE CODE: A61

Effective date: 20130805

R150 Certificate of patent or registration of utility model

Free format text: JAPANESE INTERMEDIATE CODE: R150

LAPS Cancellation because of no payment of annual fees