JP2010054149A - 蓄熱式暖房装置 - Google Patents

蓄熱式暖房装置 Download PDF

Info

Publication number
JP2010054149A
JP2010054149A JP2008221059A JP2008221059A JP2010054149A JP 2010054149 A JP2010054149 A JP 2010054149A JP 2008221059 A JP2008221059 A JP 2008221059A JP 2008221059 A JP2008221059 A JP 2008221059A JP 2010054149 A JP2010054149 A JP 2010054149A
Authority
JP
Japan
Prior art keywords
heat storage
greenhouse
heating
heat
hot water
Prior art date
Legal status (The legal status is an assumption and is not a legal conclusion. Google has not performed a legal analysis and makes no representation as to the accuracy of the status listed.)
Granted
Application number
JP2008221059A
Other languages
English (en)
Other versions
JP4738460B2 (ja
Inventor
Tsugio Yamaguchi
次夫 山口
Current Assignee (The listed assignees may be inaccurate. Google has not performed a legal analysis and makes no representation or warranty as to the accuracy of the list.)
KANEKIYA KOGYO KK
PUROTE SANGYO KK
Original Assignee
KANEKIYA KOGYO KK
PUROTE SANGYO KK
Priority date (The priority date is an assumption and is not a legal conclusion. Google has not performed a legal analysis and makes no representation as to the accuracy of the date listed.)
Filing date
Publication date
Application filed by KANEKIYA KOGYO KK, PUROTE SANGYO KK filed Critical KANEKIYA KOGYO KK
Priority to JP2008221059A priority Critical patent/JP4738460B2/ja
Publication of JP2010054149A publication Critical patent/JP2010054149A/ja
Application granted granted Critical
Publication of JP4738460B2 publication Critical patent/JP4738460B2/ja
Active legal-status Critical Current
Anticipated expiration legal-status Critical

Links

Images

Classifications

    • YGENERAL TAGGING OF NEW TECHNOLOGICAL DEVELOPMENTS; GENERAL TAGGING OF CROSS-SECTIONAL TECHNOLOGIES SPANNING OVER SEVERAL SECTIONS OF THE IPC; TECHNICAL SUBJECTS COVERED BY FORMER USPC CROSS-REFERENCE ART COLLECTIONS [XRACs] AND DIGESTS
    • Y02TECHNOLOGIES OR APPLICATIONS FOR MITIGATION OR ADAPTATION AGAINST CLIMATE CHANGE
    • Y02ATECHNOLOGIES FOR ADAPTATION TO CLIMATE CHANGE
    • Y02A40/00Adaptation technologies in agriculture, forestry, livestock or agroalimentary production
    • Y02A40/10Adaptation technologies in agriculture, forestry, livestock or agroalimentary production in agriculture
    • Y02A40/25Greenhouse technology, e.g. cooling systems therefor

Landscapes

  • Greenhouses (AREA)
  • Central Heating Systems (AREA)

Abstract


【課題】温室等の蓄熱方式暖房においてや、自然条件(大気暖房)に近い暖房効果を実現すると共に、二系統熱源の採用も容易に実現できる暖房装置を提供する。
【解決手段】温室A等の暖房対象の建屋内の適宜位置に、コンクリート製U字側溝11を形成し、前記側溝内に蓄熱用砕石12を充填すると共に、前記蓄熱用砕石12内に線状発熱部(第一線状発熱部21:電熱線と第二線状発熱部22:温水パイプ)を配設し、側溝上部をコンクリート製蓋体13で被覆し、選択的なエネルギー供給を実現する。
【選択図】図4

Description

本発明は、主として植物栽培に使用されるビニールハウス等の温室や、その他工場などの広い空間を均一的に暖房する必要がある個所を暖房するための蓄熱式暖房装置に関するものである。
例えば温室は、野菜や果実の栽培に使用される農業用や、熱帯植物などの栽培に使用する植物園に採用され、所定の骨組みにビニールを被せたり、或いはガラスを装着し、太陽熱を利用すると共に、別の熱源をも採用して温室内を所定の温度に保持するようにしている。
この熱源の組み込み手段としては、温室内にストーブのような直接熱源となる機器を設置して温室内を暖房する手法が知られているが、熱源機器の配置によっては室温分布にムラが生じ易く、これに伴い植物の育成も相違することになるので、その温度管理が非常に煩雑になる。
前記の対策として、温室内に蓄熱部材を配置し、蓄熱部材からの放熱によって温室内の暖房を均一にする手法が提案されている。
例えば特開平4−108321号公報(特許文献1)には、温室内地下に熱交換器(温水パイプ)を配置し、温室外の太陽熱集熱器(所謂ソーラーシステム)によって集熱した温水を一旦レシーバタンクに溜め、適宜前記熱交換器(温水パイプ)に通湯して、温室内地面自体を蓄熱体とする手段が開示されている。
また同様に特開平5−260857号公報(特許文献2)には、温室地下に泥状の蓄熱地中を設け、当該蓄熱地中内に熱交換用地中パイプ(温水パイプ)を蛇行させて配置する構造が開示されている。
更に実開平6−79230号公報(特許文献3)には、温室内に熱容量が大きいコンクリート製ブロックを配置し、日中の太陽光による熱を蓄え、夜間の急激な温度低下対策としている手法が開示されている。
特開平4−108321号公報。 特開平5−260857号公報。 実開平6−79230号公報。
前記の特許文献1,2に開示されているように地下に蓄熱体を構築する手段は、温水配管を温室地下全体に配設するために、植栽中には工事を行うことができない。また基本的に植物の根部分が温められ、その後大気が暖められることになり、自然状態(大気温度によって地面が暖められる)とは育成環境が異なってしまう。
また特許文献3記載のように大気と接触するコンクリートブロックを自然の蓄熱体とした場合には、特許文献1,2に開示されたように熱の供給がなされないので、温室内気温維持が所望通りなされない場合がある。
また前記の特許文献1,2,3は、太陽熱の利用であり、寒冷地においては熱源としては不十分である。この対策として前記の温水配管に別置ボイラーから温水を供給する手段も考えられるが、やはり自然状況と異なる育成条件となってしまう。
更に外部熱源を採用する場合には、ボイラーのように燃料を利用する場合と、線状発熱体(電熱線:特開平9−74922号公報参照)を採用する場合があり、各単独で採用されているが、経済性の点から両方を採用する場合に、特許文献1,2に開示されているように地中配管とすると施工が面倒となる。
そこで本発明は、自然に近い暖房効果を蓄熱方式で実現すると共に、二系統熱源の採用も容易に実現できる新規な蓄熱式暖房装置を提案したものである。
本発明に係る蓄熱式暖房装置は、温室等の暖房対象の建屋内の適宜位置に、コンクリート製U字側溝を形成し、前記側溝内に蓄熱用砕石を充填すると共に、前記蓄熱用砕石内に線状発熱部を配設し、側溝上部をコンクリート製蓋体で被覆してなることを特徴とするものである。
然して蓄熱部(蓄熱側溝部分)は、建屋内の任意の個所に構築でき、線状発熱部からの放熱で、蓄熱用砕石が暖められ、コンクリート製蓋体を通して建屋内の大気を緩やかに且つ長時間温めるもので、植栽状況は自然に近い状態となる。
また本発明(請求項2)に係る蓄熱式暖房装置は、特に前記の蓄熱式暖房装置において、露出地面上に構築した温室における側縁個所に側溝を形成してなるもので、温室において植物栽培中であっても施工が可能である。
また本発明(請求項3)に係る蓄熱式暖房装置は、特に前記の蓄熱式暖房装置において、線状発熱部が、電熱線と温水パイプとを併設したものである。
従ってそれぞれのエネルギー源として、太陽熱を利用する場合と、一方に太陽熱を利用する場合と、双方に外部エネルギー源を採用する場合や、或いはそれらを組み合わせることで、蓄熱体に対する充熱を多様に選択採用できる。
例えば植物栽培の農業用の場合、温室近傍のソーラーシステムからは温水を循環させて蓄熱体の充熱が可能であり、電熱線への電力供給を太陽電池から行うことができ、また昼間には、ソーラーシステムからの温水供給を受け、夜間には経済的な夜間電力を使用することもできる。勿論ボイラーを採用して温水供給するようにしても良いものである。
このように外気温の変動による影響を受けないように蓄熱個所からの放熱量を容易に制御でき、暖房対象の使用目的や気候的条件等に加味してエネルギー効率に優れた所望の温室暖房を設定することができる。
本発明装置は上記のとおりで、温室に効果的な緩やかな暖房となり、蓄熱式において、空気放熱方式を採用することで、植物栽培に適する温室暖房が実現されるとともに、U字側溝の採用によって施工が容易に行うことができたものである。
また特に暖房手段を二系統としたことによって、多様な暖房システムを構築することができ、暖房対象に応じて最適な暖房制御を実現することができる。
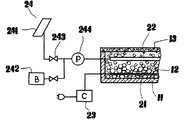
次に本発明の実施の形態について説明する。本発明の蓄熱式暖房装置は、蓄熱部1と供熱部2で構成され、例えば温室Aに施工する場合には、温室における側縁個所に添って蓄熱部1を構築するものである。
蓄熱部1は、コンクリート製U字側溝11を形成すると共に、前記側溝11内に蓄熱用砕石(玉砂利)12を充填し、側溝11の上部開口個所をコンクリート製蓋体13で被覆してなる。
供熱部2は、前記の蓄熱用砕石12内に配置した二種類の線状発熱部21,22と、これらの線状発熱部21,22に対して発熱エネルギーを供給するエネルギー供給部23,24で構成される。
第一線状発熱部21は、公知の電熱線であり、第一エネルギー供給部23は外部電力で構成され、特に夜間電力のみの供給を受けるようにしてなる。
第二線状発熱部22は温水配管で構成され、第二エネルギー供給部24は、ソーラーシステムで構成される自然温水供給部241と、燃料燃焼ボイラーで構成される強制温水供給部242と、切換え弁243と、循環ポンプ244を備えてなるものである。
而して昼間時には、第二エネルギー供給部24において、太陽熱で暖められた温水を第二線状発熱部22に供給して、蓄熱用砕石12を暖め、夜間においては、昼間で暖められている蓄熱用砕石12からの放熱で温室A内の室温低下を少なくし、更に夜間電力を使用して第一線状発熱部21に通電し発熱させて蓄熱用砕石12を暖める。
特に蓄熱部1は、暖められた蓄熱用砕石12からの熱は、コンクリート製蓋体13を通して温室空気に放熱されることになり、且つ蓄熱部1は温室Aの両側全長に渡って設けられているので、温室A内の全体が緩やかに暖められることになる。
更に、寒冷地や高地等で夜間の急激な気温低下が想定される場合には、第二線状発熱部22に、燃料燃焼ボイラーで構成される強制温水供給部242から温水を供給し、夜間電力で不足する熱量を補充するようにしたものである。
従って経済的な夜間電力を有効利用すると共に、省エネとなるソーラーシステムによる温水供給(自然温水供給部241の作動)、地域的条件から必要とされる燃料使用による温水供給(強制温水供給部242の作動)を選択して動作させることできる。
勿論温暖地域における温室栽培のように強制温水供給部242を組み込む必要がない場合や、寒冷地域における温室栽培のように日照時間が短く、自然温水供給部241の運転効率が悪い場合には、第二エネルギー供給部24を、自然温水供給部241を組み込まずに、強制温水供給部242のみとしても良い。
このように当該地域の気候条件によって、運転状態並びに組み込み機構を適宜選択する事ができるものである。
勿論本発明は、前記の温室栽培のみに適用されるものではなく、工場や一般家屋においても当然適用できるものである。
本発明の実施形態の全体の説明図(温室端面図)。 同平面図。 同蓄熱部の断面図。 同蓄熱部の説明図(斜視断面図)。 同供熱部の説明図。
符号の説明
A 温室
1 蓄熱部
11 コンクリート製U字側溝
12 蓄熱用砕石(玉砂利)
13 コンクリート製蓋体
2 供熱部
21 第一線状発熱部(電熱線)
22 第二線状発熱部(温水配管)
23 第一エネルギー供給部
24 第二エネルギー供給部
241 自然温水供給部(ソーラーシステム)
242 強制温水供給部(燃料燃焼ボイラー)
243 切換え弁
244 循環ポンプ

Claims (5)

  1. 温室等の暖房対象の建屋内の適宜位置に、コンクリート製U字側溝を形成し、前記側溝内に蓄熱用砕石を充填すると共に、前記蓄熱用砕石内に線状発熱部を配設し、側溝上部をコンクリート製蓋体で被覆してなることを特徴とする蓄熱式暖房装置。
  2. 露出地面上に構築した温室における側縁個所に側溝を形成してなる請求項1記載の蓄熱式暖房装置。
  3. 線状発熱部が、電熱線と温水パイプとを併設したものである請求項1又は2記載の蓄熱式暖房装置。
  4. 電熱線の電力供給を夜間電力としてなる請求項3記載の蓄熱式暖房装置。
  5. 温水パイプへの温水供給機構として、燃焼ボイラーを使用してなる請求項3又は4記載の蓄熱式暖房装置。
JP2008221059A 2008-08-29 2008-08-29 蓄熱式暖房装置 Active JP4738460B2 (ja)

Priority Applications (1)

Application Number Priority Date Filing Date Title
JP2008221059A JP4738460B2 (ja) 2008-08-29 2008-08-29 蓄熱式暖房装置

Applications Claiming Priority (1)

Application Number Priority Date Filing Date Title
JP2008221059A JP4738460B2 (ja) 2008-08-29 2008-08-29 蓄熱式暖房装置

Publications (2)

Publication Number Publication Date
JP2010054149A true JP2010054149A (ja) 2010-03-11
JP4738460B2 JP4738460B2 (ja) 2011-08-03

Family

ID=42070270

Family Applications (1)

Application Number Title Priority Date Filing Date
JP2008221059A Active JP4738460B2 (ja) 2008-08-29 2008-08-29 蓄熱式暖房装置

Country Status (1)

Country Link
JP (1) JP4738460B2 (ja)

Citations (5)

* Cited by examiner, † Cited by third party
Publication number Priority date Publication date Assignee Title
JPS57129348A (en) * 1981-02-02 1982-08-11 Taiyo Sanso Kk Solar heat collector
JPS6411663A (en) * 1987-07-03 1989-01-17 Toa Nenryo Kogyo Kk Supersonic atomization apparatus
JP2001204270A (ja) * 2000-01-20 2001-07-31 Toshio Taniguchi 蓄熱式熱供給装置を用いたハウス内加温システム
JP2007028928A (ja) * 2005-07-22 2007-02-08 Chiba Hidetoshi プラスチックハウス
JP2008000132A (ja) * 2006-05-26 2008-01-10 Shigeo Morimoto 植栽物の茎部乃至茎部近傍土壌の温度調節用ホース

Patent Citations (5)

* Cited by examiner, † Cited by third party
Publication number Priority date Publication date Assignee Title
JPS57129348A (en) * 1981-02-02 1982-08-11 Taiyo Sanso Kk Solar heat collector
JPS6411663A (en) * 1987-07-03 1989-01-17 Toa Nenryo Kogyo Kk Supersonic atomization apparatus
JP2001204270A (ja) * 2000-01-20 2001-07-31 Toshio Taniguchi 蓄熱式熱供給装置を用いたハウス内加温システム
JP2007028928A (ja) * 2005-07-22 2007-02-08 Chiba Hidetoshi プラスチックハウス
JP2008000132A (ja) * 2006-05-26 2008-01-10 Shigeo Morimoto 植栽物の茎部乃至茎部近傍土壌の温度調節用ホース

Also Published As

Publication number Publication date
JP4738460B2 (ja) 2011-08-03

Similar Documents

Publication Publication Date Title
JP2015002726A (ja) 寒冷地用の植物栽培ハウス
WO2011148522A1 (ja) 温室用栽培システム
JP2011140827A (ja) 地中蓄熱住宅
JP2014150757A (ja) 植物栽培システム
RU2651276C1 (ru) Устройство для обогрева почвы
EP2342968B1 (en) Solar greenhouse with energy recovery system
JP5830211B2 (ja) 温室用栽培システム
KR101239245B1 (ko) 식물 성장 촉진 난방 시스템
KR101289208B1 (ko) 축열자갈을 이용한 비닐하우스의 냉난방장치
KR101303576B1 (ko) 하우스의 잉여열 및 히트펌프를 이용한 지중가온장치
RU93208U1 (ru) Теплица с подогревом почвы от энергии солнечной радиации
JP4738460B2 (ja) 蓄熱式暖房装置
JP2008220217A (ja) 温室の加温システム
JP5430365B2 (ja) 発酵熱利用システム
JP2006284071A (ja) ソーラー暖房システム
JPH0677489B2 (ja) 温室の暖房システム
Yang et al. Heating and cooling system for utilization of surplus air thermal energy in greenhouse and its control logic
KR200460818Y1 (ko) 온실내 잉여열 이용시스템
CN207869873U (zh) 一种农业温室大棚地温调控系统
JPH0142649B2 (ja)
JP5848424B2 (ja) 植物栽培用ハウスの冷暖房装置
JP2009136203A (ja) ハウス栽培の土壌加温方法
JP6259387B2 (ja) 植物栽培用ハウスの冷暖房装置
JP2010213633A (ja) 温室
KR20180088970A (ko) 시설내 지표열원의 지중열원화를 통한 베드근권난방

Legal Events

Date Code Title Description
A977 Report on retrieval

Free format text: JAPANESE INTERMEDIATE CODE: A971007

Effective date: 20100820

A131 Notification of reasons for refusal

Free format text: JAPANESE INTERMEDIATE CODE: A131

Effective date: 20100914

A521 Request for written amendment filed

Free format text: JAPANESE INTERMEDIATE CODE: A523

Effective date: 20101109

TRDD Decision of grant or rejection written
A01 Written decision to grant a patent or to grant a registration (utility model)

Free format text: JAPANESE INTERMEDIATE CODE: A01

Effective date: 20110419

A01 Written decision to grant a patent or to grant a registration (utility model)

Free format text: JAPANESE INTERMEDIATE CODE: A01

A61 First payment of annual fees (during grant procedure)

Free format text: JAPANESE INTERMEDIATE CODE: A61

Effective date: 20110426

R150 Certificate of patent or registration of utility model

Ref document number: 4738460

Country of ref document: JP

Free format text: JAPANESE INTERMEDIATE CODE: R150

Free format text: JAPANESE INTERMEDIATE CODE: R150

FPAY Renewal fee payment (event date is renewal date of database)

Free format text: PAYMENT UNTIL: 20140513

Year of fee payment: 3

R250 Receipt of annual fees

Free format text: JAPANESE INTERMEDIATE CODE: R250

R250 Receipt of annual fees

Free format text: JAPANESE INTERMEDIATE CODE: R250

R250 Receipt of annual fees

Free format text: JAPANESE INTERMEDIATE CODE: R250

R250 Receipt of annual fees

Free format text: JAPANESE INTERMEDIATE CODE: R250

R250 Receipt of annual fees

Free format text: JAPANESE INTERMEDIATE CODE: R250

R250 Receipt of annual fees

Free format text: JAPANESE INTERMEDIATE CODE: R250

R250 Receipt of annual fees

Free format text: JAPANESE INTERMEDIATE CODE: R250

R250 Receipt of annual fees

Free format text: JAPANESE INTERMEDIATE CODE: R250

R250 Receipt of annual fees

Free format text: JAPANESE INTERMEDIATE CODE: R250

R250 Receipt of annual fees

Free format text: JAPANESE INTERMEDIATE CODE: R250

R250 Receipt of annual fees

Free format text: JAPANESE INTERMEDIATE CODE: R250

R250 Receipt of annual fees

Free format text: JAPANESE INTERMEDIATE CODE: R250