JP2010053846A - ガスタービン静翼 - Google Patents

ガスタービン静翼 Download PDF

Info

Publication number
JP2010053846A
JP2010053846A JP2008222710A JP2008222710A JP2010053846A JP 2010053846 A JP2010053846 A JP 2010053846A JP 2008222710 A JP2008222710 A JP 2008222710A JP 2008222710 A JP2008222710 A JP 2008222710A JP 2010053846 A JP2010053846 A JP 2010053846A
Authority
JP
Japan
Prior art keywords
gas turbine
thermocouple
protection tube
stationary blade
turbine stationary
Prior art date
Legal status (The legal status is an assumption and is not a legal conclusion. Google has not performed a legal analysis and makes no representation as to the accuracy of the status listed.)
Granted
Application number
JP2008222710A
Other languages
English (en)
Other versions
JP4940204B2 (ja
Inventor
Katsuyasu Ito
勝康 伊藤
Isao Tajiri
功 田尻
Daizo Saito
大蔵 斎藤
Current Assignee (The listed assignees may be inaccurate. Google has not performed a legal analysis and makes no representation or warranty as to the accuracy of the list.)
Toshiba Corp
Original Assignee
Toshiba Corp
Priority date (The priority date is an assumption and is not a legal conclusion. Google has not performed a legal analysis and makes no representation as to the accuracy of the date listed.)
Filing date
Publication date
Application filed by Toshiba Corp filed Critical Toshiba Corp
Priority to JP2008222710A priority Critical patent/JP4940204B2/ja
Publication of JP2010053846A publication Critical patent/JP2010053846A/ja
Application granted granted Critical
Publication of JP4940204B2 publication Critical patent/JP4940204B2/ja
Expired - Fee Related legal-status Critical Current
Anticipated expiration legal-status Critical

Links

Images

Classifications

    • YGENERAL TAGGING OF NEW TECHNOLOGICAL DEVELOPMENTS; GENERAL TAGGING OF CROSS-SECTIONAL TECHNOLOGIES SPANNING OVER SEVERAL SECTIONS OF THE IPC; TECHNICAL SUBJECTS COVERED BY FORMER USPC CROSS-REFERENCE ART COLLECTIONS [XRACs] AND DIGESTS
    • Y02TECHNOLOGIES OR APPLICATIONS FOR MITIGATION OR ADAPTATION AGAINST CLIMATE CHANGE
    • Y02EREDUCTION OF GREENHOUSE GAS [GHG] EMISSIONS, RELATED TO ENERGY GENERATION, TRANSMISSION OR DISTRIBUTION
    • Y02E20/00Combustion technologies with mitigation potential
    • Y02E20/16Combined cycle power plant [CCPP], or combined cycle gas turbine [CCGT]

Landscapes

  • Turbine Rotor Nozzle Sealing (AREA)

Abstract

【課題】ガスタービン運転時の熱電対保護管に生じる摩耗減肉を抑えることにより、熱電対保護管の運用寿命を延伸し、保守コストの低減化を実現して経済性・信頼性に優れたガスタービン静翼を提供する。
【解決手段】熱電対保護管3外周面においてマニホールド2の貫通穴4内壁面と向かい合う部分には、熱電対保護管3の半径方向に厚みのある肉厚部として、外筒部材5が取り付けられている。外筒部材5は、マニホールド2の構成材料よりも硬度が小さいステンレス系の材料からなる。
【選択図】図1

Description

本発明は、内部に冷却構造を有すると共にホイールスペース温度監視用の熱電対を設置したガスタービン静翼に係り、熱電対を収納する熱電対保護管の耐久性向上を図ったガスタービン静翼に関するものである。
ガスタービンは、複合サイクル発電所への設置をはじめとして、広く利用されている。ガスタービンは、運転中、高温の燃焼ガスにさらされるため、静翼内部に冷却構造を設けたものが一般的となっている。このようなガスタービン静翼においては、タービン高温部の運転状態が正常であることを確認する監視作業が重要である。
そこで従来より、ガスタービン静翼に熱電対を取り付け、この熱電対を用いて、高温部であるタービンホイール付近、すなわちホイールスペースの雰囲気温度を計測監視する技術が提案されている(例えば、特許文献1、2)。ここで、図5及び図6を用いて、熱電対を備えたガスタービン静翼の従来例について、具体的に説明する。
図5に示すように、ガスタービン静翼1は、内部に冷却空気が流通する中空体であって、内部に冷却空気を保持するマニホールド2が設置されている。これらガスタービン静翼1及びマニホールド2は、コバルト系の耐熱合金材料などから構成されている。
導線を含む熱電対は細いので、外部接触による破損を防止すべく、熱電対保護管3に収納されている。熱電対保護管3はガスタービン静翼1及びマニホールド2を貫通して、感温部(先端部)がガスタービン静翼1内輪に設置されている。このように配置された熱電対を用いることにより、タービン静翼1内輪とタービンホイールとの間にあるホイールスペースの雰囲気温度を、計測監視することが可能であり、タービン高温部の運転状態を把握することができる。
また、熱電対保護管3の構成材料としては、ガスタービン静翼1などを構成する材料よりも硬度の低いもの、具体的にはSUS304等のステンレス系材料などの使用が主流である。
特開2001−98905号公報 特開2004−28036号公報
ところで、上記のガスタービン静翼1において、熱電対保護管3は、タービンケーシング側から静翼1の外輪に保持されており、マニホールド2を貫通してガスタービン静翼1内輪に達するので、必然的に、マニホールド2には熱電対保護管3挿入用の貫通孔4が形成されることになる。このとき、ガスタービン静翼1の冷却性能を維持するために、マニホールド2内部の冷却空気が貫通穴4から漏れないように、熱電対保護管3とマニホールド2の貫通孔4とを溶接等で固定してシールすることが考えられる。
しかし、ガスタービン運転中、マニホールド2及び熱電対保護管3は共に熱変形が大きく、しかも、構成材料が異なるため、熱伸び差が大きい。したがって、熱電対保護管3をマニホールド2の貫通孔4に固定してしまうと、固定部分に過大な応力が発生することになり、好ましくない。
そこで実際には、図6の拡大図(図5のA部)に示すように、貫通孔4と熱電対保護管3との間にクリアランスを設けておき、両者に対し過度の応力が加わらないような構造となっている。ただし、マニホールド2からの空気漏れは、出来る限り防ぐことが望ましいのは言うまでもない。そのため、貫通孔4内壁面と熱電対保護管3外周面との間隙は、極力小さく設定されている。
ところが、既に述べたように、マニホールド2及び熱電対保護管3は共に熱変形が大きいので、貫通孔4内壁面と熱電対保護管3外周面との間隙が小さいと、ガスタービン運転時の振動によって、両者は互いに接触することは否めない。しかも、熱電対保護管3はいわゆる片持ち支持のため、ガスタービン運転に伴う振動は、端部に近づくほど振幅が大きくなり、熱電対保護管3の外周部が貫通孔4の内壁部と強く擦れ合う。
このとき、熱電対保護管3の構成材料は、マニホールド2の構成材料よりも硬度が低いので、摩耗によって減肉が生じることになる。したがって、減肉が進行し、熱電対保護管3の残肉厚の厚さ寸法が規定値以下になると、交換が余儀なくされる。その結果、ガスタービン静翼1本体に関しては、運転による損傷がまだ小さく、修理や交換が不要な場合であっても、熱電対保護管3を交換するための修理が必要となり、保守コストの増大を招いていた。
ガスタービン静翼1は、信頼性確保の観点から、高頻度でメンテナンスを実施しており、保守コストは相当に高い。したがって、ガスタービン静翼1の修理や交換に先立ち、熱電対保護管3の交換を行うことは、保守コストの負担をさらに重くすることになり、問題となっていた。
本発明は、上記の事情に鑑みて提案されたものであり、その目的は、ガスタービン運転時の熱電対保護管に生じる摩耗減肉を抑えることにより、熱電対保護管の運用寿命を延伸し、保守コストの低減化を実現して経済性・信頼性に優れたガスタービン静翼を提供することにある。
上記の目的を達成するために、本発明は、タービンホイール付近の雰囲気温度を計測するための熱電対が設置されたガスタービン静翼であって、該ガスタービン静翼内部には、内部に冷却媒体を保持するマニホールドと、前記熱電対を収納するための熱電対保護管とが設けられたガスタービン静翼において、前記マニホールドには貫通穴が形成され、前記貫通穴には前記熱電対保護管が挿入され、前記熱電対保護管の外周面における前記貫通穴の内壁面と向かい合う部分には、前記熱電対保護管の半径方向に厚みのある肉厚部が設けられ、前記肉厚部は、その外周面が前記マニホールドの前記貫通穴内壁面に対して所定の間隔を持って設置され、且つ前記熱電対保護管と同一材料または前記マニホールドの構成材料よりも硬度が小さい材料から構成されたことを特徴とするものである。
以上のような構成を有する本発明では、マニホールドの貫通穴内壁面には熱電対保護管の肉厚部が接触するので、ガスタービン運転に伴う熱変形及び振動によって両者が擦れ合ったとしても、摩耗により減肉する部分は、熱電対保護管と同一材料またはマニホールドの構成材料よりも硬度が小さい肉厚部であって、摩耗による減肉が熱電対保護管にまで及ぶことがない。したがって、熱電対保護管の運用寿命が延び、ガスタービン静翼の修理・交換よりも早い段階で、熱電対保護管の修理・交換を行う必要がない。その結果、保守コストの増大を抑制することが可能となる。
本発明のガスタービン静翼によれば、マニホールドの貫通穴内壁面に対向する位置に、熱電対保護管と同一材料またはマニホールドの構成材料よりも硬度が小さい材料からなる肉厚部を設けるといった極めて簡単な構成によって、マニホールドとの摩擦による熱電対保護管の摩耗、減肉を防ぐことができ、熱電対保護管の運用寿命を延ばして、保守コストの低減化を図り、経済性・信頼性の向上に寄与することができる。
(1)第1の実施形態
[構成]
以下、本発明に係る実施の形態について、図面を参照して具体的に説明する。なお、図5及び図6に示した従来技術と同一の部材に関しては同一符号を付して説明は省略する。
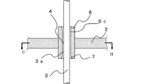
まず、図1及び図2を用いて本発明に係る第1の実施形態について述べる。図1は第1の実施形態の要部断面図、図2は図1に示したI−I断面における断面図である。図1及び図2に示すように、熱電対保護管3外周面においてマニホールド2の貫通穴4内壁面と向かい合う部分には、熱電対保護管3の半径方向に厚みのある肉厚部として、外筒部材5が取り付けられている。
外筒部材5は、熱電対保護管3と同じくSUS304等のステンレス系の材料からなり、この材料はマニホールド2の構成材料よりも硬度が小さい。外筒部材5の厚さ寸法は、定期検査と直近の次回定期検査との間の運転期間に生じる予想摩耗量よりも厚くなるように形成されている。
さらに、外筒部材5は、熱電対保護管3とは別部材であって、図2に示すように、周方向に2等分割された分割部材5a、5bから構成される。外筒部材5は、熱電対保護管3に対し位置決めがなされた後、熱電対保護管3に溶接等で固定される。このとき、外筒部材5の外周面はマニホールド2の貫通穴4内壁面に対して所定の間隔を持って設置されている。
[作用効果]
以上のような構成を有する第1の実施形態の作用効果と次の通りである。すなわち、ガスタービン運転に伴う熱変形及び振動により外筒部材5と貫通孔4内壁が接触する場合、外筒部材5は、マニホールド2の構成材料よりも柔らかい材料からなるので、熱電対保護管3の肉厚部である外筒部材5側が摩耗する。したがって、摩擦力が熱電対保護管3の外周面に及ぶことはなく、熱電対保護管3外周面が摩耗によって減肉されることがない。
しかも、外筒部材5の厚さ寸法を定期検査と直近の次回定期検査との間の運転期間に生じる予想摩耗量よりも厚くしてあるので、ガスタービンの定期点検を実施する際、2つの点検の間の運転期間により外筒部材5が減肉される深さよりも、外筒部材5は厚みがあり、熱電対保護管3がマニホールド2の貫通穴4に接触することがない。
すなわち、定期点検が適切なタイミングで行われる限り、マニホールド2の貫通穴4と熱電対保護管3とは互いに非接触であり、硬度の大きいマニホールド2により熱電対保護管3が減肉される心配がない。これにより、熱電対保護管3は次回定期点検まで修理しないで継続使用可能となる。
さらに、減肉される部材は外筒部材5なので、これを交換している限り、基本的に熱電対保護管3には損傷が生じることがない。したがって、熱電対保護管3は、故障以外は交換の必要がなく、熱電対保護管3の運用寿命は長期化する。その結果、保守コストの大幅な低減が実現すると共に、優れた信頼性を確保することが可能である。
その上、外筒部材5は分割部材5a、5bに2分割可能であるため、熱電対保護管3を静翼1から取り外すこと無く、外筒部材5だけを取り外すことができる。また、新たな外筒部材5を取り付ける時も熱電対保護管3の先端から嵌め込むこと無く、任意の位置から熱電対保護管3に取り付けることができる。このように、外筒部材5は熱電対保護管3に対する着脱作業が極めて容易であり、保守コスト低減に寄与することができる。
また、外筒部材5の外周面はマニホールド2の貫通穴4内壁面に対し所定の間隔を持つので、貫通孔4と外筒部材5との間にはクリアランスを設けることができる。したがって、ガスタービン運転中でも外筒部材5及びマニホールド2に対し過度の応力が加わることがなく、高い安全性を獲得することが可能である。
(2)第2の実施形態
[構成]
続いて、図3及び図4を用いて本発明に係る第1の実施形態について説明する。図3は第3の実施形態の要部断面図、図4は図3に示したII−II断面における断面図である。
上記第1の実施形態では、熱電対保護管3に外筒部材5を装着し、この外筒部材5がマニホールド2の貫通穴4と擦れ合っていたのに対して、第2の実施形態では、マニホールド2の貫通穴4側に筒状部材6を嵌着し、この筒状部材6の内壁部分と熱電対保護管3の外周部とが擦れ合うように配置した点に特徴がある。
このとき、筒状部材6は、熱電対保護管3の減肉量を抑えるために、熱電対保護管3と同一材料または熱電対保護管3の構成材料よりも硬度が小さい材料からなる。また、熱電対保護管3の外周面において、筒状部材6と向かい合う部分には耐摩耗コーティング3aが施されている。
ここで筒状部材6の構成について、より詳しく説明する。すなわち、図3及び図4に示すように、筒状部材6は、マニホールド2の貫通穴4に嵌着された状態で貫通穴4から両端部が突き出る長さ寸法があり、半径方向の厚さ寸法は、定期検査と次の定期検査との間の運転期間に生じる予想摩耗量よりも厚く設けられている。
また、筒状部材6は周方向に2分割される分割部材6a、6bから構成され、軸方向に挿通孔6cが設けられている。挿通孔6cの内径寸法は熱電対保護管3の外径寸法よりも大きく、ここに所定の間隔を持って熱電対保護管3が挿入される。さらに、挿通孔6cの両端部にはR形状部7が設置されている。
[作用効果]
以上のような構成を有する第2の実施形態の作用効果は次の通りである。すなわち、ガスタービン運転に伴う熱変形及び振動により、筒状部材6の挿通孔6c内壁面に対し熱電対保護管3の外周面が接触するが、筒状部材6は、熱電対保護管3の構成材料と同一もしくは熱電対保護管3よりも柔らかい材料からなるので、主に筒状部材6側が摩耗する。しかも、熱電対保護管3外周面は、耐摩耗コーティング3aを施しているので、その摩耗量を最小限に抑えることができる。
また、筒状部材6の厚さ寸法は、前記外筒部材5のそれと同じく、定期検査と直近の次回定期検査との間の運転期間に生じる予想摩耗量よりも厚いので、ガスタービンの定期点検を実施する際、2つの点検の間の運転期間により筒状部材6が減肉する深さよりも、筒状部材6の方が厚い。
したがって、定期点検が適切なタイミングで行われる限り、熱電対保護管3とマニホールド2の貫通穴4とが直接接触することがなく、硬度の大きいマニホールド2によって熱電対保護管3が減肉される心配がない。その結果、上記第1の実施形態と同じく、熱電対保護管3は次回定期点検まで修理しないで継続使用可能となる。これにより、熱電対保護管3の運用寿命の長期化が可能であり、保守コストの低減と信頼性の向上に寄与することができる。
さらに、第2の実施形態においては、筒状部材6が減肉されるにせよ、硬いマニホールド2の貫通穴4との接触を原因とするのではなく、マニホールド2よりも柔らかい熱電対保護管3との接触による摩耗なので、減肉は穏やかである。したがって、熱電対保護管3の運用寿命の長期化という効果に加えて、熱電対保護管3の耐久性を高める筒状部材6に関しても、マニホールド2と接触していた前記外筒部材5に比べて、寿命の長期化が可能である。
また、筒状部材6は分割部材6a、6bに2分割可能であり、マニホールド2の貫通穴4から簡単に取り外すことができ、しかも、新たな筒状部材6を取り付ける時も、貫通穴4に嵌め込むだけで済む。したがって、筒状部材6の着脱作業は非常に容易であり、保守コスト低減に寄与することができる。
また、筒状部材6の内壁面は熱電対保護管3外周面に対し所定の間隔を持つので、ガスタービン運転中でも筒状部材6及び熱電対保護管3に過度の応力が加わることがなく、高い安全性を獲得することが可能である。さらに、挿通孔6cの両端部にR形状部7を設置したので、熱電対保護管3が筒状部材6のエッジ部分との接触による局所的摩耗減肉を防止することが可能となる。
(3)他の実施形態
本発明は、上述した実施形態に限定されるものではなく、各部材の形状や材料は適宜選択可能であり、例えば、筒状部材6の挿通孔6c両端部に設けたR形状部を、面取り部にしてもよく、その設置位置も、挿通孔6c両端部ではなく、ガスタービン静翼1内径側の端部としても構わない。また、外筒部材5もしくは筒状部材6を複数に分割する際の分割数も適宜変更可能である。さらに、熱電対保護管3に対し一体的に肉厚部を形成する実施形態も包含する。
本発明の第1の実施形態の要部断面図。 図1に示したI-I断面における断面図。 本発明の第2の実施形態の要部断面図。 図3に示したII−II断面における断面図。 従来のガスタービン静翼の断面図。 図5のA部の詳細説明図。
符号の説明
1…ガスタービン静翼
2…マニホールド
3…熱電対保護管
4…貫通孔
5…外筒部材
5a、5b、6a、6b…分割部材
6…筒状部材
6c…挿通孔
7・・・R形状部

Claims (8)

  1. タービンホイール付近の雰囲気温度を計測するための熱電対が設置されたガスタービン静翼であって、該ガスタービン静翼内部には、内部に冷却媒体を保持するマニホールドと、前記熱電対を収納するための熱電対保護管とが設けられたガスタービン静翼において、
    前記マニホールドには貫通穴が形成され、
    前記貫通穴には前記熱電対保護管が挿入され、
    前記熱電対保護管の外周面における前記貫通穴の内壁面と向かい合う部分には、前記熱電対保護管の半径方向に厚みのある肉厚部が設けられ、
    前記肉厚部は、その外周面が前記マニホールドの前記貫通穴内壁面に対して所定の間隔を持って設置され、且つ前記熱電対保護管と同一材料または前記マニホールドの構成材料よりも硬度が小さい材料から構成されたことを特徴とするガスタービン静翼。
  2. 前記肉厚部は、その厚さ寸法が、定期検査の間の運転期間に生じる予想摩耗量よりも厚くなるように形成されたことを特徴とする請求項1に記載のガスタービン静翼。
  3. 前記肉厚部は、前記熱電対保護管とは別部材であって、且つ周方向に分割可能に構成されたことを特徴とする請求項1又は2に記載のガスタービン静翼。
  4. タービンホイール付近の雰囲気温度を計測するための熱電対が設置されたガスタービン静翼であって、該ガスタービン静翼内部には、内部に冷却媒体を保持するマニホールドと、前記熱電対を収納するための熱電対保護管とが設けられたガスタービン静翼において、
    前記マニホールドには貫通穴が形成され、
    前記貫通穴には該貫通穴より両端部が突き出るようにして筒状部材が嵌着され、
    前記筒状部材には前記熱電対保護管の外径より大きい内径を有する挿通孔が形成され、
    前記挿通孔には前記熱電対保護管が挿入され、
    前記筒状部材は、前記熱電対保護管と同一材料または前記熱電対保護管の構成材料よりも硬度が小さい材料から構成されたことを特徴とするガスタービン静翼。
  5. 前記筒状部材は、半径方向の厚さ寸法が、定期検査の間の運転期間に生じる予想摩耗量よりも厚くなるように形成されたことを特徴とする請求項4に記載のガスタービン静翼。
  6. 前記筒状部材の前記挿通孔における両端部又はガスタービン静翼内径側の端部には、R形状部又は面取り部が形成されたことを特徴とする請求項4又は5に記載のガスタービン静翼。
  7. 前記筒状部材は周方向に分割可能に構成されたことを特徴とする請求項4〜6のいずれか1項に記載のガスタービン静翼。
  8. 前記熱電対保護管の外周面には耐摩耗コーティングが施されたことを特徴とする請求項4〜7のいずれか1項に記載のガスタービン静翼。
JP2008222710A 2008-08-29 2008-08-29 ガスタービン静翼 Expired - Fee Related JP4940204B2 (ja)

Priority Applications (1)

Application Number Priority Date Filing Date Title
JP2008222710A JP4940204B2 (ja) 2008-08-29 2008-08-29 ガスタービン静翼

Applications Claiming Priority (1)

Application Number Priority Date Filing Date Title
JP2008222710A JP4940204B2 (ja) 2008-08-29 2008-08-29 ガスタービン静翼

Publications (2)

Publication Number Publication Date
JP2010053846A true JP2010053846A (ja) 2010-03-11
JP4940204B2 JP4940204B2 (ja) 2012-05-30

Family

ID=42070018

Family Applications (1)

Application Number Title Priority Date Filing Date
JP2008222710A Expired - Fee Related JP4940204B2 (ja) 2008-08-29 2008-08-29 ガスタービン静翼

Country Status (1)

Country Link
JP (1) JP4940204B2 (ja)

Cited By (1)

* Cited by examiner, † Cited by third party
Publication number Priority date Publication date Assignee Title
JP2021128151A (ja) * 2020-02-14 2021-09-02 ゼネラル・エレクトリック・カンパニイ タービンエンジンの構成要素用の保護スリーブ、およびその設置方法

Citations (4)

* Cited by examiner, † Cited by third party
Publication number Priority date Publication date Assignee Title
JP2001098905A (ja) * 1999-10-01 2001-04-10 General Electric Co <Ge> 熱電対ガイドチューブを持つタービンノズル段
JP2002322918A (ja) * 2001-03-07 2002-11-08 General Electric Co <Ge> ガスタービンエンジンを運転する方法及び装置
JP2004028036A (ja) * 2002-06-28 2004-01-29 Hitachi Ltd ガスタービン静翼及びガスタービン
JP2006183492A (ja) * 2004-12-27 2006-07-13 Mitsubishi Heavy Ind Ltd ガスタービン

Patent Citations (4)

* Cited by examiner, † Cited by third party
Publication number Priority date Publication date Assignee Title
JP2001098905A (ja) * 1999-10-01 2001-04-10 General Electric Co <Ge> 熱電対ガイドチューブを持つタービンノズル段
JP2002322918A (ja) * 2001-03-07 2002-11-08 General Electric Co <Ge> ガスタービンエンジンを運転する方法及び装置
JP2004028036A (ja) * 2002-06-28 2004-01-29 Hitachi Ltd ガスタービン静翼及びガスタービン
JP2006183492A (ja) * 2004-12-27 2006-07-13 Mitsubishi Heavy Ind Ltd ガスタービン

Cited By (2)

* Cited by examiner, † Cited by third party
Publication number Priority date Publication date Assignee Title
JP2021128151A (ja) * 2020-02-14 2021-09-02 ゼネラル・エレクトリック・カンパニイ タービンエンジンの構成要素用の保護スリーブ、およびその設置方法
JP7672828B2 (ja) 2020-02-14 2025-05-08 ゼネラル エレクトリック テクノロジー ゲゼルシャフト ミット ベシュレンクテル ハフツング タービンエンジンの構成要素用の保護スリーブ、およびその設置方法

Also Published As

Publication number Publication date
JP4940204B2 (ja) 2012-05-30

Similar Documents

Publication Publication Date Title
US8157511B2 (en) Turbine shroud gas path duct interface
US10202863B2 (en) Seal ring for gas turbine engines
US20100068050A1 (en) Gas turbine vane attachment
JP6063285B2 (ja) 低延性タービンシュラウド
US8419361B2 (en) Anti fret liner assembly
US8079807B2 (en) Mounting apparatus for low-ductility turbine shroud
JP2005351265A (ja) タービンエンジンシュラウドセグメント、ハンガ及び組立体
US8926269B2 (en) Stepped, conical honeycomb seal carrier
JP2013124664A (ja) 低延性タービンシュラウド用取付け装置
EP2990660B1 (en) A wear monitor for a gas turbine engine
JP4916560B2 (ja) ガスタービンエンジンの圧縮機
US20150252687A1 (en) Turbomachine distributor comprising a thermal protection sheet with a radial stop, and associated thermal protection sheet
JP2008121512A (ja) ブラシシールおよびこれを用いたタービン
JP5818717B2 (ja) ガスタービン
US20200408109A1 (en) Assembly for a turbomachine
JP2017101663A (ja) タービンエンジン内の摩耗を検出するための方法およびシステム
JP4940204B2 (ja) ガスタービン静翼
ITCO20120045A1 (it) Cuscinetto reggi-spinta magnetico, turbomacchina e metodo
EP3270014B1 (en) Divided-type brush seal device
US8720257B2 (en) Methods, systems and apparatus for detecting material defects in combustors of combustion turbine engines
US8784056B2 (en) System and turbine including creep indicating member
CN106414908A (zh) 具有摄热屏障的涡轮机及其用途
JP4395716B2 (ja) シールプレート構造
US20180106161A1 (en) Turbine shroud segment
US8636462B2 (en) Methods, systems and apparatus for detecting material defects in rotor blades of combustion turbine engines

Legal Events

Date Code Title Description
A621 Written request for application examination

Free format text: JAPANESE INTERMEDIATE CODE: A621

Effective date: 20101220

TRDD Decision of grant or rejection written
A01 Written decision to grant a patent or to grant a registration (utility model)

Free format text: JAPANESE INTERMEDIATE CODE: A01

Effective date: 20120131

A977 Report on retrieval

Free format text: JAPANESE INTERMEDIATE CODE: A971007

Effective date: 20120131

A01 Written decision to grant a patent or to grant a registration (utility model)

Free format text: JAPANESE INTERMEDIATE CODE: A01

A61 First payment of annual fees (during grant procedure)

Free format text: JAPANESE INTERMEDIATE CODE: A61

Effective date: 20120227

FPAY Renewal fee payment (event date is renewal date of database)

Free format text: PAYMENT UNTIL: 20150302

Year of fee payment: 3

R151 Written notification of patent or utility model registration

Ref document number: 4940204

Country of ref document: JP

Free format text: JAPANESE INTERMEDIATE CODE: R151

FPAY Renewal fee payment (event date is renewal date of database)

Free format text: PAYMENT UNTIL: 20150302

Year of fee payment: 3

LAPS Cancellation because of no payment of annual fees