JP2010053610A - 跳ね上がり防止具とそれを装着した管継手及び枡 - Google Patents

跳ね上がり防止具とそれを装着した管継手及び枡 Download PDF

Info

Publication number
JP2010053610A
JP2010053610A JP2008220761A JP2008220761A JP2010053610A JP 2010053610 A JP2010053610 A JP 2010053610A JP 2008220761 A JP2008220761 A JP 2008220761A JP 2008220761 A JP2008220761 A JP 2008220761A JP 2010053610 A JP2010053610 A JP 2010053610A
Authority
JP
Japan
Prior art keywords
pipe joint
spring
upward opening
water
opening
Prior art date
Legal status (The legal status is an assumption and is not a legal conclusion. Google has not performed a legal analysis and makes no representation as to the accuracy of the status listed.)
Granted
Application number
JP2008220761A
Other languages
English (en)
Other versions
JP5456284B2 (ja
Inventor
Kanji Kojima
寛司 小島
Current Assignee (The listed assignees may be inaccurate. Google has not performed a legal analysis and makes no representation or warranty as to the accuracy of the list.)
Aron Kasei Co Ltd
Original Assignee
Aron Kasei Co Ltd
Priority date (The priority date is an assumption and is not a legal conclusion. Google has not performed a legal analysis and makes no representation as to the accuracy of the date listed.)
Filing date
Publication date
Application filed by Aron Kasei Co Ltd filed Critical Aron Kasei Co Ltd
Priority to JP2008220761A priority Critical patent/JP5456284B2/ja
Publication of JP2010053610A publication Critical patent/JP2010053610A/ja
Application granted granted Critical
Publication of JP5456284B2 publication Critical patent/JP5456284B2/ja
Active legal-status Critical Current
Anticipated expiration legal-status Critical

Links

Images

Landscapes

  • Sink And Installation For Waste Water (AREA)

Abstract

【課題】管継手や枡等の受具に排水や雨水が落下した際に、跳ね上がって散乱したりするのを効果的に防止することができる跳ね上がり防止具の提供を課題とする。またそのような跳ね上がり防止具を装着した管継手及び枡の提供を課題とする。
【解決手段】落下してくる水が跳ね上がるのを防止する跳ね上がり防止具10であって、排水や雨水の落下を受ける管継手や枡等の受け具の上向き開口に対して装着されて使用され、本体11が逆円錐台形状の断面を有する短筒体からなり、該短筒体の上縁開口11aから下縁開口11bまでの傾斜する内面をもって前記受け具の上向き開口を内向き且つ斜め下方に向けて縮小させる水受口11cとすると共に、短筒体の傾斜する外面を前記落下した水の跳ね上がり阻止面11dとして構成した。
【選択図】 図1

Description

本発明は、排水や雨水が管継手や枡等の受具に落下した際に、跳ね上がって散乱したりするのを防止する跳ね上がり防止具に関する。またその跳ね上がり防止具を装着した管継手及び枡に関する。
従来、例えば家屋等で生じた排水は、一般に、床下等から地面までの間の狭小スペースで、排水受け具である管継手等により受水され、側方に導かれて敷地外のメインの排水路に導かれるようになっている。
上記家屋等から排出される排水を、狭小スペースで間接排水したい場合、封水空間を設けたトラップや、底部に流出口を備えたドロップタイプの管継手やドロップ枡を用いる方法がある。
しかし前記封水空間を設けたトラップ、ホッパータイプの管継手を用いた場合には、高さが嵩む問題がある。またこのため、配管のレイアウトの自由度が制限されるという問題がある。
一方、高さ低減のため、底面にインバートを備えた排水枡やエルボ形状の背の低い管継手を用いる場合には、上方から落下してきた排水が前記底面に当って跳ね上がり、上方の流入口(受口)から外に飛び跳ねたり、漏れたりする問題があった。
勿論、家屋等からの排水管を、そこからの排水を受ける受け具に対して直結配管する場合には、排水が外部に飛び散ったり漏れたりする問題は生じない。しかし直結配管の場合には、家屋外の排水やその臭い等が家屋内へ逆流するおそれがあり好ましくない。
上記間接排水に関する従来技術として、特開2007−182749号公報(特許文献1)、特開平8−152199号公報(特許文献2)、特開平8−152200(特許文献3)が刊行物として開示されている。
前記特許文献1の発明は間接排水用器具に関し、配管(12)の先端と排水受け(16)との間に目皿(18)による排水口空間が設けられ、前記排水受け(16)には接続口(30)が側壁に設けられ、仕切板(28)が内部に設けられた構成が開示されている。
また前記特許文献2、3の発明は、電気温水器の排水構造に関し、排水パイプ(2)と該排水パイプ(2)から落下してくる排水を受けるホッパー(3)、(9)とが空間を介して、相互に所定位置に位置決めされる構成が開示されている。
一方、集水漏斗(28)を用いた排水設備として、特開平11−21989号公報(特許文献4)が開示されている。
この特許文献4の発明は防護蓋(15)と雨水枡(2)とを組合せた排水設備に関し、雨水が流れ込む防護蓋(15)に集水漏斗(28)を設けた構成が開示されている。
特開2007−182749号公報 特開平8−152199号公報 特開平8−152200号公報 特開平11−21989号公報
上記特許文献1の発明は、容器状の排水受け(16)を地面に埋めて配置しているが、排水受け(16)の高さ方向の寸法が嵩む問題がある。
上記特許文献2、3の発明は、底を流出口としたドロップタイプのホッパーを用いており、やはり高さ方向の寸法が嵩む問題がある。
また上記特許文献4の発明において用いられている集水漏斗(28)は、雨水が落下する側である防護蓋側に取り付けられるものであって、落下する雨水を中央側に集める役割を果たすものの、落下した水の跳ね上がりを防止するような機能を備えているわけではなく、またそのような機能乃至作用を示唆するものでもない。
そこで本発明は、上記従来における問題を解消し、管継手や枡等の受具に排水や雨水が落下した際に、跳ね上がって散乱したりするのを効果的に防止することができる跳ね上がり防止具の提供を課題とする。またそのような跳ね上がり防止具を装着した管継手及び枡の提供を課題とする。
上記課題を達成するため、本発明の跳ね上がり防止具は、落下してくる水が跳ね上がるのを防止する跳ね上がり防止具であって、排水や雨水の落下を受ける管継手や枡等の受け具の上向き開口に対して装着されて使用され、本体が逆円錐台形状の断面を有する短筒体からなり、該短筒体の上縁開口から下縁開口までの傾斜する内面をもって前記受け具の上向き開口を内向き且つ斜め下方に向けて縮小させる水受口とすると共に、短筒体の傾斜する外面を前記落下した水の跳ね上がり阻止面として構成したことを第1の特徴としている。
また本発明の跳ね上がり防止具は、上記第1の特徴に加えて、短筒体の上縁に、受け具の上向き開口に対する装着用の外フランジを設けたことを第2の特徴としている。
また本発明の管継手は、落下してくる水を受け入れる上向き開口を備え、且つ上向き開口から受け入れた水を水平方向に流路変更して横向き接続口に導くようにした管継手であって、前記上向き開口に上記第1の特徴に記載の跳ね上がり防止具を装着したことを第3の特徴としている。
また本発明の管継手は、上記第3の特徴に加えて、上向き開口に段部を構成し、該段部に対して跳ね上がり防止具の短筒体の上縁に設けた外フランジを着座して嵌め合わせることにより跳ね上がり防止具を装着したことを第4の特徴としている。
また本発明の管継手は、上記第4の特徴に加えて、上向き開口の段部を介した大径部が延長されて上向き接続口とされていることを第5の特徴としている。
また本発明の管継手は、上記第3〜第5の特徴の何れかに加えて、網体を跳ね上がり防止具と共に上向き開口に装着したことを第6の特徴としている。
また本発明の枡は、上記第3〜第6の特徴の何れかに記載の管継手を、管継手に代えて枡としたことを第7の特徴としている。
請求項1に記載の跳ね上がり防止具によれば、該跳ね上がり防止具を排水や雨水の落下を受ける管継手や枡等の受け具の上向き開口に装着することができる。装着した状態においては、逆円錐台形状の断面を有する短筒体からなる本体の傾斜する内面が、受け具の上向き開口を内向き且つ斜め下方に向けて縮小させる水受口となることができる。よって落下してくる水は、受け具の上向き開口を最大水受口として広い面積で漏れなく受け入れられると共に、前記水受口の窄まった口から受け具内に確実に入ることができる。
加えて、跳ね上がり防止具が受け具の上向き開口に装着された状態では、逆円錐台形状の断面を有する短筒体からなる本体の傾斜する外面が、一旦受け具内に落下した水に対する跳ね上がり阻止面となり、跳ね上がりによる排水等の飛び散りや溢れ或いは逆流を防ぐことができる。
よって本発明による跳ね上がり防止具によれば、管継手や枡等の受け具の上向き開口を狭めることなく、必要な跳ね上あがり阻止面を確保して、排水等の跳ね上がりによる飛び散りや溢れ、逆流を防ぐことができる。しかも跳ね上がり防止具を別体として構成しているため、管継手や枡等の受け具にはそのような跳ね上がり防止手段を当初から一体的に構成する必要がなく、構成が複雑となることによる製造上の問題やコスト上の問題も回避できる。
請求項2に記載の跳ね上がり防止具によれば、上記請求項1の構成による効果に加えて、短筒体の上縁に、受け具の上向き開口に対する装着用の外フランジを設けたので、排水や雨水の落下を受ける管継手や枡等の受け具の上向き開口の段差部分等に、外フランジを取り付け、固定することで、跳ね上がり防止具を容易、簡単に装着することができる。
請求項3に記載の管継手によれば、落下してくる水を受け入れる上向き開口を備え、且つ上向き開口から受け入れた水を水平方向に流路変更して横向き接続口に導くようにした管継手であって、前記上向き開口に請求項1に記載の跳ね上がり防止具を装着したので、
上向き開口から受け入れた落下水を水平方向に流路変更して横向きの接続口から流出させるようにした管継手を用いることで、高さを低く抑えつつ、落下してくる水を受け入れて側方に導くことができる。加えて、高さ低減による落下水の跳ね上がりによる飛び散りや溢れに対する対策として、請求項1に記載の跳ね上がり防止具を装着しているので、該跳ね上がり防止具の逆円錐台形状断面を有する短筒体の内面が水受口となって、落下してくる水を確実に管継手内に受け入れることができると共に、短筒体の外面が管継手内に受け入れた水に対する跳ね上がり阻止面となり、跳ね上がりによる排水等の飛び散りや溢れ或いは逆流を防ぐことができる。
よって請求項3の管継手によれば、高さ方向の寸法を低くして、しかも落下してくる排水や雨水を確実に受け取って、跳ね上がりや飛び散り、溢れ、逆流を防止しながら、側方へ速やかに流路変更して流出させることができる。
請求項4に記載の管継手によれば、上記請求項3に記載の管継手の構成による効果に加えて、上向き開口に段部を構成し、該段部に対して跳ね上がり防止具の短筒体の上縁に設けた外フランジを着座して嵌め合わせることにより跳ね上がり防止具を装着したので、
別体として構成した跳ね上がり防止具を、簡単、容易に装着して管継手の一部として機能させることができる。
請求項5に記載の管継手によれば、上記請求項4に記載の構成による効果に加えて、上向き開口の段部を介した大径部が延長されて上向き接続口とされているので、
上向き接続口に対して排水管や雨水管等の管を直接接続させることができる。これによって、排水管や雨水管等の管内を落下してくる排水や雨水等の水を連続した管内で受け取ることができる。
また排水管や雨水管等の管を請求項4の管継手に接続する際には、管継手の上向き開口の段部に跳ね上がり防止具の外フランジを着座して嵌め合わせ、更に接続すべき管を上向き接続口に前記外フランジに達するまで嵌入することで、跳ね上がり防止具を、管の接続を利用して、簡単、容易に確実に装着することができる。
請求項6に記載の管継手によれば、上記請求項3〜5の何れかに記載の構成による効果に加えて、網体を跳ね上がり防止具と共に上向き開口に装着したことにより、
管継手内に落下した排水や雨水等の水の跳ね上がり防止効果をより高めることができる。勿論、異物の混入を防止することができる。
請求項7に記載の枡によれば、請求項3〜6の何れかに記載の管継手に代えて枡としたので、排水や雨水の落下を受ける枡として、且つ請求項1に記載の跳ね上がり防止具を装着した枡として、高さ方向の寸法を低くして、しかも落下してくる排水や雨水を確実に受け取って、跳ね上がりや飛び散り、溢れ、逆流を防止しながら、側方へ速やかに流路変更して流出させることができるものを提供することができる。
以下の図面を参照して、本発明の実施形態を詳細に説明する。
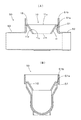
図1は本発明の実施形態に係る跳ね上がり防止具を示し、(A)は平面図、(B)は縦断面図である。図2は網体を示し、(A)は平面図、(B)は縦断面図である。図3は本発明の実施形態に係る管継手の平面図、図4は図3のA−A断面図、図5は図3のB−B断面図である。図6は使用状態を説明する図である。
先ず図1を参照して、本発明の跳ね上がり防止具10は、本体11と外フランジ12とからなる。この跳ね上がり防止具10は、例えば樹脂材料で構成することができる。勿論、金属材料で構成することも可能である。
前記本体11は、逆円錐台形状の断面を有する短筒体からなる。
この本体(短筒体)11の上縁開口11aから下縁開口11bまでの傾斜する内面を水受口11cとしている。この水受口11cは、跳ね上がり防止具10が後述する受け具30、40、50の上向き開口31、41、51に装着されたときに、受け具30、40、50の上向き開口31、41、51を内向き且つ斜め下方に向けて縮小させる、即ち窄めるものである。
一方、前記短筒体である本体11の上縁開口11aから下縁開口11bまでの傾斜する外面を跳ね上がり阻止面11dとしている。この跳ね上がり阻止面11dは、後述する受け具30、40、50に落下した水が跳ね上がって散乱したり、溢れたりするのを阻止し、また逆流するのを阻止するためのものである。
なお前記符号30で示す受具は、図3〜図6に示す管継手30としての受具である。また前記符号40で示す受具は、図7に示す管継手40としての受具である。更に前記符号50で示す受具は、図8に示す枡としての受具である。
短筒体からなる本体11の傾斜角度(水平面に対する)は60度を中心とした上下10度ぐらいの範囲、即ち50〜70度の傾斜角度が好ましい。水受口11cの傾斜角度が50度未満となる場合には、水受口11cに落下してきて当った水が跳ね上がって散乱しやすくなる。一方、跳ね上がり阻止面11dの傾斜角度が70度を超えると、一旦受け具30、40、50内へ入った水が跳ね上がって散乱するのを阻止し難くなり、また逆流して溢れたりするのを阻止し難くなる。
前記跳ね上がり防止具10の下縁開口11bの大きさは、排水や雨水が排水管や雨水管の落下口から空間を介して落下してくる場合には、その排水管や雨水管の落下口が丁度入る程度の大きさとする。例えば図1の(A)に示すように、3つの落下口dが束となっている場合は、その3つの落下口dの束が丁度入るような下縁開口11bの大きさとする。
一方、跳ね上がり防止具10の上縁開口11aの大きさは、受け具30、40、50の上向き開口の大きさに合わせることができる。
前記外フランジ12は、本体11の上縁開口11aから側方へ出っ張って形成された一体物である。この外フランジ12を受け具30、40、50の上向き開口に着座させることで、受け具30、40、50に跳ね上がり防止具10を装着させる。
外フランジ12の周縁の数箇所に突起部12aが設けられている。この突起部12aは、跳ね上がり防止具10が受け具30、40、50に装着された際の回転を防止するためのものである。
図2に網体20を示す。網体20は前記跳ね上がり防止具10に併せて用いることができる部材である。受け具30、40、50に対して跳ね上がり防止具10と共に装着される。網体20は、例えば樹脂材料で構成することができるが、金属材料で構成してもよい。
網体20は、網部21と、周縁枠部22とからなる。網部21の寸法は跳ね上がり防止具10の上縁開口11aの寸法と略同一とする。また周縁枠部22の寸法は跳ね上がり防止具10の外フランジ12と略同一としている。網部21は異物の通過を防止する役割を果たす。また周縁枠部22は跳ね上がり防止具10の外フランジ12の上に重ねて載置される。
図3〜図5に跳ね上がり防止具10を備えた受具としての管継手30を示す。この管継手30は、排水管や雨水管から落下する排水や雨水をその下で受ける受具としての役割を果たす。
この管継手30はエルボ形状に構成された管継手で、その上向き開口31に跳ね上がり防止具10と網体20を装着している。
前記管継手30の前記上向き開口31に対して、そこからの流路を90度変更して水平方向に開口する横向き接続口32が設けられている。
上向き開口31は、上方の図示しない排水管の落下口や雨水管の落下口に対して、空間を介して、下から口を開けた状態に配置される。この上向き開口31には管が接続されることはない。一方、横向き接続口32には図示しない配管が接続され、管継手30内に受け入れた排水や雨水を前記横向き接続口32を介して下流の流路に導く。
前記上向き開口31の下方は半球形状の凹部からなるインバート面33とされており、その一側壁に横向き接続口32が開口されている。上向き開口31の開口は落下水の受口として、その寸法が大きいのに比して、横向き接続口32の開口は下流配管との接続を行うだけであるので寸法が小さい。
落下してくる排水や雨水は上向き開口31から管継手30内に受け入れられ、垂直方向から水平方向へと流路を変更されたのち、横向き接続口32へ向かう。
前記上向き開口31には段部31aが形成されている。この段部31aを介して、それより上の大径部が開口縁部31bとして拡開されている。
前記開口縁部31bには、その一部に切欠き31cが設けられている。また開口縁部31bには、その内壁面の複数個所に嵌合凹所31dを設けている。
前記上向き開口31の開口縁部31bに対して跳ね上がり防止具10の外フランジ12が嵌め込まれ、段部31aに着座する。その際、跳ね上がり防止具10の突起部12aを開口縁部31bの嵌合凹所31dに嵌め合わせることで、跳ね上がり防止具10の回転が防止され、堅固な着座固定状態となる。
前記網体20は、着座された跳ね上がり防止具10の上から、更に開口縁部31bに嵌め込まれ、跳ね上がり防止具10の上に着座する。
前記網体20や跳ね上がり防止具10を取り外す場合は、前記開口縁部31bに設けた切欠き31cに、ドライバー等の工具の先端を差し込んで、跳ね上がり防止具10の外フランジ12を上方に押し上げることにより、網体20や跳ね上がり防止具10を持ち上げる。これによって容易に取り外しができ、メンテナンスに供することができる。
管継手30の外底部には、設置用の脚34を設けることができる。脚34を設けることで、排水、雨水の落下地点に接地した状態で、安定して管継手30を設置することができる。
また前記脚34に所望長さのパイプを接続することで、管継手30の高さを調節することもできる。
図6を参照して、管継手30の実際の使用例を説明する。この使用例では、エコ給湯システムと称されるヒートポンプ方式の給湯器から排水される水を受ける受け具として、管継手30が接地して配置されている。この管継手30には、跳ね上がり防止具10と網体20とが装着されている。
エコ給湯器のタンク1は敷地内の家屋内、外等の家屋付近に設けられ、排水管(排水ホース)1aがタンク1の底から垂下して設けられている。この排水管1aは、例えばそれぞれが異なる排水役割をもつ3本の管の束とされている。
一方、図1の(A)に示すように、受け具としての管継手30に装着された跳ね上がり防止具10の下縁開口11bは、その開口寸法内に前記3本の排水管1aの各落下口dが略収まるように、開口寸法が設計されている。
管継手30の横向き接続口32に、排水を敷地外に運ぶ導出管2が接続されている。
管継手30はタンク1の排水管1aの下方に、空間を介して間接配置される。排水管1aから落下する排水は、その主たる部分が跳ね上がり防止具10の下縁開口11bから管継手30内に直接的に入る。
落下する排水の幾らかは跳ね上がり防止具10の内面の水受口11c上に落下し、下縁開口11bに案内されて、管継手30内に入る。このとき、水受口11cの傾斜角度が50度以上とされることで、水受口11cに落下した水の上方への跳ね上がりが抑制され、速やかに下縁開口11aに導かれる。結果として外方への散乱が抑制される。
前記一旦管継手30内に入った水は、管継手30の比較的浅い底で跳ね上がったり、水位が増した際に前記下縁開口30から更に水位上昇して、管継手30外に散乱或いは溢れようとするが、跳ね上がり防止具10の跳ね上がり阻止面11dにより阻止される。このとき、跳ね上がり阻止面11dの傾斜角度を70度以下とすることで、管継手30の底から跳ね上がってきた水の飛び出しをより広い面積で阻止し、また管継手30内での水位の上昇の勢いをより広い面積で阻止する。結果として、管継手30から外部への水の散乱を防ぎ、また逆流して溢れたりするのを防ぐことができる。
また網体20を併せて装着することで、異物が管継手30内に混入するのを防止すると共に下方からの跳ね上がり水の阻止にも一役買うことができる。
図7に本発明の実施形態に係る跳ね上がり防止具を備えた受け具としての管継手の他の例を示す。
この管継手40も、排水管や雨水管から落下する排水や雨水をその下で受ける受具としての役割を果たす。
この管継手40は、いわゆるエルボ型管継手である。2つの接続口の一方を上向きに配置することで、上向き開口41とすることができる。この場合、他方は横向き接続口42となる。
この管継手40の場合は、上向き開口41の段部41aを介した大径部を延長して上向き接続口41bとしている。
前記上向き接続口41bには、図面上において2点鎖線で示すように、排水或いは雨水を落下搬送する管3と直結される。また前記横向き接続口42には、同様に2点鎖線で示すように、排水或いは雨水を更に敷地外へ運ぶ導出管4と接続される。
即ち、この管継手40の場合は、落下してくる排水や雨水を下方で受ける受け具ではあるが、外気を介することなく、排水や雨水の落下を導く管と直結された状態で使用される。
前記上向き開口41から横向き接続口42に至る管継手40の本体部分の流路は、円弧状曲面からなるインバート面43からなっている。
管継手40の前記上向き開口41の段部41aに対して、跳ね上がり防止具10の外フランジ12が着座され、更にその上から管3が上向き接続口41bに嵌合接続されることで、跳ね上がり防止具10が固定状態に装着される。
この管継手40の場合は、網体20は装着されていないが、勿論、異物の混入防止用のフィルターとして装着してもよい。
管3から落下してくる排水或いは雨水は、跳ね上がり防止具10を経て、管継手40内に入る。このとき管継手40内の湾曲面等で跳ね返る水は、跳ね返り防止具10によって上方に跳ね上がるのを阻止される。また管継手40内に落下した水が水位を上昇させる勢いを弱め、その結果、管継手40から管3側への逆流するのを防ぐことができる。
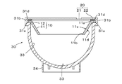
図8に本発明の実施形態に係る跳ね上がり防止具を備えた受け具としての枡を示す。図8の(A)は枡の縦断面図で、(B)は枡の横断面図である。
この枡50も、排水管や雨水管から落下する排水や雨水をその下で受ける受具としての役割を果たす。
この枡50は、上から落下してくる排水や雨水を受け取るための受け具として、上向き開口51と、流路を構成する左右の横向き接続口52、53を備えている。上向き開口51は左右の横向き接続口52、53に構成される流路に比べて大径に拡開されて開口されている。
前記上向き開口51は、その段部51aを介した大径部を延長した形で、更に上向き接続口51bに構成している。
前記上向き接続口51bに対して、枝管流入口が設けられた立て管(点検筒)等が直に接続される。また前記横向き接続口52、53には、それぞれ図示しない別の管が接続される。
即ち、この枡50の場合も、上記の管継手40の場合と同様に、落下してくる排水や雨水を下方で受ける受け具ではあるが、外気を介することなく、排水や雨水の落下を導く管と直結された状態で使用される。
勿論、前記枡50の上向き開口51には、必ずしも前記上向き接続口51bを設ける必要はない。上向き接続口51bを設けることなく、落下してきた排水や雨水を空間を経て間接的に受けるようにしてもよい。
枡50の前記上向き開口51の段部51aに対して、跳ね上がり防止具10の外フランジ12が着座され、更にその上から図示しない管が上向き接続口51bに嵌合接続されることで、跳ね上がり防止具10が固定状態に装着される。
勿論、網体20も跳ね上がり防止具10と共に装着することができる。
落下してくる排水或いは雨水は、跳ね上がり防止具10を経て、枡50内に入る。この枡50内から跳ね上がってくる水は、跳ね返り防止具10によって阻止される。また枡50内を流れる水の水位が上昇する勢いを跳ね返り防止具10が弱め、その結果、枡50内から上向き開口51側への逆流、溢れを防ぐことができる。
なお上記した実施形態において、上向き開口31、41、51で具体的に示した上向き開口は、受口構造に限らず、跳ね上がり防止具を取り付け可能な形状を備えた差口構造であってもよい。
また図7、図8に示す管継手40や枡50において、上向き開口41、51は接着受口に限らず、いわゆるゴム輪受口であってもかまわない。
また管継手40や枡50において、跳ね上がり防止具10の外フランジ12と上向き接続口41b、51bとの間にパッキンを挟み込むことにより、跳ね上がり防止具10の周囲に止水性を持たせてもよい。
本発明の実施形態に係る跳ね上がり防止具を示し、(A)は平面図、(B)は縦断面図である。 網体を示し、(A)は平面図、(B)は縦断面図である。 本発明の実施形態に係る管継手の平面図である。 図3のA−A断面図である。 図3のB−B断面図である。 使用状態を説明する図である。 本発明の実施形態に係る管継手の他の例を示す断面図である。 本発明の実施形態に係る枡を示し、(A)は縦断面図、(B)は横断面図である。
符号の説明
1 エコ給湯器
1a 排水管
2 導出管
3 管
4 導出管
10 跳ね上がり防止具
11 本体
11a 上縁開口
11b 下縁開口
11c 水受口
11d 跳ね上がり阻止面
12 外フランジ
12a 突起部
20 網体
21 網部
22 周縁枠部
30 管継手
31 上向き開口
31a 段部
31b 開口縁部
31c 切欠き
31d 嵌合凹所
32 横向き接続口
33 インバート面
34 脚
40 管継手
41 上向き開口
41a 段部
41b 上向き接続口
42 横向き接続口
43 インバート面
50 枡
51 上向き開口
51a 段部
51b 上向き接続口
52 横向き接続口
53 横向き接続口
d 落下口

Claims (7)

  1. 落下してくる水が跳ね上がるのを防止する跳ね上がり防止具であって、排水や雨水の落下を受ける管継手や枡等の受け具の上向き開口に対して装着されて使用され、本体が逆円錐台形状の断面を有する短筒体からなり、該短筒体の上縁開口から下縁開口までの傾斜する内面をもって前記受け具の上向き開口を内向き且つ斜め下方に向けて縮小させる水受口とすると共に、短筒体の傾斜する外面を前記落下した水の跳ね上がり阻止面として構成したことを特徴とする跳ね上がり防止具。
  2. 短筒体の上縁に、受け具の上向き開口に対する装着用の外フランジを設けたことを特徴とする請求項1に記載の跳ね上がり防止具。
  3. 落下してくる水を受け入れる上向き開口を備え、且つ上向き開口から受け入れた水を水平方向に流路変更して横向き接続口に導くようにした管継手であって、前記上向き開口に請求項1に記載の跳ね上がり防止具を装着したことを特徴とする管継手。
  4. 上向き開口に段部を構成し、該段部に対して跳ね上がり防止具の短筒体の上縁に設けた外フランジを着座して嵌め合わせることにより跳ね上がり防止具を装着したことを特徴とする請求項3に記載の管継手。
  5. 上向き開口の段部を介した大径部が延長されて上向き接続口とされていることを特徴とする請求項4に記載の管継手。
  6. 網体を跳ね上がり防止具と共に上向き開口に装着したことを特徴とする請求項3〜5の何れかに記載の管継手。
  7. 請求項3〜6の何れかに記載の管継手を、管継手に代えて枡としたことを特徴とする枡。
JP2008220761A 2008-08-29 2008-08-29 跳ね上がり防止具を装着した管継手及び枡 Active JP5456284B2 (ja)

Priority Applications (1)

Application Number Priority Date Filing Date Title
JP2008220761A JP5456284B2 (ja) 2008-08-29 2008-08-29 跳ね上がり防止具を装着した管継手及び枡

Applications Claiming Priority (1)

Application Number Priority Date Filing Date Title
JP2008220761A JP5456284B2 (ja) 2008-08-29 2008-08-29 跳ね上がり防止具を装着した管継手及び枡

Publications (2)

Publication Number Publication Date
JP2010053610A true JP2010053610A (ja) 2010-03-11
JP5456284B2 JP5456284B2 (ja) 2014-03-26

Family

ID=42069805

Family Applications (1)

Application Number Title Priority Date Filing Date
JP2008220761A Active JP5456284B2 (ja) 2008-08-29 2008-08-29 跳ね上がり防止具を装着した管継手及び枡

Country Status (1)

Country Link
JP (1) JP5456284B2 (ja)

Cited By (4)

* Cited by examiner, † Cited by third party
Publication number Priority date Publication date Assignee Title
JP2016063782A (ja) * 2014-09-25 2016-04-28 株式会社やまびこ ストレーナ付き液体タンク
CN106577605A (zh) * 2015-10-20 2017-04-26 山彦股份有限公司 附带过滤网的液体箱
JP2018188922A (ja) * 2017-05-11 2018-11-29 アロン化成株式会社 間接排水用継手
JP2020020399A (ja) * 2018-08-01 2020-02-06 アロン化成株式会社 間接排水用継手用保護体、間接排水用継手用保護体セット、配管構造、及び配管施工方法

Citations (4)

* Cited by examiner, † Cited by third party
Publication number Priority date Publication date Assignee Title
JP2003328418A (ja) * 2002-05-10 2003-11-19 Maruichi Kk 排水配管
JP2004076333A (ja) * 2002-08-13 2004-03-11 Sanki Eng Co Ltd 床排水兼用ホッパ
JP2006009553A (ja) * 2004-06-29 2006-01-12 Tomiuchi Suzuki 生ごみ収集かご
JP2007182749A (ja) * 2005-12-09 2007-07-19 Kubota Ci Kk 間接排水用器具

Patent Citations (4)

* Cited by examiner, † Cited by third party
Publication number Priority date Publication date Assignee Title
JP2003328418A (ja) * 2002-05-10 2003-11-19 Maruichi Kk 排水配管
JP2004076333A (ja) * 2002-08-13 2004-03-11 Sanki Eng Co Ltd 床排水兼用ホッパ
JP2006009553A (ja) * 2004-06-29 2006-01-12 Tomiuchi Suzuki 生ごみ収集かご
JP2007182749A (ja) * 2005-12-09 2007-07-19 Kubota Ci Kk 間接排水用器具

Cited By (4)

* Cited by examiner, † Cited by third party
Publication number Priority date Publication date Assignee Title
JP2016063782A (ja) * 2014-09-25 2016-04-28 株式会社やまびこ ストレーナ付き液体タンク
CN106577605A (zh) * 2015-10-20 2017-04-26 山彦股份有限公司 附带过滤网的液体箱
JP2018188922A (ja) * 2017-05-11 2018-11-29 アロン化成株式会社 間接排水用継手
JP2020020399A (ja) * 2018-08-01 2020-02-06 アロン化成株式会社 間接排水用継手用保護体、間接排水用継手用保護体セット、配管構造、及び配管施工方法

Also Published As

Publication number Publication date
JP5456284B2 (ja) 2014-03-26

Similar Documents

Publication Publication Date Title
KR100841358B1 (ko) 유하 빗물 여과 장치 및 이를 이용한 빗물 저류 장치
JP6612521B2 (ja) 間接排水用継手及び機器設置構造
JP5597831B2 (ja) 排水機器の排水配管、及び排水トラップ
JP5456284B2 (ja) 跳ね上がり防止具を装着した管継手及び枡
JP6667818B2 (ja) 旋回流自動洗浄式雨水タンクとこれを用いた旋回流自動洗浄式雨水タンク装置およびその組立方法
EP1233112A2 (en) Oil cut-off device for floor drains or similar
JP7262308B2 (ja) 排水システム
CA2383766C (en) Sewage pipe connector for intercepting bad smell
JP5137037B2 (ja) 雨水貯水タンク
JP5703824B2 (ja) 排水トラップ
JP6886497B2 (ja) 間接排水用継手及び機器設置構造
JP5423059B2 (ja) 浴室排水装置
CN114506413B (zh) 船用防倒灌地漏及安装方法
JP5151498B2 (ja) 浴室排水装置
KR100811125B1 (ko) 오수받이
JP6072426B2 (ja) 小便器
JP6454848B2 (ja) 排水配管
KR100707720B1 (ko) 인버트와 트랩이 일체로 형성된 오수받이의 본체구조
JP2009293294A (ja) 雨水貯留システム
JP6820173B2 (ja) 排水トラップ
JP2009167591A (ja) 排水トラップ
JP2024045976A (ja) 汚濁物捕捉用構造体及び汚濁物捕捉設備
JP2009228914A (ja) 温水器用排水ホッパー
JP2005133314A (ja) 排水トラップ
JP2010126906A (ja) 雨水取出部の構造

Legal Events

Date Code Title Description
A621 Written request for application examination

Free format text: JAPANESE INTERMEDIATE CODE: A621

Effective date: 20110222

A977 Report on retrieval

Free format text: JAPANESE INTERMEDIATE CODE: A971007

Effective date: 20120904

A131 Notification of reasons for refusal

Free format text: JAPANESE INTERMEDIATE CODE: A131

Effective date: 20130312

A521 Request for written amendment filed

Free format text: JAPANESE INTERMEDIATE CODE: A523

Effective date: 20130430

TRDD Decision of grant or rejection written
A01 Written decision to grant a patent or to grant a registration (utility model)

Free format text: JAPANESE INTERMEDIATE CODE: A01

Effective date: 20131217

A61 First payment of annual fees (during grant procedure)

Free format text: JAPANESE INTERMEDIATE CODE: A61

Effective date: 20140108

R150 Certificate of patent or registration of utility model

Ref document number: 5456284

Country of ref document: JP

Free format text: JAPANESE INTERMEDIATE CODE: R150

Free format text: JAPANESE INTERMEDIATE CODE: R150

R250 Receipt of annual fees

Free format text: JAPANESE INTERMEDIATE CODE: R250

R250 Receipt of annual fees

Free format text: JAPANESE INTERMEDIATE CODE: R250

R250 Receipt of annual fees

Free format text: JAPANESE INTERMEDIATE CODE: R250

R250 Receipt of annual fees

Free format text: JAPANESE INTERMEDIATE CODE: R250

R250 Receipt of annual fees

Free format text: JAPANESE INTERMEDIATE CODE: R250

R250 Receipt of annual fees

Free format text: JAPANESE INTERMEDIATE CODE: R250

R250 Receipt of annual fees

Free format text: JAPANESE INTERMEDIATE CODE: R250

R250 Receipt of annual fees

Free format text: JAPANESE INTERMEDIATE CODE: R250

R250 Receipt of annual fees

Free format text: JAPANESE INTERMEDIATE CODE: R250

R250 Receipt of annual fees

Free format text: JAPANESE INTERMEDIATE CODE: R250