JP2010053587A - 除塵装置 - Google Patents

除塵装置 Download PDF

Info

Publication number
JP2010053587A
JP2010053587A JP2008219217A JP2008219217A JP2010053587A JP 2010053587 A JP2010053587 A JP 2010053587A JP 2008219217 A JP2008219217 A JP 2008219217A JP 2008219217 A JP2008219217 A JP 2008219217A JP 2010053587 A JP2010053587 A JP 2010053587A
Authority
JP
Japan
Prior art keywords
screen
dust
downstream
water
upstream
Prior art date
Legal status (The legal status is an assumption and is not a legal conclusion. Google has not performed a legal analysis and makes no representation as to the accuracy of the status listed.)
Granted
Application number
JP2008219217A
Other languages
English (en)
Other versions
JP5033738B2 (ja
Inventor
Takaya Yanobu
孝也 矢延
Isao Yoshimura
功 吉村
Daishi Kuramoto
大志 倉本
Takashi Nishizawa
隆 西澤
Current Assignee (The listed assignees may be inaccurate. Google has not performed a legal analysis and makes no representation or warranty as to the accuracy of the list.)
Marsima Aqua System Corp
Original Assignee
Marsima Aqua System Corp
Priority date (The priority date is an assumption and is not a legal conclusion. Google has not performed a legal analysis and makes no representation as to the accuracy of the date listed.)
Filing date
Publication date
Application filed by Marsima Aqua System Corp filed Critical Marsima Aqua System Corp
Priority to JP2008219217A priority Critical patent/JP5033738B2/ja
Publication of JP2010053587A publication Critical patent/JP2010053587A/ja
Application granted granted Critical
Publication of JP5033738B2 publication Critical patent/JP5033738B2/ja
Active legal-status Critical Current
Anticipated expiration legal-status Critical

Links

Images

Landscapes

  • Filtration Of Liquid (AREA)

Abstract

【課題】1台の除塵装置の回転スクリーンで、大型と小型の塵芥を目詰まりしないように合理的に捕捉でき、設置スペースや水理損失が大きくならず、除去した塵芥の処理が煩雑にならないように工夫した除塵装置を提供する。
【解決手段】エンドレス状のスクリーン20の回転によって、捕捉した塵芥を水中から掻き上げて水路外に排除する除塵装置30である。スクリーン20は、上流側と下流側とに2分して、上流側を粗目スクリーン20(A)に設定し、下流側を細目スクリーン20(B)に設定する。粗目スクリーン20(A)の内面若しくは外面のいずれか一面で大型の塵芥を捕捉しつつ流水を他面に通過させるとともに、細目スクリーン20(B)の内面若しくは外面のいずれか一面で小型の塵芥を捕捉しつつ流水を他面に通過させる。
【選択図】図3

Description

本発明は、水路内の流水中の塵芥を捕捉して除去する除塵装置に関する。
従来、図7および図8に示すように、除塵装置3としては、水路1内の中央位置に、上流側を開口させたエンドレス状の回転スクリーン2が設けられて、この回転スクリーン2の内面2aで塵芥を捕捉しつつ流水を外面2bに通過させるとともに、回転スクリーン2の回転によって、捕捉した塵芥を水中から掻き上げて水路外に排除するようにしたものがある(特許文献1参照)。
具体的には、前記水路1内の両側位置に、水路1の内壁面から内方に突出する隔壁1aが形成されるとともに、この隔壁1aの下流側の中央位置に、閉塞壁1bが形成されて、この隔壁1aと閉塞壁1bとの間に回転スクリーン2が前開口2cを上流側に向けて配置され、隔壁1aと閉塞壁1bに取付けられたガイド4により、回転スクリーン2の前後の開口端に取付けたエンドレスチェーン5が回転ガイドされるようになっている。なお、回転スクリーン2の後開口2dは閉塞壁1bで閉塞されることになる。
前記回転スクリーン2は、上部が水面上に突出するよう縦長楕円状に形成され、水面上の基板6で支持されたチェーンスプロケット7にエンドレスチェーン5の上部が噛み合わされ、電動モータ8でチェーンスプロケット7を駆動することにより、エンドレスチェーン5とともに回転スクリーン2が回転されるようになる。
そして、水路1内の流水は、隔壁1aの間の中央通路1cを通って前開口2cから回転スクリーン2の内面2aに流入し、この内面2aで塵芥が捕捉されつつ外面2bに通過して再び水路1内を流下するようになる。また、内面2aで捕捉された塵芥は、回転スクリーン2の回転によって水中から掻き上げられ、スプレー装置9から噴射される水圧で吹き落されてトラフ10に回収されるようになる。
ところで、流水中には、大型の塵芥(例えば10mm以上)や小型の塵芥(例えば3mm以上)が含まれている。したがって、回転スクリーン2として、大型の塵芥を捕捉する粗目スクリーンを用いれば、小型の塵芥を全く捕捉することができず、逆に、小型の塵芥を捕捉する細目スクリーンを用いれば、大型の塵芥も同時に捕捉することで、直ぐに目詰まりを起こすようになる。
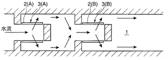
そのために、大型と小型の塵芥を同時に捕捉でき、かつ目詰まりを起こさないようにするためには、図9に示すように、水路1の上流側に、大型の塵芥を捕捉する粗目スクリーン2(A)の除塵装置3(A)を配置し、水路1の下流側に、小型の塵芥を捕捉する細目スクリーン2(B)の除塵装置3(B)を設置する必要がある。
特開2002−69973号公報
しかしながら、水路の上流側と下流側に2台の除塵装置3(A,B)を設置すれば、設置スペースが大きくなるばかりか、水理損失も大きくなるとともに、各除塵装置3(A,B)から別々に除去した塵芥の処理が煩雑になる等の問題があった。
本発明は、前記問題を解消するためになされたもので、1台の除塵装置の回転スクリーンで、大型と小型の塵芥を目詰まりしないように合理的に捕捉でき、設置スペースや水理損失が大きくならず、除去した塵芥の処理が煩雑にならないように工夫した除塵装置を提供することを目的とするものである。
前記課題を解決するために、本発明は、水路内の中央位置に、上流側を開口させた、水路に平行なエンドレス状のスクリーンが設けられて、このスクリーンの内面若しくは外面のいずれか一面で塵芥を捕捉しつつ流水を他面に通過させるとともに、スクリーンの回転によって、捕捉した塵芥を水中から掻き上げて水路外に排除する除塵装置であって、前記スクリーンは、上流側と下流側とに2分して、上流側を粗目スクリーンに設定し、下流側を細目スクリーンに設定して、上流側の粗目スクリーンの内面若しくは外面のいずれか一面で大型の塵芥を捕捉しつつ流水を他面に通過させるとともに、下流側の細目スクリーンの内面若しくは外面のいずれか一面で小型の塵芥を捕捉しつつ流水を他面に通過させるようにしたことを特徴とする除塵装置を提供するものである。
請求項2のように、請求項1において、前記上流側の粗目スクリーンと下流側細目スクリーンとの間を内部仕切り部材で仕切って、上流側の粗目スクリーンの内面で大型の塵芥を捕捉しつつ流水を外面に通過させるとともに、下流側の細目スクリーンの外面で小型の塵芥を捕捉しつつ流水を内面に通過させるように構成することができる。
請求項3のように、請求項2において、前記水路の上方で、少なくとも下流側の細目スクリーンが一時的に斜め下向きに傾くように、スクリーンをガイドするガイド部を設けることが好ましい。
請求項4のように、請求項1において、前記上流側の粗目スクリーンと下流側の細目スクリーンとの間の水路を外部仕切り部材で仕切って、上流側の粗目スクリーンの外面で大型の塵芥を捕捉しつつ流水を内面に通過させるとともに、下流側の細目スクリーンの内面で小型の塵芥を捕捉しつつ流水を外面に通過させるように構成することができる。
請求項5のように、請求項1において、前記上流側の粗目スクリーンと下流側の細目スクリーンとの間に開口部を形成し、上流側の粗目スクリーンと下流側の細目スクリーンとの間を内部仕切り部材で仕切り、開口部と下流側の細目スクリーンとの間の水路を外部仕切り部材で仕切って、上流側の粗目スクリーンの内面で大型の塵芥を捕捉しつつ流水を外面に通過させるとともに、開口部から下流側の細目スクリーン内に導入して、下流側の細目スクリーンの内面で小型の塵芥を捕捉しつつ流水を外面に通過させるように構成することができる。
請求項6のように、前記上流側の粗目スクリーンと下流側の細目スクリーンとの間に開口部を形成し、上流側の粗目スクリーンと下流側の細目スクリーンとの間を内部仕切り部材で仕切り、開口部と下流側の細目スクリーンとの間の水路を外部仕切り部材で仕切って、上流側の粗目スクリーンの外面で大型の塵芥を捕捉しつつ流水を内面に通過させるとともに、開口部から下流側の細目スクリーン外に導出して、下流側の細目スクリーンの外面で小型の塵芥を捕捉しつつ流水を内面に通過させるように構成することができる。
本発明によれば、水路内の水流は、1台の除塵装置の上流側の粗目スクリーンを通過してから下流側の細目スクリーンを通過するようになる。したがって、先ず粗目スクリーンで流水中の大型の塵埃が捕捉され、次いで細目スクリーンで流水中の小型の塵埃が捕捉されるようになる。
したがって、1台の除塵装置の回転スクリーンで、大型と小型の塵芥を目詰まりしないように合理的に順次捕捉できるから、2台の除塵装置を設置する場合と比べて、設置スペースが大きくならなくなるとともに設備コストも安価になる。また、2台の除塵装置を設置する場合と比べて、水流の急拡や急縮の回数が少ないので、水理的に有利となる。さらに、除塵装置は1台であるので、除去した塵芥の処理が煩雑にならなくなる。さらにまた、粗目スクリーンと細目スクリーンとは、塵芥の大きさや量に応じて、目幅や面積比を自由に変更可能であるので、如何なる大きさの塵芥にも臨機応変に対応することができる。
請求項2によれば、上流側の粗目スクリーンと下流側の細目スクリーンとの間を仕切り壁で仕切るだけで、上流側の粗目スクリーンの内面で大型の塵芥を捕捉しつつ流水を外面に通過(イン・アウト)させるとともに、下流側の細目スクリーンの外面で小型の塵芥を捕捉しつつ流水を内面に通過(アウト・イン)させることができる。
請求項3によれば、ガイド部で、細目スクリーンが一時的に斜め下向きに傾くから、外面で捕捉した小型の塵芥が下方に落ちやすくなって、小型の塵芥の除去が容易になる。
請求項4によれば、上流側の粗目スクリーンと下流側の細目スクリーンとの間の水路を外部仕切り部材で仕切ることにより、上流側の粗目スクリーンの外面で大型の塵芥を捕捉しつつ流水を内面に通過(アウト・イン)させるとともに、下流側の細目スクリーンの内面で小型の塵芥を捕捉しつつ流水を外面に通過(イン・アウト)させることができる。
請求項5によれば、上流側の粗目スクリーンと下流側の細目スクリーンとの間に開口部を形成し、上流側の粗目スクリーンと下流側の細目スクリーンとの間を内部仕切り部材で仕切り、開口部と下流側の細目スクリーンとの間の水路を外部仕切り部材で仕切ることにより、上流側の粗目スクリーンの内面で大型の塵芥を捕捉しつつ流水を外面に通過(イン・アウト)させるとともに、開口部から細目スクリーン内に導入して、下流側の細目スクリーンの内面で小型の塵芥を捕捉しつつ流水を外面に通過(イン・アウト)させることができる。
これにより、回転スクリーンの内面側で大型と小型の各塵芥を捕捉でき、スプレー装置から噴射される水圧で回転スクリーン内のトラフに吹き落して回収できるので、回転スクリーンの内面側と外面側で大型と小型の各塵芥をそれぞれ捕捉する場合と比べて、外面側用のスプレー装置や回転スクリーン外のトラフが不要になり、塵芥の回収機構を単純化できるようになる。また、下流側の細目スクリーンを一時的に斜め下向きに傾くようにガイドするガイド部も不要になる。さらに、内面側だけで塵芥を捕捉するから、回転スクリーンの構造が簡単になる。
請求項6によれば、上流側の粗目スクリーンと下流側の細目スクリーンとの間に開口部を形成し、上流側の粗目スクリーンと下流側の細目スクリーンとの間を内部仕切り部材で仕切り、開口部と下流側の細目スクリーンとの間の水路を外部仕切り部材で仕切ることにより、上流側の粗目スクリーンの外面で大型の塵芥を捕捉しつつ流水を内面に通過(アウト・イン)させるとともに、開口部から下流側の細目スクリーン外に導出して、下流側の細目スクリーンの外面で小型の塵芥を捕捉しつつ流水を内面に通過(アウト・イン)させることができる。
以下、本発明を実施するための最良の形態について、図面を参照しながら詳細に説明する。なお、背景技術と同一構成・作用の箇所は、同一番号を付して詳細な説明を省略する。
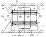
図1は、水路1の側面方向から見た除塵装置30の側面図、図2は水路1の上流方向から見た除塵装置30の正面図、図3は、水路1の上方向から見た除塵装置30の平面断面図である。
水路1内の中央位置に設置される除塵装置30は、図7および図8の従来の除塵装置3と基本的には同じ構成であるが、水路1内の上流側の隔壁1aの下流側に隔壁1dが形成されて、この上流側と下流側の隔壁1a,1dの間に回転スクリーン20が前開口20cを上流側に向けて、水路1に平行に配置されている。なお、隔壁1a,1dは、外部仕切り部材として機能するものであり、水路1と一体のコンクリート構造以外に、鋼板等を水路1に取付けたものであっても良い。
そして、各隔壁1a,1dに取付けられたガイド4(図7参照)により、回転スクリーン20の前後の開口端に取付けたエンドレスチェーン5が回転ガイドされるようになっている。
回転スクリーン20は、上部が水面上に突出するよう縦長楕円状に形成され、水面上の基板6で支持されたチェーンスプロケット7にエンドレスチェーン5の上部が噛み合わされ、電動モータ8でチェーンスプロケット7を駆動することにより、エンドレスチェーン5とともに回転スクリーン20が図2の矢印aの方向に回転されるようになる。
回転スクリーン20は、上流側と下流側とに2分されている。そして、上流側は、大型の塵芥(例えば10mm以上)を捕捉する粗目スクリーン20(A)に設定し、下流側は、小型の塵芥(例えば3mm以上)を捕捉する細目スクリーン20(B)に設定している。
上流側の粗目スクリーン20(A)と下流側の細目スクリーン20(B)との間は、仕切り壁(内部仕切り部材)21で仕切られている。この仕切り壁21には、上流側の粗目スクリーン20(A)の内面20aが目詰まりした非常時に、水流を下流側の細目スクリーン20(B)の方向に流すようにできる非常用ゲート(回転式のフラップ弁、バタフライ弁や引き上げ式ゲート等)を取付けることができる。また、スクリーン本体の上流側のろ過面に、上流側に向かって突出する突き出し通水管を並べ設けて、隣接する突き出し通水管に高低差を付けている除塵用立体スクリーン(特開2007−146461号公報参照。いわゆる突起ネット)を取付けることもできる。
そして、水路1内の流水は、矢印bで示すように、隔壁1aの間の中央通路1cを通って前開口20cから上流側の粗目スクリーン20(A)の内面20aに流入し、この内面(左右両内面の意味、以下同様)20aで大型の塵芥を捕捉しつつ外面(左右両外面の意味、以下同様)20bに通過して再び水路1内に戻る。次いで、下流側の細目スクリーン20(B)の外面20bで小型の塵芥を捕捉しつつ内面20aに通過して、後開口20dから隔壁1dの間の中央通路1cを通って水路1内に戻るようになる。
粗目スクリーン20(A)の内面20aで捕捉された大型の塵芥は、回転スクリーン20の回転によって水中から掻き上げられ、粗目スクリーン20(A)に対応する幅で設けられたスプレー装置9から噴射される水圧で吹き落されて、回転スクリーン20内のトラフ10に回収されるようになる。
また、細目スクリーン20(B)の外面20bで捕捉された小型の塵芥は、回転スクリーン20の回転によって水中から掻き上げられ、細目スクリーン20(B)に対応する幅で設けられたスプレー装置15から噴射される水圧で吹き落されて、回転スクリーン20外のトラフ16に回収されるようになる。この場合、スプレー装置15とトラフ16との間に位置した細目スクリーン20(B)は、図2に符号cで示すように、一時的に斜め下向きに傾くように、回転スクリーン20、つまりエンドレスチェーン5をガイドするガイド部4aをガイド4に設けている。
前記のように除塵装置を構成すれば、水路1内の水流は、1台の除塵装置30の上流側の粗目スクリーン20(A)を通過してから下流側の細目スクリーン20(B)を通過するようになる。したがって、先ず粗目スクリーン20(A)で流水中の大型の塵埃が捕捉され、次いで細目スクリーン20(B)で流水中の小型の塵埃が捕捉されるようになる(2連結式スクリーン構造)。
したがって、1台の除塵装置30の回転スクリーン20で、大型と小型の塵芥を目詰まりしないように合理的に順次捕捉できるから、2台の除塵装置を設置する場合と比べて、設置スペースが大きくならなくなる。
また、2台の除塵装置を設置する場合と比べて、水流の急拡や急縮の回数が少ないので、水理的に有利となる。
さらに、除塵装置30は1台であるので、除去した塵芥の処理が煩雑にならなくなる。さらにまた、粗目スクリーン20(A)と細目スクリーン20(B)とは、塵芥の大きさや量に応じて、目幅や面積比を自由に変更可能であるので、如何なる大きさの塵芥にも臨機応変に対応することができる。
また、上流側の粗目スクリーン20(A)と下流側の細目スクリーン20(B)との間を仕切り壁21で仕切るだけで、上流側の粗目スクリーン20(A)の内面20aで大型の塵芥を捕捉しつつ流水を外面20bに通過(イン・アウト)させるとともに、下流側の細目スクリーン20(B)の外面20bで小型の塵芥を捕捉しつつ流水を内面20aに通過(アウト・イン)させることができる。
さらに、ガイド部4aで、細目スクリーン20(B)が一時的に斜め下向きに傾くから、外面20bで捕捉した小型の塵芥が下方に落ちやすくなって、スプレー装置15から噴射される水圧で吹き落されて、回転スクリーン20外のトラフ16に回収されるので、小型の塵芥の除去が容易になる。
前記実施形態は、図4(a)のように、流水を粗目スクリーン20(A)の内面20aから外面20bに通過(イン・アウト)させ、細目スクリーン20(B)の外面20bから内面20aに通過(アウト・イン)させるものであった。
これに対して、図4(b)のように、上流側の粗目スクリーン20(A)と下流側の細目スクリーン20(B)との間の水路1を外部仕切り部材24で仕切って、流水を粗目スクリーン20(A)の外面20bから内面20aに通過(アウト・イン)させ、細目スクリーン20(B)の内面20aから外面20bに通過(イン・アウト)させるように構成することもできる。
また、図5(a)のように、上流側の粗目スクリーン20(A)と下流側の細目スクリーン20(B)との間に開口部22を形成し、上流側の粗目スクリーン20(A)の下流端と開口部22の上流端との間を内部仕切り部材23で仕切るとともに、開口部22の下流端と下流側の細目スクリーン20(B)の上流端との間の水路1を外部仕切り部材24で仕切って、流水を粗目スクリーン20(A)の内面20aから外面20bに通過(イン・アウト)させるとともに、開口部22から細目スクリーン20(B)内に導入して、細目スクリーン20(B)の内面20aから外面20bに通過(イン・アウト)させるように構成することもできる。
さらに、図5(b)のように、上流側の粗目スクリーン20(A)と下流側を細目スクリーン20(B)とを下流側向きに窄まったテーパ状に形成し、上流側の粗目スクリーン20(A)の下流端と下流側の細目スクリーン20(B)上流端との間に開口部22を形成し、上流側の粗目スクリーン20(A)の下流端を内部仕切り部材23で仕切るとともに、開口部22との間の水路1を外部仕切り部材24で仕切って、流水を粗目スクリーン20(A)の内面20aから外面20bに通過(イン・アウト)させるとともに、開口部22から細目スクリーン20(B)内に導入して、細目スクリーン20(B)の内面20aから外面20bに通過(イン・アウト)させるように構成することもできる。
図5(a)(b)の構成であれば、回転スクリーン20の内面20a側で大型と小型の各塵芥を捕捉でき、スプレー装置9から噴射される水圧で回転スクリーン20内のトラフ10に吹き落して回収できるので、スプレー装置15や回転スクリーン20外のトラフ16が不要になり、塵芥の回収機構を単純化できるようになる。また、下流側の細目スクリーン20(B)を一時的に斜め下向きに傾くようにガイドするガイド部4aも不要になる。さらに、内面20a側だけで塵芥を捕捉するから、回転スクリーン20の構造が簡単になる。
図6(a)は図5(a)に対応し、図6(b)は図5(b)に対応する構成のものであり、水流の向きを変えたものである。なお、上流側の粗目スクリーン20(A)と下流側の細目スクリーン20(B)の位置も変えている。
そして、流水を粗目スクリーン20(A)の外面20bから内面20aに通過(アウト・イン)させるとともに、開口部22から細目スクリーン20(B)外に導出して、細目スクリーン20(B)の外面20bから内面20aに通過(アウト・イン)させるように構成することもできる。
本発明の実施形態に係る除塵装置を水路の側面方向から見た側面図である。 図1の除塵装置を水路の上流方向から見た正面図である。 図1の除塵装置を水路の上方向から見た平面断面図である。 (a)(b)は、実施形態に係るスクリーンと水流との関係を示す模式図である。 (a)(b)は、実施形態に係るスクリーンと水流との関係を示す模式図である。 (a)(b)は、実施形態に係るスクリーンと水流との関係を示す模式図である。 従来の除塵装置の斜視図である。 図7の除塵装置の平面模式図である。 従来のスクリーンと水流との関係を示す模式図である。
符号の説明
1 水路
4 ガイド
4a ガイド部
5 エンドレスチェーン
20 回転スクリーン
20(A) 粗目スクリーン
20(B) 細目スクリーン
20a 内面
20b 外面
20c 前開口
20d 後開口
21 内部仕切り部材
22 開口部
23 内部仕切り部材
24 外部仕切り部材
30 除塵装置

Claims (6)

  1. 水路内の中央位置に、上流側を開口させた、水路に平行なエンドレス状のスクリーンが設けられて、このスクリーンの内面若しくは外面のいずれか一面で塵芥を捕捉しつつ流水を他面に通過させるとともに、スクリーンの回転によって、捕捉した塵芥を水中から掻き上げて水路外に排除する除塵装置であって、
    前記スクリーンは、上流側と下流側とに2分して、上流側を粗目スクリーンに設定し、下流側を細目スクリーンに設定して、
    上流側の粗目スクリーンの内面若しくは外面のいずれか一面で大型の塵芥を捕捉しつつ流水を他面に通過させるとともに、下流側の細目スクリーンの内面若しくは外面のいずれか一面で小型の塵芥を捕捉しつつ流水を他面に通過させるようにしたことを特徴とする除塵装置。
  2. 前記上流側の粗目スクリーンと下流側の細目スクリーンとの間を内部仕切り部材で仕切って、
    上流側の粗目スクリーンの内面で大型の塵芥を捕捉しつつ流水を外面に通過させるとともに、下流側の細目スクリーンの外面で小型の塵芥を捕捉しつつ流水を内面に通過させるようにしたことを特徴とする請求項1に記載の除塵装置。
  3. 前記水路の上方で、少なくとも下流側の細目スクリーンが一時的に斜め下向きに傾くように、スクリーンをガイドするガイド部を設けたことを特徴とする請求項2に記載の除塵装置。
  4. 前記上流側の粗目スクリーンと下流側の細目スクリーンとの間の水路を外部仕切り部材で仕切って、
    上流側の粗目スクリーンの外面で大型の塵芥を捕捉しつつ流水を内面に通過させるとともに、下流側の細目スクリーンの内面で小型の塵芥を捕捉しつつ流水を外面に通過させるようにしたことを特徴とする請求項1に記載の除塵装置。
  5. 前記上流側の粗目スクリーンと下流側の細目スクリーンとの間に開口部を形成し、上流側の粗目スクリーンと下流側の細目スクリーンとの間を内部仕切り部材で仕切り、開口部と下流側の細目スクリーンとの間の水路を外部仕切り部材で仕切って、
    上流側の粗目スクリーンの内面で大型の塵芥を捕捉しつつ流水を外面に通過させるとともに、開口部から下流側の細目スクリーン内に導入して、下流側の細目スクリーンの内面で小型の塵芥を捕捉しつつ流水を外面に通過させるようにしたことを特徴とする請求項1に記載の除塵装置。
  6. 前記上流側の粗目スクリーンと下流側の細目スクリーンとの間に開口部を形成し、上流側の粗目スクリーンと下流側の細目スクリーンとの間を内部仕切り部材で仕切り、開口部と下流側の細目スクリーンとの間の水路を外部仕切り部材で仕切って、
    上流側の粗目スクリーンの外面で大型の塵芥を捕捉しつつ流水を内面に通過させるとともに、開口部から下流側の細目スクリーン外に導出して、下流側の細目スクリーンの外面で小型の塵芥を捕捉しつつ流水を内面に通過させるようにしたことを特徴とする請求項1に記載の除塵装置。
JP2008219217A 2008-08-28 2008-08-28 除塵装置 Active JP5033738B2 (ja)

Priority Applications (1)

Application Number Priority Date Filing Date Title
JP2008219217A JP5033738B2 (ja) 2008-08-28 2008-08-28 除塵装置

Applications Claiming Priority (1)

Application Number Priority Date Filing Date Title
JP2008219217A JP5033738B2 (ja) 2008-08-28 2008-08-28 除塵装置

Publications (2)

Publication Number Publication Date
JP2010053587A true JP2010053587A (ja) 2010-03-11
JP5033738B2 JP5033738B2 (ja) 2012-09-26

Family

ID=42069782

Family Applications (1)

Application Number Title Priority Date Filing Date
JP2008219217A Active JP5033738B2 (ja) 2008-08-28 2008-08-28 除塵装置

Country Status (1)

Country Link
JP (1) JP5033738B2 (ja)

Cited By (3)

* Cited by examiner, † Cited by third party
Publication number Priority date Publication date Assignee Title
CN102912767A (zh) * 2012-11-14 2013-02-06 江苏兆盛环保集团有限公司 垂直式孔板格栅清污机
JP2016011553A (ja) * 2014-06-30 2016-01-21 株式会社丸島アクアシステム 回転式除塵装置
JP7597524B2 (ja) 2019-05-30 2024-12-10 アクセプタンス グループ ピーティーワイ リミテッド 連続ベルトスクリーン組付体のための流れ制限装置

Families Citing this family (1)

* Cited by examiner, † Cited by third party
Publication number Priority date Publication date Assignee Title
CN106544847B (zh) * 2017-01-23 2017-08-25 舒燕 一种布料表面除尘装置

Cited By (3)

* Cited by examiner, † Cited by third party
Publication number Priority date Publication date Assignee Title
CN102912767A (zh) * 2012-11-14 2013-02-06 江苏兆盛环保集团有限公司 垂直式孔板格栅清污机
JP2016011553A (ja) * 2014-06-30 2016-01-21 株式会社丸島アクアシステム 回転式除塵装置
JP7597524B2 (ja) 2019-05-30 2024-12-10 アクセプタンス グループ ピーティーワイ リミテッド 連続ベルトスクリーン組付体のための流れ制限装置

Also Published As

Publication number Publication date
JP5033738B2 (ja) 2012-09-26

Similar Documents

Publication Publication Date Title
US6641720B1 (en) Apparatus and methods for separating solids from flowing liquids or gases
JP5033738B2 (ja) 除塵装置
US4018580A (en) Separator for separating liquid droplets from a stream of gas
US20070056889A1 (en) Apparatus for separating solids from flowing liquids
JP2018119474A (ja) オイルミストセパレータ
DE102013221611B4 (de) Ölnebelabscheider
JP2012036711A (ja) 路面排水処理装置
JP4681641B2 (ja) 分離装置
JP5507365B2 (ja) 除塵機
JP4332051B2 (ja) ブリーザ装置
JP3125832B2 (ja) 双方向流水管の夾雑物除去装置
JP2005282390A5 (ja)
JP3090568B2 (ja) 流水管の夾雑物除去装置
JPH07132205A (ja) 流水管の夾雑物除去装置
KR200407931Y1 (ko) 저수기능을 갖는 하천의 자연정화구조물
JP2006123050A (ja) 分離装置
DE2215679B2 (de) Abscheider für Flüssigkeitströpfchen aus einem Gasstrom
JP5586806B1 (ja) 異物除去装置及び異物回収装置
JPH0418648Y2 (ja)
JP2013096204A (ja) 除塵機
EP2937318B1 (de) Reinigungsvorrichtung zur reinigung eines fluids umfassend eine einrichtung zum sedimentieren und eine einrichtung zum adsorbieren
KR100867740B1 (ko) 오염수 정화장치
KR100873379B1 (ko) 안전-방출 게이트를 갖는 볼 트랩
JP4058302B2 (ja) 除塵装置
JP4444913B2 (ja) 除塵用立体スクリーン

Legal Events

Date Code Title Description
A621 Written request for application examination

Free format text: JAPANESE INTERMEDIATE CODE: A621

Effective date: 20110610

TRDD Decision of grant or rejection written
A977 Report on retrieval

Free format text: JAPANESE INTERMEDIATE CODE: A971007

Effective date: 20120620

A01 Written decision to grant a patent or to grant a registration (utility model)

Free format text: JAPANESE INTERMEDIATE CODE: A01

Effective date: 20120626

A01 Written decision to grant a patent or to grant a registration (utility model)

Free format text: JAPANESE INTERMEDIATE CODE: A01

A61 First payment of annual fees (during grant procedure)

Free format text: JAPANESE INTERMEDIATE CODE: A61

Effective date: 20120702

R150 Certificate of patent or registration of utility model

Ref document number: 5033738

Country of ref document: JP

Free format text: JAPANESE INTERMEDIATE CODE: R150

Free format text: JAPANESE INTERMEDIATE CODE: R150

FPAY Renewal fee payment (event date is renewal date of database)

Free format text: PAYMENT UNTIL: 20150706

Year of fee payment: 3

R250 Receipt of annual fees

Free format text: JAPANESE INTERMEDIATE CODE: R250

R250 Receipt of annual fees

Free format text: JAPANESE INTERMEDIATE CODE: R250

R250 Receipt of annual fees

Free format text: JAPANESE INTERMEDIATE CODE: R250

R250 Receipt of annual fees

Free format text: JAPANESE INTERMEDIATE CODE: R250

R250 Receipt of annual fees

Free format text: JAPANESE INTERMEDIATE CODE: R250

R250 Receipt of annual fees

Free format text: JAPANESE INTERMEDIATE CODE: R250