JP2010053552A - 化粧床材の枠体 - Google Patents

化粧床材の枠体 Download PDF

Info

Publication number
JP2010053552A
JP2010053552A JP2008217779A JP2008217779A JP2010053552A JP 2010053552 A JP2010053552 A JP 2010053552A JP 2008217779 A JP2008217779 A JP 2008217779A JP 2008217779 A JP2008217779 A JP 2008217779A JP 2010053552 A JP2010053552 A JP 2010053552A
Authority
JP
Japan
Prior art keywords
decorative material
surface decorative
locking pieces
material receiving
frame
Prior art date
Legal status (The legal status is an assumption and is not a legal conclusion. Google has not performed a legal analysis and makes no representation as to the accuracy of the status listed.)
Granted
Application number
JP2008217779A
Other languages
English (en)
Other versions
JP5301220B2 (ja
Inventor
Koji Tanaka
康二 田中
Current Assignee (The listed assignees may be inaccurate. Google has not performed a legal analysis and makes no representation or warranty as to the accuracy of the list.)
Sekisui Chemical Co Ltd
Original Assignee
Sekisui Chemical Co Ltd
Priority date (The priority date is an assumption and is not a legal conclusion. Google has not performed a legal analysis and makes no representation as to the accuracy of the date listed.)
Filing date
Publication date
Application filed by Sekisui Chemical Co Ltd filed Critical Sekisui Chemical Co Ltd
Priority to JP2008217779A priority Critical patent/JP5301220B2/ja
Publication of JP2010053552A publication Critical patent/JP2010053552A/ja
Application granted granted Critical
Publication of JP5301220B2 publication Critical patent/JP5301220B2/ja
Expired - Fee Related legal-status Critical Current
Anticipated expiration legal-status Critical

Links

Images

Landscapes

  • Floor Finish (AREA)

Abstract

【課題】容易に表面化粧材を固着することができるとともに、気温変化等により枠体が熱収縮しても表面化粧材のガタツキやはずれがなく安定した固着状態を保つことができる化粧床材の枠体を提供する。
【解決手段】表面化粧材受部上面に突設された柱部に基端が支持され、表面化粧材受部の上面との間に隙間を形成するとともに、表面化粧材受部の4辺うちの対向する1組の辺に直交する方向に先端が互いに離れるように柱部から延設された対となる2つの係止片を少なくとも1対有し、前記対となる2つの係止片が、前記表面化粧材の下面に形成された凹部の開口からそれぞれ弾性変形しながら前記凹部内に挿入され、凹部内で弾性復元して前記凹部の壁面に設けられた係合凹部にそれぞれ係合して前記表面化粧材が表面化粧材受部に固着される構成とした。
【選択図】 図1

Description

本発明は、ベランダ床などに敷設される化粧床材の表面材を固着する枠体に関する。
ベランダ床などのコンクリート土間に敷き並べることによって化粧床を容易に形成することができる化粧床材は、例えば、平面視略正方形をした化粧材あるいは平面視略長方形をした表面化粧材を、合成樹脂等で形成された枠体の表面化粧材受部に受けさせた状態で枠体に固着することによって形成されている。
このような化粧床材の枠体への表面化粧材の固着方法としては、接着、ねじ止め、嵌合などがあるが、接着やねじ止めの場合、嵌合に比べて製造工程が煩雑である。
一方、従来の嵌合構造の化粧床材は、図15及び図16に示すように、枠体100の周囲を立ち上がり壁300で囲まれた表面化粧材受部200が2つの仕切り壁400を介して複数の区画(この例では3つの長方形をした区画)210に仕切られ、各区画210を各仕切り壁400の両面及び仕切り壁400に対向する立ち上がり壁300の内壁面に嵌合突起500が設けられている(特許文献1参照)。そして、図示していないが、区画210内に嵌り込む大きさの表面化粧材の側壁面にこの嵌合突起500が嵌り込む凹部が設けられ、枠体100の上方から表面化粧材を区画210内に押し込むことによって嵌合突起500が凹部に嵌り込み表面化粧材が枠体100に固着されるようになっている。
すなわち、上記のような嵌合構造とすれば、枠体100に設けた嵌合突起500を表面化粧材の凹部に嵌合させるだけであるので、上記の接着やねじ止め構造のような問題はない。
しかしながら、一般に、枠体100は、熱可塑性樹脂の成形品であるため、表面化粧材より熱膨張率が大きく、気温・湿度の変化による収縮時と、膨張時との寸法差が大きい。また、夏季などの気温が高い時期には変形しやすいとともに、成形加工による寸法公差もある。従って、使用を続けていると、表面化粧材のガタツキや抜け落ちが発生することがある。特に枠体が熱膨張すると、枠体100の立ち上がり壁300も外側に広がり、嵌合突起500がはずれたりしやすい。
特開平11−131757号公報
本発明は、上記事情に鑑みて、容易に表面化粧材を固着することができるとともに、気温変化等により枠体が熱収縮しても表面化粧材のガタツキやはずれがなく安定した固着状態を保つことができる化粧床材の枠体を提供することを目的としている。
上記目的を達成するために、本発明の請求項1に記載の枠体(以下、「請求項1の枠体」と記す)は、平面視略矩形をした表面化粧材受部と、表面化粧材受部の下面から突出する複数の脚部とを備え、表面化粧材が前記表面化粧材受部に受けられた状態で固着される化粧床材の枠体であって、表面化粧材受部上面に突設された柱部に基端が支持され、表面化粧材受部の上面との間に隙間を形成するとともに、表面化粧材受部の4辺うちの対向する1組の辺に直交する方向に先端が互いに離れるように柱部から延設された対となる2つの係止片を少なくとも1対有し、前記対となる2つの係止片が、前記表面化粧材の下面に形成された凹部の開口からそれぞれ弾性変形しながら前記凹部内に挿入され、凹部内で弾性復元して前記凹部の壁面に設けられた係合凹部にそれぞれ係合して前記表面化粧材が表面化粧材受部に固着される構成としたことを特徴としている。
本発明の請求項2に記載の枠体(以下、「請求項2の枠体」と記す)は、請求項1の枠体において、複数対の対となる2つの係止片が、各対となる2つの係止片の中心点が一直線上に並んだ状態で前記一直線方向に間隔を隔てて配置された係止片対列を少なくとも1列備えることを特徴としている。
本発明の請求項3に記載の枠体(以下、「請求項3の枠体」と記す)は、請求項2の枠体において、係止片対列の対となる2つの係止片の先端間の距離を、一直線方向に隣接する他の組の対となる2つの係止片の先端間の距離と異なるように、一直線方向に交互に長短させたことを特徴としている。
本発明の請求項4に記載の枠体(以下、「請求項4の枠体」と記す)は、請求項1〜請求項3のいずれかの枠体において、係止片の柱部からの延設方向に直交する方向の表面化粧材受部の端縁に沿って表面化粧材受部の上面方向に立ち上がる立ち上がり壁を備えていることを特徴としている。
本発明の請求項5に記載の枠体(以下、「請求項5の枠体」と記す)は、請求項1〜請求項4のいずれかの枠体において、表面化粧材受部が複数の表面化粧材固着区画を有し、各表面化粧材固着区画に対となる2つの係止片を少なくとも1対備えていることを特徴としている。
本発明の請求項6に記載の枠体(以下、「請求項6の枠体」と記す)は、請求項5の枠体において、各表面化粧材固着区画に対となる2つの係止片を複数対有し、これら複数対の対となる2つの係止片のうち少なくとも対となる2つの係止片の柱部からの延出方向と、他対の対となる2つの係止片の柱部からの延出方向とが直交していることを特徴としている。
本発明の請求項7に記載の枠体(以下、「請求項7の枠体」と記す)は、請求項1〜請求項6のいずれかの枠体において、表面化粧材受部の2つの端縁に沿って雌型嵌合部が設けられ、表面化粧材受部の残りの2つの端縁に沿って前記雌型嵌合部に嵌合する雄型嵌合部が設けられていて、雌型嵌合部と雄型嵌合部との嵌合によって隣接する同型の枠体と連結可能に形成されていることを特徴としている。
本発明において、枠体は、合成樹脂、金属、木材等、材質を特に限定するものではないが、軽量化及び生産性を考慮すると、合成樹脂の射出成形品が好適である。合成樹脂としては、ポリエチレンやポリプロピレンが好適である。
この枠体に固着される表面化粧材は、合成樹脂、金属、木材、タイルなど無機材料等、材質を特に限定するものではないが、凹部及び係合凹部を連続する溝状に形成した合成樹脂、合成樹脂に木粉等を混合した複合材料の押出成形品が好適である。
以上のように、本発明の請求項1の枠体は、平面視略矩形をした表面化粧材受部と、表面化粧材受部の下面から突出する複数の脚部とを備え、表面化粧材が前記表面化粧材受部に受けられた状態で固着される化粧床材の枠体であって、表面化粧材受部上面に突設された柱部に基端が支持され、表面化粧材受部の上面との間に隙間を形成するとともに、表面化粧材受部の4辺うちの対向する1組の辺に直交する方向に先端が互いに離れるように柱部から延設された対となる2つの係止片を少なくとも1対有し、前記対となる2つの係止片が、前記表面化粧材の下面に形成された凹部の開口からそれぞれ弾性変形しながら前記凹部内に挿入され、凹部内で弾性復元して前記凹部の壁面に設けられた係合凹部にそれぞれ係合して前記表面化粧材が表面化粧材受部に固着される構成としたので、容易に表面化粧材を固着することができるとともに、気温変化等により枠体が熱収縮や熱膨張しても表面化粧材のガタツキやはずれがなく安定した固着状態を保つことができる。特に熱膨張時においては、係止片が凹部の内側から外側に向かって動こうとするため、よりしっかりと係合凹部に嵌り込むようになる。
請求項2の枠体は、複数対の対となる2つの係止片が、各対となる2つの係止片の中心点が一直線上に並んだ状態で前記一直線方向に間隔を隔てて配置された係止片対列を少なくとも1列備えるので、1つの表面化粧材を複数対の対となる2つの係止片が長手方向に間隔を隔てて係合凹部に係合され、よりしっかりとした固着状態が得られる。
本発明の請求項3の枠体は、係止片対列の対となる2つの係止片の先端間の距離を、一直線方向に隣接する他の組の対となる2つの係止片の先端間の距離と異なるように、一直線方向に交互に長短させたので、すなわち、2つの係止片の先端位置の距離を互い違いにしているので、押出成型でのバラツキ発生時や熱収縮、熱膨張において凹溝の両側壁面間の距離に、バラツキが生じた場合においても、互い違いの係止片のどちらかがしっかりと嵌り込み、ガタツキやはずれがなく、安定した固着状態を保つことができる。
本発明の請求項4の枠体は、係止片の柱部からの延設方向に直交する方向の表面化粧材受部の端縁に沿って表面化粧材受部の上面方向に立ち上がる立ち上がり壁を備えているので、凹部及び係合凹部を連続する溝状に形成した押出成形品で、押し出し方向の両端面で溝状の凹部及び係合凹部の端が開口している表面化粧材を用いた場合においても、立ち上がり壁によって、凹部及び係合凹部の開口が隠蔽される。従って、見栄えがよくなる。
本発明の請求項5の枠体は、表面化粧材受部が複数の表面化粧材固着区画を有し、各表面化粧材固着区画に対となる2つの係止片を少なくとも1対備えているので、表面化粧材固着区画ごとに各表面化粧材固着区画の大きさの表面化粧材を固着することができ、意匠性あるいは大きさの異なる複数の表面化粧材を並べて固着することができる。したがって、意匠性の異なる化粧床材を容易に製造することができる。
本発明の請求項6の枠体は、各表面化粧材固着区画に対となる2つの係止片を複数対有し、これら複数対の対となる2つの係止片のうち少なくとも対となる2つの係止片の柱部からの延出方向と、他対の対となる2つの係止片の柱部からの延出方向とが直交しているので、表面化粧材を90度回転させて枠体に固着できるようになり、意匠性の異なる化粧床材を容易に製造することができる。
本発明の請求項7の枠体は、表面化粧材受部の2つの端縁に沿って雌型嵌合部が設けられ、表面化粧材受部の残りの2つの端縁に沿って前記雌型嵌合部に嵌合する雄型嵌合部が設けられていて、雌型嵌合部と雄型嵌合部との嵌合によって隣接する同型の枠体と連結可能に形成されているので、隣接して設けられる化粧床材と容易に連結でき、化粧床材の敷設面でのずれ動きを防止することができる。
以下に、本発明を、その実施の形態をあらわす図面を参照しつつ詳しく説明する。
図1〜図5は、本発明にかかる枠体の第1の実施の形態をあらわしている。
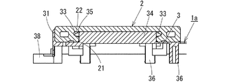
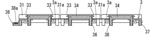
図1〜図5に示すように、この枠体1aは、ポリエチレン、ポリプロピレン等の熱可塑性樹脂を射出成形することによって得られ、図1〜図3に示すように、一辺が後述する表面化粧材2の幅寸法の3倍と表面化粧材2と表面化粧材2との目地幅の合計と略同じ長さに形成された平面視略正方形をした表面化粧材受部3を備えている。
表面化粧材受部3は、3つの表面化粧材固着区画3aを備え、平面視長方形をした3つの表面化粧材2を平行に固着できるようになっている。
表面化粧材受部3の平行な2つの端縁に沿って立ち上がり壁31がそれぞれ設けられている。
立ち上がり壁31は、後述する表面化粧材2と表面化粧材2との目地を臨む部分にスリット31aが設けられている。
表面化粧材受部3の上面には、図1〜図3に示すように、各表面化粧材固着区画3a毎に立ち上がり壁31に直交方向に直線状に並ぶ6つの同寸法の柱部32が2列平行に設けられている。そして、各表面化粧材固着区画3aの2列に配置された柱部32は、列に直交する方向に並ぶ対となる柱部32間の距離が同じであるとともに、柱部32の外側壁(非対面側の壁)間の距離が後述する表面化粧材2の下面に設けられた凹溝21の幅と略同じか少し短い距離になっている。
各柱部32の上端部には、係止片33の基端が支持されている。そして、各表面化粧材固着区画3aの一方の列に並ぶ柱部32に支持された係止片33は、その先端が、もう一方の列に並ぶ柱部32に支持された係止片33から離れるように延出し、表面化粧材受部3の上面との間に隙間を形成している。また、すべての係止片33の基端から先端までの長さが同じになっている。したがって、各表面化粧材固着区画3aにおいては、6対の対となる2つの係止片33が、各対となる2つの係止片33の対称中心点が一直線上に並んだ状態で前記一直線方向に間隔を隔てて配置された1列の係止片対列を形成している。
また、各係止片33は、断面略楔形をしていて、その上面が基端から先端に向かって下り勾配のテーパ面33aになっている。
各表面化粧材固着区画3aの2列に並ぶ柱部32と柱部との間には、後述する表面化粧材2の凹溝21の底に当接する縦横斜めに交差するように配置されたリブからなる底当接部34が表面化粧材受部3の上面に突設されている。
一方、表面化粧材受部3の下面側には、図3〜図5に示すように、複数の支持脚36、雄型嵌合部37及び雌型嵌合部38を備え、図示していないが、敷設面に敷設したとき、これらの支持脚36、雄型嵌合部37及び雌型嵌合部38が、表面化粧材受部3と敷設面(図示せず)との間に排水空間を形成できるようになっている。
また、雄型嵌合部37は、表面化粧材受部3の直交する2つの辺の端縁部に沿って等ピッチで6つずつ設けられている。
雌型嵌合部38は、雄型嵌合部37が嵌り込む嵌合孔38aが表面化粧材受部3から外側にはみ出した状態で、表面化粧材受部3の直交する他の2つの辺に沿って雄型嵌合部37と等ピッチで設けられている。
この枠体1aは、上記のようになっており、図6に示すような、3つの平面視長方形をした表面化粧材2が平行に横方向に並べて固着された化粧床材4を以下のように容易に製造することができる。
すなわち、図7に示すように、表面化粧材2は、耐候性の高いポリオレフィンやポリエステル等の合成樹脂に木質粉体を混合した混合樹脂組成物を押出成形することによって得られ、下面側に両端が開口した凹溝21を凹部として備えた表面化粧材固着区画3aと略同じ大きさの平面視長方形の板状をしている。
凹溝21の両側壁面には、係止片33が係合する係合溝22が係合凹部として設けられている。
また、凹溝21の表面化粧材2下面側の端縁23はR状に面取りされている。
そして、枠体1aへの表面化粧材2の固着にあたっては、表面化粧材2を、その下面側が枠体1aの対応する表面化粧材固着区画3aを上方から臨み、凹溝21の両方の端縁23が係止片33のテーパ面33aに受けられるように配置された状態にする。
つぎに、表面化粧材2の下面が表面化粧材受部3に当接するまで、表面化粧材受部3に向かって押圧する。
すなわち、上記押圧によって係止片33を弾性変形しながら、凹溝21内に挿入され、図8に示すように、凹溝21内で弾性復元して係合溝22に係合し、この係合によって表面化粧材2が接着剤やビスなどを用いなくても枠体1aに固着される。したがって、製造工程が簡素化できる。また、気温変化等により枠体が熱収縮しても表面化粧材のガタツキやはずれがなく安定した固着状態を保つことができる。
さらに、立ち上がり壁31が設けられているので、表面化粧材2の長手方向の端面がこの立ち上がり壁31に当接し、表面化粧材2の長手方向へのずれが防止できるとともに、凹溝21の開口端が隠蔽されて見栄えのよいものとなる。
また、立ち上がり壁31の表面化粧材2と表面化粧材2との目地を臨む部分にスリット31aが設けられているので、目地部分入り込んだごみなどの異物をこのスリット31aから払い出すことができる。
そして、このようにして得られた化粧床材4は、雄型嵌合部37が、表面化粧材受部3の直交する2つの辺の端縁部に沿って等ピッチで6つずつ設けられ、雌型嵌合部38が、雄型嵌合部37が嵌り込む嵌合孔38aが表面化粧材受部3から外側にはみ出した状態で、表面化粧材受部3の直交する他の2つの辺に沿って雄型嵌合部37と等ピッチで設けられているので、雄型嵌合部37を隣接して配置される他の化粧床材4と次々に連結して、図9に示すように、すべての表面化粧材2が平行に並んだ配置、あるいは、図10に示すように、3つの平行に並ぶ表面化粧材2の組が交互に直交するような配置に敷設することができる。
図11は、本発明にかかる枠体の第2の実施の形態をあらわしている。
図11に示すように、この枠体1bは、各表面化粧材固着区画3a内の係止片列の各対となる2つの係止片の対称中心点を結ぶ線は一直線になるが、1組の対となる2つの係止片33の先端間の距離L1が、隣接する組みの2つの係止片33の先端間の距離L2より長くなるように、交互に長短になっている。なお、L1とL2の差は、特に限定されないが、0.5〜2.0mm程度が好ましい。すなわち、差が少なすぎると、効果がほとんどなく、大きすぎると、表面化粧材を固着する際に係止片33の凹溝への圧入が困難となるか、かえってガタツキが生じるおそれがある。
図12は、本発明にかかる枠体の第3の実施の形態をあらわしている。
図12に示すように、この枠体1cは、表面化粧材受部3が9つの正方形の表面化粧材固着区画3bを備え、表面化粧材受部3の全周に亘って立ち上がり壁31を備えている。
また、各表面化粧材固着区画3bには、対となる2つの係止片33が4対設けられ、このうち2対の対となる2つ係止片33の延出方向と、残りの2対の対となる2つ係止片33の延出方向とが直交するように設けられている以外は、上記枠体1aと同様になっている。
この枠体1cは、上記のように9つの表面化粧材固着区画3bを備え、この表面化粧材固着区画3b内に係止片33の延出方向が直交する対となる2つ係止片33を2対ずつ備えているので、例えば、図13に示すように、3つの表面化粧材固着区画3bを合計した大きさの1枚の表面化粧材2と、2つの表面化粧材固着区画3bを合計した大きさの3枚の表面化粧材2aからなる化粧床材4a、図14に示すように、3つの表面化粧材固着区画3bを合計した大きさの3枚の表面化粧材2からなる化粧床材4b、また、図示していないが、1つの表面化粧材固着区画3bの大きさをした9枚の表面化粧材からなる化粧床材など、表面化粧材の組み合わせを変えることによって、1種類の枠体1cを容易するだけでいろいろな意匠の化粧床材を製造することができる。
なお、図12中、34は底当接部である。
本発明は上記の実施の形態に限定されない。たとえば、上記の第3の実施の形態の枠体において、表面化粧材の凹溝に開口端を隠蔽する目的で各表面化粧材固着区画3bを仕切る仕切り壁を設け、固着する表面化粧材の大きさに応じてこの仕切り壁を切除するようにしても構わない。
上記の実施の形態では、1つの柱部に係止片が1つ設けられていたが、底当接部を柱部兼用とするとともに、この底当接部の側面から係止片を両側あるいは4方へ延出させるようにしても構わない。
本発明にかかる枠体の第1の実施の形態をあらわし、その上面側からみた斜視図である。 図1の枠体の平面図である。 図2のX−X線断面図である。 図1の枠体の下面側からみた斜視図である。 図1の枠体の底面図である。 図1の枠体を用いて製造できる化粧床材の1例の斜視図である。 図6の化粧床材に用いる表面化粧材の下面側からみた斜視図である。 図6の化粧床材の断面図である。 図6の化粧床材の施工の1例を説明する図である。 図6の化粧床材の施工の他例を説明する図である。 本発明にかかる枠体の第2の実施の形態をあらわし、その要部平面図である。 本発明にかかる枠体の第3の実施の形態をあらわし、その平面図である。 図12の枠体を用いて製造できる化粧床材の1例の平面図である。 図12の枠体を用いて製造できる化粧床材の他例の平面図である。 従来の枠体の斜視図である。 図15の枠体の断面図である。
符号の説明
1a,1b.1c 枠体
2,2a 表面化粧材
21 凹溝(凹部)
22 係合溝(係合凹部)
3 表面化粧材受部
3a,3b 表面化粧材固着区画
31 立ち上がり壁
32 柱部
33 係止片
37 雄型嵌合部
38 雌型嵌合部

Claims (7)

  1. 平面視略矩形をした表面化粧材受部と、表面化粧材受部の下面から突出する複数の脚部とを備え、表面化粧材が前記表面化粧材受部に受けられた状態で固着される化粧床材の枠体であって、
    表面化粧材受部上面に突設された柱部に基端が支持され、表面化粧材受部の上面との間に隙間を形成するとともに、表面化粧材受部の4辺うちの対向する1組の辺に直交する方向に先端が互いに離れるように柱部から延設された対となる2つの係止片を少なくとも1対有し、
    前記対となる2つの係止片が、前記表面化粧材の下面に形成された凹部の開口からそれぞれ弾性変形しながら前記凹部内に挿入され、凹部内で弾性復元して前記凹部の壁面に設けられた係合凹部にそれぞれ係合して前記表面化粧材が表面化粧材受部に固着される構成としたことを特徴とする枠体。
  2. 複数対の対となる2つの係止片が、各対となる2つの係止片の対称中心点が一直線上に並んだ状態で前記一直線方向に間隔を隔てて配置された係止片対列を少なくとも1列備える請求項1に記載の枠体。
  3. 係止片対列の対となる2つの係止片の先端間の距離を、一直線方向に隣接する他の組の対となる2つの係止片の先端間の距離と異なるように、一直線方向に交互に長短させた請求項2に記載の枠体。
  4. 係止片の柱部からの延設方向に直交する方向の表面化粧材受部の端縁に沿って表面化粧材受部の上面方向に立ち上がる立ち上がり壁を備えている請求項1〜請求項3のいずれかに記載の枠体。
  5. 表面化粧材受部が複数の表面化粧材固着区画を有し、各表面化粧材固着区画に対となる2つの係止片を少なくとも1対備えている請求項1〜請求項4のいずれかに記載の枠体。
  6. 各表面化粧材固着区画に対となる2つの係止片を複数対有し、これら複数対の対となる2つの係止片のうち少なくとも対となる2つの係止片の柱部からの延出方向と、他対の対となる2つの係止片の柱部からの延出方向とが直交している請求項5に記載の枠体。
  7. 表面化粧材受部の2つの端縁に沿って雌型嵌合部が設けられ、表面化粧材受部の残りの2つの端縁に沿って前記雌型嵌合部に嵌合する雄型嵌合部が設けられていて、雌型嵌合部と雄型嵌合部との嵌合によって隣接する同型の枠体と連結可能に形成されている請求項1〜請求項6のいずれかに記載の枠体。
JP2008217779A 2008-08-27 2008-08-27 化粧床材の枠体 Expired - Fee Related JP5301220B2 (ja)

Priority Applications (1)

Application Number Priority Date Filing Date Title
JP2008217779A JP5301220B2 (ja) 2008-08-27 2008-08-27 化粧床材の枠体

Applications Claiming Priority (1)

Application Number Priority Date Filing Date Title
JP2008217779A JP5301220B2 (ja) 2008-08-27 2008-08-27 化粧床材の枠体

Publications (2)

Publication Number Publication Date
JP2010053552A true JP2010053552A (ja) 2010-03-11
JP5301220B2 JP5301220B2 (ja) 2013-09-25

Family

ID=42069749

Family Applications (1)

Application Number Title Priority Date Filing Date
JP2008217779A Expired - Fee Related JP5301220B2 (ja) 2008-08-27 2008-08-27 化粧床材の枠体

Country Status (1)

Country Link
JP (1) JP5301220B2 (ja)

Cited By (1)

* Cited by examiner, † Cited by third party
Publication number Priority date Publication date Assignee Title
CN104947920A (zh) * 2014-03-27 2015-09-30 四川中塑高分子材料有限公司 具有紧密配合功能的运动地板

Citations (3)

* Cited by examiner, † Cited by third party
Publication number Priority date Publication date Assignee Title
JPH08333875A (ja) * 1995-06-08 1996-12-17 Sekisui Chem Co Ltd 合成樹脂製マット
JP2002129735A (ja) * 2000-10-27 2002-05-09 Sekisui Chem Co Ltd 床化粧材用敷設枠
JP2007126917A (ja) * 2005-11-07 2007-05-24 Handy Techno Kk 床構築体、及び、床構築体のベースプレート

Patent Citations (3)

* Cited by examiner, † Cited by third party
Publication number Priority date Publication date Assignee Title
JPH08333875A (ja) * 1995-06-08 1996-12-17 Sekisui Chem Co Ltd 合成樹脂製マット
JP2002129735A (ja) * 2000-10-27 2002-05-09 Sekisui Chem Co Ltd 床化粧材用敷設枠
JP2007126917A (ja) * 2005-11-07 2007-05-24 Handy Techno Kk 床構築体、及び、床構築体のベースプレート

Cited By (2)

* Cited by examiner, † Cited by third party
Publication number Priority date Publication date Assignee Title
CN104947920A (zh) * 2014-03-27 2015-09-30 四川中塑高分子材料有限公司 具有紧密配合功能的运动地板
CN104947920B (zh) * 2014-03-27 2017-07-04 四川中塑高分子材料有限公司 具有紧密配合功能的运动地板

Also Published As

Publication number Publication date
JP5301220B2 (ja) 2013-09-25

Similar Documents

Publication Publication Date Title
JP3363976B2 (ja) 床材の施工構造
KR102069909B1 (ko) 플로어 커버링을 형성하기 위한 플로어 패널, 그러한 플로어 패널들로부터 형성된 플로어 커버링 및 그러한 플로어 패널들의 제작 방법
TW200925367A (en) Profiled rail system
AU2017221850A1 (en) Improvements in formwork
JP5301220B2 (ja) 化粧床材の枠体
EP2072713B1 (en) Floor panel
JP3995177B2 (ja) 無機質成形体及びその積み重ね方法
JP3860725B2 (ja) 床板材
JP3644912B2 (ja) 床材および床材の敷設構造
JP4558917B2 (ja) 床化粧材用敷設枠
KR200375683Y1 (ko) 타일 베이스
JPH0328098Y2 (ja)
JP2011256887A (ja) プラスチック中空板の接続構造及びプラスチック中空板システム
KR200439412Y1 (ko) 조립식 목재블록
JP3101882U (ja) 板材の連結構造
JPH08158506A (ja) セラミックブロックとその製造方法およびセラミックブロック壁
CN217871574U (zh) 一种连接件及其连接系统
WO2013144212A1 (en) Partition for construction
CN216042397U (zh) 一种瓷砖拼接结构
JP3042005U (ja) 組立格子ユニット製建具
JPS5942478Y2 (ja) 建具の化粧桟
JP6928808B2 (ja) 基礎パッキン
JPS62553Y2 (ja)
JP2001098847A (ja) 断熱形材
JPH0519471Y2 (ja)

Legal Events

Date Code Title Description
A621 Written request for application examination

Free format text: JAPANESE INTERMEDIATE CODE: A621

Effective date: 20110418

A977 Report on retrieval

Free format text: JAPANESE INTERMEDIATE CODE: A971007

Effective date: 20120627

A131 Notification of reasons for refusal

Free format text: JAPANESE INTERMEDIATE CODE: A131

Effective date: 20121211

A521 Request for written amendment filed

Free format text: JAPANESE INTERMEDIATE CODE: A523

Effective date: 20130115

TRDD Decision of grant or rejection written
A01 Written decision to grant a patent or to grant a registration (utility model)

Free format text: JAPANESE INTERMEDIATE CODE: A01

Effective date: 20130528

A61 First payment of annual fees (during grant procedure)

Free format text: JAPANESE INTERMEDIATE CODE: A61

Effective date: 20130619

R151 Written notification of patent or utility model registration

Ref document number: 5301220

Country of ref document: JP

Free format text: JAPANESE INTERMEDIATE CODE: R151

LAPS Cancellation because of no payment of annual fees