JP2010053258A - 研磨布固定用両面テープ - Google Patents
研磨布固定用両面テープ Download PDFInfo
- Publication number
- JP2010053258A JP2010053258A JP2008220267A JP2008220267A JP2010053258A JP 2010053258 A JP2010053258 A JP 2010053258A JP 2008220267 A JP2008220267 A JP 2008220267A JP 2008220267 A JP2008220267 A JP 2008220267A JP 2010053258 A JP2010053258 A JP 2010053258A
- Authority
- JP
- Japan
- Prior art keywords
- fixing
- double
- sided tape
- pressure
- adhesive layer
- Prior art date
- Legal status (The legal status is an assumption and is not a legal conclusion. Google has not performed a legal analysis and makes no representation as to the accuracy of the status listed.)
- Granted
Links
Images
Landscapes
- Finish Polishing, Edge Sharpening, And Grinding By Specific Grinding Devices (AREA)
- Adhesive Tapes (AREA)
- Adhesives Or Adhesive Processes (AREA)
Abstract
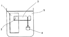
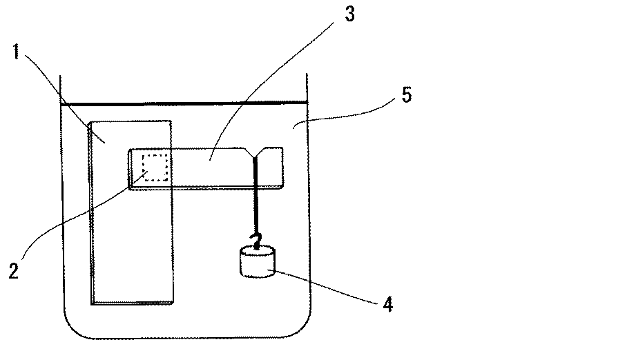
【解決手段】酸性溶液を用いた研磨工程において、研磨布を研磨機の定盤に固定するための研磨布固定用両面テープであって、基材フィルムと、該基材フィルムの一方の面に形成された研磨布固定用粘着剤層と、該基材フィルムの他方の面に形成された感圧アクリル粘着剤からなる定盤固定用粘着剤層とからなる研磨布固定用両面テープであって、該両面テープ2により貼り合わされたガラス板1とアクリル板3との接合体を、23℃、pH1の塩化水素水溶液5中に浸漬するとき、前記ガラス板から前記アクリル板が前記両面テープごと剥離するまでにかかる剥離時間を測定することを骨子とするねじりせん断試験において、測定される剥離時間が2分30秒以上である研磨布固定用両面テープ。
【選択図】図1
Description
以下に本発明を詳述する。
上記ねじりせん断試験は、以下の(A)〜(D)の工程により行う。
(A)10mm×10mmの大きさに切断した両面テープを用いて、100mm×50mm×1.8mmの大きさのガラス板と50mm×15mm×2mmの大きさのアクリル板とを、ガラス板の短辺の端から20mmかつ長辺の端から20mmの位置に両面テープの定盤固定用粘着剤層側の中心がきて、アクリル板の短辺の端から7.5mmかつ長辺の端から7.5mmの位置に両面テープの研磨布固定用粘着剤層側の中心がくるようにして貼り合わせる工程。
(C)錘をぶら下げた状態で、23℃、pH1の塩化水素水溶液中に浸漬する工程。(図1に工程(C)において、錘をぶら下げた状態で塩化水素水溶液中に浸漬した様子を示す模式図を示した。)
(D)浸漬の開始から、ガラス板からアクリル板が両面テープごと剥離するまでにかかる剥離時間を測定する工程。
上記感圧アクリル粘着剤としては特に限定されないが、(メタ)アクリル酸アルキルエステル共重合体を主成分とするものが好適である。
なお、本明細書において(メタ)アクリル酸とは、アクリル酸又はメタクリル酸を意味する。
なお、上記(メタ)アクリル酸アルキルエステル系共重合体の重量平均分子量は、ゲルパーミエーションクロマトグラフィー(GPC)法により、ポリスチレン換算分子量として測定された値を意味する。具体的には、例えば、上記(メタ)アクリル酸アルキルエステル系共重合体をテトラヒドロフラン(THF)により100倍希釈して得られた希釈液をフィルターで濾過し、得られた濾液を、カラム(例えば、Water社の商品名「2690 Separations Model」等)を用いてGPC法により測定することができる。
本発明の粘着テープを50mm×25mmの平面長方形状に裁断し、該両面テープから定盤固定用粘着剤層を削り取って試験片を作製する。得られた試験片を酢酸エチル中に23℃にて24時間浸漬した後、200メッシュのステンレスメッシュを介して試験片を酢酸エチルから取り出して、110℃の条件下で1時間乾燥させる。そして、乾燥後の試験片の重量を測定し、下記式を用いてゲル分率を算出する。なお、両面テープには、後述のような離型フィルムは積層されていないものとする。
ゲル分率(重量%)=100×W2/W1
(ここで、W1は浸漬前の試験片の重量を表し、W2は浸漬し乾燥した後の試験片の重量を表す。)
上記研磨布固定用粘着剤層を構成する粘着剤としては、具体的には例えば、ゴム系粘着剤、アクリル粘着剤、シリコーン系粘着剤等が挙げられる。なかでも、強固に接着できることから、ゴム系粘着剤又はアクリル粘着剤が好適である。
上記キシレン樹脂のアルキルフェノール反応物の市販品としては、例えば、フドー社製の「ニカノールTシリーズ」等が挙げられる。
まず、一方の粘着剤に溶剤を加えて粘着剤溶液を作製して、この粘着剤溶液を基材の表面に塗布し、粘着剤溶液中の溶剤を完全に乾燥除去して粘着剤層を形成する。次に、形成された粘着剤層の上に離型フィルムをその離型処理面が粘着剤層に対向した状態に重ね合わせる。
次いで、上記離型フィルムとは別の離型フィルムを用意し、この離型フィルムの離型処理面に他方の粘着剤の溶液を塗布し、粘着剤溶液中の溶剤を完全に乾燥除去することにより、離型フィルムの表面に粘着剤層が形成された積層フィルムを作製する。
得られた積層フィルムを上記粘着剤層が形成された基材の裏面に、粘着剤層が基材の裏面に対向した状態に重ね合わせて積層体を作製する。
そして、上記積層体をゴムローラなどによって加圧することによって、基材の両面に粘着剤層が積層一体化され、かつ、粘着剤層の表面に離型フィルムが剥離可能に積層されてなる両面テープを得ることができる。
温度計、攪拌機、冷却管を備えた反応器に、アクリル酸8重量部、アクリル酸−n−ブチル91.7重量部、アクリル酸−2−ヒドロキシエチル0.3重量部、及び、酢酸エチル80重量部を加えた後、反応器を加熱して還流を開始した。続いて、上記反応器内に、重合開始剤としてt−ヘキシルパーオキシピバレート0.1重量部を添加した。70℃、5時間還流させて、固形分43%の(メタ)アクリル酸アルキルエステル共重合体の溶液を得た。
得られた(メタ)アクリル酸アルキルエステル共重合体について、カラムとしてWater社製「2690 Separations Model」を用いてGPC法により重量平均分子量を測定したところ、22.7万であった。
一方、別の離型処理が施された厚み50μmのPETフィルムを用意し、このPETフィルムの離型処理面に得られた感圧アクリル粘着剤溶液を塗布し、100℃で5分間乾燥させることにより、厚み50μmの研磨布固定用粘着剤層を形成した。
定盤固定用粘着剤層の厚みを60μmにした以外は実施例1と同様にして両面テープを得た。
定盤固定用粘着剤層の厚みを80μmにした以外は実施例1と同様にして両面テープを得た。
温度計、攪拌機、冷却管を備えた反応器に、アクリル酸3重量部、アクリル酸−n−ブチル38重量部、アクリル酸―2−エチルヘキシルアクリレート59重量部、及び、酢酸エチル80重量部を加えた後、反応器を加熱して還流を開始した。続いて、上記反応器内に、重合開始剤としてt−ヘキシルパーオキシピバレート0.1重量部を添加した。70℃、5時間還流させて、(メタ)アクリル酸アルキルエステル共重合体の溶液を得た。
得られた(メタ)アクリル酸アルキルエステル共重合体について、カラムとしてWater社製「2690 Separations Model」を用いてGPC法により重量平均分子量を測定したところ、21.3万であった。
得られた(メタ)アクリル酸アルキルエステル共重合体を用いた以外は実施例2と同様にして、両面テープを得た。
実施例1、2及び比較例1、2で得られた両面テープについて、以下のように評価を行った。
結果を表1に示した。
得られた(メタ)アクリル酸アルキルエステル系共重合体をテトラヒドロフラン(THF)により100倍希釈して得られた希釈液をフィルターで濾過し、得られた濾液を、カラムとしてWater社の商品名「2690 Separations Model」を用いてGPC法により重量平均分子量(Mw)及び数平均分子量(Mn)を得た。得られた重量平均分子量(Mw)を数平均分子量(Mn)で除することにより分散度を求めた。
得られた両面テープを50mm×25mmの平面長方形状に裁断して試験片を作製し、この重量W1を測定した。試験片を酢酸エチル中に23℃にて24時間浸漬した後、200メッシュのステンレスメッシュを介して試験片を酢酸エチルから取り出して、110℃の条件下で1時間乾燥させた。乾燥後の試験片の重量W2を測定した。基材として用いたPETフィルムの重量W0を用いて、下記式によりゲル分率を算出した。
ゲル分率(重量%)=100×(W2−W0)/(W1−W0)
両面テープの研磨布用粘着剤層上に厚み38μmのPETフィルムを裏打ちした後、縦100mm×横25mmの平面長方形状の試験片を切り出した。この試験片の研磨布用粘着剤層をステンレス板上に重ね合わせて2kgのローラで押圧し、試験片をステンレス板上に貼着した。温度23℃、相対湿度50%の雰囲気下にて30分間放置した後、引張試験機を用いてJIS Z0237に準拠して180°剥離粘着力(対SUS)を測定した。
また、同様の方法により180°剥離粘着力(対ガラス)を測定した。
両面テープのアクリル系粘着剤層上に38μm厚みのPETフィルムを裏打ちし、一辺20mmの平面正方形状の試験片を切り出し、粘着剤層をステンレス板上に貼着させた後、40℃で60分間養生させた。
PETフィルムの下面に試験片が水平に位置した状態となるように配設し、試験片の長さ方向の端部に1kgfの荷重を垂直方向に付加し、試験片に荷重を付加してから、40℃、1時間後の剥離長さをルーペを用いて測定した。
また、同様の試験を、試験片に荷重を付加してから、60℃、1時間後の剥離長さをルーペを用いて測定した。
上記(3)に書かれた180°剥離粘着力の測定において、剥離後のステンレス板状に糊が付着していないか目視にて観察した。
両面テープの研磨布用粘着剤層上に厚み38μmのPETフィルムを裏打ちした後、縦100mm×横25mmの平面長方形状の試験片を切り出した。
この試験片の定盤固定用粘着剤層をガラス板上に重ね合わせて2kgのローラで押圧し、試験片をガラス板上に貼着した。この状態で、温度23℃、相対湿度50%の雰囲気下にて0.1mol/l塩化水素水溶液に24時間浸漬した。浸漬後、試料を取り出し、引張試験機を用いてJIS Z0237に準拠して180°剥離粘着力(対ガラス)を測定した。
両面テープの研磨布用粘着剤層上に厚み38μmのPETフィルムを裏打ちした後、縦100mm×横25mmの平面長方形状の試験片を切り出した。
この試験片の定盤固定用粘着剤層をガラス板上に重ね合わせて2kgのローラで押圧し、試験片をガラス板上に貼着した。
試験片の端から20mmを剥離し、50gの錘を取り付けた。錘を取り付けた状態で、23℃、pH1の塩化水素水溶液中に浸漬し、4cm進むまでの時間を計測して、速度を計算した。
両面テープを10mm×10mmの大きさに切断し、100mm×50mm×1.8mmの大きさのガラス板と50mm×15mm×2mmの大きさのアクリル板とを、ガラス板の短辺の端から20mmかつ長辺の端から20mmの位置に両面テープの定盤固定用粘着剤層側の中心がきて、アクリル板の短辺の端から7.5mmかつ長辺の端から7.5mmの位置に両面テープの研磨布固定用粘着剤層側の中心がくるようにして貼り合わせた。次いで、アクリル板の両面テープの中心から30mmの位置に200gの錘をぶら下げた。錘をぶら下げた状態で、23℃、pH1の塩化水素水溶液中に浸漬した。浸漬の開始から、ガラス板からアクリル板が両面テープごと剥離するまでにかかる剥離時間を測定した。
得られた両面テープの、研磨布固定用粘着剤層に研磨布を積層し、ゴムロールを用いて貼り合せた。これを、研磨布側からゴムロールを押し当てることにより、研磨装置の定盤に固定した。
ガラス板を被研磨試験体とし、研磨スラリーとしてCabot Microelectronics社製W2000(pH2.3)を用い、研磨圧力49.0kPa、回転数100rpmで5分間研磨パッドを稼動させた。その後、両面テープと定盤の界面について、剥離状態を目視観察した。上述操作を10回行った結果、10回中、1回も剥がれがなかった場合を「○」と、10回中、1回も剥がれがなかったものの、ふくれが発生した場合を「△」と、10回中、1回以上剥がれが見られた場合を「×」と評価した。
2 両面テープ
3 アクリル板
4 錘
5 塩化水素水溶液
Claims (2)
- 酸性溶液を用いた研磨工程において、研磨布を研磨機の定盤に固定するための研磨布固定用両面テープであって、
基材フィルムと、該基材フィルムの一方の面に形成された研磨布固定用粘着剤層と、該基材フィルムの他方の面に形成された感圧アクリル粘着剤からなる定盤固定用粘着剤層とからなり、
(A)10mm×10mmの大きさに切断した前記研磨布固定用両面テープを用いて、100mm×50mm×1.8mmの大きさのガラス板と50mm×15mm×2mmの大きさのアクリル板とを、前記ガラス板の短辺の端から20mmかつ長辺の端から20mmの位置に前記研磨布固定用両面テープの定盤固定用粘着剤層側の中心がきて、前記アクリル板の短辺の端から7.5mmかつ長辺の端から7.5mmの位置に前記研磨布固定用両面テープの研磨布固定用粘着剤層側の中心がくるようにして貼り合わせる工程と、
(B)前記アクリル板の前記研磨布固定用両面テープの中心から30mmの位置に200gの錘をぶら下げる工程と、
(C)前記錘をぶら下げた状態で、23℃、pH1の塩化水素水溶液中に浸漬する工程と、
(D)前記浸漬の開始から、前記ガラス板から前記アクリル板が前記研磨布固定用両面テープごと剥離するまでにかかる剥離時間を測定する工程とからなるねじりせん断試験において、測定される剥離時間が2分30秒以上である
ことを特徴とする研磨布固定用両面テープ。 - 定盤固定用粘着剤層を構成する感圧アクリル粘着剤は、重量平均分子量20万〜40万の(メタ)アクリル酸アルキルエステル共重合体を含有し、ゲル分率が30〜70%、かつ、厚みが20〜70μmであることを特徴とする請求項1記載の研磨布固定用両面テープ。
Priority Applications (1)
| Application Number | Priority Date | Filing Date | Title |
|---|---|---|---|
| JP2008220267A JP5485525B2 (ja) | 2008-08-28 | 2008-08-28 | 研磨布固定用両面テープ |
Applications Claiming Priority (1)
| Application Number | Priority Date | Filing Date | Title |
|---|---|---|---|
| JP2008220267A JP5485525B2 (ja) | 2008-08-28 | 2008-08-28 | 研磨布固定用両面テープ |
Publications (2)
| Publication Number | Publication Date |
|---|---|
| JP2010053258A true JP2010053258A (ja) | 2010-03-11 |
| JP5485525B2 JP5485525B2 (ja) | 2014-05-07 |
Family
ID=42069499
Family Applications (1)
| Application Number | Title | Priority Date | Filing Date |
|---|---|---|---|
| JP2008220267A Active JP5485525B2 (ja) | 2008-08-28 | 2008-08-28 | 研磨布固定用両面テープ |
Country Status (1)
| Country | Link |
|---|---|
| JP (1) | JP5485525B2 (ja) |
Cited By (1)
| Publication number | Priority date | Publication date | Assignee | Title |
|---|---|---|---|---|
| JP2017008158A (ja) * | 2015-06-18 | 2017-01-12 | 積水化学工業株式会社 | (メタ)アクリル系粘着剤及び粘着テープ |
Citations (5)
| Publication number | Priority date | Publication date | Assignee | Title |
|---|---|---|---|---|
| JPH06322338A (ja) * | 1993-05-07 | 1994-11-22 | Nitto Denko Corp | 再剥離型粘着剤及びその粘着部材 |
| JP2000309760A (ja) * | 1999-04-26 | 2000-11-07 | Sekisui Chem Co Ltd | 両面粘着テープ |
| JP2002285114A (ja) * | 2001-03-26 | 2002-10-03 | Sekisui Chem Co Ltd | 研磨材固定用テープ |
| JP2004339379A (ja) * | 2003-05-16 | 2004-12-02 | Nitto Denko Corp | アクリル系ポリマーエマルションの製造方法、アクリル系ポリマーエマルション、粘着剤および粘着シート |
| JP2008111008A (ja) * | 2006-10-30 | 2008-05-15 | Sekisui Chem Co Ltd | 研磨材固定用両面粘着テープ |
-
2008
- 2008-08-28 JP JP2008220267A patent/JP5485525B2/ja active Active
Patent Citations (5)
| Publication number | Priority date | Publication date | Assignee | Title |
|---|---|---|---|---|
| JPH06322338A (ja) * | 1993-05-07 | 1994-11-22 | Nitto Denko Corp | 再剥離型粘着剤及びその粘着部材 |
| JP2000309760A (ja) * | 1999-04-26 | 2000-11-07 | Sekisui Chem Co Ltd | 両面粘着テープ |
| JP2002285114A (ja) * | 2001-03-26 | 2002-10-03 | Sekisui Chem Co Ltd | 研磨材固定用テープ |
| JP2004339379A (ja) * | 2003-05-16 | 2004-12-02 | Nitto Denko Corp | アクリル系ポリマーエマルションの製造方法、アクリル系ポリマーエマルション、粘着剤および粘着シート |
| JP2008111008A (ja) * | 2006-10-30 | 2008-05-15 | Sekisui Chem Co Ltd | 研磨材固定用両面粘着テープ |
Cited By (1)
| Publication number | Priority date | Publication date | Assignee | Title |
|---|---|---|---|---|
| JP2017008158A (ja) * | 2015-06-18 | 2017-01-12 | 積水化学工業株式会社 | (メタ)アクリル系粘着剤及び粘着テープ |
Also Published As
| Publication number | Publication date |
|---|---|
| JP5485525B2 (ja) | 2014-05-07 |
Similar Documents
| Publication | Publication Date | Title |
|---|---|---|
| JP5519917B2 (ja) | 研磨布固定用両面粘着テープ | |
| CN102471657B (zh) | 粘合胶带、层叠体及图像显示装置 | |
| JP5702912B2 (ja) | 粘着剤及び研磨布固定用両面粘着テープ | |
| JP2010065095A (ja) | 粘着剤、両面粘着シート及び表示装置 | |
| JP6832222B2 (ja) | 両面粘着テープ及びその製造方法 | |
| JP6412453B2 (ja) | 粘着剤組成物及び粘着テープ | |
| JP5328467B2 (ja) | 研磨布固定用両面粘着テープ | |
| JP5942657B2 (ja) | 研磨部材固定用両面粘着テープ | |
| JP5346227B2 (ja) | 研磨材固定用両面粘着テープ及び研磨材付き粘着テープ | |
| JP6514551B2 (ja) | セラミック電子部品のダイシング用感温性粘着シートおよびセラミック電子部品の製造方法 | |
| JP5485525B2 (ja) | 研磨布固定用両面テープ | |
| JP5346226B2 (ja) | 研磨材固定用両面粘着テープ及び研磨材付き粘着テープ | |
| JP5374289B2 (ja) | 研磨材固定用両面粘着テープ | |
| JP2010221366A (ja) | 研磨材固定用両面感圧接着シート | |
| JP2002285114A (ja) | 研磨材固定用テープ | |
| JP6974405B2 (ja) | (メタ)アクリル系粘着剤及び粘着テープ | |
| JP6511314B2 (ja) | 粘着テープ | |
| JP5809667B2 (ja) | 研磨布固定用両面粘着テープ | |
| JP2001247832A (ja) | 粘着剤組成物及び粘着テープ | |
| JP5385535B2 (ja) | 研磨布固定用両面粘着テープ及びこれを用いた研磨布積層体 | |
| JP7176898B2 (ja) | アクリル粘着剤及び粘着テープ | |
| JP5790753B2 (ja) | 研磨材固定用両面感圧接着シート | |
| JP3742572B2 (ja) | 研磨材固定用両面粘着テープ | |
| JP2020117561A (ja) | 粘着テープ | |
| JP2019143065A (ja) | 感温性粘着剤、感温性粘着シートおよび感温性粘着テープ |
Legal Events
| Date | Code | Title | Description |
|---|---|---|---|
| A621 | Written request for application examination |
Free format text: JAPANESE INTERMEDIATE CODE: A621 Effective date: 20110603 |
|
| A521 | Written amendment |
Free format text: JAPANESE INTERMEDIATE CODE: A523 Effective date: 20120511 |
|
| A977 | Report on retrieval |
Free format text: JAPANESE INTERMEDIATE CODE: A971007 Effective date: 20130227 |
|
| A131 | Notification of reasons for refusal |
Free format text: JAPANESE INTERMEDIATE CODE: A131 Effective date: 20130312 |
|
| A521 | Written amendment |
Free format text: JAPANESE INTERMEDIATE CODE: A523 Effective date: 20130509 |
|
| RD02 | Notification of acceptance of power of attorney |
Free format text: JAPANESE INTERMEDIATE CODE: A7422 Effective date: 20130509 |
|
| TRDD | Decision of grant or rejection written | ||
| A01 | Written decision to grant a patent or to grant a registration (utility model) |
Free format text: JAPANESE INTERMEDIATE CODE: A01 Effective date: 20140204 |
|
| A61 | First payment of annual fees (during grant procedure) |
Free format text: JAPANESE INTERMEDIATE CODE: A61 Effective date: 20140220 |
|
| R151 | Written notification of patent or utility model registration |
Ref document number: 5485525 Country of ref document: JP Free format text: JAPANESE INTERMEDIATE CODE: R151 |
