JP2010052926A - リクレーマ - Google Patents

リクレーマ Download PDF

Info

Publication number
JP2010052926A
JP2010052926A JP2008221819A JP2008221819A JP2010052926A JP 2010052926 A JP2010052926 A JP 2010052926A JP 2008221819 A JP2008221819 A JP 2008221819A JP 2008221819 A JP2008221819 A JP 2008221819A JP 2010052926 A JP2010052926 A JP 2010052926A
Authority
JP
Japan
Prior art keywords
plate
wheel
members
reclaimer
concave portion
Prior art date
Legal status (The legal status is an assumption and is not a legal conclusion. Google has not performed a legal analysis and makes no representation as to the accuracy of the status listed.)
Granted
Application number
JP2008221819A
Other languages
English (en)
Other versions
JP5125895B2 (ja
Inventor
Nao Shibata
奈緒 柴田
Kenichi Danjo
賢一 檀上
Kosei Uehigashi
孝正 上東
Current Assignee (The listed assignees may be inaccurate. Google has not performed a legal analysis and makes no representation or warranty as to the accuracy of the list.)
JFE Steel Corp
Original Assignee
JFE Steel Corp
Priority date (The priority date is an assumption and is not a legal conclusion. Google has not performed a legal analysis and makes no representation as to the accuracy of the date listed.)
Filing date
Publication date
Application filed by JFE Steel Corp filed Critical JFE Steel Corp
Priority to JP2008221819A priority Critical patent/JP5125895B2/ja
Publication of JP2010052926A publication Critical patent/JP2010052926A/ja
Application granted granted Critical
Publication of JP5125895B2 publication Critical patent/JP5125895B2/ja
Active legal-status Critical Current
Anticipated expiration legal-status Critical

Links

Images

Landscapes

  • Ship Loading And Unloading (AREA)

Abstract

【課題】バケットホイールの回転バランスを大きく崩すことなく原料ヤードに積み付けられたバラ物原料を払い出すことのできるリクレーマを提供する。
【解決手段】バケットホイール14のスポークフレーム19が三つの板状部材をI形に溶接接合して形成されたリクレーマであって、三つの板状部材により形成された凹状部の開口幅とほぼ同じ板幅を有し且つ凹状部の開口長さとほぼ同じ長さを有する板状カバー部材26を三つの板状部材のうち互いに平行な二つの板状部材に溶接接合して凹状部を板状カバー部材26により覆った。
【選択図】 図1

Description

本発明は、原料ヤードに積み付けられた鉄鉱石や石炭などのバラ物原料を原料ヤードから払い出すときに用いられるリクレーマに関する。
原料ヤードに積み付けられた鉄鉱石や石炭などのバラ物原料を原料ヤードから払い出す機械として、例えば特許文献1〜3に開示されたリクレーマが知られている。この種のリクレーマは、図5に示すように、原料ヤードに敷設されたレール11上を走行する走行台車12を備えており、この走行台車12上に旋回かつ俯仰可能に設けられたブームベルトコンベヤ13の先端部には、図6〜図8に示す構造のバケットホイール14が回転可能に設けられている。
バケットホイール14は原料ヤードに積み付けられたバラ物原料を掻き取る複数のバケット15を有しており、これらのバケット15により掻き取られたバラ物原料はバケットホイール14の回転に伴いバケット15の姿勢が変化することによってバケット15に形成された原料投下口からシュート16(図7参照)上に落下してブームベルトコンベヤ13に受け渡されるようになっている。
また、バケットホイール14はホイールボス17とホイールリム18とを連結する複数のスポークフレーム19を有しており、これらのスポークフレーム19によって形成される扇形の開口部はスポークフレーム19を補強する複数の補強板20によって閉塞されている。
このようなリクレーマでは、バケットホイール14を補強する補強板20がバケット15からのバラ物原料を受けるシュート16の近傍に設けられている。このため、バケット15により掻き取られたバラ物原料の一部がシュート16と補強板20との間に形成された隙間21(図7参照)を通過し、隙間21を通過したバラ物原料が補強板20に勢いよく当たることによって磨耗や減肉などが補強板20に生じるため、バケットホイール14の強度低下を招くなどの問題がある。
そこで、補強板20の磨耗や減肉によるバケットホイール14の強度低下を防止するため、補強板20を省略することが検討されている。
特開平11−334880号公報 特開2000−136027号公報 実開昭54−13191号公報
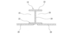
しかしながら、図8に示すように、バケットホイール14のスポークフレーム19は三つの板状部材22,23,24をI形に溶接接合して形成されているため、補強板20を省略すると、バケット15により掻き取られたバラ物原料の一部が板状部材22〜24により形成された凹状部25内に入り込む。そして、凹状部25内に入り込んだバラ物原料がバケットホイール14の回転に伴って凹状部25内をスポークフレーム19の長手方向に移動するため、バケットホイール14の回転バランスが大きく崩れてしまうおそれがあった。
本発明は上述した問題点に鑑みてなされたものであり、バケットホイールの回転バランスを大きく崩すことなく原料ヤードに積み付けられたバラ物原料を払い出すことのできるリクレーマを提供することを目的とするものである。
上記課題を解決するため、請求項1記載の発明に係るリクレーマは、原料ヤードに敷設されたレール上を走行する走行台車と、この走行台車上に旋回かつ俯仰可能に設けられたブームベルトコンベヤと、このブームベルトコンベヤの先端部に回転可能に設けられたバケットホイールとを備え、前記バケットホイールのホイールボスとホイールリムとを連結する複数のスポークフレームが三つの板状部材をI形に溶接接合して形成されたリクレーマにおいて、前記三つの板状部材により形成された凹状部の開口幅とほぼ同じ板幅を有し且つ前記凹状部の開口長さとほぼ同じ長さを有する板状カバー部材を、前記三つの板状部材のうち互いに平行な二つの板状部材に溶接接合して前記凹状部を前記板状カバー部材により覆ったことを特徴とするものである。
請求項2記載の発明に係るリクレーマは、請求項1記載のリクレーマにおいて、前記ホイールボスと前記スポークフレームとの接合部および前記ホイールリムと前記スポークフレームとの接合部に円弧状のコーナー部を設けたことを特徴とするものである。
請求項1記載の発明に係るリクレーマによると、三つの板状部材により形成された凹状部の開口幅とほぼ同じ板幅を有し且つ凹状部の開口長さとほぼ同じ長さを有する板状カバー部材を、三つの板状部材のうち互いに平行な二つの板状部材に溶接接合して凹状部を板状カバー部材により覆ったことにより、スポークフレームが三つの板状部材をI形に溶接接合して形成されていてもバラ物原料が凹状部内に入り込むことがない。したがって、バケットホイールの回転バランスを大きく崩すことなく原料ヤードに積み付けられたバラ物原料を払い出すことができる。
請求項2記載の発明に係るリクレーマによると、ホイールボスとスポークフレームとの接合部およびホイールリムとスポークフレームとの接合部に円弧状のコーナー部を設けたことにより、ホイールボスの外周面やホイールリムの内周面にバラ物原料が堆積し難くなる。したがって、バケットホイールの回転バランスをより大きく崩すことなく原料ヤードに積み付けられたバラ物原料を払い出すことができる。
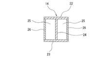
以下、図1〜図4を参照して本発明に係るリクレーマについて説明するが、図5〜図8に示したものと同一部分には同一符号を付し、その詳細な説明は割愛する。
図1は本発明の第1の実施形態に係るリクレーマのバケットホイールの正面図、図2は図2のA−A断面を示す図であり、本発明の第1の実施形態が図6〜図8に示したものと異なる第1の点は、板状部材22〜24により形成された凹状部25の開口幅とほぼ同じ板幅を有し且つ凹状部25の開口長さとほぼ同じ長さを有する板状カバー部材26を板状部材22〜24のうち互いに平行な二つの板状部材23,24に溶接接合して凹状部25を板状カバー部材26により覆った点である。
また、本発明の第1の実施形態が図6〜図8に示したものと異なる第2の点は、ホイールボス17とスポークフレーム19との接合部およびホイールリム18とスポークフレーム19との接合部に円弧状のコーナー部27を設けた点である。
上述のように、凹状部25の開口幅とほぼ同じ板幅を有し且つ凹状部25の開口長さとほぼ同じ長さを有する板状カバー部材26を板状部材22〜24のうち互いに平行な二つの板状部材23,24に溶接接合して凹状部25を板状カバー部材26により覆うと、スポークフレーム19が三つの板状部材22〜24をI形に溶接接合して形成されていてもバラ物原料が凹状部25内に入り込むことがない。したがって、バケットホイール14の回転バランスを大きく崩すことなく原料ヤードに積み付けられたバラ物原料を払い出すことができる。
また、ホイールボス17とスポークフレーム19との接合部およびホイールリム18とスポークフレーム19との接合部に円弧状のコーナー部27を設けると、ホイールボス17の外周面やホイールリム18の内周面にバラ物原料が堆積し難くなる。したがって、バケットホイール14の回転バランスをより大きく崩すことなく原料ヤードに積み付けられたバラ物原料を払い出すことができる。
上述した本発明の第1の実施形態では、板状カバー部材26の幅方向両端部を板状部材22,23の左右側端面に溶接接合して凹状部25を板状カバー部材26により覆うようにしたが、図3及び図4に示す本発明の第2の実施形態のように、板状カバー部材26の幅方向両端面を板状部材22,23の相対向する平面部に溶接接合して凹状部25を板状カバー部材26により覆うようにしてもよい。
本発明の第1の実施形態に係るリクレーマのバケットホイールの正面図である。 図1のA−A断面を示す図である。 本発明の第2の実施形態に係るリクレーマのバケットホイールの正面図である。 図3のB−B断面を示す図である。 リクレーマの概略構成を示す図である。 従来のリクレーマのバケットホイールの正面図である。 図6のC−C断面を示す図である。 図6のD−D断面を示す図である。
符号の説明
11 レール
12 走行台車
13 ブームベルトコンベヤ
14 バケットホイール
15 バケット
16 シュート
17 ホイールボス
18 ホイールリム
19 スポークフレーム
20 補強板
21 隙間
22,23,24 板状部材
25 凹状部
26 板状カバー部材
27 円弧状のコーナー部

Claims (2)

  1. 原料ヤードに敷設されたレール上を走行する走行台車と、この走行台車上に旋回かつ俯仰可能に設けられたブームベルトコンベヤと、このブームベルトコンベヤの先端部に回転可能に設けられたバケットホイールとを備え、前記バケットホイールのホイールボスとホイールリムとを連結する複数のスポークフレームが三つの板状部材をI形に溶接接合して形成されたリクレーマにおいて、
    前記三つの板状部材により形成された凹状部の開口幅とほぼ同じ板幅を有し且つ前記凹状部の開口長さとほぼ同じ長さを有する板状カバー部材を、前記三つの板状部材のうち互いに平行な二つの板状部材に溶接接合して前記凹状部を前記板状カバー部材により覆ったことを特徴とするリクレーマ。
  2. 前記ホイールボスと前記スポークフレームとの接合部および前記ホイールリムと前記スポークフレームとの接合部に円弧状のコーナー部を設けたことを特徴とする請求項1記載のリクレーマ。
JP2008221819A 2008-08-29 2008-08-29 リクレーマ Active JP5125895B2 (ja)

Priority Applications (1)

Application Number Priority Date Filing Date Title
JP2008221819A JP5125895B2 (ja) 2008-08-29 2008-08-29 リクレーマ

Applications Claiming Priority (1)

Application Number Priority Date Filing Date Title
JP2008221819A JP5125895B2 (ja) 2008-08-29 2008-08-29 リクレーマ

Publications (2)

Publication Number Publication Date
JP2010052926A true JP2010052926A (ja) 2010-03-11
JP5125895B2 JP5125895B2 (ja) 2013-01-23

Family

ID=42069251

Family Applications (1)

Application Number Title Priority Date Filing Date
JP2008221819A Active JP5125895B2 (ja) 2008-08-29 2008-08-29 リクレーマ

Country Status (1)

Country Link
JP (1) JP5125895B2 (ja)

Cited By (4)

* Cited by examiner, † Cited by third party
Publication number Priority date Publication date Assignee Title
JP2012096868A (ja) * 2010-10-29 2012-05-24 Jfe Steel Corp バケットホイール
JP2013082552A (ja) * 2011-10-12 2013-05-09 Jfe Steel Corp リクレーマ
JP2013095567A (ja) * 2011-11-02 2013-05-20 Jfe Steel Corp リクレーマ
CN111559651A (zh) * 2019-02-14 2020-08-21 南通奥普机械工程有限公司 堆取料机用双开式斗轮装置

Families Citing this family (1)

* Cited by examiner, † Cited by third party
Publication number Priority date Publication date Assignee Title
CN110116916A (zh) * 2019-03-27 2019-08-13 江苏力赛柯环保材料科技有限公司 一种用于可回收废碎料的打捞装置

Citations (3)

* Cited by examiner, † Cited by third party
Publication number Priority date Publication date Assignee Title
JPS5413191U (ja) * 1977-06-29 1979-01-27
JPH11334880A (ja) * 1998-05-26 1999-12-07 Ishikawajima Harima Heavy Ind Co Ltd リクレーマ
JP2000136027A (ja) * 1998-10-30 2000-05-16 Ishikawajima Harima Heavy Ind Co Ltd リクレーマ

Patent Citations (3)

* Cited by examiner, † Cited by third party
Publication number Priority date Publication date Assignee Title
JPS5413191U (ja) * 1977-06-29 1979-01-27
JPH11334880A (ja) * 1998-05-26 1999-12-07 Ishikawajima Harima Heavy Ind Co Ltd リクレーマ
JP2000136027A (ja) * 1998-10-30 2000-05-16 Ishikawajima Harima Heavy Ind Co Ltd リクレーマ

Cited By (4)

* Cited by examiner, † Cited by third party
Publication number Priority date Publication date Assignee Title
JP2012096868A (ja) * 2010-10-29 2012-05-24 Jfe Steel Corp バケットホイール
JP2013082552A (ja) * 2011-10-12 2013-05-09 Jfe Steel Corp リクレーマ
JP2013095567A (ja) * 2011-11-02 2013-05-20 Jfe Steel Corp リクレーマ
CN111559651A (zh) * 2019-02-14 2020-08-21 南通奥普机械工程有限公司 堆取料机用双开式斗轮装置

Also Published As

Publication number Publication date
JP5125895B2 (ja) 2013-01-23

Similar Documents

Publication Publication Date Title
JP5125895B2 (ja) リクレーマ
RU2646260C2 (ru) Ковш экскаватора и землеройная машина
US8770651B2 (en) Off-highway truck body floor design
CN102947511A (zh) 机器铲斗
EP3781435B1 (en) Body for a truck and a truck
US10246849B2 (en) Implement system with bucket having torsional support, and machine having same
US7997619B2 (en) Track frame for work machine
US20050172527A1 (en) Crawler frame
JP5575980B2 (ja) ダンプトラックの荷台
US20040232687A1 (en) Construction machine
JP5580929B2 (ja) ダンプトラックの荷台
CN204645134U (zh) 一种耐磨损铲斗
JP5898760B1 (ja) オープントップコンテナ
US20090311550A1 (en) Wear element, and component provided therewith
JP6579004B2 (ja) 建設機械のアッパーフレーム
CN205417026U (zh) 用于作业车辆的车轴及该作业车辆
JP7209408B1 (ja) オープントップコンテナの側壁補強構造
AU2012100593A4 (en) An earthmoving bucket and a method of manufacturing an earthmoving bucket
CN217262529U (zh) 一种广口式提升机料斗
CN216505963U (zh) 一种搅拌车用高强度耐磨搅拌筒
JP3127021U (ja) 廃材搬送用コンテナ
CN210084326U (zh) 卸船机料斗耐磨格栅
CN204343360U (zh) 一种装载机耐磨铲斗
CN107187366A (zh) 一种矿用自卸车防粘结货厢
CN204570779U (zh) 装载机铲斗

Legal Events

Date Code Title Description
A621 Written request for application examination

Free format text: JAPANESE INTERMEDIATE CODE: A621

Effective date: 20110128

TRDD Decision of grant or rejection written
A977 Report on retrieval

Free format text: JAPANESE INTERMEDIATE CODE: A971007

Effective date: 20120928

A01 Written decision to grant a patent or to grant a registration (utility model)

Free format text: JAPANESE INTERMEDIATE CODE: A01

Effective date: 20121002

A01 Written decision to grant a patent or to grant a registration (utility model)

Free format text: JAPANESE INTERMEDIATE CODE: A01

A61 First payment of annual fees (during grant procedure)

Free format text: JAPANESE INTERMEDIATE CODE: A61

Effective date: 20121015

R150 Certificate of patent or registration of utility model

Ref document number: 5125895

Country of ref document: JP

Free format text: JAPANESE INTERMEDIATE CODE: R150

FPAY Renewal fee payment (event date is renewal date of database)

Free format text: PAYMENT UNTIL: 20151109

Year of fee payment: 3

R250 Receipt of annual fees

Free format text: JAPANESE INTERMEDIATE CODE: R250

R250 Receipt of annual fees

Free format text: JAPANESE INTERMEDIATE CODE: R250

R250 Receipt of annual fees

Free format text: JAPANESE INTERMEDIATE CODE: R250

R250 Receipt of annual fees

Free format text: JAPANESE INTERMEDIATE CODE: R250

R250 Receipt of annual fees

Free format text: JAPANESE INTERMEDIATE CODE: R250

R250 Receipt of annual fees

Free format text: JAPANESE INTERMEDIATE CODE: R250