JP2010052517A - 駆動装置 - Google Patents

駆動装置 Download PDF

Info

Publication number
JP2010052517A
JP2010052517A JP2008218014A JP2008218014A JP2010052517A JP 2010052517 A JP2010052517 A JP 2010052517A JP 2008218014 A JP2008218014 A JP 2008218014A JP 2008218014 A JP2008218014 A JP 2008218014A JP 2010052517 A JP2010052517 A JP 2010052517A
Authority
JP
Japan
Prior art keywords
state
engaged state
drive device
rotating
actuator
Prior art date
Legal status (The legal status is an assumption and is not a legal conclusion. Google has not performed a legal analysis and makes no representation as to the accuracy of the status listed.)
Granted
Application number
JP2008218014A
Other languages
English (en)
Other versions
JP5104658B2 (ja
Inventor
Yukihiko Ideshio
幸彦 出塩
Hideaki Komada
英明 駒田
Hiroyuki Shibata
寛之 柴田
Tomohito Ono
智仁 大野
Current Assignee (The listed assignees may be inaccurate. Google has not performed a legal analysis and makes no representation or warranty as to the accuracy of the list.)
Toyota Motor Corp
Original Assignee
Toyota Motor Corp
Priority date (The priority date is an assumption and is not a legal conclusion. Google has not performed a legal analysis and makes no representation as to the accuracy of the date listed.)
Filing date
Publication date
Application filed by Toyota Motor Corp filed Critical Toyota Motor Corp
Priority to JP2008218014A priority Critical patent/JP5104658B2/ja
Publication of JP2010052517A publication Critical patent/JP2010052517A/ja
Application granted granted Critical
Publication of JP5104658B2 publication Critical patent/JP5104658B2/ja
Expired - Fee Related legal-status Critical Current
Anticipated expiration legal-status Critical

Links

Images

Classifications

    • YGENERAL TAGGING OF NEW TECHNOLOGICAL DEVELOPMENTS; GENERAL TAGGING OF CROSS-SECTIONAL TECHNOLOGIES SPANNING OVER SEVERAL SECTIONS OF THE IPC; TECHNICAL SUBJECTS COVERED BY FORMER USPC CROSS-REFERENCE ART COLLECTIONS [XRACs] AND DIGESTS
    • Y02TECHNOLOGIES OR APPLICATIONS FOR MITIGATION OR ADAPTATION AGAINST CLIMATE CHANGE
    • Y02TCLIMATE CHANGE MITIGATION TECHNOLOGIES RELATED TO TRANSPORTATION
    • Y02T10/00Road transport of goods or passengers
    • Y02T10/60Other road transportation technologies with climate change mitigation effect
    • Y02T10/62Hybrid vehicles

Landscapes

  • Hybrid Electric Vehicles (AREA)
  • Connection Of Motors, Electrical Generators, Mechanical Devices, And The Like (AREA)

Abstract

【課題】電動機のロックを維持するためにエネルギーの供給が不要な又はエネルギーの供給を低減可能な駆動装置を提供する。
【解決手段】駆動装置2は、動力伝達経路に配置された第1モータ・ジェネレータ4と、第1モータ・ジェネレータ4と一体回転可能な連結部材21をケース17に対して係合させて第1モータ・ジェネレータ4をロックする係合状態とそのロックを解除する解放状態との間で切り替え可能なロック機構30と、を備え、ロック機構30は、解放状態から係合状態への移行後に連結部材21に生じるトルクを利用することによりアクチュエータ32の動力なしに係合状態を維持できる係合機構31を有する。
【選択図】図1

Description

本発明は、動力伝達経路に配置された電動機をロックするロック機構を備えた駆動装置に関する。
いわゆるハイブリッド車両に搭載された駆動装置として、湿式多板ブレーキを利用して電動機をロックするロック機構を備えたものが知られている(特許文献1)。その他、本発明に関連する先行技術文献として特許文献2が存在する。
特開平8−183348号公報 特開2003−11693号公報
特許文献1の駆動装置は、電動機をロックする係合状態とそのロックを解除する解放状態とを切り替えることにより、電動機を使用した電気的な無段変速を実現する駆動モードと電動機を使用しない固定変速段を実現する駆動モードとを選択的に実行できる。しかしながら、特許文献1の駆動装置は、電動機のロックを解除しても湿式多板ブレーキの多板間に介在するオイルの剪断力により引き摺りトルクが発生する。また、電動機のロックを維持するためにはブレーキの各板が相互に押し付けられた状態を維持するエネルギーを供給し続ける必要がある。従って、特許文献1の駆動装置には、こうしたロック機構の存在により損失が大きくなるという問題がある。
そこで、本発明は、電動機のロックを維持するためにエネルギーの供給が不要な駆動装置を提供することを第1の目的とする。また、本発明は、電動機のロックを維持するためにエネルギーの供給を低減できる駆動装置を提供することを第2の目的とする。
本発明の第1の駆動装置は、動力伝達経路に配置された電動機と、前記電動機と一体回転可能な回転部材を固定部材に対して係合させて前記電動機をロックする係合状態とそのロックを解除する解放状態との間で切り替え可能なロック機構と、を備えた駆動装置において、前記ロック機構は、所定の動力により前記解放状態から前記係合状態へ移行させることができるアクチュエータと、前記解放状態から前記係合状態への移行後に前記回転部材に生じるトルクを利用することにより前記アクチュエータの動力なしに前記係合状態を維持できるセルフロック手段と、を有するものである(請求項1)。
この駆動装置によれば、アクチュエータによって一旦解放状態から係合状態へ移行させれば、その移行後に回転部材に生じるトルクを利用することによりアクチュエータの動力なしに係合状態を維持することができる。従って、係合状態を維持するためにエネルギーの供給が必要ないため、ロック機構の搭載に伴う損失を低減することができる。
第1の駆動装置の一態様において、前記セルフロック手段は、所定方向のトルクが前記回転部材に生じた場合に前記係合状態を維持し、かつ前記係合状態の際に前記所定方向と反対方向の負トルクが前記回転部材に生じた場合に当該負トルクを利用して前記係合状態から前記解放状態へ移行させることができるように構成されてもよい(請求項2)。この態様によれば、係合状態が維持される方向と反対方向の負トルクを利用して係合状態から解放状態へ移行できるため、係合状態から解放状態へ移行させるためのアクチュエータの操作が不要となる。また、所定方向のトルクが回転部材に生じた場合に係合状態が維持される。このため、回転部材が完全停止する前でも、つまり回転部材が所定方向に回転している状態でも解放状態から係合状態へ移行できるので応答性が向上する。
第1の駆動装置の一態様において、前記セルフロック手段は、前記回転部材と一体回転できる第1部材と、前記第1部材との間に環状空間が形成されるように前記第1部材と同軸上に配置されて前記固定部材にトルクを伝達できる第2部材と、前記環状空間に配置されて前記第1部材と前記第2部材との間に介在する介在部材と、前記介在部材を保持するとともに前記アクチュエータの動力が伝達される保持手段と、を有し、前記解放状態から前記係合状態への移行後に前記回転部材に所定方向のトルクが生じた場合に前記第1部材、前記第2部材及び前記介在部材によって前記環状空間を拡大させる方向の力が生じるように構成されてもよい(請求項3)。この態様によれば、係合状態の際に回転部材に所定方向のトルクが生じると、第1部材と第2部材との間に形成される環状空間を拡大させる方向の力が作用する。つまり、第1部材と第2部材との間に介在部材が食い込むことにより楔効果が生じる。これにより、楔効果を利用して係合状態を維持できる。
この態様において、前記セルフロック手段は、前記係合状態から前記解放状態へ移行させる方向に前記保持手段を付勢する付勢手段を更に有するとともに、前記係合状態の際に前記所定方向と反対方向の負トルクが前記回転部材に生じた場合に当該負トルクを利用して前記環状空間を拡大させる方向の力を失わせ、かつ前記付勢手段を利用することにより、前記係合状態から前記解放状態へ移行させることができるように構成されてもよい(請求項4)。この場合には、所定方向と反対方向の負トルクが生じると環状空間を拡大させる方向の力を失わせる。つまり、第1部材、第2部材及び介在部材間に生じる楔効果が解消されるので、その解消後に付勢手段を利用することで、アクチュエータの操作なしに係合状態から解放状態へ移行させることができる。
第1の駆動装置の一態様において、前記セルフロック手段は、前記回転部材と一体回転できる第1部材と、前記第1部材に対向した状態で同軸上に配置された第2部材と、前記第1部材及び前記第2部材のそれぞれの対向面に形成されて回転方向に関して深さが徐々に浅くなる溝部に保持された状態で、前記第1部材と前記第2部材との間に介在する介在部材と、を有し、前記解放状態の際に前記第2部材が前記固定部材に対して静止した摩擦部との間に隙間が形成されるように配置され、かつ前記解放状態から前記係合状態への移行後に前記回転部材に所定方向のトルクが生じた場合に前記第2部材を前記摩擦部に押し付ける方向の力が生じるように構成されており、前記アクチュエータは、前記解放状態から前記係合状態へ移行させる際に、前記第2部材を前記摩擦部に引き寄せて接触させる動力を発生できるように構成されてもよい(請求項5)。この態様によれば、係合状態の際に回転部材に所定方向のトルクが生じると、第2部材を摩擦部に押し付ける方向の力が作用する。従って、解放状態から係合状態への移行後にアクチュエータによって第2部材を摩擦部に引き寄せる力がなくても第2部材と摩擦部との間の摩擦力が失われないため、アクチュエータの動力なしに係合状態を維持できる。
この態様において、前記セルフロック手段は、前記第2部材を前記第1部材に近づける方向に付勢する付勢手段を更に有するとともに、前記係合状態の際に前記所定方向と反対方向の負トルクが前記回転部材に生じた場合に当該負トルクを利用して前記第2部材を前記摩擦部に押し付ける方向の力を失わせ、かつ前記付勢手段を利用することにより、前記係合状態から前記解放状態へ移行させることができるように構成されてもよい(請求項6)。この場合には、所定方向と反対方向の負トルクが生じると第2部材を摩擦部へ押し付ける方向の力を失わせる。つまり、第2部材と摩擦部との間の摩擦力が解消されるので、その解消後に付勢手段を利用することで、アクチュエータの操作なしに係合状態から解放状態へ移行させることができる。
本発明の第2の駆動装置は、動力伝達経路に配置された電動機と、前記電動機と一体回転可能な回転部材を固定部材に対して係合させて前記電動機をロックする係合状態とそのロックを解除する解放状態との間で切り替え可能なロック機構と、を備えた駆動装置において、前記ロック機構は、前記固定部材に対して静止した摩擦部と、前記摩擦部から離れた状態から前記摩擦部に接触する状態までの間を移動でき、かつ前記回転部材と一体回転するクラッチ要素と、前記解放状態から前記係合状態へ移行させる際に前記クラッチ要素を前記摩擦部に引き寄せて接触させるアクチュエータと、前記解放状態から前記係合状態への移行後に前記回転部材に生じる所定方向のトルクを利用して前記クラッチ要素を前記摩擦部に押し付ける方向の力を発生させる係合補助手段と、を有するものである(請求項7)。
この駆動装置によれば、解放状態から係合状態への移行後に回転部材に生じる所定方向のトルクを利用してクラッチ要素を摩擦部に押し付けることができる。このため、アクチュエータのみで係合状態を維持する場合と比較して、係合状態を維持するために必要なアクチュエータの動力を低減させることができる。これにより、係合状態の維持に要するエネルギーを低減できるから、ロック機構の搭載に伴う損失を低減することができる。
第2の駆動装置の一態様において、前記係合補助手段は、前記係合状態の際に前記所定方向と反対方向の負トルクが前記回転部材に生じた場合に当該負トルクを利用して前記クラッチ要素を前記摩擦部に押し付ける方向の力を失わせてもよい(請求項8)。この態様によれば、回転部材に所定方向と反対方向の負トルクが生じるとクラッチ要素を摩擦部へ押し付ける方向の力が失われる。そのため、例えば、係合補助手段による助けを借りることを条件として係合状態が維持されるようにアクチュエータの動力を制御すれば、クラッチ要素を摩擦部へ押し付ける方向の力が失われることを契機として直ちに係合状態から解放状態へ移行することが可能になる。
第2の駆動装置に係るクラッチ要素及び係合補助手段としては適宜の構成を採用できる。例えば、前記クラッチ要素は、前記回転部材と一体回転できる第1部材と、前記第1部材に対向した状態で同軸上に配置され、かつ前記摩擦部と接触できる第2部材と、前記記第1部材と前記第2部材との間に介在する介在部材と、を有しており、前記係合補助手段は、前記介在部材が前記第1部材及び前記第2部材のそれぞれの対向面に形成されて回転方向に関して深さが徐々に浅くなる溝部に保持されることにより構成されてもよい(請求項9)。
第1の駆動装置又は第2の駆動装置のいずれかにおいて、前記動力伝達経路には、内燃機関と、相互に差動回転可能な3つの回転要素を持ち、これら回転要素のいずれか一つの要素に前記内燃機関が、他の一つの要素に前記電動機が、残りの要素に車両の駆動輪を駆動するための出力部材がそれぞれ連結された動力分配機構と、前記出力部材に連結された前記電動機とは異なる他の電動機と、が配置されてもよい(請求項10)。この態様によれば、駆動装置はいわゆるハイブリット車両の駆動装置として構成される。このため、本発明に係るロック機構を利用して電動機をロックする係合状態とそのロックを解除する解放状態とを切り替えることができる。これにより、電動機を使用した電気的な無段変速を実現する駆動モードと電動機を使用しない固定変速段を実現する駆動モードとを選択的に実行できる。特に、セルフロック手段が、負トルクが生じた場合に係合状態から解放状態へ移行させる態様の場合(請求項2、4、6、8の場合)には、ロック機構の応答性が向上するため、内燃機関を素早く停止できる。これにより、内燃機関の停止から他の電動機による回生運転への移行を速やかに実現できるから、回生効率が向上して燃費向上に寄与することができる。
以上説明したように、本発明の第1の駆動装置によれば、解放状態から係合状態への移行後に回転部材に生じるトルクを利用することによりアクチュエータの動力なしに係合状態を維持できるから、係合状態を維持するためにエネルギーの供給が必要ない。また、本発明の第2の駆動装置によれば、解放状態から係合状態への移行後に回転部材に生じる所定方向のトルクを利用してクラッチ要素を摩擦部に押し付けることができるため、アクチュエータのみで係合状態を維持する場合と比較して、係合状態を維持するために必要なアクチュエータの動力を低減させることができる。従って、ロック機構の搭載に伴う損失を低減できる。
(第1の形態)
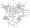
図1は本発明の一形態に係る駆動装置が組み込まれた車両の全体構成を概略的に示しており、図2は図1に示された駆動装置の要部を詳細に示している。車両1はいわゆるハイブリッド車両として構成されている。周知のようにハイブリッド車両は、内燃機関を走行用の駆動力源として備えるとともに、電動機を他の走行用の駆動力源として備えた車両である。車両1は、駆動輪と内燃機関とが車両前部に位置するFFレイアウトの車両として構成されている。
これらの図に示すように、駆動装置2は、内燃機関3と、電動機としての第1モータ・ジェネレータ4と、内燃機関3及び第1モータ・ジェネレータ4がそれぞれ連結された動力分配機構5と、車両1の駆動輪10に動力を出力するための出力部材としての出力ギア6とを備えている。また、駆動装置2には変速機構7を介して出力ギア6に連結された他の電動機としての第2モータ・ジェネレータ8が設けられている。出力ギア6の動力は差動装置11を介して左右の駆動輪10に伝達される。
内燃機関3は、火花点火型の多気筒内燃機関として構成されており、その動力は入力軸15を介して動力分配機構5に伝達される。入力軸15と内燃機関3との間にはダンパ16が介在しており、内燃機関3のトルク変動はダンパ16にて吸収される。第1モータ・ジェネレータ4と第2モータ・ジェネレータ8とは同様の構成を持っていて、電動機としての機能と発電機としての機能とを兼ね備えている。第1モータ・ジェネレータ4は、固定部材であるケース17に固定されたステータ4aと、そのステータ4aの内周側に同軸に配置されたロータ4bとを備えている。第2モータ・ジェネレータ8も同様に、ケース17に固定されたステータ8aと、そのステータ8aの内周側に同軸に配置されたロータ8bとを備えている。
動力分配機構5は、相互に差動回転可能な3つの要素を持つシングルピニオン型の遊星歯車機構として構成されており、外歯歯車であるサンギアSu1と、そのサンギアSu1に対して同軸的に配置された内歯歯車であるリングギアRi1と、これらのギアSu1、Ri1に噛み合うピニオン20を自転かつ公転自在に保持するキャリアCr1とを備えている。この形態では、入力軸15がキャリアCr1に、第1モータ・ジェネレータ4が回転部材としての連結部材21を介してサンギアSu1に、出力ギア6がリングギアRi1にそれぞれ連結されている。図2に示すように、連結部材21は中空状に構成されて、かつ入力軸15が挿入された状態で軸受22、23を介してケース17に支持されている。連結部材21の外周には第1モータ・ジェネレータ4のロータ4bが固定されている。
図1に示すように、減速機構7は、第2モータ・ジェネレータ8の回転を減速して出力ギア6に伝達するための機構であり、相互に差動回転可能な3つの要素を持つシングルピニオン型の遊星歯車機構として構成されている。減速機構7は外歯歯車であるサンギアSu2と、そのサンギアSu2に対して同軸的に配置された内歯歯車であるリングギアRi2と、これらのギアSu2、Ri2に噛み合うピニオン25を自転かつ公転自在に保持するキャリアCr2とを備えている。この形態では、サンギアSu2が第2モータ・ジェネレータ8に、リングギアRi2が出力ギア6にそれぞれ連結されており、キャリアCr2はケース17に固定されている。これにより、第2モータ・ジェネレータ8の回転が減速されて出力ギア6に伝達されるとともに、第2モータ・ジェネレータ8の動力が増幅されて出力ギア6に伝達される。
駆動装置2には、第1モータ・ジェネレータ4をロックする係合状態とそのロックを解除する解放状態とを切り替えることにより、駆動モードを変更するためのロック機構30が設けられている。このロック機構30により、第1モータ・ジェネレータ4を使用した電気的な無段変速を実現する駆動モードと第1モータ・ジェネレータ4を使用しない固定変速段を実現する駆動モードとを選択的に実行できる。ロック機構30は、連結部材21とケース17との間に介在して連結部材21をケース17に対して固定できるセルフロック手段としての係合機構31と、係合機構31を動作させるソレノイド型のアクチュエータ32とを備えている。ロック機構30の詳細は後述するが、まずは図3及び図4を参照しながらロック機構30の概要を説明する。
図3及び図4はロック機構30の概要を説明するための説明図である。図3は第1モータ・ジェネレータ4をロックできる係合状態を示しており、図4は第1モータ・ジェネレータ4のロックが解除された解放状態を示している。ロック機構30の係合機構31には互いに同軸の内輪35及び外輪36と、これら内輪35及び外輪36の間に形成された環状空間Sに設けられた介在部材37とが設けられている。第1部材としての内輪35は連結部材21に固定されていて連結部材21と一体回転する。第2部材としての外輪36はケース17に固定されている。ロック機構30はアクチュエータ32を利用して係合機構31の介在部材37を動作させることにより、第1モータ・ジェネレータ4をロックできる係合状態とそのロックを解除する解放状態とを切り替えることができる。
図3及び図4から理解できるように、アクチュエータ32により解放状態から係合状態へ移行した後には、第1モータ・ジェネレータ4の正転方向(+方向)への回転が制限されてロックされる。そして、係合状態への移行後において、連結部材21に正転方向のトルク(正トルク)が作用している限りにおいて、介在部材37によって内輪35及び外輪36間の環状空間Sを拡大させる方向に力が働くため、アクチュエータ32の動力なしに係合状態が維持される。つまり、連結部材21に発生する正トルクによって、内輪35、外輪36及び介在部材37の間にいわゆる楔効果が発生して係合機構31はセルフロック状態となる。
また、係合状態において正転方向とは反対方向の逆転方向(−方向)のトルク(負トルク)が連結部材21に作用した場合には、環状空間Sを拡大させる方向への力が失われるためアクチュエータ32の動力なしにセルフロックが解除されて係合状態から解放状態へ移行できる。また、介在部材37は解放状態が維持される方向へ後述の付勢手段にて付勢されている。従って、図4に示すように、ロック機構30が解放状態の場合には、アクチュエータ32の動力なしに解放状態が維持されて、正転方向及び逆転方向のそれぞれへ連結部材21の回転が許容される。
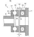
図5及び図6は、ロック機構30の詳細を示した断面図であり、図5は係合状態を、図6は解放状態をそれぞれ示している。これらの図に示すように、内輪35と外輪36との間に形成される環状空間Sには、略等間隔で7個の介在部材37が設けられている。介在部材37は円柱状に構成されている。環状空間Sは、介在部材37毎に設けられた区間Saを有しており、各区間Saは正転方向に向かって徐々に半径方向の幅が狭まるように形成されている。各区間Saの後端部は介在部材37よりも幅が大きくなっている。
環状空間Sには、介在部材37を保持するポケット38aが介在部材37毎に形成された保持手段としての環状の保持器38が設けられている。保持器38は、内輪35及び外輪36のそれぞれに対して相対回転できる。ロック機構30には、アクチュエータ32の動力を保持器38を介して介在部材37に伝達するための伝達機構39が設けられている。伝達機構39は、保持器38から半径方向外側に延びるレバー40と、アクチュエータ32に接続されてレバー40の先端にリンク結合されたロッド41とを備えている。ロック機構30には、解放状態となる方向に保持器38を付勢する付勢手段としてのリターンスプリング42が設けられている。リターンスプリング42はその一端がロッド41に形成されたスプリングシート43に、他端がケース17にそれぞれ支持されている。
ロック機構30はこうした構成を有しているため、図5の係合状態において連結部材21及び内輪35に正トルクが作用すると、介在部材37によって各区間Saを拡大させる方向に力が作用する。これにより、アクチュエータ32の動力なしに、換言すれば保持器38に力を加えなくても連結部材21に正トルクが作用している限りにおいてセルフロック状態となって係合状態を維持できる。図5の係合状態において、連結部材21に反対方向の負トルクが作用すると、各区間Saを拡大させる方向への力が失われ、かつリターンスプリング42の弾性力が保持器38に作用するため、セルフロックが解除されて図6の解放状態へ移行できる。一旦解放状態へ移行した後には、リターンスプリング42の弾性力によって解放状態がアクチュエータ32の動力なしに維持される。また、図6の解放状態から図5の係合状態への切り替えは、アクチュエータ32がリターンスプリング42の弾性力に打ち勝つようにロッド41を駆動してレバー40を正転方向に移動させた状態で、連結部材21に正トルクが作用することにより実現される。一旦係合状態へ移行した後は上述の通り係合状態の維持のためにアクチュエータ32の動力は不要である。
以上の形態によれば、ロック機構30は第1モータ・ジェネレータ4をロックする係合状態を維持するためにアクチュエータ32によるエネルギー供給が不要なため、ロック機構30の搭載に伴う損失を低減することができる。また、係合機構31は、所定方向と反対方向の負トルクが生じると環状空間Sを拡大させる方向の力を失わせる。つまり、内輪35、外輪36及び介在部材37間に生じる楔効果が解消されるので、その解消後にリターンスプリング42を利用することで、アクチュエータ32の操作なしに係合状態から解放状態へ移行させることができる。また、正トルクが連結部材21に生じた場合に係合状態が維持されるため、連結部材21が完全停止する前でも、つまり連結部材21が正転方向に回転している状態でも解放状態から係合状態へ移行できるので応答性が向上する。更に、ロック機構30の応答性が向上するため内燃機関1を素早く停止できる。これにより、内燃機関1の停止から第2モータ・ジェネレータ8による回生運転への移行を速やかに実現できるから回生効率が向上して燃費向上に寄与することができる。
(第2の形態)
次に、図7〜図11を参照しながら本発明の第2の形態を説明する。本形態はロック機構の構成を除いて第1の形態と同一である。従って、第2の形態に係るロック機構を備えた駆動装置が組み込まれた車両の全体構成に関しては図1及び図2が適宜参照される。また、以下の説明において第1の形態と共通する構成に関しては図7〜図11に第1の形態と同一符号を付して説明を省略する。
図7及び図8は、第2の形態に係るロック機構50の詳細を示した図であり、図7は解放状態を、図8は係合状態をそれぞれ示している。ロック機構50は、セルフロック手段としての係合機構51と、係合機構51を動作させるアクチュエータ52とを備えている。係合機構51には連結部材21が接続されており、連結部材21を介して第1モータ・ジェネレータ4のトルクが入力される。アクチュエータ52は係合機構51とケース17との間に介在しており、ケース17に対して固定されている。
係合機構51には、連結部材21に固定された第1部材としての第1クラッチ板55と、この第1クラッチ板55と同軸に配置された第2部材としての第2クラッチ板56と、これらのクラッチ板55、56の間に介在する球状の介在部材57とが設けられている。各クラッチ板55、56は円板状に構成されていて、各クラッチ板55、56の対向面には介在部材57を保持する溝部としてのV字溝58、59が形成されている。
図9は第1クラッチ板55を軸線方向から見た状態を示しており、図10及び図11は各クラッチ板55、56を半径方向から見た状態を示している。図10は各クラッチ板55、56が静止している状態を、図11は各クラッチ板55、56が回転している状態をそれぞれ示している。図9から明らかなように、第1クラッチ板55に設けられたV字溝58は、周方向に等間隔に6個並べられている。第2クラッチ板56に形成された他方のV字溝59も同様に周方向に等間隔に6個並べられている。各V字溝58、59は、第1クラッチ板55の中心線を含む断面で切断した場合には断面半円形をなしている(図7及び図8参照)。また、図9に示すように、第1クラッチ板55の軸線方向から見ると、各V字溝58、59は、第1クラッチ板55の中心寄りの内側縁部と中心から離れた外側縁部とが同心の円弧をなすように湾曲している。更に、図10及び図11に示すように、第1クラッチ板55の半径方向から見ると、各V字溝58、59はV字状に形成されていて、回転方向(図の上又は下方向)に関して深さが徐々に浅くなっている。
図7に示すように、ロック機構50が解放状態の場合、係合機構51の第2クラッチ板56とアクチュエータ52との間には所定の隙間Gが形成されている。第2クラッチ板56とアクチュエータ52との間には、アクチュエータ52から離れる方向に第2クラッチ板56を付勢するリターンスプリング60が設けられている。そのため、解放状態においては、第2クラッチ板56が第1クラッチ板55に接近する方向に押し付けられた状態で、第1クラッチ板55と第2クラッチ板56とが供回りする。
アクチュエータ52には第2クラッチ板56と接触し得る摩擦部61と、摩擦部61に組み込まれた電磁石62とが設けられている。摩擦部61はケース17に対して静止している。第2クラッチ板56は磁性金属で構成されているため、図7の状態でアクチュエータ52が電磁石62を励磁すると、第2クラッチ板56はリターンスプリング60の弾性力に抗してアクチュエータ52側に引き寄せられる。そして、電磁石62の磁力により第2クラッチ板56が摩擦部61に接触した場合には、第2クラッチ板56と摩擦部61との間に摩擦力が生じるため第2クラッチ板56が摩擦部61に対して停止する。つまり、図8に示すように、第1モータ・ジェネレータ4をロックする係合状態へ移行する。
第1クラッチ板55に正トルクが生じている場合、図11に示すように、介在部材57がV字溝58、59内の浅い位置に位置に移動して、第2クラッチ板56を摩擦部61に押し付ける力が発生する。そのため、係合状態に移行した後に第1クラッチ板55に(連結部材21に)正トルクが作用している限りにおいてその押し付け力は維持される。従って、解放状態における電磁石62の励磁によって、一旦第2クラッチ板56が摩擦部61に接触した場合には、その後電磁石62への電力供給を停止しても第2クラッチ板56と摩擦部61との摩擦力が失われることがないから係合状態を維持することが可能になる。つまり、アクチュエータ52の動力なしに係合状態を維持できるセルフロック状態を実現できる。
図8の係合状態おいて連結部材21に正トルクと反対方向の負トルクが作用すると第2クラッチ板56を摩擦部61に押し付ける力が失われるため(図10も参照)、セルフロックが解除されて図7の解放状態へ移行する。解放状態へ移行した後には、リターンスプリング60の弾性力によってアクチュエータ52の動力なしに図7の解放状態が維持される。解放状態においては、正転方向及び逆転方向のそれぞれへの連結部材21の回転が許容される。
第2の形態も第1の形態と同様の効果を奏することができる。即ち、第2の形態によれば、係合状態の際に連結部材21に正トルクが生じると、第2クラッチ板56を摩擦部61に押し付ける方向の力が作用するため、解放状態から係合状態への移行後にアクチュエータ52によって第2クラッチ板56を摩擦部61に引き寄せる力がなくても第2クラッチ板56と摩擦部61との間の摩擦力が失われないため、アクチュエータ52の動力なしに係合状態を維持できる。また、負トルクが生じると第2クラッチ板56を摩擦部61へ押し付ける方向の力を失わせる。つまり、第2クラッチ板56と摩擦部61との間の摩擦力が解消されるので、その解消後にリターンスプリング60を利用することで、アクチュエータ52の操作なしに係合状態から解放状態へ移行させることができる。
第2の形態は、第2クラッチ板56を摩擦部61に押し付ける力がセルフロック可能な程度となるように、V字溝58、59の傾斜角等の押し付け力に影響する諸条件が設定されている。これにより、アクチュエータ52の動力なしに係合機構51は単独で係合状態を維持できる。しかしながら、係合状態におけるその押し付け力が低下するように係合機構51の諸条件を変更することにより、係合機構51をアクチュエータ52を補助する手段として機能させることもできる。つまり、アクチュエータ52の動力と係合機構51による押し付け力とを利用して係合状態を維持することもできる。
係合機構51の諸条件をこのように変更した場合には、アクチュエータ52のみで係合状態を維持する場合と比較して、係合状態を維持するために必要なアクチュエータの動力を低減させることができる。そして、係合機構51による助けを借りることを条件として係合状態が維持されるようにアクチュエータ52の動力を制御する場合には、連結部材21に対する反トルクの作用によって第2クラッチ板56を摩擦部61へ押し付ける方向の力が失われることを契機として直ちに係合状態から解放状態へ移行させることが可能になる。ロック機構50をこのように使用する場合には、係合機構51は本発明に係る係合補助手段として機能するとともに、係合機構51の第1クラッチ板55及び第2クラッチ板56の組み合わせが本発明に係るクラッチ要素に相当する。
本発明は上記の各形態に限定されず、本発明の要旨の範囲内において種々の形態にて実施できる。本発明の駆動装置はハイブリッド車両に適用することに限定されるものではない。従って、何らかの動力伝達経路に設けられた電動機をロックする駆動装置として本発明を実施することができる。また、セルフロック手段を実現した図示の形態は例示にすぎず、本発明に係るセルフロック手段を図示の形態とは異なる形態で実現することも可能である。
本発明の一形態に係る駆動装置が組み込まれた車両の全体構成を概略的に示した図。 図1に示された駆動装置の要部を詳細に示した図。 ロック機構の概要を説明する説明図であって、第1モータ・ジェネレータをロックできる係合状態を示した図。 ロック機構の概要を説明する説明図であって、第1モータ・ジェネレータのロックが解除された解放状態を示した図。 ロック機構の詳細を示した断面図であって、第1モータ・ジェネレータをロックできる係合状態を示した図。 ロック機構の詳細を示した断面図であって、第1モータ・ジェネレータのロックが解除された解放状態を示した図。 第2の形態に係るロック機構の詳細を示した図であって、第1モータ・ジェネレータのロックが解除された解放状態を示した図。 第2の形態に係るロック機構の詳細を示した図であって、第1モータ・ジェネレータをロックできる係合状態を示した図。 第1クラッチ板を軸線方向から見た状態を示した図。 各クラッチ板を半径方向から見た状態を示した図であって、各クラッチ板が静止している状態を示した図。 各クラッチ板を半径方向から見た状態を示した図であって、各クラッチ板が回転している状態を示した図。
符号の説明
2 駆動装置
3 内燃機関
4 第1モータ・ジェネレータ(電動機)
5 動力分配機構
6 出力ギア(出力部材)
8 第2モータ・ジェネレータ(他の電動機)
17 ケース(固定部材)
10 駆動輪
21 回転部材(連結部材)
30 ロック機構
31 係合機構(セルフロック手段)
32 アクチュエータ
35 内輪(第1部材)
36 外輪(第2部材)
37 介在部材
38 保持器(保持手段)
42 リターンスプリング(付勢手段)
50 ロック機構
51 係合機構(セルフロック手段、係合補助手段)
52 アクチュエータ
55 第1クラッチ板(第1部材)
56 第2クラッチ板(第2部材)
57 介在部材
58、58 V字溝(溝部)
60 リターンスプリング
61 摩擦部
S 環状空間
G 隙間

Claims (10)

  1. 動力伝達経路に配置された電動機と、前記電動機と一体回転可能な回転部材を固定部材に対して係合させて前記電動機をロックする係合状態とそのロックを解除する解放状態との間で切り替え可能なロック機構と、を備えた駆動装置において、
    前記ロック機構は、所定の動力により前記解放状態から前記係合状態へ移行させることができるアクチュエータと、前記解放状態から前記係合状態への移行後に前記回転部材に生じるトルクを利用することにより前記アクチュエータの動力なしに前記係合状態を維持できるセルフロック手段と、を有することを特徴とする駆動装置。
  2. 前記セルフロック手段は、所定方向のトルクが前記回転部材に生じた場合に前記係合状態を維持し、かつ前記係合状態の際に前記所定方向と反対方向の負トルクが前記回転部材に生じた場合に当該負トルクを利用して前記係合状態から前記解放状態へ移行させることができるように構成されている請求項1に記載の駆動装置。
  3. 前記セルフロック手段は、前記回転部材と一体回転できる第1部材と、前記第1部材との間に環状空間が形成されるように前記第1部材と同軸上に配置されて前記固定部材にトルクを伝達できる第2部材と、前記環状空間に配置されて前記第1部材と前記第2部材との間に介在する介在部材と、前記介在部材を保持するとともに前記アクチュエータの動力が伝達される保持手段と、を有し、前記解放状態から前記係合状態への移行後に前記回転部材に所定方向のトルクが生じた場合に前記第1部材、前記第2部材及び前記介在部材によって前記環状空間を拡大させる方向の力が生じるように構成されている請求項1に記載の駆動装置。
  4. 前記セルフロック手段は、前記係合状態から前記解放状態へ移行させる方向に前記保持手段を付勢する付勢手段を更に有するとともに、前記係合状態の際に前記所定方向と反対方向の負トルクが前記回転部材に生じた場合に当該負トルクを利用して前記環状空間を拡大させる方向の力を失わせ、かつ前記付勢手段を利用することにより、前記係合状態から前記解放状態へ移行させることができるように構成されている請求項3に記載の駆動装置。
  5. 前記セルフロック手段は、前記回転部材と一体回転できる第1部材と、前記第1部材に対向した状態で同軸上に配置された第2部材と、前記第1部材及び前記第2部材のそれぞれの対向面に形成されて回転方向に関して深さが徐々に浅くなる溝部に保持された状態で、前記第1部材と前記第2部材との間に介在する介在部材と、を有し、前記解放状態の際に前記第2部材が前記固定部材に対して静止した摩擦部との間に隙間が形成されるように配置され、かつ前記解放状態から前記係合状態への移行後に前記回転部材に所定方向のトルクが生じた場合に前記第2部材を前記摩擦部に押し付ける方向の力が生じるように構成されており、
    前記アクチュエータは、前記解放状態から前記係合状態へ移行させる際に、前記第2部材を前記摩擦部に引き寄せて接触させる動力を発生できるように構成されている、請求項1に記載の駆動装置。
  6. 前記セルフロック手段は、前記第2部材を前記第1部材に近づける方向に付勢する付勢手段を更に有するとともに、前記係合状態の際に前記所定方向と反対方向の負トルクが前記回転部材に生じた場合に当該負トルクを利用して前記第2部材を前記摩擦部に押し付ける方向の力を失わせ、かつ前記付勢手段を利用することにより、前記係合状態から前記解放状態へ移行させることができるように構成されている請求項5に記載の駆動装置。
  7. 動力伝達経路に配置された電動機と、前記電動機と一体回転可能な回転部材を固定部材に対して係合させて前記電動機をロックする係合状態とそのロックを解除する解放状態との間で切り替え可能なロック機構と、を備えた駆動装置において、
    前記ロック機構は、前記固定部材に対して静止した摩擦部と、前記摩擦部から離れた状態から前記摩擦部に接触する状態までの間を移動でき、かつ前記回転部材と一体回転するクラッチ要素と、前記解放状態から前記係合状態へ移行させる際に前記クラッチ要素を前記摩擦部に引き寄せて接触させるアクチュエータと、前記解放状態から前記係合状態への移行後に前記回転部材に生じる所定方向のトルクを利用して前記クラッチ要素を前記摩擦部に押し付ける方向の力を発生させる係合補助手段と、を有することを特徴とする駆動装置。
  8. 前記係合補助手段は、前記係合状態の際に前記所定方向と反対方向の負トルクが前記回転部材に生じた場合に当該負トルクを利用して前記クラッチ要素を前記摩擦部に押し付ける方向の力を失わせるように構成されている請求項7に記載の駆動装置。
  9. 前記クラッチ要素は、前記回転部材と一体回転できる第1部材と、前記第1部材に対向した状態で同軸上に配置され、かつ前記摩擦部と接触できる第2部材と、前記記第1部材と前記第2部材との間に介在する介在部材と、を有しており、
    前記係合補助手段は、前記介在部材が前記第1部材及び前記第2部材のそれぞれの対向面に形成されて回転方向に関して深さが徐々に浅くなる溝部に保持されることにより構成されている請求項7又は8に記載の駆動装置。
  10. 前記動力伝達経路には、内燃機関と、相互に差動回転可能な3つの回転要素を持ち、これら回転要素のいずれか一つの要素に前記内燃機関が、他の一つの要素に前記電動機が、残りの要素に車両の駆動輪を駆動するための出力部材がそれぞれ連結された動力分配機構と、前記出力部材に連結された前記電動機とは異なる他の電動機と、が配置されている請求項1〜9のいずれか一項に記載の駆動装置。
JP2008218014A 2008-08-27 2008-08-27 駆動装置 Expired - Fee Related JP5104658B2 (ja)

Priority Applications (1)

Application Number Priority Date Filing Date Title
JP2008218014A JP5104658B2 (ja) 2008-08-27 2008-08-27 駆動装置

Applications Claiming Priority (1)

Application Number Priority Date Filing Date Title
JP2008218014A JP5104658B2 (ja) 2008-08-27 2008-08-27 駆動装置

Publications (2)

Publication Number Publication Date
JP2010052517A true JP2010052517A (ja) 2010-03-11
JP5104658B2 JP5104658B2 (ja) 2012-12-19

Family

ID=42068900

Family Applications (1)

Application Number Title Priority Date Filing Date
JP2008218014A Expired - Fee Related JP5104658B2 (ja) 2008-08-27 2008-08-27 駆動装置

Country Status (1)

Country Link
JP (1) JP5104658B2 (ja)

Cited By (5)

* Cited by examiner, † Cited by third party
Publication number Priority date Publication date Assignee Title
CN102570708A (zh) * 2012-02-27 2012-07-11 薛玉林 一种电动推动控制装置
JP2016168990A (ja) * 2015-03-16 2016-09-23 トヨタ自動車株式会社 ハイブリッド車の制御装置
CN106314124A (zh) * 2015-07-01 2017-01-11 丰田自动车株式会社 混合动力驱动装置
CN106335491A (zh) * 2015-07-01 2017-01-18 丰田自动车株式会社 用于混合动力车辆的控制装置
JP2017020586A (ja) * 2015-07-10 2017-01-26 トヨタ自動車株式会社 クラッチシステム

Citations (5)

* Cited by examiner, † Cited by third party
Publication number Priority date Publication date Assignee Title
JPH09156387A (ja) * 1995-12-05 1997-06-17 Aqueous Res:Kk ハイブリッド車両
JP2000102108A (ja) * 1998-09-28 2000-04-07 Hitachi Ltd ハイブリッド車
JP2000310260A (ja) * 1999-04-28 2000-11-07 Nissan Motor Co Ltd 複合クラッチ装置
JP2002316542A (ja) * 2001-04-23 2002-10-29 Nissan Motor Co Ltd ハイブリッド車両用駆動装置
JP2007205519A (ja) * 2006-02-03 2007-08-16 Ntn Corp 回転伝達装置

Patent Citations (5)

* Cited by examiner, † Cited by third party
Publication number Priority date Publication date Assignee Title
JPH09156387A (ja) * 1995-12-05 1997-06-17 Aqueous Res:Kk ハイブリッド車両
JP2000102108A (ja) * 1998-09-28 2000-04-07 Hitachi Ltd ハイブリッド車
JP2000310260A (ja) * 1999-04-28 2000-11-07 Nissan Motor Co Ltd 複合クラッチ装置
JP2002316542A (ja) * 2001-04-23 2002-10-29 Nissan Motor Co Ltd ハイブリッド車両用駆動装置
JP2007205519A (ja) * 2006-02-03 2007-08-16 Ntn Corp 回転伝達装置

Cited By (9)

* Cited by examiner, † Cited by third party
Publication number Priority date Publication date Assignee Title
CN102570708A (zh) * 2012-02-27 2012-07-11 薛玉林 一种电动推动控制装置
JP2016168990A (ja) * 2015-03-16 2016-09-23 トヨタ自動車株式会社 ハイブリッド車の制御装置
CN106314124A (zh) * 2015-07-01 2017-01-11 丰田自动车株式会社 混合动力驱动装置
CN106335491A (zh) * 2015-07-01 2017-01-18 丰田自动车株式会社 用于混合动力车辆的控制装置
JP2017013643A (ja) * 2015-07-01 2017-01-19 トヨタ自動車株式会社 ハイブリッド車両の制御装置
JP2017013642A (ja) * 2015-07-01 2017-01-19 トヨタ自動車株式会社 ハイブリッド駆動装置
US9925858B2 (en) 2015-07-01 2018-03-27 Toyota Jidosha Kabushiki Kaisha Hybrid drive device
JP2017020586A (ja) * 2015-07-10 2017-01-26 トヨタ自動車株式会社 クラッチシステム
US10024373B2 (en) 2015-07-10 2018-07-17 Toyota Jidosha Kabushiki Kaisha Clutch system

Also Published As

Publication number Publication date
JP5104658B2 (ja) 2012-12-19

Similar Documents

Publication Publication Date Title
JP5128537B2 (ja) 車両の駆動装置
JP5633703B2 (ja) 電動車
KR101693940B1 (ko) 하이브리드 차량의 변속기
WO2010113707A1 (ja) 駆動装置及びそれを備えた車両
JP2011063136A (ja) ハイブリッド車両の駆動装置
JP5104658B2 (ja) 駆動装置
JP3586225B2 (ja) 動力伝達ユニット
JP5317801B2 (ja) 車両の駆動装置
JP2017193320A (ja) 自動車用駆動装置
JP2005195090A (ja) 差動制限装置
US20210172519A1 (en) Method of operating a shifting system for a vehicle transmission
CN105121916B (zh) 卡合装置及动力传递装置
JP2017197107A (ja) 自動車用駆動装置
JP2007253857A (ja) 動力伝達装置およびその組立方法
JP2010018077A (ja) ハイブリッド自動車
JP5306302B2 (ja) 車両の駆動装置
JP4952520B2 (ja) ハイブリッド車の駆動装置
JP2010071448A (ja) 車両の駆動装置
JP2011161964A (ja) 車両の駆動装置
WO2010107064A1 (ja) 動力伝達装置
JP5239681B2 (ja) 車両の駆動装置
JP5481550B2 (ja) 車両の駆動装置
JP5501511B2 (ja) 車両の駆動装置
JP2012225365A (ja) 車両用変速機
JP2013216219A (ja) ハイブリッド車両の動力伝達装置

Legal Events

Date Code Title Description
A621 Written request for application examination

Free format text: JAPANESE INTERMEDIATE CODE: A621

Effective date: 20101122

A131 Notification of reasons for refusal

Free format text: JAPANESE INTERMEDIATE CODE: A131

Effective date: 20120612

A521 Request for written amendment filed

Free format text: JAPANESE INTERMEDIATE CODE: A523

Effective date: 20120813

TRDD Decision of grant or rejection written
A01 Written decision to grant a patent or to grant a registration (utility model)

Free format text: JAPANESE INTERMEDIATE CODE: A01

Effective date: 20120904

A01 Written decision to grant a patent or to grant a registration (utility model)

Free format text: JAPANESE INTERMEDIATE CODE: A01

A61 First payment of annual fees (during grant procedure)

Free format text: JAPANESE INTERMEDIATE CODE: A61

Effective date: 20120917

R151 Written notification of patent or utility model registration

Ref document number: 5104658

Country of ref document: JP

Free format text: JAPANESE INTERMEDIATE CODE: R151

FPAY Renewal fee payment (event date is renewal date of database)

Free format text: PAYMENT UNTIL: 20151012

Year of fee payment: 3

LAPS Cancellation because of no payment of annual fees