JP2010049961A - コネクタ - Google Patents

コネクタ Download PDF

Info

Publication number
JP2010049961A
JP2010049961A JP2008213727A JP2008213727A JP2010049961A JP 2010049961 A JP2010049961 A JP 2010049961A JP 2008213727 A JP2008213727 A JP 2008213727A JP 2008213727 A JP2008213727 A JP 2008213727A JP 2010049961 A JP2010049961 A JP 2010049961A
Authority
JP
Japan
Prior art keywords
connector
ground plate
ground
holder
contacts
Prior art date
Legal status (The legal status is an assumption and is not a legal conclusion. Google has not performed a legal analysis and makes no representation as to the accuracy of the status listed.)
Granted
Application number
JP2008213727A
Other languages
English (en)
Other versions
JP4567079B2 (ja
Inventor
Yukitaka Tanaka
田中幸貴
Current Assignee (The listed assignees may be inaccurate. Google has not performed a legal analysis and makes no representation or warranty as to the accuracy of the list.)
Japan Aviation Electronics Industry Ltd
Original Assignee
Japan Aviation Electronics Industry Ltd
Priority date (The priority date is an assumption and is not a legal conclusion. Google has not performed a legal analysis and makes no representation as to the accuracy of the date listed.)
Filing date
Publication date
Application filed by Japan Aviation Electronics Industry Ltd filed Critical Japan Aviation Electronics Industry Ltd
Priority to JP2008213727A priority Critical patent/JP4567079B2/ja
Priority to TW098128008A priority patent/TWI382611B/zh
Priority to CN2009101662431A priority patent/CN101656379B/zh
Priority to US12/583,504 priority patent/US7824198B2/en
Publication of JP2010049961A publication Critical patent/JP2010049961A/ja
Application granted granted Critical
Publication of JP4567079B2 publication Critical patent/JP4567079B2/ja
Expired - Fee Related legal-status Critical Current
Anticipated expiration legal-status Critical

Links

Images

Classifications

    • HELECTRICITY
    • H01ELECTRIC ELEMENTS
    • H01RELECTRICALLY-CONDUCTIVE CONNECTIONS; STRUCTURAL ASSOCIATIONS OF A PLURALITY OF MUTUALLY-INSULATED ELECTRICAL CONNECTING ELEMENTS; COUPLING DEVICES; CURRENT COLLECTORS
    • H01R13/00Details of coupling devices of the kinds covered by groups H01R12/70 or H01R24/00 - H01R33/00
    • H01R13/648Protective earth or shield arrangements on coupling devices, e.g. anti-static shielding  
    • H01R13/658High frequency shielding arrangements, e.g. against EMI [Electro-Magnetic Interference] or EMP [Electro-Magnetic Pulse]
    • H01R13/6591Specific features or arrangements of connection of shield to conductive members
    • H01R13/65912Specific features or arrangements of connection of shield to conductive members for shielded multiconductor cable
    • H01R13/65914Connection of shield to additional grounding conductors
    • HELECTRICITY
    • H01ELECTRIC ELEMENTS
    • H01RELECTRICALLY-CONDUCTIVE CONNECTIONS; STRUCTURAL ASSOCIATIONS OF A PLURALITY OF MUTUALLY-INSULATED ELECTRICAL CONNECTING ELEMENTS; COUPLING DEVICES; CURRENT COLLECTORS
    • H01R24/00Two-part coupling devices, or either of their cooperating parts, characterised by their overall structure
    • H01R24/60Contacts spaced along planar side wall transverse to longitudinal axis of engagement
    • HELECTRICITY
    • H01ELECTRIC ELEMENTS
    • H01RELECTRICALLY-CONDUCTIVE CONNECTIONS; STRUCTURAL ASSOCIATIONS OF A PLURALITY OF MUTUALLY-INSULATED ELECTRICAL CONNECTING ELEMENTS; COUPLING DEVICES; CURRENT COLLECTORS
    • H01R2107/00Four or more poles

Landscapes

  • Details Of Connecting Devices For Male And Female Coupling (AREA)

Abstract

【課題】コネクタとケーブルの接続部分におけるインピーダンスを整合させ高周波特性の劣化を防ぐとともに、小型化されたコネクタを提供すること
【解決手段】コネクタは、少なくともグランドコンタクトと、グランドコンタクトの一部を整列保持するロケータと、コンタクト及びロケータを保持するハウジングと、グランドプレートと、グランドプレートを保持するホルダを備えている。グランドプレートは、第1及び第2の面と、グランド端子とを有している。グランド端子はグランドコンタクトと接続される。信号線及びドレイン線は共に第1の面に配置され、ドレイン線は第2の面に引き回された後にグランドプレートと接続される構造とした。なお、ドレイン線は、グランドプレートの第2面に形成された一対の凸部によって位置決めされる。
【選択図】図3

Description

本発明は、グランドコンタクトを含むコンタクト列とグランドコンタクトに接続されるグランドプレートとを有するコネクタに関する。
グランドコンタクトを含むコンタクト列を有するコネクタの例としては、特許文献1に記載されたものがある。特許文献1に記載のコネクタには、グランドコンタクトが接続されるグランドプレートが設けられており、グランドプレートに形成されたアーチ部によりケーブルは整列され保持されることとなっている。
特許第3564556号公報
特許文献1に記載されているコネクタは、ケーブルとコネクタとの接続においてインピーダンス整合が不十分である可能性がある。
そこで、本発明は、コネクタとケーブルとの接続におけるインピーダンスを整合させ高周波特性の劣化を防ぐとともに、小型化されたコネクタを提供することを目的とする。
本発明によれば、第1のコネクタとして、少なくとも複数のグランドコンタクトと、前記複数のグランドコンタクトを保持するハウジングと、前記複数のグランドコンタクトに接続される複数のグランド端子を有するグランドプレートとを備えるコネクタにおいて、前記グランドプレートは、第1の面及び第2の面を有しており、前記グランドプレートの前記第1の面は信号線及びドレイン線が配置される面であり、前記グランドプレートの前記第2の面は前記ドレイン線が接続されるドレイン線接続部が形成されているコネクタが得られる。
また、本発明によれば、第2のコネクタとして、第1のコネクタにおいて、前記信号線が接続される信号コンタクトと前記グランドコンタクトとを前記コネクタの幅方向に整列させるためのロケータを更に備えているコネクタが得られる。
また、本発明によれば、第3のコネクタとして、第2のコネクタにおいて、前記幅方向において最も近接するグランドコンタクトの間には、1対の前記信号コンタクトが配置されているコネクタが得られる。
また、本発明によれば、第4のコネクタとして、第1乃至第3のいずれかのコネクタにおいて、前記グランドプレートを保持するホルダを更に備えており、該ホルダは、前記信号線を保持するための凹部を有しているコネクタが得られる。
また、本発明によれば、第5のコネクタとして、第4のコネクタにおいて、前記グランドプレートは抜止爪を有しており、前記ホルダは抜止孔を有しており、前記抜止爪が前記抜止孔に係止されることにより、前記グランドプレートと前記ホルダは固定されているコネクタが得られる。
また、本発明によれば、第6のコネクタとして、第1乃至第5のいずれかのコネクタにおいて、前記グランドプレートの端部には、U字形状の切欠部が形成されており、前記ドレイン線は、該切欠部を通って前記ドレイン線接続部に接続されるコネクタが得られる。
また、本発明によれば、第7のコネクタとして、第1乃至第6のいずれかのコネクタにおいて、前記グランドプレートの前記第2の面上には、一対の凸部が、前記ドレイン線接続部を前記コネクタの幅方向において挟むようにして形成されており、前記ドレイン線は、前記ドレイン線接続部に接続される際に前記一対の凸部によって位置決めされるコネクタが得られる。
また、本発明によれば、第8のコネクタとして、第4乃至第7に記載のコネクタにおいて、前記ホルダは、第1ホルダ及び第2ホルダを備えており、前記グランドプレートは、第1グランドプレート及び第2グランドプレートを備えており、前記第1ホルダは前記第1グランドプレートを保持する一方、前記第2ホルダは前記第2グランドプレートを保持しているコネクタが得られる。
また、本発明によれば、第9のコネクタとして、第8のコネクタにおいて、前記第1グランドプレート及び前記第2グランドプレートは、前記第1グランドプレート及び前記第2グランドプレートの夫々に形成された前記ドレイン線接続部が前記コネクタの高さ方向において互いに対向するようにして、前記第1ホルダ及び前記第2ホルダに夫々保持されているコネクタが得られる。
本発明によれば、ケーブルのドレイン線とコネクタのグランドコンタクトとをグランドプレートを介して接続することにより、ケーブルとコネクタの接続部におけるインピーダンスを整合させることができる。更に、グランドプレートにおいて、ケーブルが配置される面と反対側の面にドレイン線を接続することにより、コネクタの小型化を図ることができる。
図1、図2及び図16に示されるように、本発明の実施の形態によるコネクタ1は、ディファレンシャル伝送用ケーブル(高速信号線)2、電源Return用ケーブル3、電源供給用ケーブル4及びシングルエンデッド伝送用ケーブル(低速信号線)5をDisplayPortに接続するためのものである。ここで、電源関連のコンタクトに接続されるケーブル(電源Return用ケーブル3、電源供給用ケーブル4)としては、ケーブル自体の抵抗による電圧降下を小さくするために、比較的太いケーブルが利用される。
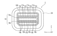
本実施の形態によるコネクタ1が接続されるDisplayPortについて詳述すると、このDisplayPortはVESA規格のものであり、10端子からなる列を2列、即ち計20端子有している。従って、コネクタ1も、DisplayPortの20端子に対応する20本のコンタクト10を備えている。詳しくは、図1及び図2に示されるように、コネクタ1は、第1コンタクト列10a及び第2コンタクト列10bを有している。図2において、Sで示されているコンタクトは高速信号用コンタクト(信号コンタクト)11a、11bを表しており、Gで示されているコンタクトはグランドコンタクト12a、12bを表しており、Dで示されているコンタクトは低速信号用コンタクト14bを表している。また、Rで示されているコンタクトは電源Return用コンタクト13aを表しており、Pで示されているコンタクトは電源供給用コンタクト13bを表している。なお、電源Return用コンタクト13aはアースの役割を果たすものであり、電位的にはグランドコンタクト12a、12bと同じにすることができる。
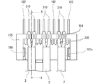
図3に示されるように、コネクタ1は、コンタクト10と、コンタクト10を整列して保持するロケータ20と、ロケータ20を保持するハウジング30と、第1グランドプレート100及び第2グランドプレート200と、第1グランドプレート100及び第2グランドプレート200を夫々保持しロケータ20に接続される第1ホルダ150及び第2ホルダ250とを備えている。
図4に示されるように、ロケータ20は、10個の溝部21を有しており、コンタクト10は、溝部21に保持され整列させられる。本実施の形態によるロケータ20は絶縁体で構成されている。そのため、コンタクト10の変形等による隣接コンタクト10同士のショートが防止される。なお、本実施の形態において、一対の高速信号コンタクト11aの両端には、グランドコンタクト12a(電源Return用コンタクト13a)が位置することになる。これにより、高速信号コンタクト11a及び11b夫々は互いに電気的にシールドされ、クロストークによる高周波特性の劣化を防ぐことができる。なお、図4に示されるロケータ20の裏側に配置される高速信号コンタクト11bの両端にもグランドコンタクト12bが位置することとなる。
図5に示されるように、第1グランドプレート100は、第1面101a及び第2面101bを有しており、更に、前方に延びる4つのグランド端子102と、第1グランドプレート100の前側端部に形成された3つのU字形状の切欠部104と、第2面101bに形成された3対の凸部108と、後方やや下向きに突出した抜止爪110とを有している。
第1ホルダ150には、4つの孔152と、3対の凹部154と、第1グランドプレート100の抜止爪110が位置するための抜止孔156とが形成されている。本実施の形態において、孔152及び凹部154は、第1ホルダ150の後方から見た場合に、左側から孔152、一対の凹部154、孔152、一対の凹部154、孔152、一対の凹部154、孔152の順に並んでいる。なお、図6に示されるように、凹部154の夫々には、一対の返し部158が形成されている。本実施の形態による第1ホルダ150は、グランド端子102が第1ホルダ150の後方から孔152に挿入された状態で、第1グランドプレート100を保持する。更に、抜止孔156内に位置した抜止爪110の端面112が抜止孔156の側面に接触することにより、第1グランドプレート100の第1ホルダ150からの脱落が防止される。
図7及び図8に示されるように、高速信号線2は、第1グランドプレート100の第1面101a上に配置され、信号導体310が第1ホルダ150から前方に突出するようにして第1ホルダ150に保持される。このとき、高速信号線2の絶縁部320は、凹部154に配置され、一対の返し部158によって凹部154内に保持される。本実施の形態による第1ホルダ150は、絶縁体にて構成することとしているため、絶縁部320を整列して支持する際に絶縁部320が損傷してショートが生じることを防ぐことができる。
図9及び図10に示されるように、本実施の形態によるドレイン線330は、第1グランドプレート100の切欠部104を通って、第1グランドプレート100の第2面101bに接続される。従って、ドレイン線330は、第1グランドプレート100のグランド端子102を介してグランドコンタクト12aに接続されることとなる。ドレイン線330は凸部108によって位置決めされ、第2面101bの所定の位置に接続される。これにより、高速信号線2の直下には、ドレイン線330が接続された第1グランドプレート100が配置することとなり、即ち、ドレイン線330と2本の高速信号線2のそれぞれとが対称の位置となり、高速信号線2と高速信号用コンタクト11aとの接続におけるインピーダンスを整合させることができ、伝送特性の劣化を防ぐことができる。加えて、ドレイン線330を、高速信号線2が配置される面と同じ面に配置した場合に比べ、幅方向(X方向)において、コネクタ1の小型化を図ることができる。
なお、電源Return用ケーブル3は、第1グランドプレート100の第2面101bに接続されている。従って、本実施の形態による電源Return用ケーブル3は、直接電源Return用コンタクト13aには接続されず、第1グランドプレート100のグランド端子102を介して電源Return用コンタクトに接続されることとなる。
図11に示されるように、本実施の形態による第2グランドプレート200は第1グランドプレートとほぼ同様の構造をしているため、重複する部分の説明は省略する。第2グランドプレート200は、2つのグランド端子202と、2つのU字切欠部204と、第2面201bに形成された2対の凸部208と、抜止爪210とを有している。
第2ホルダ250も第1ホルダ150とほぼ同様の構造を有しているため、重複する部分についての説明は省略する。第2ホルダ250には、3つの孔252と、2対の凹部254a及び3つの凹部254bと、抜止孔256とが形成されている。本実施の形態において、孔252及び凹部254は、図11において第2ホルダ250の後方から見た場合に、左側から3つの凹部254b、孔252、一対の凹部254a、孔252、一対の凹部254a、孔252の順に並んでいる。但し、後述するように、第2ホルダ250は、図に示される状態から上下反転した状態でロケータ20に接続されるため、ロケータ20接続時には、上記の順番は左右逆になる。
なお、第2ホルダ250は、電源用プレート280を保持するための保持部260及び圧入部221も備えている。本実施の形態による電源用プレート280は、電源供給用ケーブルが接続される接続部282と、第2ホルダ250の圧入部221に圧入される被圧入部284と、孔252に挿入される電源用端子286とを有している。
図12に示されるように、高速信号線2及び低速信号線5は、第2ホルダ250の凹部254a及び凹部254bに保持され、共に第2グランドプレート200の第1面201a上に配置される。
図13及び図14に示されるように、本実施の形態によるドレイン線330も、第2グランドプレート200の切欠部204を通り、凸部208によって位置決めされ、第2面201bの所定の位置に接続される。
電源供給用ケーブル4は、電源用プレート280の接続部282に接続されており、電源用端子286を介して電源用コンタクト13bに接続されている。
図15及び図16に示されるように、第1ホルダ150は、第1グランドプレート100の凸部108がZ軸方向下向きになるようにして、ロケータ20の後方に接続される。一方、第2ホルダ250は、第2グランドプレート200の凸部208がZ軸方向上向きになるようにして、ロケータ20の後方に接続される。従って、凸部108と凸部208は互いに向かい合うこととなる。なお、図15においては、理解を容易にするため、コネクタに接続されるケーブル類は省略されている。本実施の形態において、ロケータ20に整列配置されたコンタクト10に対して、グランド端子102及び202、高速信号線2及び低速信号線5が半田接続される。なお、第2ホルダ250では高速信号線2のうちの一つを低速信号線用として用いている。当該半田接続される、グランド端子102及び202、高速信号線2及び低速信号線5は夫々、第1ホルダ150及び第2ホルダ250に保持され整列させられると共に、コンタクト10もロケータ20の溝部21により整列保持されている。これにより、両者の位置合わせが容易となるため、パルスヒートによる一括半田付けを行なうことが可能となり、コスト削減を図ることができる。
本発明の実施の形態によるコネクタを示す正面図である。 図1に示されるコネクタを正面から見た場合におけるコンタクトの配置を示す図である。 本発明の実施の形態によるコネクタを示す分解斜視図である。 本実施の形態によるロケータを示す斜視図である。 本実施の形態による第1グランドプレート及び第1ホルダを示す斜視図である。 図5の第1グランドプレートが第1ホルダに保持された状態を示す部分拡大斜視図である。 図5に示される第1ホルダ及び第1グランドプレートにケーブル類が保持された状態を表す上面図である。 図7に示される第1ホルダの凹部付近の正面拡大図である。 図7に示されるものと同じ状態を表す下面図である。 図7に示される第1グランドプレート及び第1ホルダのX−X断面図である。 本実施の形態による第2グランドプレート、第2ホルダ及び電源用プレートを示す斜視図である。 図11に示される第2ホルダ及び第2グランドプレートにケーブル類が保持された状態を表す上面図である。 図12に示されるものと同じ状態を表す下面図である。 図12に示される第2グランドプレート及び第2ホルダのXIV−XIV断面図である。 本実施の形態によるコネクタを組立てた状態を示す図である、但し、コネクタに接続されるケーブルは省略されている。 本発明のコネクタにケーブルが結線された状態を表す斜視図である。
符号の説明
1 コネクタ
2 高速信号線
3 電源Return用ケーブル
4 電源供給用ケーブル
5 低速信号線
10 コンタクト
10a 第1コンタクト列
10b 第2コンタクト列
11a、11b 高速信号用コンタクト(信号コンタクト)
12a、12b グランドコンタクト
13a 電源Return用コンタクト
13b 電源供給用コンタクト
14b 低速信号用コンタクト
20 ロケータ
21 溝部
22 第1接続部
23 第2接続部
30 ハウジング
100 第1グランドプレート
101a、201a 第1面
101b、201b 第2面
102、202 グランド端子
104、204 切欠部
108、208 凸部
110、210 抜止爪
150 第1ホルダ
152、252 孔
154、254 凹部
156、256 返し
158、258 抜止孔
250 第2ホルダ
260 保持部
262 圧入部
200 第2グランドプレート
280 電源用プレート
282 接続部
284 被圧入部
286 電源用端子
310 信号導体
320 絶縁部
330 ドレイン線

Claims (9)

  1. 少なくとも複数のグランドコンタクトと、
    前記複数のグランドコンタクトを保持するハウジングと、
    前記複数のグランドコンタクトに接続される複数のグランド端子を有するグランドプレートとを備えるコネクタにおいて、
    前記グランドプレートは、第1の面及び第2の面を有しており、前記グランドプレートの前記第1の面は信号線及びドレイン線が配置される面であり、前記グランドプレートの前記第2の面は前記ドレイン線が接続されるドレイン線接続部が形成されている、
    コネクタ。
  2. 請求項1に記載のコネクタにおいて、前記信号線が接続される信号コンタクトと前記グランドコンタクトとを前記コネクタの幅方向に整列させるためのロケータを更に備えている、
    コネクタ。
  3. 請求項2に記載のコネクタにおいて、
    前記幅方向において近接するグランドコンタクトの間には、1対の前記信号コンタクトが配置されている、
    コネクタ。
  4. 請求項1乃至請求項3のいずれかに記載のコネクタにおいて、
    前記グランドプレートを保持するホルダを更に備えており、
    該ホルダは、前記信号線を保持するための凹部を有している、
    コネクタ。
  5. 請求項4に記載のコネクタにおいて、
    前記グランドプレートは抜止爪を有しており、
    前記ホルダは抜止孔を有しており、
    前記抜止爪が前記抜止孔に係止されることにより、前記グランドプレートと前記ホルダは固定されている、
    コネクタ。
  6. 請求項1乃至請求項5のいずれかに記載のコネクタにおいて、
    前記グランドプレートの端部には、U字形状の切欠部が形成されており、
    前記ドレイン線は、該切欠部を通って前記ドレイン線接続部に接続される、
    コネクタ。
  7. 請求項1乃至請求項6のいずれかに記載のコネクタにおいて、
    前記グランドプレートの前記第2の面上には、一対の凸部が、前記ドレイン線接続部を前記コネクタの幅方向において挟むようにして形成されており、
    前記ドレイン線は、前記ドレイン線接続部に接続される際に前記一対の凸部によって位置決めされる、
    コネクタ。
  8. 請求項4乃至請求項7に記載のコネクタにおいて、
    前記ホルダは、第1ホルダ及び第2ホルダを備えており、
    前記グランドプレートは、第1グランドプレート及び第2グランドプレートを備えており、
    前記第1ホルダは前記第1グランドプレートを保持する一方、前記第2ホルダは前記第2グランドプレートを保持している、
    コネクタ。
  9. 請求項8に記載のコネクタにおいて、前記第1グランドプレート及び前記第2グランドプレートは、前記第1グランドプレート及び前記第2グランドプレートの夫々に形成された前記ドレイン線接続部が前記コネクタの高さ方向において互いに対向するようにして、前記第1ホルダ及び前記第2ホルダに夫々保持されている、
    コネクタ。
JP2008213727A 2008-08-22 2008-08-22 コネクタ Expired - Fee Related JP4567079B2 (ja)

Priority Applications (4)

Application Number Priority Date Filing Date Title
JP2008213727A JP4567079B2 (ja) 2008-08-22 2008-08-22 コネクタ
TW098128008A TWI382611B (zh) 2008-08-22 2009-08-20 連接器
CN2009101662431A CN101656379B (zh) 2008-08-22 2009-08-20 连接器
US12/583,504 US7824198B2 (en) 2008-08-22 2009-08-21 Connector

Applications Claiming Priority (1)

Application Number Priority Date Filing Date Title
JP2008213727A JP4567079B2 (ja) 2008-08-22 2008-08-22 コネクタ

Publications (2)

Publication Number Publication Date
JP2010049961A true JP2010049961A (ja) 2010-03-04
JP4567079B2 JP4567079B2 (ja) 2010-10-20

Family

ID=41696793

Family Applications (1)

Application Number Title Priority Date Filing Date
JP2008213727A Expired - Fee Related JP4567079B2 (ja) 2008-08-22 2008-08-22 コネクタ

Country Status (4)

Country Link
US (1) US7824198B2 (ja)
JP (1) JP4567079B2 (ja)
CN (1) CN101656379B (ja)
TW (1) TWI382611B (ja)

Cited By (6)

* Cited by examiner, † Cited by third party
Publication number Priority date Publication date Assignee Title
JP2012049035A (ja) * 2010-08-27 2012-03-08 Tyco Electronics Japan Kk 結線構造及びケーブルコネクタ組立体
JP2014127460A (ja) * 2012-12-27 2014-07-07 3M Innovative Properties Co ケーブル整列部品およびケーブル組立体
JP2015015253A (ja) * 2014-09-02 2015-01-22 富士ゼロックス株式会社 画像送信ポート
WO2016121502A1 (ja) * 2015-01-29 2016-08-04 株式会社オートネットワーク技術研究所 通信用コネクタ
JP2016146309A (ja) * 2015-01-29 2016-08-12 株式会社オートネットワーク技術研究所 通信用コネクタ
JP2017054667A (ja) * 2015-09-09 2017-03-16 株式会社オートネットワーク技術研究所 通信用コネクタ及び電線付き通信用コネクタ

Families Citing this family (12)

* Cited by examiner, † Cited by third party
Publication number Priority date Publication date Assignee Title
JP4519182B2 (ja) * 2008-06-05 2010-08-04 日本航空電子工業株式会社 コネクタ
CN201797096U (zh) * 2010-04-19 2011-04-13 富士康(昆山)电脑接插件有限公司 线缆连接器组件
JP5212499B2 (ja) * 2010-09-08 2013-06-19 第一精工株式会社 電気コネクタ及びその製造方法
JP4976568B1 (ja) * 2011-04-18 2012-07-18 日本航空電子工業株式会社 コネクタ
JP5941374B2 (ja) * 2012-08-24 2016-06-29 矢崎総業株式会社 挿抜力軽減コネクタ
CN203481460U (zh) * 2013-08-14 2014-03-12 富士康(昆山)电脑接插件有限公司 电连接器组件
JP6330587B2 (ja) * 2014-09-04 2018-05-30 株式会社オートネットワーク技術研究所 通信用コネクタ
CN104518321B (zh) * 2014-11-27 2023-05-05 连展科技电子(昆山)有限公司 插头电连接器
JP6304059B2 (ja) * 2015-01-29 2018-04-04 株式会社オートネットワーク技術研究所 シールドコネクタ
WO2018034789A1 (en) * 2016-08-18 2018-02-22 Samtec, Inc. Direct-attach connector
TWI642237B (zh) * 2017-10-06 2018-11-21 唐虞企業股份有限公司 電連接器總成及其板端連接器與線端連接器
JP2023107606A (ja) * 2022-01-24 2023-08-03 日本航空電子工業株式会社 コネクタ・ケーブル

Citations (9)

* Cited by examiner, † Cited by third party
Publication number Priority date Publication date Assignee Title
JPH08509837A (ja) * 1993-04-26 1996-10-15 バーグ・テクノロジー・インコーポレーテッド ケーブル終端接続用ワイヤマネイジメントアダプタ
JP2001015187A (ja) * 1999-06-30 2001-01-19 Japan Aviation Electronics Industry Ltd 同軸ケーブルコネクタ
JP2002270304A (ja) * 2001-03-08 2002-09-20 Auto Network Gijutsu Kenkyusho:Kk シールドケーブルの端末処理構造及び端末処理方法
JP2002334748A (ja) * 2001-03-05 2002-11-22 Japan Aviation Electronics Industry Ltd コネクタ
JP2003109708A (ja) * 2001-09-28 2003-04-11 D D K Ltd 多芯高速信号伝送コネクタ
JP2004071231A (ja) * 2002-08-02 2004-03-04 Honda Tsushin Kogyo Co Ltd 高速伝送用コネクタ
JP2006032208A (ja) * 2004-07-20 2006-02-02 Hitachi Cable Ltd 電気コネクタ
JP2007012588A (ja) * 2005-05-31 2007-01-18 Fujitsu Component Ltd 平衡伝送用ケーブルコネクタ
JP2008041656A (ja) * 2006-07-14 2008-02-21 Japan Aviation Electronics Industry Ltd コネクタ

Family Cites Families (9)

* Cited by examiner, † Cited by third party
Publication number Priority date Publication date Assignee Title
US4826443A (en) * 1982-11-17 1989-05-02 Amp Incorporated Contact subassembly for an electrical connector and method of making same
US4605276A (en) * 1983-03-30 1986-08-12 E. I. Du Pont De Nemours And Company Two row coaxial cable connector
US4984992A (en) * 1989-11-01 1991-01-15 Amp Incorporated Cable connector with a low inductance path
SG55278A1 (en) * 1996-03-01 1998-12-21 Molex Inc System for terminating the shield of a high speed cable
US6217372B1 (en) * 1999-10-08 2001-04-17 Tensolite Company Cable structure with improved grounding termination in the connector
JP3564556B2 (ja) * 2001-10-02 2004-09-15 日本航空電子工業株式会社 コネクタ
US6489563B1 (en) * 2001-10-02 2002-12-03 Hon Hai Precision Ind. Co., Ltd. Electrical cable with grounding sleeve
TWI323958B (en) * 2006-07-14 2010-04-21 Japan Aviation Electron Electrical component with contact terminal portions arranged in generally trapezoidal shape
TWM309274U (en) * 2006-09-06 2007-04-01 Mau-Lin Huang Improved structure of the signal line connector of computer host

Patent Citations (9)

* Cited by examiner, † Cited by third party
Publication number Priority date Publication date Assignee Title
JPH08509837A (ja) * 1993-04-26 1996-10-15 バーグ・テクノロジー・インコーポレーテッド ケーブル終端接続用ワイヤマネイジメントアダプタ
JP2001015187A (ja) * 1999-06-30 2001-01-19 Japan Aviation Electronics Industry Ltd 同軸ケーブルコネクタ
JP2002334748A (ja) * 2001-03-05 2002-11-22 Japan Aviation Electronics Industry Ltd コネクタ
JP2002270304A (ja) * 2001-03-08 2002-09-20 Auto Network Gijutsu Kenkyusho:Kk シールドケーブルの端末処理構造及び端末処理方法
JP2003109708A (ja) * 2001-09-28 2003-04-11 D D K Ltd 多芯高速信号伝送コネクタ
JP2004071231A (ja) * 2002-08-02 2004-03-04 Honda Tsushin Kogyo Co Ltd 高速伝送用コネクタ
JP2006032208A (ja) * 2004-07-20 2006-02-02 Hitachi Cable Ltd 電気コネクタ
JP2007012588A (ja) * 2005-05-31 2007-01-18 Fujitsu Component Ltd 平衡伝送用ケーブルコネクタ
JP2008041656A (ja) * 2006-07-14 2008-02-21 Japan Aviation Electronics Industry Ltd コネクタ

Cited By (9)

* Cited by examiner, † Cited by third party
Publication number Priority date Publication date Assignee Title
JP2012049035A (ja) * 2010-08-27 2012-03-08 Tyco Electronics Japan Kk 結線構造及びケーブルコネクタ組立体
JP2014127460A (ja) * 2012-12-27 2014-07-07 3M Innovative Properties Co ケーブル整列部品およびケーブル組立体
JP2015015253A (ja) * 2014-09-02 2015-01-22 富士ゼロックス株式会社 画像送信ポート
WO2016121502A1 (ja) * 2015-01-29 2016-08-04 株式会社オートネットワーク技術研究所 通信用コネクタ
JP2016146309A (ja) * 2015-01-29 2016-08-12 株式会社オートネットワーク技術研究所 通信用コネクタ
US10148039B2 (en) 2015-01-29 2018-12-04 Autonetworks Technologies, Ltd. Communication connector
JP2017054667A (ja) * 2015-09-09 2017-03-16 株式会社オートネットワーク技術研究所 通信用コネクタ及び電線付き通信用コネクタ
WO2017043435A1 (ja) * 2015-09-09 2017-03-16 株式会社オートネットワーク技術研究所 通信用コネクタ及び電線付き通信用コネクタ
US10367306B2 (en) 2015-09-09 2019-07-30 Autonetworks Technologies, Ltd. Communication connector and communication connector with wires

Also Published As

Publication number Publication date
US7824198B2 (en) 2010-11-02
US20100048045A1 (en) 2010-02-25
TW201021321A (en) 2010-06-01
CN101656379A (zh) 2010-02-24
JP4567079B2 (ja) 2010-10-20
CN101656379B (zh) 2013-03-27
TWI382611B (zh) 2013-01-11

Similar Documents

Publication Publication Date Title
JP4567079B2 (ja) コネクタ
US8157573B2 (en) Connector
US7651379B1 (en) Cable assembly with improved termination disposition
US10490958B2 (en) Connector
US9450343B2 (en) Differential signal connector capable of reducing skew between a differential signal pair
US8025532B2 (en) Connector and electronic equipment
TWI544699B (zh) 具可分離接觸之電氣連接器
US9093792B2 (en) Connector and signal transmission method using the same
US8944830B2 (en) Connector with differently arranged contact mounting portions and connector assembly have two such connectors belly-to-belly mounted to a circuit board
JP3145209U (ja) ソケットコネクタ
US20090191763A1 (en) Electrical connector assembly
US6910922B2 (en) Connector in which occurrence of crosstalk is suppressed by a ground contact
US7789678B2 (en) Multipolar connector and portable radio terminal or small-sized electronic device using multipolar connector
US7462059B2 (en) Connector
JP2016110966A (ja) コンタクト及び該コンタクトを使用するコネクタ
JP2007214139A (ja) レセプタクルの実装構造
CN102751626B (zh) 连接器部件
JP2007115707A (ja) レセプタクル
US8007294B2 (en) Connector
TW200841540A (en) Electrical plug-in connector
JP2009295450A (ja) コネクタ
US7892037B2 (en) Connector unit provided with connector having first and second contacts of different lengths and with mating connector having first and second mating contacts of different lengths
JP4331990B2 (ja) コネクタおよびそれを用いた液晶表示装置
JP4358269B2 (ja) 電子部品モジュール
CN117477250A (zh) 电连接器

Legal Events

Date Code Title Description
A977 Report on retrieval

Free format text: JAPANESE INTERMEDIATE CODE: A971007

Effective date: 20100604

A131 Notification of reasons for refusal

Free format text: JAPANESE INTERMEDIATE CODE: A131

Effective date: 20100610

A521 Written amendment

Free format text: JAPANESE INTERMEDIATE CODE: A523

Effective date: 20100702

TRDD Decision of grant or rejection written
A01 Written decision to grant a patent or to grant a registration (utility model)

Free format text: JAPANESE INTERMEDIATE CODE: A01

Effective date: 20100729

A01 Written decision to grant a patent or to grant a registration (utility model)

Free format text: JAPANESE INTERMEDIATE CODE: A01

A61 First payment of annual fees (during grant procedure)

Free format text: JAPANESE INTERMEDIATE CODE: A61

Effective date: 20100804

R150 Certificate of patent or registration of utility model

Free format text: JAPANESE INTERMEDIATE CODE: R150

FPAY Renewal fee payment (event date is renewal date of database)

Free format text: PAYMENT UNTIL: 20130813

Year of fee payment: 3

FPAY Renewal fee payment (event date is renewal date of database)

Free format text: PAYMENT UNTIL: 20130813

Year of fee payment: 3

FPAY Renewal fee payment (event date is renewal date of database)

Free format text: PAYMENT UNTIL: 20130813

Year of fee payment: 3

R250 Receipt of annual fees

Free format text: JAPANESE INTERMEDIATE CODE: R250

R250 Receipt of annual fees

Free format text: JAPANESE INTERMEDIATE CODE: R250

R250 Receipt of annual fees

Free format text: JAPANESE INTERMEDIATE CODE: R250

LAPS Cancellation because of no payment of annual fees