JP2010048273A - クリップ - Google Patents

クリップ Download PDF

Info

Publication number
JP2010048273A
JP2010048273A JP2008210685A JP2008210685A JP2010048273A JP 2010048273 A JP2010048273 A JP 2010048273A JP 2008210685 A JP2008210685 A JP 2008210685A JP 2008210685 A JP2008210685 A JP 2008210685A JP 2010048273 A JP2010048273 A JP 2010048273A
Authority
JP
Japan
Prior art keywords
clip
stud
claw portion
stud bolt
pressing
Prior art date
Legal status (The legal status is an assumption and is not a legal conclusion. Google has not performed a legal analysis and makes no representation as to the accuracy of the status listed.)
Granted
Application number
JP2008210685A
Other languages
English (en)
Other versions
JP5075057B2 (ja
Inventor
Yoshimi Kitaoka
義視 北岡
Hiroshi Sugimoto
浩 杉本
Naoki Ito
直樹 伊藤
Current Assignee (The listed assignees may be inaccurate. Google has not performed a legal analysis and makes no representation or warranty as to the accuracy of the list.)
Toyota Motor Corp
Nippon Stud Welding Co Ltd
Original Assignee
Toyota Motor Corp
Nippon Stud Welding Co Ltd
Priority date (The priority date is an assumption and is not a legal conclusion. Google has not performed a legal analysis and makes no representation as to the accuracy of the date listed.)
Filing date
Publication date
Application filed by Toyota Motor Corp, Nippon Stud Welding Co Ltd filed Critical Toyota Motor Corp
Priority to JP2008210685A priority Critical patent/JP5075057B2/ja
Publication of JP2010048273A publication Critical patent/JP2010048273A/ja
Application granted granted Critical
Publication of JP5075057B2 publication Critical patent/JP5075057B2/ja
Expired - Fee Related legal-status Critical Current
Anticipated expiration legal-status Critical

Links

Images

Landscapes

  • Snaps, Bayonet Connections, Set Pins, And Snap Rings (AREA)

Abstract

【課題】クリップがスタッドに対して傾斜して挿入されても嵌合不具合を発生させず、正常に被取付部品を取付面に取り付けるクリップを提供する。
【解決手段】本クリップ1は、該クリップ1がスタッドボルト4に対して傾いて挿入される際に、スタッドボルト4の先端外周縁に当接して、弾性爪部19及び固定爪部18のねじ部5への噛み込みを規制するガイド部10を備えたので、クリップ1がスタッドボルト4に対して傾斜して挿入されたとしても、ガイド部10にスタッドボルト4の先端外周縁が当接することで、弾性爪部19及び固定爪部18のねじ部5への噛み込みが規制され、本クリップ1により被取付部品2が正常に取付面3に取り付けられる。
【選択図】図3

Description

本発明は、取付面から延び被取付部品に挿通されるスタッドの外周面に設けられた突条部に嵌合して、前記被取付部品を前記取付面に取り付けるクリップに関するものである。
一般に、例えば、自動車の車室等において、カーペット(被取付部品)等は、車体の床面(取付面)から延びカーペットに挿通されたスタッドボルト(スタッド)のねじ部(突条部)に、クリップを嵌合させて床面に取り付けられている。
次に、従来のクリップ50を図5及び図6に基づいて説明する(特許文献1)。
従来のクリップ50は、図5に示すように、被取付部品2を弾性的に押圧する押圧部7と、該押圧部7の挿通孔6側に付勢され、スタッドボルト4のねじ部5に係止される係止爪部19及び該係止爪部19と対向する位置に配置される係止爪部18と、該係止爪部19を挿通孔6から遠ざけた位置で係止すると共に、押圧部7を被取付部品2に対する弾性的な押圧を規制した状態で係止するロック部11とを備えている。
また、従来のクリップ50には、図5に示すように、押圧部7の一端(図視右端)から連続して湾曲部15を経て挿通孔6側を開放するコ字状に折り曲げられた嵌合部51が形成される。該嵌合部51の一方の側壁部52(図視右側)には、スタッドボルト4が挿通される矩形状の開口部54が形成されると共に、該開口部54の内壁面で湾曲部15側に位置する短手側内壁面に係止爪部18が突設される。一方、嵌合部51の他方の側壁部53(図視左側)には、下辺だけを除いてコ字状に切り抜かれた切抜片が、下辺から嵌合部51の内方に向って折り曲げられて構成される係止爪部19が備えられる。また、ロック部11は、嵌合部51の他方の側壁部53の先端から外方に折り曲げられた外側フック部20及び押圧部7の他端(図視左端)から連続して嵌合部51側に立設される立設部21に設けたロック孔22からなり、外側フック部20を立設部21のロック孔22に引っ掛けると、係止爪部19が挿通孔6から遠ざかった位置で係止された状態となる。
そして、従来のクリップ50を、ロック部11によりロックされた状態で、押圧部7の挿通孔6及び嵌合部51の開口部54にスタッドボルト4を挿入して、嵌合部51の天板部55の上面を押しながら押圧部7を被取付部品2に着座させる。次に、嵌合部51の天板部55の上面でややロック部11側を押圧して外側フック部20をロック孔22から離脱させてロック部11を解除する。すると、係止爪部19及び係止爪部18がスタッドボルト4のねじ部5に係止されると共に、押圧部7が弾性的に被取付部品2を取付面3に押圧することで、被取付部品2が取付面3に取り付けられる。
特開2008−32115号公報
しかしながら、上述した従来のクリップ50では、嵌合部51がスタッドボルト4の軸心からロック部11側にずれて配置されているために、図6(a)及び(b)に示すように、クリップ50の押圧部7の挿通孔6及び嵌合部51の開口部54にスタッドボルト4を挿入し、嵌合部51の天板部55の上面を押して、押圧部7を被取付部品2に着座させようとすると、クリップ50がスタッドボルト4の軸方向に対して、ロック部11側が被取付部品2に近接するように傾いてしまい(図6(b)の矢印の方向)、係止爪部18がスタッドボルト4のねじ部5に噛み込まれた状態となる。
その後、さらにクリップ50の嵌合部51の天板部55を押圧し続けると、図6(c)に示すように、係止爪部18がスタッドボルト4のねじ部5に順次噛み込みながらスライドし、最終的に、クリップ50は、係止爪部18がスタッドボルト4の適宜高さのねじ部5に噛み込んだ状態で、ロック部11側の押圧部7の一部が被取付部品2に接触して停止する。
その結果、クリップ50の押圧部7が被取付部品2に対して傾斜したまま停止して、押圧部7と被取付部品2との間に隙間が生じるようになる。
そして、作業者は、図6(c)に示すように、クリップ50の押圧部7が正常に被取付部品2に着座していないのにも関わらず、押圧部7が正常に被取付部品2に着座したものと勘違いしてクリップ50の嵌合部51の天板部55を押圧してロック部11を解除し、係止爪部19及び係止爪部18をスタッドボルト4のねじ部5に係止させてしまうため、クリップ50の嵌合不具合を発生させていた。
本発明は、かかる点に鑑みてなされたものであり、クリップがスタッドに対して傾斜して挿入されても嵌合不具合を発生させず、被取付部品を正常に取付面に取り付けることのできるクリップを提供することを目的とする。
上記課題を解決するために、本発明のクリップは、スタッドの挿通孔を有し、被取付部品を弾性的に押圧する押圧部と、前記スタッドの突条部に係止される係止爪部と、前記クリップが前記スタッドに対して傾いて挿入される際に、前記係止爪部の前記突条部への噛み込みを規制するガイド部と、を備えていることを特徴としている。
これにより、クリップがスタッドに対して傾斜して挿入されても嵌合不具合が発生せず、被取付部品を正常に取付面に取り付けることができる。
なお、本発明のクリップの各種態様およびそれらの作用については、以下の発明の態様の項において詳しく説明する。
(発明の態様)
以下に、本願において特許請求が可能と認識されている発明(以下、「請求可能発明」という場合がある。)の態様をいくつか例示し、それらについて説明する。なお、各態様は、請求項と同様に、項に区分し、各項に番号を付して、必要に応じて他の項を引用する形式で記載する。これは、あくまでも請求可能発明の理解を容易にするためであり、請求可能発明を構成する構成要素の組み合わせを、以下の各項に記載されたものに限定する趣旨ではない。つまり、請求可能発明は、各項に付随する記載、実施の形態等を参酌して解釈されるべきであり、その解釈に従う限りにおいて、各項の態様にさらに他の構成要件を付加した態様も、また、各項の態様から構成要件を削除した態様も、請求可能発明の一態様となり得るのである。なお、以下の各項において、(1)項、(2)項、(4)項、(5)項、(7)項の各々が、請求項1〜5の各々に相当する。
(1)取付面から延び被取付部品に挿通されるスタッドの外周面に設けられた突条部に嵌合して、前記被取付部品を前記取付面に取り付けるクリップであって、該クリップは、前記スタッドの挿通孔を有し、前記被取付部品を弾性的に押圧する押圧部と、前記スタッドの突条部に係止される係止爪部と、前記クリップが前記スタッドに対して傾いて挿入される際に、前記係止爪部の前記突条部への噛み込みを規制するガイド部と、を備えていることを特徴とするクリップ。
従って、(1)項のクリップでは、クリップがスタッドに対して傾斜して挿入されたとしても、ガイド部がスタッドの先端外周縁に当接することで係止爪部がスタッドの突条部から離れて、係止爪部の突条部への噛み込みが規制される。
(2)前記押圧部の挿通孔から延出した前記スタッドを覆うコ字状の嵌合部を備えていることを特徴とする(1)項に記載のクリップ。
従って、(2)項のクリップでは、従来のクリップのように、外部にスタッドが露出しないので安全性が向上し、また、従来よりも、作業者の把持可能な部位が大きくなり、しかも、ロック解除の際の押圧面が大きくなるのでその取り扱いが非常に便利になる。
(3)前記嵌合部の天板部の中心は、スタッドの軸心に略一致することを特徴とする(2)項に記載のクリップ。
従って、(3)項のクリップでは、クリップ取付の際の取付姿勢が安定し、ロック解除の際の、嵌合部の天板部への押圧力を低減させることができる。
(4)前記ガイド部は、前記嵌合部の一方の側壁部の内壁面であることを特徴とする(2)項または(3)項に記載のクリップ。
従って、(4)項のクリップでは、構造が簡素化される。
(5)前記係止爪部は、前記突条部を弾性的に押圧する弾性爪部と、該弾性爪部と協働で前記スタッドの突条部を両側から挟み込むように配置される固定爪部とからなり、前記ガイド部は、前記弾性爪部及び固定爪部の前記突条部への噛み込みを規制することを特徴とする(1)項〜(4)項のいずれかに記載のクリップ。
従って、(5)項のクリップでは、スタッドの突条部には、その両側から弾性爪部及び固定爪部が係止されるのでクリップの嵌合力が向上し、被取付部品が強固に取付面に取り付けられる。
(6)前記押圧部の挿通孔にスタッドを挿入して、前記押圧部を前記被取付部品に着座させるまでの間、前記弾性爪部を前記挿通孔から離れた位置にロックするロック部を備えていることを特徴とする(1)項〜(5)項のいずれかに記載のクリップ。
従って、(6)項のクリップでは、ロック部を解除した際、弾性爪部及び押圧部の弾性を有効に利用することができ、被取付部品を取付面に強固に取り付けることができる。
(7)前記クリップは、一枚の板材を折り曲げて構成されることを特徴とする(1)項〜(6)項のいずれかに記載のクリップ。
従って、(7)項のクリップでは、クリップの製造が簡素化される。
本発明によれば、クリップがスタッドに対して傾斜して挿入されても嵌合不具合を発生させず、被取付部品を正常に取付面に取り付けることのできるクリップを提供することができる。
以下、本発明を実施するための最良の形態を図1〜図4に基いて詳細に説明する。なお、従来例と同一部材及び相当部材は同一符号を使用して説明する。
本発明の実施の形態に係るクリップ1は、上述したように、自動車の車室等において、カーペット(被取付部品2)等を、車体の床面(取付面3)に取り付けるために使用されるものであり、詳細には、本クリップ1を、図1〜図3に示すように、取付面3から延び被取付部品2に挿通されるスタッドボルト4(スタッド)の外周面に設けられたねじ部5(突条部)に嵌合させることで、被取付部品2を取付面3に取り付けるものである。
本発明の実施の形態に係るクリップ1は、図1〜図3に示すように、スタッドボルト4の挿通孔6を有し、被取付部品2を弾性的に押圧する押圧部7と、スタッドボルト4のねじ部5に係止される係止爪部8(弾性爪部19及び固定爪部18)と、押圧部7の挿通孔6をスタッドボルト4に挿入する際に、クリップ1がスタッドボルト4に対して傾斜して挿入された場合、スタッドボルト4の先端外周縁に当接して、係止爪部8のねじ部5への噛み込みを規制するガイド部10とを備えている。
さらに、本発明の実施の形態に係るクリップ1を図1〜図3に基いて詳細に説明する。
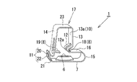
本クリップ1は、図1に示すように、略矩形状(帯状)のバネ鋼を折り曲げて成形されている。なお、図1は、本クリップ1の成形状態を示す斜視図であり、図2は、本クリップ1の使用する前の状態を示し、後述するロック部11により弾性爪部19が挿通孔6から離れた位置に配置された状態の斜視図である。
本クリップ1は、図1〜図3に示すように、スタッドボルト4の挿通孔6を有し、被取付部品2を弾性的に押圧する押圧部7と、該押圧部7の一端(図2で図視右端)から連続して、被取付部品2側とは反対側に湾曲するように延びる湾曲部15と、該湾曲部15から連続して、押圧部7の挿通孔6側に向かって押圧部7と略平行(図2のロック状態にて)に延びる延設部16と、該延設部16から連続して、押圧部7側を開放するコ字状に折り曲げられ、挿通孔6から延出したスタッドボルト4を覆う嵌合部17と、該嵌合部17内に対向するように突設され、スタッドボルト4のねじ部5に係止される固定爪部18及び弾性爪部19(係止爪部8)と、嵌合部17の他方(図2で図視左側)の側壁部14の先端から外方に折り曲げられた外側フック部20及び押圧部7の他端(図2で図視左端)から連続して嵌合部17側に立設された立設部21に設けたロック孔22からなるロック部11と、固定爪部18側の嵌合部17の一方(図2で図視右側)の側壁部13の内壁面13aで構成されるガイド部10とから構成されている。
押圧部7は、図2及び図3に示すように、平面視略矩形状に形成され、略中央にスタッドボルト4が挿通される挿通孔6が形成されている。この挿通孔6の内壁面から截頭円錐状壁部が立ち上がっている。
湾曲部15は、押圧部7の一端から同じ幅で連続して、被取付部品2側とは反対側に円弧状に延設されている。また、延設部16は、湾曲部15の先端から同じ幅で連続して、挿通孔6付近まで延設されている。
なお、押圧部7と延設部16とは、図1に示すクリップ1の成形状態(ロック解除時と同じ)では、湾曲部15を支点にハ字状に拡開するように延び、また、図2に示すクリップ1の使用する前の状態すなわちロック状態では、略平行に延びる。
嵌合部17は、延設部16から小湾曲部12を介して同じ幅で連続して延設され、押圧部7の挿通孔6側を開放して、挿通孔6に挿通されたスタッドボルト4を覆うコ字状に折り曲げられて構成される。
なお、図2に示すクリップ1の使用する前の状態、すなわちロック状態では、嵌合部17の対向する側壁部13、14間の距離は、挿通孔6の内径よりも大きく形成されている。また、ロック状態では、嵌合部17の天板部23の中心と、押圧部7の挿通孔6の中心とがスタッドボルト4の軸方向で略一致し、その結果、嵌合部17の天板部23の中心は、スタッドボルト4の軸心と略一致するようになる。
また、嵌合部17と延設部16とは、若干挿通孔6側に突出する湾曲状の小湾曲部12で接続されている。該小湾曲部12の幅方向中央には、側面視で略矩形状の長孔12aが形成されている。長孔12aの幅はスタッドボルト4の外径よりも若干大きく形成されている。
係合爪部8は、図2及び図4に示すように、スタッドボルト4のねじ部5を弾性的に押圧する弾性爪部19と、該弾性爪部19と協働でスタッドボルト4のねじ部5を両側から挟み込むように配置される固定爪部18とからなる。
弾性爪部19は、図2に示すように、嵌合部17の他方の側壁部14の幅方向中央を下辺を残して略コ字状に切り抜いた略矩形状の切抜片を、下辺から嵌合部17の内方に向かって折り曲げて構成され、その先端は湾曲状またはく字状で内方に凹んでいる。
固定爪部18は、図4に示すように、小湾曲部12に設けた長孔12aの内壁面で、延設部16側の内壁面から嵌合部17の内方に向って突設されて構成されており、その先端は湾曲状またはく字状で内方に凹んでいる。
なお、弾性爪部19の先端と固定爪部18の先端との間の間隔は、図1に示すクリップ1の成形状態では、嵌合部17の対向する側壁部13、14が互いに近接しているために挿通孔6の内径よりもはるかに小さくなっている。また、図2に示すクリップ1の使用する前の状態、すなわちロック状態では、弾性爪部19の先端と固定爪部18の先端との間の間隔は、挿通孔6の内径よりも大きくなっている。さらに、図2に示すロック状態では、固定爪部18が弾性爪部19よりも嵌合部17の天板部23側に配置される。
ガイド部10は、図2〜図4に示すように、クリップ1がスタッドボルト4に対して傾いた状態で挿入される際、詳しくは、クリップ1のロック部11が被取付部品2に近接するように傾いて挿入される際、スタッドボルト4の先端外周縁に当接して、弾性爪部19及び固定爪部18のねじ部5への噛み込みを規制するもので、ガイド部10は、図2に示すように、嵌合部17の固定爪部18が形成される側の一方の側壁部13の内壁面13aに相当する。
なお、図2に示すロック状態では、固定爪部18の先端が、ガイド部10、すなわち、嵌合部17の一方の側壁部13の内壁面13aよりも挿通孔6側に位置している。
ロック部11は、図2に示すように、嵌合部17の他方の側壁部14の端部を外方に折り曲げて設けた外側フック部20と、押圧部7の他端から連続して立設させた立設部21に設けたロック孔22とからなる。当然ながら、外側フック部20は、嵌合部17の幅長よりも幅狭で、ロック孔22に挿入できる幅長を有している。
そして、外側フック部20を立設部21のロック孔22に引っ掛けると、図2に示す使用する前のロック状態となる。
次に、被取付部品2を取付面3に取り付ける際の本発明の実施の形態に係るクリップ1の作用を図3及び図4に基いて説明する。特に、クリップ1がスタッドボルト4に対して傾いた状態で挿入される際の作用を説明する。
まず、クリップ1を、図1に示す成型状態から外側フック部20をロック孔22に引っ掛け、図2に示すように、弾性爪部19を挿通孔6から離れた位置に配置させたロック状態にする。
その後、図3(a)に示すように、クリップ1の押圧部7の挿通孔6にスタッドボルト4を挿入して、クリップ1の嵌合部17の天板部23を押圧して、図3(b)に示すように、クリップ1がそのロック部11が被取付部品2に近接するように傾斜して挿入されると、図3(b)及び図4に示すように、ガイド部10に相当する嵌合部17の一方の側壁部13の内壁面13aが、スタッドボルト4の先端外周縁に当接することで、弾性爪部19及び固定爪部18と、ねじ部5との間に隙間が設けられ、弾性爪部19及び固定爪部18のねじ部5への噛み込みが規制される。
その後、クリップ1の嵌合部17の天板部23の上面を押圧し続けると、クリップ1は、ガイド部10がスタッドボルト4の先端外周縁に当接されつつ、弾性爪部19及び固定爪部18のねじ部5への噛み込みが規制されながら被取付部品2側にスライドし、最終的に、図3(c)に示すように、クリップ1は、その押圧部7と被取付部品2との間に隙間が形成されることなく正常に被取付部品2に着座される。
そして、クリップ1の、嵌合部17の天板部23の上面でややロック部11側を押圧して、外側フック部20をロック孔22から離脱させると共に、押圧部7を被取付部品2に押し付ける。すると、図3(c)に示すように、弾性爪部19がスタッドボルト4のねじ部5側に弾性により移動して、弾性爪部19と固定爪部18とでスタッドボルト4のねじ部5を挟み込み、弾性爪部19と固定爪部18とがねじ部5により係止される。
その結果、弾性爪部19が、スタッドボルト4のねじ部5を弾性的に押圧すると共に、押圧部7も被取付部品2を弾性的に押圧するので、クリップ1により被取付部品2が強固に取付面3に取り付けられる。
以上説明したように、本発明の実施の形態に係るクリップ1では、特に、クリップ1の押圧部7がスタッドボルト4に対して傾いて挿入される際、スタッドボルト4の先端外周縁に当接して、弾性爪部19及び固定爪部18のねじ部5への噛み込みを規制するガイド部10、すなわち、嵌合部17の固定爪部18が形成される側の一方の側壁部13の内壁面13aを備えたので、クリップ1が、スタッドボルト4に対して傾斜して挿入されたとしても、ガイド部10に相当する嵌合部17の一方の側壁部13の内壁面13aがスタッドボルト4の先端外周縁に当接することで、弾性爪部19及び固定爪部18がねじ部5から離れて、弾性爪部19及び固定爪部18のねじ部5への噛み込みが規制される。
これにより、クリップ1の押圧部7と、被取付部品2との間に隙間が無くクリップ1の押圧部7が被取付部品2上に正常に着座し、その後、ロック部11を解除すれば、弾性爪部19と固定爪部18とがスタッドボルト4のねじ部5に係止されて、クリップ1により被取付部品2が正常に取付面3に取り付けられる。
また、本発明の実施の形態に係るクリップ1では、押圧部7の挿通孔6から延出したスタッドボルト4を覆う嵌合部17を形成しており、図6に示す従来のクリップ50のように、外部にスタッドボルト4が露出していないので安全性が向上する。また、本クリップ1では、従来よりも、作業者の把持可能な部位が大きくなり、しかも、ロック解除時の嵌合部17の天板部23の押圧面が大きくなったのでその取り扱いが非常に便利になった。
さらに、本発明の実施の形態に係るクリップ1では、押圧部7の挿通孔6にスタッドボルト4が挿入された際、スタッドボルト4の軸心が、クリップ1の嵌合部17の天板部23の中心に略一致するので、クリップ1の取付けの際その取付姿勢が安定し、ロック解除の際の、嵌合部17の天板部23への押圧力を低減させることができる。
なお、以上の説明では、本クリップ1の作用として、該クリップ1がスタッドボルト4に対して傾斜して挿入された場合を想定して説明したが、本クリップ1が、スタッドボルト4と略平行に挿入された場合、固定爪部18または弾性爪部19がスタッドボルト4のねじ部5に干渉する虞があるが、クリップ1の嵌合部17の上面を、スタッドボルト4と略平行になるように押圧し続ければ、固定爪部18または弾性爪部19はねじ部5を乗り越えるように被取付部品2側にスライドして、クリップ4の押圧部7が被取付部品2との間に隙間が生じることなく正常に着座される。
また、本クリップ1により被取付部品2を取付面3に取り付ける際、作業者は、作業環境等からクリップ1をスタッドボルト4と略平行に挿入することが極めて難しく、スタッドボルト4に対して傾斜して挿入されることが大半であるため、本クリップ1が、特に有効になる。
図1は、本発明の実施の形態に係るクリップの成型状態を示す斜視図である。 図2は、本発明の実施の形態に係るクリップの使用する前の状態を示す斜視図である。 図3は、本クリップをスタッドボルトのねじ部に嵌合させる様子を段階的に示した図である。 図4は、図3(b)のA部の拡大図である。 図5は、従来のクリップで、使用する前の状態を示す斜視図である。 図6は、従来のクリップをスタッドボルトのねじ部に嵌合させる様子を段階的に示した図である。
符号の説明
1 クリップ,2 被取付部品,3 取付面,4 スタッドボルト(スタッド),5 ねじ部(突条部),6 挿通孔,7 押圧部,8 係止爪部,10 ガイド部,11 ロック部,13 一方の側壁部,13a 内壁面,17 嵌合部,18 固定爪部,19 弾性爪部,20 外側フック部,21 ロック孔,23 天板部

Claims (5)

  1. 取付面から延び被取付部品に挿通されるスタッドの外周面に設けられた突条部に嵌合して、前記被取付部品を前記取付面に取り付けるクリップであって、
    該クリップは、前記スタッドの挿通孔を有し、前記被取付部品を弾性的に押圧する押圧部と、
    前記スタッドの突条部に係止される係止爪部と、
    前記クリップが前記スタッドに対して傾いて挿入される際に、前記係止爪部の前記突条部への噛み込みを規制するガイド部と、
    を備えていることを特徴とするクリップ。
  2. 前記押圧部の挿通孔から延出した前記スタッドを覆うコ字状の嵌合部を備えていることを特徴とする請求項1に記載のクリップ。
  3. 前記ガイド部は、前記嵌合部の一方の側壁部の内壁面であることを特徴とする請求項2に記載のクリップ。
  4. 前記係止爪部は、前記突条部を弾性的に押圧する弾性爪部と、該弾性爪部と協働で前記スタッドの突条部を両側から挟み込むように配置される固定爪部とからなり、前記ガイド部は、前記弾性爪部及び固定爪部の前記突条部への噛み込みを規制することを特徴とする請求項1〜3のいずれかに記載のクリップ。
  5. 前記クリップは、一枚の板材を折り曲げて構成されることを特徴とする請求項1〜4のいずれかに記載のクリップ。
JP2008210685A 2008-08-19 2008-08-19 クリップ Expired - Fee Related JP5075057B2 (ja)

Priority Applications (1)

Application Number Priority Date Filing Date Title
JP2008210685A JP5075057B2 (ja) 2008-08-19 2008-08-19 クリップ

Applications Claiming Priority (1)

Application Number Priority Date Filing Date Title
JP2008210685A JP5075057B2 (ja) 2008-08-19 2008-08-19 クリップ

Publications (2)

Publication Number Publication Date
JP2010048273A true JP2010048273A (ja) 2010-03-04
JP5075057B2 JP5075057B2 (ja) 2012-11-14

Family

ID=42065528

Family Applications (1)

Application Number Title Priority Date Filing Date
JP2008210685A Expired - Fee Related JP5075057B2 (ja) 2008-08-19 2008-08-19 クリップ

Country Status (1)

Country Link
JP (1) JP5075057B2 (ja)

Cited By (2)

* Cited by examiner, † Cited by third party
Publication number Priority date Publication date Assignee Title
JP2014220927A (ja) * 2013-05-09 2014-11-20 矢崎総業株式会社 クリップ
JP2019170051A (ja) * 2018-03-23 2019-10-03 株式会社Subaru ハーネスクリップおよびその保持方法

Citations (6)

* Cited by examiner, † Cited by third party
Publication number Priority date Publication date Assignee Title
JPS63101381U (ja) * 1986-12-19 1988-07-01
JPS63145011U (ja) * 1987-03-16 1988-09-26
JP2006070973A (ja) * 2004-09-01 2006-03-16 Toyota Motor Corp クリップ
JP2006070974A (ja) * 2004-09-01 2006-03-16 Toyota Motor Corp 取付具
JP2008032115A (ja) * 2006-07-28 2008-02-14 Toyota Motor Corp クリップ
JP2008144782A (ja) * 2006-12-06 2008-06-26 Piolax Inc 締結具

Patent Citations (6)

* Cited by examiner, † Cited by third party
Publication number Priority date Publication date Assignee Title
JPS63101381U (ja) * 1986-12-19 1988-07-01
JPS63145011U (ja) * 1987-03-16 1988-09-26
JP2006070973A (ja) * 2004-09-01 2006-03-16 Toyota Motor Corp クリップ
JP2006070974A (ja) * 2004-09-01 2006-03-16 Toyota Motor Corp 取付具
JP2008032115A (ja) * 2006-07-28 2008-02-14 Toyota Motor Corp クリップ
JP2008144782A (ja) * 2006-12-06 2008-06-26 Piolax Inc 締結具

Cited By (3)

* Cited by examiner, † Cited by third party
Publication number Priority date Publication date Assignee Title
JP2014220927A (ja) * 2013-05-09 2014-11-20 矢崎総業株式会社 クリップ
JP2019170051A (ja) * 2018-03-23 2019-10-03 株式会社Subaru ハーネスクリップおよびその保持方法
JP7048373B2 (ja) 2018-03-23 2022-04-05 株式会社Subaru ハーネスクリップおよびその保持方法

Also Published As

Publication number Publication date
JP5075057B2 (ja) 2012-11-14

Similar Documents

Publication Publication Date Title
US9783083B2 (en) Vehicle seat slide device
US7401387B2 (en) Clip for joining structural parts and fastening systems using a clip
JP6674118B2 (ja) 車室内側に装着される内装品の取付構造
JP6583243B2 (ja) ベルトモール取付構造
JP6255033B2 (ja) 止め具
US8777281B2 (en) Outside handle device for vehicle door
JP2012092971A (ja) 長尺物用取付け具
JP2005351462A (ja) クリップ
US7628447B2 (en) Harness clip
US10099589B2 (en) Headrest guide
US20180272413A1 (en) Frame molding
WO2011004823A1 (ja) 外装部材の取付構造及びクリップ
JP5075057B2 (ja) クリップ
JP2004040879A (ja) 電気接続箱の取付構造
JP6243701B2 (ja) 取付部材の取付構造
JP4950674B2 (ja) クリップ
JP5138450B2 (ja) 二部材組み付け構造
JP5762173B2 (ja) 留め具
JP2006220180A (ja) 部材ロック構造
JP4271222B2 (ja) ルーフモール用キャップ及びその取付構造
JP7406954B2 (ja) 車両内装部材の取付装置
JP2007022241A (ja) バンパ取付構造
JP2008032115A (ja) クリップ
JP4891279B2 (ja) 二部材組付け構造
JP2011134520A (ja) コネクタとクリップの取付け構造

Legal Events

Date Code Title Description
A621 Written request for application examination

Free format text: JAPANESE INTERMEDIATE CODE: A621

Effective date: 20110221

A131 Notification of reasons for refusal

Free format text: JAPANESE INTERMEDIATE CODE: A131

Effective date: 20111221

A977 Report on retrieval

Free format text: JAPANESE INTERMEDIATE CODE: A971007

Effective date: 20111222

A521 Written amendment

Free format text: JAPANESE INTERMEDIATE CODE: A523

Effective date: 20120206

TRDD Decision of grant or rejection written
A01 Written decision to grant a patent or to grant a registration (utility model)

Free format text: JAPANESE INTERMEDIATE CODE: A01

Effective date: 20120808

A01 Written decision to grant a patent or to grant a registration (utility model)

Free format text: JAPANESE INTERMEDIATE CODE: A01

A61 First payment of annual fees (during grant procedure)

Free format text: JAPANESE INTERMEDIATE CODE: A61

Effective date: 20120824

R151 Written notification of patent or utility model registration

Ref document number: 5075057

Country of ref document: JP

Free format text: JAPANESE INTERMEDIATE CODE: R151

FPAY Renewal fee payment (event date is renewal date of database)

Free format text: PAYMENT UNTIL: 20150831

Year of fee payment: 3

R250 Receipt of annual fees

Free format text: JAPANESE INTERMEDIATE CODE: R250

R250 Receipt of annual fees

Free format text: JAPANESE INTERMEDIATE CODE: R250

R250 Receipt of annual fees

Free format text: JAPANESE INTERMEDIATE CODE: R250

R250 Receipt of annual fees

Free format text: JAPANESE INTERMEDIATE CODE: R250

R250 Receipt of annual fees

Free format text: JAPANESE INTERMEDIATE CODE: R250

LAPS Cancellation because of no payment of annual fees