JP2010048081A - 電気機械式ロック - Google Patents

電気機械式ロック Download PDF

Info

Publication number
JP2010048081A
JP2010048081A JP2009190019A JP2009190019A JP2010048081A JP 2010048081 A JP2010048081 A JP 2010048081A JP 2009190019 A JP2009190019 A JP 2009190019A JP 2009190019 A JP2009190019 A JP 2009190019A JP 2010048081 A JP2010048081 A JP 2010048081A
Authority
JP
Japan
Prior art keywords
electromechanical lock
response
communication device
challenge
operating
Prior art date
Legal status (The legal status is an assumption and is not a legal conclusion. Google has not performed a legal analysis and makes no representation as to the accuracy of the status listed.)
Granted
Application number
JP2009190019A
Other languages
English (en)
Other versions
JP5331611B2 (ja
Inventor
Mika Pukari
プカリ ミカ
Current Assignee (The listed assignees may be inaccurate. Google has not performed a legal analysis and makes no representation or warranty as to the accuracy of the list.)
Iloq Oy
Original Assignee
Iloq Oy
Priority date (The priority date is an assumption and is not a legal conclusion. Google has not performed a legal analysis and makes no representation as to the accuracy of the date listed.)
Filing date
Publication date
Application filed by Iloq Oy filed Critical Iloq Oy
Publication of JP2010048081A publication Critical patent/JP2010048081A/ja
Application granted granted Critical
Publication of JP5331611B2 publication Critical patent/JP5331611B2/ja
Active legal-status Critical Current
Anticipated expiration legal-status Critical

Links

Images

Classifications

    • GPHYSICS
    • G07CHECKING-DEVICES
    • G07CTIME OR ATTENDANCE REGISTERS; REGISTERING OR INDICATING THE WORKING OF MACHINES; GENERATING RANDOM NUMBERS; VOTING OR LOTTERY APPARATUS; ARRANGEMENTS, SYSTEMS OR APPARATUS FOR CHECKING NOT PROVIDED FOR ELSEWHERE
    • G07C9/00Individual registration on entry or exit
    • G07C9/00174Electronically operated locks; Circuits therefor; Nonmechanical keys therefor, e.g. passive or active electrical keys or other data carriers without mechanical keys
    • G07C9/00309Electronically operated locks; Circuits therefor; Nonmechanical keys therefor, e.g. passive or active electrical keys or other data carriers without mechanical keys operated with bidirectional data transmission between data carrier and locks
    • EFIXED CONSTRUCTIONS
    • E05LOCKS; KEYS; WINDOW OR DOOR FITTINGS; SAFES
    • E05BLOCKS; ACCESSORIES THEREFOR; HANDCUFFS
    • E05B47/00Operating or controlling locks or other fastening devices by electric or magnetic means
    • E05B47/02Movement of the bolt by electromagnetic means; Adaptation of locks, latches, or parts thereof, for movement of the bolt by electromagnetic means
    • GPHYSICS
    • G07CHECKING-DEVICES
    • G07CTIME OR ATTENDANCE REGISTERS; REGISTERING OR INDICATING THE WORKING OF MACHINES; GENERATING RANDOM NUMBERS; VOTING OR LOTTERY APPARATUS; ARRANGEMENTS, SYSTEMS OR APPARATUS FOR CHECKING NOT PROVIDED FOR ELSEWHERE
    • G07C9/00Individual registration on entry or exit
    • G07C9/00174Electronically operated locks; Circuits therefor; Nonmechanical keys therefor, e.g. passive or active electrical keys or other data carriers without mechanical keys
    • G07C9/00944Details of construction or manufacture
    • HELECTRICITY
    • H04ELECTRIC COMMUNICATION TECHNIQUE
    • H04LTRANSMISSION OF DIGITAL INFORMATION, e.g. TELEGRAPHIC COMMUNICATION
    • H04L9/00Cryptographic mechanisms or cryptographic arrangements for secret or secure communications; Network security protocols
    • H04L9/32Cryptographic mechanisms or cryptographic arrangements for secret or secure communications; Network security protocols including means for verifying the identity or authority of a user of the system or for message authentication, e.g. authorization, entity authentication, data integrity or data verification, non-repudiation, key authentication or verification of credentials
    • H04L9/3271Cryptographic mechanisms or cryptographic arrangements for secret or secure communications; Network security protocols including means for verifying the identity or authority of a user of the system or for message authentication, e.g. authorization, entity authentication, data integrity or data verification, non-repudiation, key authentication or verification of credentials using challenge-response
    • HELECTRICITY
    • H04ELECTRIC COMMUNICATION TECHNIQUE
    • H04WWIRELESS COMMUNICATION NETWORKS
    • H04W12/00Security arrangements; Authentication; Protecting privacy or anonymity
    • H04W12/08Access security
    • H04W12/084Access security using delegated authorisation, e.g. open authorisation [OAuth] protocol
    • EFIXED CONSTRUCTIONS
    • E05LOCKS; KEYS; WINDOW OR DOOR FITTINGS; SAFES
    • E05BLOCKS; ACCESSORIES THEREFOR; HANDCUFFS
    • E05B47/00Operating or controlling locks or other fastening devices by electric or magnetic means
    • E05B2047/0094Mechanical aspects of remotely controlled locks
    • E05B2047/0095Mechanical aspects of locks controlled by telephone signals, e.g. by mobile phones
    • HELECTRICITY
    • H04ELECTRIC COMMUNICATION TECHNIQUE
    • H04LTRANSMISSION OF DIGITAL INFORMATION, e.g. TELEGRAPHIC COMMUNICATION
    • H04L2209/00Additional information or applications relating to cryptographic mechanisms or cryptographic arrangements for secret or secure communication H04L9/00
    • H04L2209/80Wireless
    • H04L2209/805Lightweight hardware, e.g. radio-frequency identification [RFID] or sensor
    • HELECTRICITY
    • H04ELECTRIC COMMUNICATION TECHNIQUE
    • H04LTRANSMISSION OF DIGITAL INFORMATION, e.g. TELEGRAPHIC COMMUNICATION
    • H04L63/00Network architectures or network communication protocols for network security
    • H04L63/08Network architectures or network communication protocols for network security for authentication of entities
    • H04L63/0853Network architectures or network communication protocols for network security for authentication of entities using an additional device, e.g. smartcard, SIM or a different communication terminal
    • HELECTRICITY
    • H04ELECTRIC COMMUNICATION TECHNIQUE
    • H04WWIRELESS COMMUNICATION NETWORKS
    • H04W4/00Services specially adapted for wireless communication networks; Facilities therefor
    • H04W4/80Services using short range communication, e.g. near-field communication [NFC], radio-frequency identification [RFID] or low energy communication
    • YGENERAL TAGGING OF NEW TECHNOLOGICAL DEVELOPMENTS; GENERAL TAGGING OF CROSS-SECTIONAL TECHNOLOGIES SPANNING OVER SEVERAL SECTIONS OF THE IPC; TECHNICAL SUBJECTS COVERED BY FORMER USPC CROSS-REFERENCE ART COLLECTIONS [XRACs] AND DIGESTS
    • Y02TECHNOLOGIES OR APPLICATIONS FOR MITIGATION OR ADAPTATION AGAINST CLIMATE CHANGE
    • Y02DCLIMATE CHANGE MITIGATION TECHNOLOGIES IN INFORMATION AND COMMUNICATION TECHNOLOGIES [ICT], I.E. INFORMATION AND COMMUNICATION TECHNOLOGIES AIMING AT THE REDUCTION OF THEIR OWN ENERGY USE
    • Y02D30/00Reducing energy consumption in communication networks
    • Y02D30/70Reducing energy consumption in communication networks in wireless communication networks

Landscapes

  • Engineering & Computer Science (AREA)
  • Physics & Mathematics (AREA)
  • Computer Security & Cryptography (AREA)
  • Computer Networks & Wireless Communication (AREA)
  • General Physics & Mathematics (AREA)
  • Signal Processing (AREA)
  • Manufacturing & Machinery (AREA)
  • Electromagnetism (AREA)
  • Lock And Its Accessories (AREA)

Abstract

【課題】本発明は電気機械式ロックに関する。
【解決手段】電気機械式ロックは、チャレンジを記憶し、前記チャレンジを読取る通信装置(106)用の無線インターフェイス(126)を備え、前記通信装置(106)から応答を受信し記憶し、前記応答を認証して、前記認証が成功した場合にオープン命令を発行するための電子回路(142)であって、前記通信装置との通信用の動作電力を前記通信装置(106)から無線で受取って、前記応答を記憶するように構成された前記電子回路(142)を含む。電気機械式ロックは、前記オープン命令を受信して、電気機械式ロックを機械的オープン可能状態にセットするアクチュエータ(124)、およびユーザから入力を受けるように構成されたユーザ・インターフェイス(108)であって、前記認証およびオープン動作用の動作電力を起動するユーザ・インターフェイス(108)を含む。
【選択図】図1B

Description

本発明は、電気機械式ロックに関する。
種々のタイプの電気機械式ロックが、伝統的な機械式ロックの代わりをしつつある。電気機械式ロックは、外部電源、電気機械式ロック内のバッテリ、キー内のバッテリ、またはユーザが電気機械式ロックに電力を供給するための電気機械式ロック内の電力発生手段を必要とする。電気機械式ロックは、伝統的なロックに比べ多くの利点を有する。それらはより良いセキュリティを提供することや、キーまたはセキュリティ・トークンの制御がより容易なことである。
さらに、大部分の電気機械式ロックおよび/またはキーおよびトークンは、プログラム可能である。電気機械式ロックは、種々のキーを受付けるが他のキーは受付けないようにプログラム可能である。
全ての種類のロック・システムに関連する1つの問題は、キーまたはセキュリティ・トークンの配布である。キーおよびセキュリティ・トークンは、ユーザに配布されなければならない。また、ユーザが使うキーおよびセキュリティ・トークンをいくつか持つと、キーおよびトークンの取扱いは、煩雑になる。
本発明の1つの態様によれば、チャレンジ(challenge)を記憶し、前記チャレンジを読取る通信装置用の無線インターフェイスを備え、前記通信装置から応答を受信し記憶し、前記応答を認証して、前記認証が成功した場合にオープン命令を発行するための電子回路であって、前記通信装置との通信用の動作電力を前記通信装置から無線で受取って、前記応答を記憶するように構成された前記電子回路と、前記オープン命令を受けて、前記電気機械式ロックを機械的オープン可能状態にセットするアクチュエータと、ユーザから入力を受けるように構成されたユーザ・インターフェイスと、前記認証用およびアクチュエータ動作用の動作電力を前記入力から発生するように構成された発電機と、を含む電気機械式ロックが提供される。
本発明の他の態様によれば、電子回路内にチャレンジを記憶するステップと;前記チャレンジを読取る前記通信装置用の無線インターフェイスを提供して、前記通信装置から応答を受信し記憶するための動作電力を通信装置から無線で受取るステップと;前記電気機械式ロックの前記ユーザ・インターフェイスによりユーザからの入力を受けて、前記応答を認証するための動作電力を前記入力から発生するステップと;前記認証が成功した場合にオープン命令を発行し、前記オープン命令に応答して前記電気機械式ロックを機械的オープン可能状態にセットするステップと、を含む電気機械式ロックを動作させる方法が提供される。
本発明のもう1つの態様によれば、電子回路内にチャレンジを記憶するステップと、通信装置からニア・フィールド(Near Field)通信クエリー(query)を受信するステップと、ニア・フィールド通信を使用して前記チャレンジを読取る通信装置用のインターフェイスを提供する無線インターフェイスを提供するステップと、ニア・フィールド通信を使用して前記通信装置から応答を受信するステップと、
前記応答を記憶し認証するステップと、前記認証が成功した場合にオープン命令を発行するステップと、を遂行するコンピュータ処理を実行するための命令のコンピュータ・プログラムをコード化したコンピュータ・プログラム製品が提供される。
本発明はいくつかの効果を有する。上記電子ロック・キー・システムおよび無線ソリューションは、無線ロックにおけるエネルギー消費を最小化した電源内蔵式ロック・ソリューションを可能にする。
本発明のある実施例において、電子無線ロックを無線でオープンするのに電子無線キーが使用される。個人は、電子無線キーを個人の無線通信装置の一部として持つ。無線通信装置は、ニア・フィールド通信(NFC)装置を備えてよい。
本発明の実施例は、外部電源、電気機械式ロックやキー内のバッテリー、またはユーザにより電力が供給される電気機械式ロックに応用してよい。
以下に、単なる例示として、次の添付図面を参照して本発明の実施例を説明する。
電子認証システムの実施例を示す。 電源内蔵式電子ロック・システムの実施例を示す。 通信ユニットの実施例を示す。 実施例を示すフローチャートである。 実施例を示すフローチャートである。 実施例を示すフローチャートである。 電子ロック・システムの実施例を示す。 電子ロック・システムの実施例を示す。 電子ロック・システムの実施例を示す。
下記の実施例は例示である。本明細書のいくつかの場所で、「ある」、「1つの」または「いくつかの」実施例への言及があっても、同一の実施例への言及であることや、その特徴が単一の実施例のみに適用されることを、必ずしも意味しない。種々の実施例の各特徴を組み合わせて他の実施例を構成してもよい。
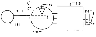
本発明のある実施例において、電子キーは、電気機械式無線ロックを無線でオープンするために使用される。個人は、このキーを個人の無線通信装置の一部として持つ。図1Aは電子ロック・システムの実施例を示す。ユーザ105は、ドア115を開けようとしている。ユーザは、通信装置106を持っている。
通信装置106は、ポータブル計算装置のことをいう。このような計算装置は、加入者識別モジュール(SIM)有りまたは無しで動作する無線移動通信装置を含み、携帯電話、スマートフォン、電子手帳(PDA)、ハンドセットのタイプの装置であるが、これらに限られない。通信装置106は、無線ネットワーク102への無線ネットワーク・チャネル104接続を有してよい。無線チャネル104接続および無線ネットワーク102は、GSM(Global System for Mobile Communications)、WCDMA(Wideband Code Divsion Access)、WLAN(Wireless Local Area Network)、その他の適当な標準/非標準無線通信手段により実施してよい。
ある実施例において、通信装置106は、加入者識別モジュール(Subscriber Identity Module)(SIM)または汎用集積回路カード(Universal Integrated Circuit Card)(UICC)を含む。SIMおよびUICCは、加入者を識別するために、移動通信システム内で使用される。特定のシステムの各通信装置は、そのようなIDを含む。SIMおよびUICCは、計算およびデータ・記憶が可能な集積回路を含む。
通信装置106は、短距離無線通信ユニットを備え、短距離無線通信ユニットは、他の各短距離無線ユニットを検出するとその短距離無線ユニットと通信するように構成されている。
ある実施例において、短距離無線通信は、ニア・フィールド通信(NFC)技法により実現される。NFCは、短距離の装置間のデータ交換用に設計された標準無線通信技法である。典型的な動作距離は、約0ないし20cmである。NFCは、特定の周波数(13.56MHz)を使用する。NFCトランシーバは、能動的、半受動的または受動的でよい。
能動トランシーバは、トランシーバのコンポーネント用および送信用の電力供給に使用する電源を含む。受動トランシーバは、電源を含まない。受動トランシーバは、近くのNFC送信により発生された磁界から動作電力を無線で受取る。こうして、受動トランシーバは、そのトランシーバのカバー・エリア内の能動トランシーバが送信した時のみ動作する。受動トランシーバは、アイドル状態にある時に電力を消費しない。典型的には、受動トランシーバは、メモリ回路およびNFC送信クエリーに応答するように構成された受動送信機を含むRFID(Radio−frequency identification)タグである。半受動トランシーバは、電源を含むが、この電源は、そのトランシーバのマイクロチップへの電力供給用であって信号送信用ではない。半受動装置は、送信に能動トランシーバからの電力供給を必要とする。
ドア115は、電気機械式ロック116を含む。電気機械式ロックは、ロック・インターフェイス108、ロック・アンテナ112およびロック・ボルト114を含む。ロック・アンテナ112は、電気機械式ロックの電子回路(図1Aに図示せず)に接続されている。電子回路は、短距離通信装置を含む。短距離通信装置は、NFCトランシーバでよい。ある実施例において、電気機械式ロックのNFCトランシーバは、受動トランシーバである。
ユーザが開けたいドアに近づいた時に、ユーザは、通信装置106をロック・アンテナ112へ近づける。電気機械式ロックの電子回路は、通信装置の短距離送信により電力が供給されて、処理が開始される。通信装置は、電気機械式ロックの電子回路から認証チャレンジを読取る。通信装置106は、応答を計算して、この応答を電気機械式ロックの電子回路に送信する。次にユーザは、電気機械式ロックのユーザ・インターフェイス108を動作させる。この動作は、ドア・ノブを回転することまたは電気機械式ロックに物理的キーを挿入することを含む。この動作は、電気機械式ロックを起動して、電気機械式ロックに動作電力を供給し認証させる。この認証において、電気機械式ロックは、応答を認証する。ある実施例において、応答は、認証チャレンジに対して認証される。認証が成功した場合に、電気機械式ロックは、オープン可能状態にセットされて、ユーザによるロック・ボルトの作動を可能にする。
上記の実施例において、物理的キーは、何も認証しないが、電気機械式ロックの動作電力を起動する。いくつかの実施例において、物理的キーは、何らかの追加的な認証を提供する。
ある実施例において、通信装置106は、無線ネットワーク・チャネル104を使用して、電気機械式ロックの電子回路から読取った認証チャレンジを、認証サービス100に送信する。認証サービス100は、応答を計算して、それを通信装置106に送信してよい。
ある実施例において、認証サービスは、ロック・システムの電気機械式ロックに関するアクションのオーディット・トレール(audit trail)を記録してよい。こうして、電気機械式ロックをオープンしようとする各試みは、後で見ることができる。さらに、認証サービスは、時間限定アクセス権管理を用いてよい。ある実施例において、電気機械式ロックは、オーディット・トレール内に各アクションを記憶してよい。認証サービスは、1つ以上のコンピュータ、サーバまたは計算装置および関連のソフトウエアにより実現してよい。
本発明の実施例に関連して、いずれかの適当な認証技法を用いてよい。認証技法の選択は、電気機械式ロック116の望ましいセキュリティ・レベル、および恐らくは(特に、ユーザが電力供給する電気機械式ロックにおいて)認証のために許される電力消費によっても左右される。
ある実施例において、認証は、国家安全保障局(National Security Agency)(NSA)により設計されたSHA−1(Secure Hash Algorithm)機能により行われる。SHA−1において、(メッセージ・ダイジェストとして知られる)短縮デジタル表現は、(メッセージとして知られる)特定の入力データ・シーケンスから計算される。メッセージ・ダイジェストは、メッセージに対して高い確率でユニークである。SHA−1が「安全(Secure)」と呼ばれるのは、与えられたアルゴリズムに対して、特定のメッセージ・ダイジェストに対応する1つのメッセージを発見すること、または同一のメッセージ・ダイジェストを生成する2つの異なるメッセージを発見する計算が不可能だからである。メッセージのあらゆる変更は、非常に高い確率で異なるメッセージ・ダイジェストをもたらす。セキュリティの増加が必要ならば、より長いダイジェストを有し、まとめてSHA−2として知られているSHAファミリィ内の他のハッシュ機能(SHA−224、SHA−256、SHA−384およびSHA−512)を使用してよい。
ある実施例において、認証チャレンジは、ロック・システムid、ロックid、アクセス・データおよびチェック値を含む。ロック・システムidは、その電気機械式ロックが所属するロック・システムを識別する。ロックidは、ロック・システム内の電気機械式ロックを識別する。ロック・システム内の各電気機械式ロックは、ユニークなIDを含む。アクセス・データは、ランダムな数値データでよい。チェック値は、認証チャレンジの整合性を確認するサイクリック冗長チェック値である。
ある実施例において、認証サービス、または応答を計算する通信装置は、応答に基づいて認証が成功したか否かを決定してよい。通信装置106は、認証が成功したか否かをユーザに通知してよい。
ある実施例において、通信装置のユーザの個人識別番号(PIN)または指紋データは、認証チャレンジに対する応答を生成する時に使用してよい。通信装置は、指紋を読取って、指紋に基づいて数値表現を生成するように構成された指紋データ・リーダを含んでよい。
認証チャレンジは、PINまたは指紋クエリーを含んでよい。通信装置のユーザは、PINをタイプ入力するか、通信装置の指紋データ・リーダを使用してよい。通信装置は、認証チャレンジに対する応答としてPINまたは指紋の数字表現を送信するように構成されている。電気機械式ロックは、電気機械式ロックをオープンできるようにするPINおよび指紋のセットを記憶するように構成されてよい。電気機械式ロックの電子回路が、応答と記憶された値とを比較して、一致した場合に、認証が成功したとみなされる。
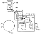
図1Bは、電気機械式ロック116および通信装置106のより詳細な例を示す。通信装置は、短距離通信ユニット140を含む。ある実施例において、短距離通信ユニット140は、能動タイプのNFCトランシーバである。通信装置106は、GSMネットワーク、WCDMAネットワークまたはWLANネットワークその他の適当な標準/非標準無線ネットワーク等の無線ネットワークへの無線ネットワーク・チャネル接続を実現するための無線トランシーバ107を含んでよい。
電気機械式ロック116は、電子回路142を含む。電気機械式ロックは、さらに、ユーザ・インターフェイス108、および電気機械式ロックのユーザ・インターフェイスが作動する時に電気機械式ロック116に電力を供給するように構成されている発電機122を含む。
電子回路142は、特定用途集積回路ASIC等の1つ以上の集積回路として実施されてよい。個別論理コンポーネントから構成された回路、またはメモリ・ユニットおよび1つ以上のソフトウエア内蔵プロセッサ等の他の実施例も可能である。これら種々の実施例のハイブリッドも可能である。実施方法の選択に際して、当業者は、例えば、装置の電力消費、製造コスト、製造量について定められた要求を考慮する。電子回路142は、コンピュータ処理を実行するためのコンピュータ・プログラム命令を実行するように構成されてよい。
図1Bの実施例において、電子回路142は、2つの回路により実現されている。電子回路は、通信ユニット126およびロック電子回路120を含み、これらは、通信チャネル118により互いに接続されている。ある実施例において、ロック電子回路120は、マイクロコントローラおよびメモリ・ユニットにより実現されている。
電気機械式ロックは、さらに、通信ユニット126に接続されたアンテナ112を含む。ある実施例において、通信ユニット126は、受動タイプのNFCトランシーバである。
電気機械式ロックは、さらに、ロック・ボルト114を制御するアクチュエータ124を含む。認証成功後に、アクチュエータ124は、機械的オープン可能状態に電気機械式ロックをセットするように構成されている。アクチュエータは、発電機122により発生された電力を供給されてよい。アクチュエータ124は、機械的にロック状態にセットされてよいが、その詳細な説明は、本実施例の説明に不要である。
アクチュエータ124が電気機械式ロックを機械的オープン可能状態にセットした時に、ロック・ボルト機構114は、例えば、ユーザ・インターフェイス108を作動することにより動かすことができる。他の適当な作動機構を使用してもよい。
図2は、通信ユニット126の実施例を示す。通信ユニットは、アンテナ112と2つのメモリ・ユニット202、204と間の通信インターフェイス200からなる。メモリ・ユニット202、204付き通信インターフェイス200は、受動タイプのNFCトランシーバでよい。アンテナ112が能動NFC装置(例えば、図1Aおよび図1Bの通信装置106)の動作範囲内にある時に、通信ユニット126は、能動NFC装置により発生される磁界によりアンテナ112を介して電力を供給される。メモリ・ユニット202は、認証チャレンジを記憶するように構成され、メモリ・ユニット204は、認証応答を記憶するように構成される。能動NFC装置は、メモリ202、204付き通信インターフェイス200に電力を供給し、メモリ・ユニット202から無線でチャレンジを読取り、メモリ・ユニット204内に無線で応答を記憶する。
電気機械式ロックのユーザ・インターフェイスが作動された時に、通信装置126は、通信チャネル118を使用するインターフェイス206を介して図1Bの発電機122により電力を供給される。ロック電子回路120は、メモリ204からの応答を読取ってメモリ・ユニット202に新しいチャレンジを書込む。
メモリ・ユニット202は、例えば、フラッシュまたはEEPROM技術により実現されるパーマネント(permanent)・メモリであり、メモリ・ユニット204は、例えば、RAMまたはDRAM技術により実現されるノンパーマネント(non−permanent)・メモリでよい。通信ユニット126は、所定の時間のみメモリ・ユニット204内に応答を記憶するように構成される;さもなければ応答書込み後に電気機械式ロックが動作しないと、セキュリティ・リスクが発生する。通信インターフェイス206は、メモリ・ユニット202、204とロック電子回路120との間の通信インターフェイスの一例を示す。メモリ・ユニット204の読取り動作およびメモリ・ユニット202への書込み動作時に、電気機械式ロックにより電力が供給される。
図3Aから図3Cまでは、本発明の実施例を示すフローチャートである。ここでは、ドア115の電気機械式ロック116は、デフォルトでロック状態にあり、オープン可能状態にセットされるまでロック状態のままであるとする。
図3Aと図3Bは、通信装置106の観点から実施例を示す。
オープン・シーケンスのスタートは、ステップ300である。
ステップ302で、通信装置106のユーザは、通信装置を起動する。これは、通信装置のNFCトランシーバのスイッチ・オンを含んでよい。通信装置は、ロック・アンテナが通信装置のNFCトランシーバのカバー・エリア内にあるように配置される。例えば、ユーザは、通信装置によりロック・アンテナに触れることができる。
ステップ304で、通信装置106は、NFCクエリーを電気機械式ロックに送信する。
ステップ306で、通信装置は、電気機械式ロックにより送信された現在のチャレンジを受信する。
図3Aのステップ308で、通信装置106は、応答を計算する。ある実施例において、応答は、通信装置106の処理ユニットにより計算される。ある実施例において、この応答は、通信装置106内に配置された加入者識別モジュール(SIM)または汎用集積回路カード(UICC)により計算される。
図3Bは、ステップ320で、通信装置106が認証サービス100にチャレンジを送信するもう1つの実施例を示す。
図3Bのステップ322で、認証サービス100は、チャレンジへの応答を計算して、それを通信装置106に送信する。この実施例では、時間限定アクセス権管理およびオーディット・トレイルの認証サービス100への記録が可能である。その後、下記の処理が図3Aと同様に続く。
ステップ310で、通信装置106は、電気機械式ロック116の通信ユニットに応答を送信する。
図3Cは、電気機械式ロック116の観点から実施例を示す。
オープン・シーケンスのスタートは、ステップ330である。
ステップ332で、通信ユニット126は、通信装置106の送信により電力を供給され、通信装置からクエリーを受信する。
ステップ334において、現在のチャレンジは、メモリ202から読取られ、アンテナ112を使用して、インターフェイス200から通信装置へ送信される。
ステップ336で、通信ユニットのインターフェイス200は、通信装置106から応答を受信する。インターフェイスは、メモリ204内に応答を記憶する。メモリ204は、所定の期間、応答を記憶するように構成されている。
通信ユニット126の上記の動作用電力は、通信装置のNFC送信により供給される。
ステップ338で、電気機械式ロックは、電気機械式ロックのユーザ・インターフェイスからユーザ入力を受ける。ユーザ入力は、残りのオープン・シーケンス動作用の電力を起動する。
ステップ340で、ロック電子回路120は、現在のチャレンジを、記憶されている内部メモリから読取る。
ステップ342で、ロック電子回路120は、新しいチャレンジを計算して、それをその内部メモリ内に記憶し、チャネル118およびインターフェイス206を介してメモリ202内に記憶する。
ステップ344で、ロック電子回路120は、チャネル118およびインターフェイス206を介してメモリ204から応答を読取る。
ステップ346で、ロック電子回路120は、応答を認証する。ある実施例において、ロック電子回路120は、チャレンジに対する応答を認証する。
ステップ348で、認証が成功したかどうかがチェックされる。
認証が成功した場合には、ステップ350で、ロック電子回路120は、電気機械式ロックのアクチュエータ124にオープン命令を送る。アクチュエータ124は、電気機械式ロックをオープン可能状態にセットする。
認証が失敗した場合には、ステップ352で、ロック電子回路120は、電気機械式ロックのアクチュエータ124にオープン命令を送らず、電気機械式ロックはロック状態のままである。
上記のように、ステップ338は、ユーザからの入力に基づく電気機械式ロックのための電力の起動を含む。ユーザ・インターフェイスにおける入力動作は、ドア・ノブを回転することまたは電気機械式ロックに物理的キーを挿入することを含んでよい。この動作は、電気機械式ロックを起動して、認証用動作電力を電気機械式ロックに供給する。
図1Bのロック構造を用いた実施例において、電気機械式ロックのユーザ・インターフェイス108の作動は、発電機から電気機械式ロック116への電力供給を可能にする。発電機は、ドア・ノブの回転またはキーの挿入から電気を発生してよい。
図4A、図4Bおよび図4Cは、電子ロック・システムの他の実施例を示す。
図4Aの実施例において、ロック・アンテナ112は、ドア・ノブ108に埋め込まれている。この実施例において、ドア・オープン・シーケンスは、次のステップを含んでよい。最初に、ユーザは、通信装置106によりドア・ノブ108に触れる。第2段階で、ユーザ105は、ドア・ノブ108を回転し認証用の電力を起動して、電気機械式ロック116をオープン可能状態にセットする。第3段階で、ドア・ノブ108を回転してロック・ボルト114を作動させる。さらに、ロック・ボルト構造の代わりに、レバー・タイプの作動インターフェイスを使用できる。ユーザは、第2段階と第3段階をドア・ノブの1つの連続的な回転として経験する。
図4Bの例において、ロック・アンテナ112は、ドアに配置され、キー134は、電気機械式ロック116を動作させるために使用される。電気機械式ロックのユーザ・インターフェイスは、キーホール(keyhole)144を含む。この実施例において、ドア・オープン・シーケンスは、次のステップを含んでよい。最初に、ユーザは、通信装置106によりアンテナに触れる。第2段階で、キー134を電気機械式ロック116のキーホール114に挿入し認証用電力を起動して、電気機械式ロック116をオープン可能状態にセットする。第3段階において、キー134を回転してロック・ボルト114を作動させる。
図4Cの実施例は、図4Aおよび図4Bのロック構造を組合せた電気機械式ロック116を示す。図4Cの電気機械式ロックは、種々の動作モードを有してよい。ある実施例において、電気機械式ロック116は、キー134と、通信装置106から受信した応答との両方を認証する。電気機械式ロックは、両方の認証が成功した場合に、オープン可能状態にセットされる。
もう1つの実施例において、電気機械式ロック116は、通信装置106から受信した応答を認証する。キー134は、ロック機構を作動させるためだけに使用される。
もう1つの実施例において、ロック動作は、異なるユーザに対して異なってよい。あるユーザは、認証のためにキー134を使用する。あるユーザ(例えば、一時的なユーザ)は、認証のために通信装置106を使用し、ドア・ノブ108を回転することにより電気機械式ロックをオープンする。
ある実施例において、本発明の機能は、ソフトウエアとして実現される。実施例は、電気機械式ロックを動作させるために上記ステップを遂行するコンピュータ処理を実行するための命令のコンピュータ・プログラムをコード化したコンピュータ・プログラム製品として実現してよい。
技術の進歩によって、本発明の概念は、種々の方法により実施可能になることが当業者にとって明らかである。本発明およびその実施例は、上記実施例に限られず、各請求項の範囲内で変形してもよい。
100 認証サービス
102 無線ネットワーク
104 無線ネットワーク・チャネル
105 ユーザ
106 通信装置
107 無線トランシーバ
108 ユーザ・インターフェイス
112 ロック・アンテナ
114 ロック・ボルト
115 ドア
116 電気機械式ロック
118 通信チャネル
120 ロック電子回路
122 発電機
124 アクチュエータ
126 通信ユニット
134 キー
140 短距離通信ユニット
142 電子回路
144 キーホール
200 無線インターフェイス
202,204 メモリ・ユニット
206 通信インターフェイス

Claims (22)

  1. チャレンジを記憶し、前記チャレンジを読取る通信装置用の無線インターフェイスを備え、前記通信装置から応答を受信し記憶し、前記応答を認証して、前記認証が成功した場合にオープン命令を発行するための電子回路であって、前記通信装置との通信用の動作電力を前記通信装置から無線で受取って、前記応答を記憶するように構成された前記電子回路と、
    前記オープン命令を受けて、前記電気機械式ロックを機械的オープン可能状態にセットするアクチュエータと、
    ユーザから入力を受けるように構成されたユーザ・インターフェイスと、
    前記認証用およびアクチュエータ動作用の動作電力を前記入力から発生するように構成された発電機と、
    を含む電気機械式ロック。
  2. 前項までのいずれかに記載の電気機械式ロックにおいて、
    前記インターフェイス用の前記動作電力を得て、前記通信装置により発生されたニア・フィールド通信フィールドから前記応答動作を受信し記憶するように構成されている前記電気機械式ロック。
  3. 前項までのいずれかの請求項記載の電気機械式ロックにおいて、
    所定時間、前記電子回路内に前記応答を記憶するように構成されている前記電気機械式ロック。
  4. 前項までのいずれかの請求項記載の電気機械式ロックにおいて、
    前記ユーザ・インターフェイスによりユーザ入力を受けた後に、前記回路内で新しいチャレンジを計算してそのチャレンジを記憶するように構成されている前記電気機械式ロック。
  5. 前項までのいずれかの請求項記載の電気機械式ロックにおいて、
    前記電子回路が、前記応答の生成時に、前記通信装置内で使用されたのと同一のアルゴリズムを使用することにより前記応答の前記認証を行うように構成されている前記電気機械式ロック。
  6. 前項までのいずれかの請求項記載の電気機械式ロックにおいて、
    前記チャレンジが、ロック・システムid、ロックid、アクセス・データおよびチェック値を含む前記電気機械式ロック。
  7. 前項までのいずれかの請求項記載の電気機械式ロックにおいて、
    前記電子回路が、前記チャレンジに対する前記応答を認証するように構成されている前記電気機械式ロック。
  8. 前項までのいずれかの請求項記載の電気機械式ロックにおいて、
    前記電子回路が、
    チャレンジを記憶し、通信装置用の無線周波数インターフェイスを提供して、前記通信装置からの応答を受信し記憶するための通信ユニットと、
    前記通信ユニットからの前記応答およびメモリからの前記チャレンジを読取り前記応答を認証してオープン命令を発行するためのロック電子回路と、
    を含む前記電気機械式ロック。
  9. 請求項8記載の電気機械式ロックにおいて、
    前記通信ユニットが、前記ロック電子回路と通信するように構成されたインターフェイスを含む前記電気機械式ロック。
  10. 請求項8記載の電気機械式ロックにおいて、
    前記通信ユニットは、
    前記チャレンジを記憶するためのメモリと、
    前記応答を記憶するためのメモリと、
    前記無線周波数インターフェイスに接続されたアンテナと、
    を含む前記電気機械式ロック。
  11. 前項までのいずれかの請求項記載の電気機械式ロックにおいて、
    前記電気機械式ロックに挿入されたキーを認証して、前記認証が成功した場合にオープン命令を発行するように構成されている前記電気機械式ロック。
  12. 前項までのいずれかの請求項記載の電気機械式ロックにおいて、
    前記ロック・ユーザ・インターフェイスが、ドア・ノブを含み、前記ドア・ノブがユーザにより作動された時に、前記認証用およびアクチュエータ動作用の動作電力を発生するように構成されている前記電気機械式ロック。
  13. 前項までのいずれかの請求項記載の電気機械式ロックにおいて、
    前記ロック・ユーザ・インターフェイスがキーホールを含み、前記キーホールにキーが挿入された時に、前記認証用およびアクチュエータ動作用の動作電力を発生するように構成されている前記電気機械式ロック。
  14. 電子回路内にチャレンジを記憶するステップと;
    前記チャレンジを読取る前記通信装置用の無線インターフェイスを提供して、前記通信装置から応答を受信し記憶するための動作電力を通信装置から無線で受取るステップと;
    前記電気機械式ロックの前記ユーザ・インターフェイスによりユーザからの入力を受けて、前記応答を認証するための動作電力を前記入力から発生するステップと;
    前記認証が成功した場合にオープン命令を発行し、前記オープン命令に応答して前記電気機械式ロックを機械的オープン可能状態にセットするステップと、
    を含む電気機械式ロックを動作させる方法。
  15. 請求項14記載の電気機械式ロックを動作させる方法であって、さらに、
    ニア・フィールド通信を使用して前記通信装置と通信するステップを含む前記電気機械式ロックを動作させる方法。
  16. 前項までのいずれかの請求項記載の電気機械式ロックを動作させる方法であって、さらに、
    前記通信装置により発生されたニア・フィールド通信フィールドにより前記応答の前記受信用および記憶用の電力を供給するステップを含む前記電気機械式ロックを動作させる方法。
  17. 前項までのいずれかの請求項記載の電気機械式ロックを動作させる方法であって、さらに、
    所定時間、前記電子回路内に前記応答を記憶するステップを含む前記電気機械式ロックを動作させる方法。
  18. 前項までのいずれかの請求項記載の電気機械式ロックを動作させる方法であって、さらに、
    前記チャレンジに対する前記応答を認証するステップを含む前記電気機械式ロックを動作させる方法。
  19. 前項までのいずれかの請求項記載の電気機械式ロックを動作させる方法であって、さらに、
    前記ユーザ・インターフェイスによりユーザ入力を受けた後に、新しいチャレンジを計算し記憶するステップを含む前記電気機械式ロックを動作させる方法。
  20. 前項までのいずれかの請求項記載の電気機械式ロックを動作させる方法であって、さらに、
    前記通信装置内で前記応答を計算するステップを含む前記電気機械式ロックを動作させる方法。
  21. 請求項14から請求項19までのいずれかの請求項記載の電気機械式ロックを動作させる方法であって、さらに
    前記通信装置が認証サービスに前記チャレンジを送信するステップと、
    前記認証サービスが前記応答を計算するステップと、
    前記通信装置が前記認証サービスから前記応答を受信するステップと、
    前記通信装置が前記電子回路に前記応答を送信するステップと、
    を含む前記電気機械式ロックを動作させる方法。
  22. 電子回路内にチャレンジを記憶するステップと、
    通信装置からニア・フィールド通信クエリーを受信するステップと、
    ニア・フィールド通信を使用して前記チャレンジを読取る通信装置用のインターフェイスを提供する無線インターフェイスを提供するステップと、
    ニア・フィールド通信を使用して前記通信装置から応答を受信するステップと、
    前記応答を記憶し認証するステップと、
    前記認証が成功した場合にオープン命令を発行するステップと、
    を遂行するコンピュータ処理を実行するための命令のコンピュータ・プログラムをコード化したコンピュータ・プログラム製品。
JP2009190019A 2008-08-20 2009-08-19 電気機械式ロック Active JP5331611B2 (ja)

Applications Claiming Priority (2)

Application Number Priority Date Filing Date Title
EP08162655.8 2008-08-20
EP08162655A EP2157552B1 (en) 2008-08-20 2008-08-20 Electromechanical lock

Publications (2)

Publication Number Publication Date
JP2010048081A true JP2010048081A (ja) 2010-03-04
JP5331611B2 JP5331611B2 (ja) 2013-10-30

Family

ID=40104721

Family Applications (1)

Application Number Title Priority Date Filing Date
JP2009190019A Active JP5331611B2 (ja) 2008-08-20 2009-08-19 電気機械式ロック

Country Status (6)

Country Link
US (1) US20100073129A1 (ja)
EP (1) EP2157552B1 (ja)
JP (1) JP5331611B2 (ja)
CN (1) CN101685556A (ja)
ES (1) ES2390797T3 (ja)
IN (1) IN2009KO01084A (ja)

Cited By (2)

* Cited by examiner, † Cited by third party
Publication number Priority date Publication date Assignee Title
US20110174029A1 (en) * 2010-01-15 2011-07-21 Iloq Oy Electromechanical lock
JP2014535018A (ja) * 2011-11-11 2014-12-25 イロク オサケ ユキチュア 電気機械式ロック

Families Citing this family (52)

* Cited by examiner, † Cited by third party
Publication number Priority date Publication date Assignee Title
WO2008034022A2 (en) * 2006-09-14 2008-03-20 The Knox Company Electronic lock and key assembly
FR2945162A1 (fr) 2009-04-30 2010-11-05 Pascal Metivier Systeme d'alimentation externe d'une serrure comportant des moyens de communication sans contact de type nfc
SE534520C2 (sv) 2009-11-27 2011-09-20 Phoniro Ab Åtkomstkontrollmetod och tillhörande låsanordning samt administrationsserver
DE102010034977A1 (de) * 2010-08-20 2012-02-23 Hella Kgaa Hueck & Co. Schlüssel mit Funkfernbedienung, insbesondere für Kraftfahrzeuge, und Anordnung mit einem solchen Schlüssel
EP2442282B1 (en) 2010-09-23 2014-05-14 BlackBerry Limited Communications system providing personnel access based upon near-field communication and related methods
US20120218075A1 (en) 2011-02-28 2012-08-30 Thomas Casey Hill Methods and apparatus to control access
CA2828069C (en) * 2011-03-08 2015-11-03 Near Field Magnetics, Inc. Radio frequency access control system and method
US8571471B2 (en) * 2011-04-22 2013-10-29 Adam Kuenzi Batteryless lock with trusted time
TWI553500B (zh) 2011-07-26 2016-10-11 英屬開曼群島商睿能創意公司 用於車輛中之電力儲存器件之實體保全之裝置、方法及物品
EP2757742B1 (en) * 2011-09-12 2018-07-25 Toyota Jidosha Kabushiki Kaisha On-vehicle gateway apparatus and communication system for vehicle
US8947200B2 (en) * 2011-11-17 2015-02-03 Utc Fire & Security Corporation Method of distributing stand-alone locks
US20130335193A1 (en) * 2011-11-29 2013-12-19 1556053 Alberta Ltd. Electronic wireless lock
US10465422B2 (en) 2012-05-10 2019-11-05 2603701 Ontario Inc. Electronic lock mechanism
US9663972B2 (en) 2012-05-10 2017-05-30 Wesko Locks Ltd. Method and system for operating an electronic lock
US9472034B2 (en) * 2012-08-16 2016-10-18 Schlage Lock Company Llc Electronic lock system
CN102768781B (zh) * 2012-08-17 2014-12-17 褚维戈 Nfc手机电子锁控制系统和装置
WO2014044832A1 (de) * 2012-09-21 2014-03-27 Simonsvoss Technologies Gmbh VERFAHREN UND SYSTEM ZUR KONFIGURATION VON KLEINSCHLIEßANLAGEN
CN103793960B (zh) * 2012-10-31 2016-12-21 株式会社易保 用于移动钥匙服务的方法
DE102012021479A1 (de) * 2012-11-05 2014-05-08 Giesecke & Devrient Gmbh Verfahren zum Betreiben einer elektronischen Authentisierungseinheit
DE102012221016B4 (de) * 2012-11-16 2017-06-22 Micro-Sensys Gmbh Schließeinheit, Schließvorrichtung und Verfahren zum Entriegeln und/oder Verriegeln eines Schlosses
US9041510B2 (en) 2012-12-05 2015-05-26 Knox Associates, Inc. Capacitive data transfer in an electronic lock and key assembly
US9569294B2 (en) 2013-01-30 2017-02-14 Dell Products L.P. Information handling system physical component inventory to aid operational management through near field communication device interaction
US9124655B2 (en) 2013-01-30 2015-09-01 Dell Products L.P. Information handling system operational management through near field communication device interaction
US9198060B2 (en) * 2013-01-30 2015-11-24 Dell Products L.P. Information handling system physical component maintenance through near field communication device interaction
EP3343961A1 (en) * 2013-02-08 2018-07-04 Schlage Lock Company LLC Control system and method
JP2016521389A (ja) * 2013-03-12 2016-07-21 ゴゴロ インク ポータブル電力蓄積デバイス交換プランを変更するための装置、方法、および物品
US8893964B2 (en) 2013-03-15 2014-11-25 Dell Products L.P. Secure point of sale presentation of a barcode at an information handling system display
CN104112303A (zh) * 2013-04-16 2014-10-22 凯健企业股份有限公司 无线感控锁具
CH708199A2 (de) * 2013-05-29 2014-12-15 Kaba Ag Verfahren zur Verwaltung von Medien für die drahtlose Kommunikation.
EP2821971B1 (en) 2013-07-05 2023-09-20 Assa Abloy Ab Portable access control communication device, method, computer program and computer program product
US8922333B1 (en) 2013-09-10 2014-12-30 Gregory Paul Kirkjan Contactless electronic access control system
US9704316B2 (en) 2013-09-10 2017-07-11 Gregory Paul Kirkjan Contactless electronic access control system
EP2919202B1 (en) * 2014-03-10 2020-04-22 Assa Abloy Ab RFID powered lock device
IL232413B (en) * 2014-05-01 2018-07-31 Knock Nlock Ltd Electronically operated lock
US9996999B2 (en) * 2014-07-30 2018-06-12 Master Lock Company Llc Location tracking for locking device
US9455839B2 (en) 2014-07-30 2016-09-27 Master Lock Company Llc Wireless key management for authentication
US9894066B2 (en) 2014-07-30 2018-02-13 Master Lock Company Llc Wireless firmware updates
US9600949B2 (en) 2014-07-30 2017-03-21 Master Lock Company Llc Wireless key management for authentication
US9747739B2 (en) 2014-08-18 2017-08-29 Noke, Inc. Wireless locking device
US20160116510A1 (en) 2014-10-27 2016-04-28 Master Lock Company Predictive battery warnings for an electronic locking device
US9728022B2 (en) 2015-01-28 2017-08-08 Noke, Inc. Electronic padlocks and related methods
US9483891B1 (en) 2015-11-20 2016-11-01 International Business Machines Corporation Wireless lock
DK3217365T3 (en) 2016-03-10 2018-12-17 Iloq Oy Near field communication tag
CN109791714A (zh) * 2016-09-30 2019-05-21 亚萨合莱有限公司 使用指纹传感器控制对物理空间的访问
ES2765814T3 (es) 2017-02-16 2020-06-11 Iloq Oy Cerradura electromecánica
USD881677S1 (en) 2017-04-27 2020-04-21 Knox Associates, Inc. Electronic key
US10147255B1 (en) * 2017-05-18 2018-12-04 Elliot Rais Battery free smart lock
DE102018114253A1 (de) * 2018-06-14 2019-12-19 Dormakaba Schweiz Ag Verfahren zur Regelung eines Zugangsregimes zu einem Objekt, Schließeinheit und Schließsystem
US11352817B2 (en) 2019-01-25 2022-06-07 Noke, Inc. Electronic lock and interchangeable shackles
US11574513B2 (en) 2020-03-31 2023-02-07 Lockfob, Llc Electronic access control
IL298666A (en) 2020-06-02 2023-01-01 Ryan John Joseph Electronic locking system
US12057708B2 (en) * 2021-09-10 2024-08-06 Zephyr Lock, Llc Rechargeable electronic lock

Citations (3)

* Cited by examiner, † Cited by third party
Publication number Priority date Publication date Assignee Title
JPH062456A (ja) * 1992-06-22 1994-01-11 Nippon Telegr & Teleph Corp <Ntt> 電子ロック装置
JP2005307480A (ja) * 2004-04-19 2005-11-04 Toyota Motor Corp 車両用遠隔制御装置
JP2006257822A (ja) * 2005-03-18 2006-09-28 Itoki Corp 錠装置

Family Cites Families (16)

* Cited by examiner, † Cited by third party
Publication number Priority date Publication date Assignee Title
US3733861A (en) * 1972-01-19 1973-05-22 Recognition Devices Electronic recognition door lock
US4631940A (en) * 1985-03-29 1986-12-30 Sargent & Greenleaf, Inc. Digital readout combination lock dial assembly
US4912460A (en) * 1987-07-16 1990-03-27 John Chu Electrostatically activated gating mechanism
DE4329697C2 (de) * 1993-09-02 1995-10-05 Siemens Ag Fernsteuerbare Zugangskontrolleinrichtung
AU7697300A (en) * 1999-09-27 2001-04-30 Tactel Ab Automatic locking system
US7114178B2 (en) * 2001-05-22 2006-09-26 Ericsson Inc. Security system
EP1288841A1 (en) * 2001-08-30 2003-03-05 Motorola, Inc. Passive response communication system
JP3552703B2 (ja) * 2002-02-14 2004-08-11 日産自動車株式会社 車両用電子キー装置
GB2397613A (en) * 2002-12-13 2004-07-28 Envopak Group Ltd Lock system with electronic key unit
US7458510B1 (en) * 2005-04-19 2008-12-02 Sprint Spectrum L.P. Authentication of automated vending machines by wireless communications devices
JP2008543156A (ja) * 2005-05-23 2008-11-27 エヌエックスピー ビー ヴィ 電子通信システム、特に認証制御システムおよび対応する方法
CN2816253Y (zh) * 2005-09-15 2006-09-13 缪忠民 一种机械电子组合式防盗锁具机构
US7276703B2 (en) * 2005-11-23 2007-10-02 Lockheed Martin Corporation System to monitor the health of a structure, sensor nodes, program product, and related methods
US7880584B2 (en) * 2006-06-07 2011-02-01 Utc Fire & Security Americas Corporation, Inc. Lockbox key with callback feature
CN201047211Y (zh) * 2007-04-20 2008-04-16 史会桐 遥控开锁式防解码型摩托车防盗电子锁
CN101196088A (zh) * 2007-12-11 2008-06-11 深圳市海贝斯智能科技有限公司 Gsm移动通讯电子门锁系统

Patent Citations (3)

* Cited by examiner, † Cited by third party
Publication number Priority date Publication date Assignee Title
JPH062456A (ja) * 1992-06-22 1994-01-11 Nippon Telegr & Teleph Corp <Ntt> 電子ロック装置
JP2005307480A (ja) * 2004-04-19 2005-11-04 Toyota Motor Corp 車両用遠隔制御装置
JP2006257822A (ja) * 2005-03-18 2006-09-28 Itoki Corp 錠装置

Cited By (3)

* Cited by examiner, † Cited by third party
Publication number Priority date Publication date Assignee Title
US20110174029A1 (en) * 2010-01-15 2011-07-21 Iloq Oy Electromechanical lock
US8581690B2 (en) * 2010-01-15 2013-11-12 Iloq Oy Electromechanical lock
JP2014535018A (ja) * 2011-11-11 2014-12-25 イロク オサケ ユキチュア 電気機械式ロック

Also Published As

Publication number Publication date
ES2390797T3 (es) 2012-11-16
US20100073129A1 (en) 2010-03-25
EP2157552B1 (en) 2012-07-11
EP2157552A1 (en) 2010-02-24
IN2009KO01084A (ja) 2015-08-14
JP5331611B2 (ja) 2013-10-30
CN101685556A (zh) 2010-03-31

Similar Documents

Publication Publication Date Title
JP5331611B2 (ja) 電気機械式ロック
CN104011776B (zh) 机电锁和用于操作机电锁的方法
JP6681477B2 (ja) 近距離無線通信タグ
CN101159551B (zh) 多功能信息安全设备及其使用方法
US20060176146A1 (en) Wireless universal serial bus memory key with fingerprint authentication
US20190385392A1 (en) Digital door lock having unique master key and method of operating the digital door
JP6303415B2 (ja) 電子錠
EP2919202B1 (en) RFID powered lock device
JP2023500019A (ja) モバイルデジタルロック技術
CN101243452A (zh) 具有安全模块和多个电子设备的系统
KR20160109887A (ko) 모바일 연동 엔에프씨 자물쇠 및 이의 오픈 방법
JP2006060392A (ja) 情報端末装置の不正利用防止方式および本人確認方法
KR102442149B1 (ko) 외부 단말기기를 이용한 사용자인증 기반의 전자키 및 그 동작 방법
CN109469409B (zh) 一种智能门锁及智能门锁系统
US20240391422A1 (en) Control of a Motor Vehicle
US20250078596A1 (en) Authorization and unlocking method and system for a door lock, electronic device, and computer-readable storage medium
US11837037B2 (en) Universal secure mobile device entry upgrade electronics unit for electronic locks and method of use thereof
JP2008234421A (ja) 通信管理装置及び通信管理方法並びに通信管理プログラム
CN120164272A (zh) 无钥匙进入系统工作方法
JP2025116375A (ja) 電子錠システム
JP2009030286A (ja) 携帯機器を用いた施解錠装置およびそれを用いた施解錠システム
TW201721490A (zh) 透過生物特徵進行鎖定與解鎖系統及其方法
JP2011253382A (ja) カードリーダ

Legal Events

Date Code Title Description
A621 Written request for application examination

Free format text: JAPANESE INTERMEDIATE CODE: A621

Effective date: 20110616

A977 Report on retrieval

Free format text: JAPANESE INTERMEDIATE CODE: A971007

Effective date: 20121227

A131 Notification of reasons for refusal

Free format text: JAPANESE INTERMEDIATE CODE: A131

Effective date: 20130108

A601 Written request for extension of time

Free format text: JAPANESE INTERMEDIATE CODE: A601

Effective date: 20130404

A602 Written permission of extension of time

Free format text: JAPANESE INTERMEDIATE CODE: A602

Effective date: 20130409

A601 Written request for extension of time

Free format text: JAPANESE INTERMEDIATE CODE: A601

Effective date: 20130508

A602 Written permission of extension of time

Free format text: JAPANESE INTERMEDIATE CODE: A602

Effective date: 20130513

A521 Request for written amendment filed

Free format text: JAPANESE INTERMEDIATE CODE: A523

Effective date: 20130610

TRDD Decision of grant or rejection written
A01 Written decision to grant a patent or to grant a registration (utility model)

Free format text: JAPANESE INTERMEDIATE CODE: A01

Effective date: 20130702

A61 First payment of annual fees (during grant procedure)

Free format text: JAPANESE INTERMEDIATE CODE: A61

Effective date: 20130729

R150 Certificate of patent or registration of utility model

Ref document number: 5331611

Country of ref document: JP

Free format text: JAPANESE INTERMEDIATE CODE: R150

Free format text: JAPANESE INTERMEDIATE CODE: R150

R250 Receipt of annual fees

Free format text: JAPANESE INTERMEDIATE CODE: R250

R250 Receipt of annual fees

Free format text: JAPANESE INTERMEDIATE CODE: R250

R250 Receipt of annual fees

Free format text: JAPANESE INTERMEDIATE CODE: R250

R250 Receipt of annual fees

Free format text: JAPANESE INTERMEDIATE CODE: R250

R250 Receipt of annual fees

Free format text: JAPANESE INTERMEDIATE CODE: R250

R250 Receipt of annual fees

Free format text: JAPANESE INTERMEDIATE CODE: R250

R250 Receipt of annual fees

Free format text: JAPANESE INTERMEDIATE CODE: R250

R250 Receipt of annual fees

Free format text: JAPANESE INTERMEDIATE CODE: R250

R250 Receipt of annual fees

Free format text: JAPANESE INTERMEDIATE CODE: R250

R250 Receipt of annual fees

Free format text: JAPANESE INTERMEDIATE CODE: R250