JP2010046718A - 切削工具の切刃部材の製造方法および該製造方法に用いられる圧粉体のプレス成形金型 - Google Patents

切削工具の切刃部材の製造方法および該製造方法に用いられる圧粉体のプレス成形金型 Download PDF

Info

Publication number
JP2010046718A
JP2010046718A JP2009274733A JP2009274733A JP2010046718A JP 2010046718 A JP2010046718 A JP 2010046718A JP 2009274733 A JP2009274733 A JP 2009274733A JP 2009274733 A JP2009274733 A JP 2009274733A JP 2010046718 A JP2010046718 A JP 2010046718A
Authority
JP
Japan
Prior art keywords
die
cavity
green compact
punch
punches
Prior art date
Legal status (The legal status is an assumption and is not a legal conclusion. Google has not performed a legal analysis and makes no representation as to the accuracy of the status listed.)
Granted
Application number
JP2009274733A
Other languages
English (en)
Other versions
JP2010046718A5 (ja
JP5195729B2 (ja
Inventor
Giichi Okada
義一 岡田
Current Assignee (The listed assignees may be inaccurate. Google has not performed a legal analysis and makes no representation or warranty as to the accuracy of the list.)
Mitsubishi Materials Corp
Original Assignee
Mitsubishi Materials Corp
Priority date (The priority date is an assumption and is not a legal conclusion. Google has not performed a legal analysis and makes no representation as to the accuracy of the date listed.)
Filing date
Publication date
Application filed by Mitsubishi Materials Corp filed Critical Mitsubishi Materials Corp
Priority to JP2009274733A priority Critical patent/JP5195729B2/ja
Publication of JP2010046718A publication Critical patent/JP2010046718A/ja
Publication of JP2010046718A5 publication Critical patent/JP2010046718A5/ja
Application granted granted Critical
Publication of JP5195729B2 publication Critical patent/JP5195729B2/ja
Anticipated expiration legal-status Critical
Expired - Lifetime legal-status Critical Current

Links

Images

Landscapes

  • Powder Metallurgy (AREA)

Abstract

【課題】例えばすくい面から突出するチップブレーカを有する縦刃式スローアウェイチップに製造される圧粉体を、チップ本体の厚さ方向に対応する方向にパンチを離接させて成形する。
【解決手段】互いに対向して相対的に離接させられるパンチ21,22と、これらパンチ21,22の周囲を取り囲んでキャビティー23を画成するダイ24とを備えたプレス成形金型を用いて、キャビティー23に投入した原料粉末をパンチ21,22によって圧縮して圧粉体をプレス成形するに際し、ダイ24にキャビティー23の外側に向けて後退する凹部26を形成して、この凹部26にパンチ21,22によって圧縮される原料粉末を充密させることにより、圧粉体のダイ24により成形される部分に、パンチ21,22が離間する方向側に隣接する部分に対して相対的に凸となる突出部を成形する。
【選択図】図1

Description

本発明は、切刃を備えて切削工具の本体に着脱可能に装着されるスローアウェイチップのような切削工具の切刃部材の製造方法、およびこのような切刃部材を、その原料粉末を圧縮した圧粉体から製造する場合の該製造方法に用いられる圧粉体のプレス成形金型に関するものである。
このような切削工具の切刃部材の製造方法としては、例えば特許文献1に上記スローアウェイチップの製造方法として、図19に示すような方形平板状のチップ本体1を備えて、その方形をなす平板面2の周囲に配置される4つの周面のうち、互いに反対側に位置する一対の周面がすくい面3とされ、このすくい面3と逃げ面とされる上記平板面2との交差稜線が切刃4とされた所謂縦刃式のスローアウェイチップの製造方法が提案されている。すなわち、この特許文献1記載の製造方法では、チップ本体1の厚さ方向(図19において上下方向)に対応する方向に垂直な方向に互いに対向して離接(上下動)する上下のパンチと、上下動して接近したこれら上下パンチの周囲を取り囲むように配設されて該上下パンチとの間にキャビティーを画成するダイとを備えたプレス成形金型を用いて、上記キャビティー内に投入した超硬合金等のスローアウェイチップの原料粉末を、上下パンチによって圧縮して圧粉体をプレス成形するようにしている。
なお、上記スローアウェイチップにおいては、そのチップ本体1の上記周面のうちすくい面3に隣接する残りの一対の他の周面5と該すくい面3との交差稜線も切刃6として使用されることがあり、この場合にはこの他の周面5は該切刃6の逃げ面とされるるとともに、この他の周面5と上記平板面2との交差稜線部は断面1/4凸円弧等の凸曲面とされ、これに伴い上記切刃4,6が形成された交差稜線同士が交差するすくい面3の角部には、これらの切刃4,6に滑らかに連なる1/4凸円弧状のコーナ部7が形成される。また、この特許文献1に記載されたスローアウェイチップは、上記すくい面3と逃げ面とされる平板面2および他の周面5が切刃4,6を介して直交する方向に配設されたネガティブタイプとされ、しかも上記すくい面3にチップブレーカ8が形成されたブレーカ付きのスローアウェイチップとされている。さらに、この特許文献1では、上記キャビティー内にダイからピンを出没可能に設けて、スローアウェイチップの工具本体への取り付けの際にクランプネジ等が挿入される取付穴9となる貫通孔を圧粉体に形成するようにしている。
一方、特許文献2には、同じ切刃部材としてのスローアウェイチップではあるものの、上記縦刃式スローアウェイチップとは異なり、三角形平板状のチップ本体の厚さ方向を向く三角形の平板面がすくい面とされるとともに、この平板面の周りに配置される周面が逃げ面とされ、この逃げ面に凹入したアンダーカット部が形成された、いわゆるダブルポジティブタイプのスローアウェイチップの製造方法およびその圧粉体のプレス成形金型が記載されている。すなわち、この特許文献2では、チップ本体の厚さ方向に対応する方向に上下動する上下パンチと、その周囲を取り囲んでキャビティーを画成するダイとを備えたプレス成形金型を用いて、このダイを複数に分割して上記チップ本体の厚さ方向に対応する方向に垂直な方向に進退可能とするとともに、これらの分割したダイのキャビティーを形成する面部分には突起部を設け、この突起部によって上記アンダーカット部に対応する部分を圧粉体の周面に成形するようにしている。なお、これらのプレス成形金型によって成形された圧粉体は、焼結されて上記スローアウェイチップに製造される。
特開平10−146695号公報 特開平10−71497号公報
ところで、上記特許文献1に記載のように縦刃式スローアウェイチップに形成される圧粉体を、特許文献2と同様にチップ本体の厚さ方向に対応する方向に対向して離接する上下パンチと、その周囲を取り囲んでキャビティーを画成するダイとを備えたプレス成形金型を用いて成形しようとすると、チップ本体1のすくい面3に対応する圧粉体の周面はこのダイによって成形されることとなる。ところが、上述のようにチップ本体1のすくい面3にチップブレーカ8を形成する場合において、特にこのチップブレーカ8が、特許文献2記載のスローアウェイチップの逃げ面に形成される上記アンダーカット部のように中凹状に凹入するだけのものではなく、すくい面3から突出したりあるいは凹入するものと突出するものとが組み合わされたりしたものであって、チップ本体1の厚さ方向内側に外側に対して相対的に凸となる突出部を構成するものであり、これに伴い圧粉体にもその成形時に上記パンチが離間する方向側に隣接する部分に対して相対的に凸となる突出部が成形される場合には、ダイのキャビティーを画成する部分に単に突起部を設けただけの特許文献2記載のプレス成形用金型および該金型を用いた製造方法では、このようなスローアウェイチップに製造される圧粉体を成形することはできない。
本発明は、このような背景の下になされたもので、互いに対向して離接する上下パンチとその周囲に配置されてキャビティーを画成するダイとを備えたプレス成形金型を用いて、例えば上述のようにすくい面から突出したり凹入と突出とが組み合わされたりしたチップブレーカを有する縦刃式スローアウェイチップのような切削工具の切刃部材を、このスローアウェイチップのチップ本体の厚さ方向に対応する方向に上記パンチを離接させて該切刃部材に製造される圧粉体を成形することにより製造することが可能な切削工具の切刃部材の製造方法を提供し、またかかる製造方法に用いて好適な圧粉体のプレス成形金型を提供することを目的としている。
上記課題を解決して、このような目的を達成するために、本発明の切削工具の切刃部材の製造方法は、互いに対向して相対的に離接させられるパンチと、接近したこれらパンチの周囲を取り囲むように配設されて該パンチとの間にキャビティーを画成するダイとを備えたプレス成形金型を用いて、上記キャビティーに投入した原料粉末を上記パンチによって圧縮することにより、切削工具の切刃部材に製造される圧粉体をプレス成形する切削工具の切刃部材の製造方法であって、上記ダイに上記キャビティーの外側に向けて後退する凹部を形成して、この凹部に上記パンチによって圧縮される上記原料粉末を充密させることにより、上記圧粉体において上記ダイにより成形される部分に、上記パンチが離間する方向側に隣接する部分に対して相対的に凸となる突出部を成形することを特徴とする。
また、本発明の圧粉体のプレス成形金型は、このようなスローアウェイチップの製造方法に用いられる圧粉体のプレス成形金型であって、互いに対向して相対的に離接させられるパンチと、接近したこれらパンチの周囲を取り囲むように配設されて該パンチとの間にキャビティーを画成するダイとを備え、このダイには、上記キャビティーの外側に向けて後退する凹部が形成されていることを特徴とする。
このような切削工具の切刃部材の製造方法および該製造方法に用いられる圧粉体のプレス成形金型では、キャビティーを画成するプレス成形金型のダイに、このキャビティーの外側に向けて後退する凹部が形成されていることにより、キャビティーに投入された原料粉末は、パンチの接近によって圧縮される際にパンチの離接方向からはみ出すように押し出されることによって該凹部に充密され、圧縮されて上記突出部に成形されることとなる。従って、この切刃部材が、略平板状を呈するチップ本体を有して、該チップ本体の厚さ方向を向く平板面とこの平板面の周りに配置される周面とを備え、この周面に形成されたすくい面と上記平板面との交差稜線と、このすくい面に隣接する他の周面と該すくい面との交差稜線との少なくとも一方に切刃が形成された上記縦刃式のスローアウェイチップであって、しかも例えば該すくい面から突出あるいは凹入、突出する上記チップブレーカのように、上記周面において上記厚さ方向外側に隣接する部分に対して相対的に凸となる突出部が該厚さ方向内側に形成され、これに伴い該スローアウェイチップに製造される圧粉体においても同様の突出部が成形される一方で、このような圧粉体を上記チップ本体の厚さ方向に対応する方向に上記パンチを離接することにより成形する場合であっても、チップブレーカ等に対応した形状の突出部が圧粉体においてチップ本体の周面に対応する部分に成形されるように上記凹部をダイ側に形成することにより、かかるスローアウェイチップに製造される圧粉体を確実に成形することが可能となる。
また、このように上記切刃部材が平板状のスローアウェイチップであって、上記パンチがそのチップ本体の厚さ方向に対応する方向に離接させられる場合には、特許文献1記載の製造方法およびプレス成形金型のようにこの厚さ方向に対応する方向に垂直な方向にパンチが離接して圧粉体を成形するのに比べ、原料粉末を均一に圧縮することができるので、製造されたスローアウェイチップのチップ本体の変形を防いで、上記縦刃式のスローアウェイチップを製造する場合でも精度の向上を図ることができる。特に、この特許文献1記載では、図19に示したようにチップ本体1をその厚さ方向に貫通する取付穴9を形成するため、この厚さ方向に対応する方向、すなわちパンチの離接方向に垂直な方向にピンをキャビティー内に出没可能に設けて圧粉体に貫通孔を成形するようにしており、原料粉末の圧縮時にこのピンの周りで圧縮比が僅かながら変化してしまうことにより、製造されたスローアウェイチップにおいてもその取付穴9の周囲で微小な変形が生じるおそれがあるが、上述のようにパンチがチップ本体の厚さ方向に対応する方向に離接させられる場合には、上記キャビティー内に、互いに接近したこれらパンチ間に上記離接方向に突出する上記ピン等の突部を設けることにより、この突部の周囲での原料粉末の圧縮比の変化を抑えつつ圧粉体に貫通孔を成形することができ、チップ本体における取付穴周辺の変形を防ぐことができる。
ここで、このようにプレス成形金型のダイ側に、キャビティー外側に向けて後退する凹部を形成する場合、この凹部に充密されて突出部を成形する原料粉末は、上記パンチによる圧縮力に基づいて上述のように上記離接方向からはみ出すように該凹部に押し込まれて圧縮されるものであるから、この凹部の深さが、こうして原料粉末を押し込む圧縮力を作用させる凹部の上記離接方向の間隔に対して大きすぎると、原料粉末の圧縮の際に該凹部の奥にまで原料粉末が確実に行き渡らなかったり、あるいは該凹部内で原料粉末が十分に圧縮されなくなったりするおそれが生じる。このため、上記凹部の深さは、上記パンチの離接方向を向くこの凹部の両壁面に連なって上記キャビティーの内側に向けて凸となるその突端からの深さとして、これらの突端間の上記離接方向の間隔以下とされるのが望ましく、より望ましくはこの間隔の50%以下、さらに望ましくは25%以下とされる。
なお、この凹部の上記離接方向を向く両壁面に連なってキャビティー内側に凸となるその突端は、キャビティーが画成されるときに上記離接方向に接近するパンチと摺接するダイ側の摺接面に対し、この凹部が全体的にキャビティー外側に後退している場合には当該ダイ側摺接面と凹部の壁面とが交わる部分そのものとなって、両突端間の上記間隔も凹部自体の上記離接方向におけるダイ側摺接面への開口幅となる。また、例えばチップブレーカが上述のようにすくい面から突出するものと凹入するものとが組み合わされたものであるときなどにおいて、凹部の開口部の上記離接方向における周縁にダイ側摺接面よりもキャビティー内側に凸となる凸部が形成されている場合などには、凹部の深さはこの凸部の突端からの深さとなって、両突端間の間隔もこれら凸部の突端間の間隔となる。また、こうして凹部の奥まで確実に原料粉末を充密させて十分に圧縮するには、該凹部は、その内面が滑らかに連続した曲面によって形成されているのが望ましい。
一方、このように原料粉末が凹部に押し込まれるように該凹部に充密されて圧縮されることにより、本発明のプレス成形金型において該凹部は、その上記パンチの離接方向における最大幅が、上記キャビティー内側への開口部の最小幅より大きくされていてもよく、これにより、上記離接方向において該凹部の上記両突端間の間隔よりも大きな寸法を圧粉体の上記突出部に与えたりすることも可能となる。ただし、このような場合においても、こうして凹部の両突端間の間隔よりも上記離接方向に大きな寸法とされる突出部に確実に原料粉末を充密して圧縮するには、この離接方向における上記凹部の最大幅は、上記最小幅の110%以下とされるのが望ましい。
なお、このようにパンチの離接方向における凹部の最大幅がキャビティー内側への凹部の開口部の最小幅よりも大きくされている場合などには、上記ダイも、上記キャビティーを間にしてパンチの離接方向に分割されて離接可能とすることにより、成形された圧粉体を容易にプレス成形金型から抜き出すことができる。一方、このようにパンチの離接方向において凹部の最大幅が開口部の最小幅より大きくされたりすることなく、該離接方向の一方から他方に向けて該凹部が単にキャビティー外側に凹むように後退するだけ、あるいは上記凸部を含めて単に凹凸するだけであるなら、上記特許文献2に記載の金型と同じように、上記ダイを、上記キャビティーを間にしてこのパンチの離接方向に垂直な方向に分割して離接可能とすればよい。また、圧粉体を抜き出すことができれば、ダイを部分的に分割して部分的に離接可能とするようにしてもよい。
本発明のプレス成形金型の第1の実施形態を示す断面図である。 図1に示す実施形態のダイ側摺接面24Cの拡大断面図である。 図1に示す実施形態のダイ24の分割例を示すパンチ離接方向に見た平面図である。 図1に示す第1の実施形態のプレス成形金型を用いた製造方法によって製造される縦刃式のスローアウェイチップの斜視図である。 図1に示す第1の実施形態の変形例を示す断面図である。 図5に示す変形例のダイ側摺接面24Cの拡大断面図である。 図1に示す第1の実施形態の他の変形例を示す断面図である。 図7に示す変形例のダイ側摺接面24Cの拡大断面図である。 本発明のプレス成形金型の第2の実施形態を示す断面図である。 図9に示す第2の実施形態のプレス成形金型を用いた製造方法によって製造される縦刃式のスローアウェイチップの斜視図である。 本発明のプレス成形金型の第3の実施形態を示す断面図である。 本発明のプレス成形金型の第4の実施形態を示す断面図である。 図12に示す変形例のダイ側摺接面24Cの拡大断面図である。 図12に示す第4の実施形態のプレス成形金型を用いた製造方法によって製造される縦刃式のスローアウェイチップの斜視図である。 本発明のプレス成形金型の第5の実施形態を示す断面図である。 三角形平板状の縦刃式スローアウェイチップを示す平面図である。 図16に示すスローアウェイチップの側面図である。 本発明のプレス成形金型の第6の実施形態を示す断面図である。 方形平板状の縦刃式スローアウェイチップを示す斜視図である。
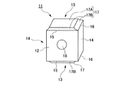
図1ないし図3は、本発明のプレス成形金型の第1の実施形態を示すものであり、図4は、かかるプレス成形金型を用いた本発明の切削工具の切刃部材の製造方法の一実施形態により製造される切刃部材を示すものである。ここで、この切刃部材は、上述した縦刃式のスローアウェイチップであって、すなわち略方形平板状のチップ本体11を有し、このチップ本体11の厚さ方向(図4において左手前から右奥に向かう方向)を向いて方形をなす一対の平板面12と、この平板面12の周りに配置される4つの周面とを備え、これらの周面のうち、互いに反対側に位置する一対の周面(図4において上下の周面)がすくい面13とされるとともに、このすくい面13と上記平板面12との交差稜線、および該すくい面13と残りの一対の他の周面(図4において左右の周面)14との交差稜線にそれぞれ切刃15,16が形成されていて、上記平板面12および他の周面14がそれぞれこれら切刃15,16に対する逃げ面とされている。
そして、上記すくい面13には、その周縁の切刃15,16から該すくい面13の内側に向かうに従い漸次隆起するようにして上記チップ本体11の厚さ方向に垂直な方向に突出する突出部17が形成されており、上記切刃15,16のチップブレーカとされている。ここで、この突出部17の突端は上記平板面12および他の周面14に垂直でチップ本体11の厚さ方向に沿ったすくい面13より一回り小さな長方形の平坦面17Aとされるとともに、この平坦面17Aと切刃15,16との間は、該切刃15,16に直交する断面が凹円弧等をなすような凹曲面状とされて、切刃15,16から離間するに従い漸次隆起するブレーカ壁面17Bとされている。さらに、このチップ本体11には、上記一対の平板面12の中央に開口して該チップ本体11をその上記厚さ方向に貫通するチップ取付穴18が形成されている。
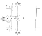
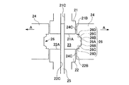
このような切刃部材としてのスローアウェイチップを製造するための本実施形態のプレス成形金型は、図1に示すように、互いに対向して図示されない駆動手段により相対的に離接させられる上下のパンチ21,22と、接近したこれらパンチ21,22の周囲を取り囲むように配設されて該パンチ21,22との間にキャビティー23を画成するダイ24とを備えている。ここで、これら上下パンチ21,22が互いに離接する方向(図1および図2において上下方向。以下、パンチ離接方向と称する。)は、本実施形態ではチップ本体11の厚さ方向に対応する方向に一致させられており、上パンチ21の下面と下パンチ22の上面とは、それぞれ上記チップ本体11の平板面12に対応する圧粉体の平板面を成形するプレス面21A,22Aとされていて、これらのプレス面21A,22Aは上記パンチ離接方向に垂直な平坦面とされている。
また、上記ダイ24は、本実施形態では図1および図3に矢線Aで示すようにパンチ離接方向に垂直な一方向(図1および図3においては左右方向。以下、水平方向と称する。)に、上記キャビティー23を間にしてその略中央から図3に示す分割面Pを介して2分割される分割ダイ24A,24Bとから構成されていて、これら分割ダイ24A,24Bはやはり図示されない駆動手段によって上記水平方向に相対的に離接可能とされている。そして、これら分割ダイ24A,24Bが接近して密着することによってダイ24が形成されるとともに、下パンチ22がそのパンチ側摺接面22Bをこのダイ24のダイ側摺接面24Cに摺接させて該ダイ24に嵌挿され、次いで上側からは上パンチ21がそのパンチ側摺接面21Bをダイ側摺接面24Cに摺接させつつ下降して該ダイ24に嵌挿され、図1に示すようにキャビティー23が画成される(ただし、図においては説明のため、これらパンチ側摺接面21B,22Bとダイ側摺接面24Cとの間には大きな隙間があけられているが、実際にはこの隙間は数ミクロン程度である。)。なお、これらパンチ側、ダイ側摺接面21B,22B,24Cはいずれもパンチ離接方向に平行に延びる平坦面とされている。
さらに、こうして画成されるキャビティー23内には、互いに接近した上下パンチ21,22間にパンチ離接方向に突出するピン25が、チップ本体11の上記取付穴18となる貫通孔を圧粉体に成形するための本実施形態における突部として設けられている。すなわち、このピン25は円柱状をなしていて、下パンチ22上面のプレス面22A中央に開孔するように該下パンチ22に形成された円孔22C内に嵌挿され、やはり図示されない駆動手段により下パンチ22とは独立して上記プレス面22Aから上記パンチ離接方向にキャビティー23内に出没可能とされている。一方、上パンチ21には、その下面のプレス面21Aのやはりその中央に開孔する円孔21Cが形成されており、キャビティー23内に突出したピン25の先端(上端)部は、この上パンチ21の円孔21Cに嵌挿されて収容される。
そして、上記ダイ24には、パンチ21,22とによって画成されたキャビティー23に開口して該キャビティー23の外側に後退するように凹部26が形成されており、圧粉体においてチップ本体11のすくい面13に形成される突出部17に対応する部分は、この凹部26によって成形されることとなる。ここで、本実施形態では、この凹部26は、分割ダイ24A,24Bの上記水平方向を向くダイ側摺接面24Cに対して後退するように形成されたものであって、その内面は、この水平方向に垂直とされてキャビティー23の内側を向く長方形平面状の底面26Aと、この底面26Aの4つの辺稜部から上記水平方向にキャビティー23の内側に向けて断面凸円弧等の凸曲面を描きつつ凹部26の開口部を拡げるように漸次隆起して上記ダイ側摺接面24Cに連なる壁面26Bとから構成されており、これら底面26Aおよび壁面26Bによって圧粉体における上記突出部17の平坦面17Aおよびブレーカ壁面17Bに対応する部分がそれぞれ成形される。
なお、この壁面26Bのうち、図1および図2に示されるダイ24の上記水平方向を向くダイ側摺接面24Cに連なる壁面26Bは、本実施形態ではこのダイ側摺接面24Cに滑らかに接して連なるように形成されており、キャビティー23を画成したときの上下パンチ21,22の上記プレス面21A,22Aの位置は、凸曲面を描くこれら壁面26Bと上記ダイ側摺接面24Cとの接線の位置とされている。一方、圧粉体においてチップ本体11の上記他の周面14に対応する周面を成形することとなるダイ側摺接面24Dは、パンチ離接方向に加えて上記水平方向にも平行に延びる平坦面とされ、このダイ側摺接面24Dに連なる凹部26の壁面26Bは、図3に破線で示すように上述のような突曲面を描きつつ該ダイ側摺接面24Dと角度をもって交差するように形成されており、キャビティー23を画成したときの上下パンチ21,22の上記プレス面21A,22Aのパンチ離接方向における位置は、この壁面26Bとダイ側摺接面24Dとの交差稜線の両端の位置とされる。
このようなプレス成形金型によって、上記縦刃式のスローアウェイチップに製造される圧粉体を成形するには、上記キャビティー23内に、上パンチ21がダイ24に嵌挿される前にその開口部から、WCを主成分とする超硬合金やTiC−TiNを主成分とするサーメットなどのスローアウェイチップの原料粉末を投入し、この原料粉末を上パンチ21のプレス面21Aと下パンチ22のプレス面22Aとによってキャビティー23内で圧縮する。従って、これにより、キャビティー23内に突出した上記ピン25も含めて該キャビティー23の内面形状に応じた形状の圧粉体が成形される。
そして、上記構成のプレス成形金型では、このキャビティー23を画成するダイ24側に、該キャビティー23に対してその外側に後退する凹部26が形成されており、従ってかかるプレス成形金型を用いた切刃部材の製造方法において、キャビティー23内に投入された原料粉末は、上下パンチ21,22のプレス面21A,22Aによってキャビティー23内で上記パンチ離接方向に圧縮されるとともに、このパンチ離接方向からはみ出して凹部26内にも押し込まれるように充密されて圧力を受け、この凹部26も含めた上記キャビティー23の内面形状に応じた形状の圧粉体に成形される。このため、チップ本体11のすくい面13に対応する圧粉体の周面には、この凹部26の内面形状に応じて該周面に突出する突出部が成形されることとなるので、上述のように平板状のチップ本体11を有するスローアウェイチップを、その原料粉末をこのチップ本体11の厚さ方向に対応する方向すなわち上記パンチ離接方向に圧縮して圧粉体を成形することにより製造する場合でも、該チップ本体11の周面に突出する上記チップブレーカのような突出部17を備えたスローアウェイチップを製造することが可能となる。
また、上記特許文献1に記載の製造方法およびプレス成形金型のように、平板状のチップ本体の厚さ方向に対応する方向に垂直な方向に原料粉末を圧縮して圧粉体をプレス成形すると、この圧縮される方向の圧粉体の寸法が圧粉体の厚さ寸法よりも大きくなるため、原料粉末を均一に圧縮するのが困難となるおそれがあるが、本実施形態の製造方法では、上述のようにパンチ21,22が平板状のチップ本体11の厚さ方向に対応する方向に離接することにより圧粉体を成形するので、原料粉末を比較的均一に圧縮することができ、変形等による寸法誤差の少ないスローアウェイチップを製造することができる。特に、特許文献1記載の製造方法およびプレス成形金型ではチップ取付穴を形成するために上下パンチの離接方向に垂直にピンをキャビティー内に突出させており、原料粉末の圧縮時にはこのピンの周りで圧縮比が僅かながら変化してしまうため、製造されたスローアウェイチップにおいてもその取付穴の周囲で微小な変形が生じることになるが、本実施形態では図4に示したようにチップ本体11にこれをその厚さ方向に貫通する取付穴18が形成される場合でも、この取付穴18となる貫通孔を圧粉体に成形するピン25を、パンチ離接方向に向けてキャビティー23内に突出させることができるので、このピン25の周りで原料粉末の圧縮比が変化してチップ本体11の取付穴18周辺に変形が生じたりするのも確実に防止することが可能となる。
なお、このようにチップ本体11の取付穴18となる貫通孔を圧粉体に形成するのに、本実施形態においては下パンチ22のプレス面22Aから突部として円柱状のピン25をキャビティー23内に出没可能に設けて、このピン25を突出させた状態でキャビティー23内に原料粉末を投入した後、ピン25を上パンチ21の円孔21Cに収容しつつ上下パンチ21,22を相対的に接近させて圧粉体を成形することにより、このピン25によって上記貫通孔が圧粉体に形成されるようにしているが、この場合の貫通孔および上記取付穴18はその全長に亙って内径が一定の円筒孔とならざるを得ない。ところが、このようなスローアウェイチップの取付穴18としては、その一端または両端の開口部が皿形状あるいはベル形状など開口側に向けて内径が大きくなるように拡径して形成されるものもある。
そこで、このような形状の取付穴18となる貫通孔を、例えば上パンチ21のプレス面21Aによって成形される面側の開口部が拡径するように圧粉体に成形するには、この上パンチ21に上記円孔21Cを形成するのに代えて、この上パンチ21のプレス面21Aにパンチ離接方向に下パンチ22側に向けて突出し、かつその外径がプレス面21A側に向けて大きくなるように拡径するコア部を上記突部として形成し、上下パンチ21,22を相対的に接近させてこのコア部の先端がピン25の先端に当接した後は、この当接状態のままピン25が後退して下パンチ22の円孔22Cに押し込まれつつ、圧粉体が成形されるようにすればよい。また、下パンチ22のプレス面22Aによって成形される面側の貫通孔開口部が拡径するように圧粉体に成形するには、外径がこのプレス面22A側に向けて拡径するコア部を上記突部として、ピン25に代えてプレス面22Aから出没可能に設ければよい。しかも、このようにキャビティー23内に突出する突部としてプレス面21A,22A側に向けて拡径するコア部を用いれば、このコア部の外周面によって圧粉体成形の際に原料粉末が該コア部の外周側すなわちキャビティー23外側の凹部26に向けてより押し出され易くなるので、この凹部26への原料粉末の充密を確実かつ効率的とすることができるという利点も得られる。
また、本実施形態のプレス成形金型では、キャビティー23を画成するダイ24が上記水平方向に分割されて離接可能とされる分割ダイ24A,24Bによって構成されており、上述のようにダイ側摺接面24Cより突出することとなる突出部を圧粉体に成形する場合でも、こうしてダイ24を複数に分割することにより、成形された圧粉体を容易にプレス成形金型から抜き出すことができる。特に本実施形態では、上記突出部を成形する凹部26の内面が、上記水平方向に垂直とされた底面26Aと、この底面26Aからキャビティー23の内側に向けて凹部26の開口部を拡げるように漸次隆起する壁面26Bとから構成されるとともに、このような凹部26が互いに対向するようにして上記水平方向に離接可能に分割される分割ダイ24A,24Bの双方に形成されてダイ24が構成されており、従って圧粉体の成形後に分割ダイ24A,24Bを離間させるときには、壁面26Bにいわゆる抜き勾配が与えられることとなるので、成形された突出部を損傷したりすることなく確実に圧粉体を抜き出すことができるという効果も得られる。
ただし、本実施形態ではこのようにダイ24を、互いに対向する凹部26の底面26Aに垂直な上記水平方向に上記分割面Pから分割されて離接するようにしたが、例えば図3に鎖線で示すように分割面Pを上記パンチ離接方向に沿ってこの底面26Aに垂直に交差するようにキャビティー23を間にして設けて、該図3に矢線Bで示すように該底面26Aに沿ってパンチ離接方向に垂直な方向(図3における上下方向)にダイ24を分割して離接可能とするようにしてもよい。また、本実施形態のように凹部26の壁面26Bが底面26Aから漸次キャビティー23の内側に向かってダイ側摺接面24Cを越えることなく該ダイ側摺接面24Cに連なるように形成されているときには、例えば図1に鎖線で示すように分割面Pをパンチ離接方向に垂直に設けて、図中に矢線Cで示すようにダイ24がキャビティー23を間にしてこのパンチ離接方向に分割されて上下パンチ21,22と同方向に離接されるようにしてもよい。
ここで、上述のようなスローアウェイチップにおいてすくい面13に突出部17を設けてチップブレーカとする場合、そのブレーカ壁面17Bは、図4に示したように切刃15,16から離間してすくい面13の内側に向かうに従い漸次隆起して突出部17突端の平坦面17Aに連なるように形成されるほかに、切刃15,16からすくい面13の内側に向かうに従い一旦凹むようにして切刃15,16よりも後退した後、平坦面17に向けて漸次隆起する凹曲面状とされていてもよい。図5ないし図8は、このようなスローアウェイチップに製造される圧粉体を成形する際の上記第1の実施形態のプレス成形金型の変形例を示すものであり、後述する第2〜第5の実施形態も含めて、この第1の実施形態と共通する部分には同一の符号を配して説明を省略する。
このうち、まず図5および図6に示す変形例では、ダイ側摺接面24Cにおける凹部26の開口部周縁に、このダイ側摺接面24Cよりもキャビティー23の内側に突出する凸部26Cが凹部26に隣接して形成されており、この凸部26Cは、その表面が図6に示すようにダイ側摺接面24Cから角度をもって隆起して断面が凸曲線を描くようにキャビティー23内側に突出した後、その突端を経て凸曲線断面のまま凹部26側(キャビティー23の外側)に後退し、該凹部26の壁面26Bがなす凸曲面に滑らかに連なるようにされた凸曲面とされている。また、キャビティー23を画成したときの上下パンチ21,22の上記プレス面21A,22Aの位置は、パンチ離接方向において凹部26の両外側(上下パンチ21,22が互いに離間する方向側)に隣接する凸部26Cがダイ側摺接面24Cから隆起する位置、あるいはこれよりも上記離間する方向側に僅かに後退した位置とされている。
一方、図7および図8に示す変形例では、上記図5および図6に示した変形例で画成されるキャビティー23に対して、パンチ側およびダイ側摺接面21B,22B,24Cの位置が上記水平方向にキャビティー23の内側にずらされたような構成とされている。すなわち、この変形例において凹部26は、その内面が図8に示すように、上記底面26Aと、この底面26Aから凸曲面を描きつつキャビティー23の内側に向けて凹部26の開口部を拡げるように漸次隆起する壁面26Bと、この壁面26Bに滑らかに連なる凸曲面状の表面を有してキャビティー23の内側に向けて凸とされた凸部26Cと、この凸部26Cの突端から後退した位置に直接、あるいは上記パンチ離接方向に水平な幅の狭い平坦面を介して交差し、上記水平方向に延びてダイ側摺接面24Cに連なる壁面26Dとを備えるように形成されており、このうち壁面26Dは図7に示されるようにキャビティー23が画成された状態で上下パンチ21,22のプレス面21A,22Aと面一となるようにされている。
従って、このような変形例のプレス成形金型によれば、図5および図6では凹部26の開口部周縁に形成された凸部26Cにより、また図7および図8では凹部26内に形成された凸部26Cにより、圧粉体のチップ本体11におけるブレーカ壁面17Bに対応する部分が切刃15,16に対応する部分に対して一旦凹んだ後に隆起するように形成されるため、上述のようなスローアウェイチップを製造することができる。従って、そのようなスローアウェイチップでは、切刃15,16のすくい角を実質的に正角側に大きく設定することができて切れ味の向上を図ることができる。
また、図5および図6に示す変形例では、キャビティー23画成時のプレス面21A,22Aの位置を、上記上下パンチ21,22が互いに接近する方向に向けて凸部26Cがダイ側摺接面24Cから隆起する位置よりも、該上下パンチ21,22が互いに離間する方向に僅かに後退した位置とすることにより、また図7および図8に示した変形例では凹部26の凸部26Cと壁面26Dとの間に上記平坦面を介することにより、製造されたスローアウェイチップの切刃15,16にランドを形成することができて、切刃強度の確保を図ることができる。
なお、このような凸部26Cが形成されたプレス成形金型のダイ24は、図1および図3と同様に図5、図7において矢線Aで示した上記水平方向に分割される。言い換えれば、これらの変形例を含めた上記第1の実施形態では、少なくとも凹部26がキャビティー23の外側に後退する方向(本実施形態では上記水平方向)にダイ24を分割して離接可能とすることにより、上記突出部のパンチ21,22が離間する方向側に隣接する部分に該突出部に対して相対的に凹となるオーバーカット部を有する圧粉体を成形することが可能となり、場合によっては例えば図5および図6に示した変形例において凹部26の底面26Aをダイ側摺接面24Cよりもキャビティー23の内側に位置するようにしたりして、チップ本体11の上記突出部17を、ブレーカ壁面17Bは切刃15,16からすくい面13の内側に向かうに従い一旦凹んだ後に隆起するものの、その内側の該突出部17の突端となる平坦面17Aは切刃15,16よりチップ本体11の内側に後退した位置となるように製造することも可能となる。
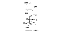
ところで、これら第1実施形態およびその変形例のように、ダイ24に、キャビティー23の外側に向けて後退する凹部26を形成して圧粉体にこの突出部を成形するようにした場合、この突出部は、上述のようにキャビティー23に投入されて上下パンチ21,22のプレス面21A,22Aによりパンチ離接方向に圧縮される原料粉末が、この凹部26にも押し込まれるように充密されて圧縮されることにより成形されるものであるから、該凹部26の深さDが深すぎると、パンチ離接方向への圧縮力に基づくキャビティー23外側への圧縮力が凹部26の底まで十分に作用せずに、圧粉体における上記突出部17突端の平坦面17Aに対応する部分などにおいてチップ本体11に変形が生じるおそれがある。このため、この凹部26の深さDは、該凹部26に充密される原料粉末にパンチ離接方向において圧縮力が作用する範囲の間隔E以下とされるのが望ましい。
ここで、凹部26が全体的にダイ側摺接面24Cから後退するようにされた第1の実施形態や図7および図8に示した変形例などでは、この凹部26に充密される原料粉末に、パンチ離接方向の圧縮力に基づくキャビティー23外側への圧縮力が作用するのは、この凹部26がダイ側摺接面24Cから後退し始める位置同士の間のパンチ離接方向における間隔Eの間であって、すなわち第1の実施形態では図2に示すように凸曲面を描く壁面26Bとダイ側摺接面24Cとの接線の位置間の間隔Eの間であり、図7および図8に示した変形例では凹部26の壁面26Dとダイ側摺接面24Cとの交差稜線の位置間の間隔Eの間である。従って、このような場合の凹部26の深さDは、これら接線や交差稜線から底面26Aまでの深さ、つまりダイ側摺接面24Cからの凹部26の後退深さとして、上記間隔E以下であるのが望ましい。
ところが、図5および図6に示した変形例のように、凹部26のダイ側摺接面24Cへの開口部周縁にキャビティー23内側に向けて凸となる凸部26Cが形成されていたりすると、凹部26に押し込まれる原料粉末に作用するキャビティー23外側への圧縮力は、上下パンチ21,22が離間する方向において凹部26の両側に隣接するこれら凸部26Cの上記突端間の間隔E内で該パンチ離接方向に作用する圧縮力に基づくものとなり、またこの圧縮力に基づいて原料粉末が押し込まれて充密される凹部26の深さDも、これらの突端からの深さDとなる。従って、上述のように凹部26が全体的にダイ側摺接面24Cから後退するようにされた場合も含めて、凹部26の深さDは、パンチ離接方向を向くこの凹部26の両壁面26Bに連なってキャビティー23内側に凸となるその突端(第1の実施形態では上記接線、図7および図8の変形例では上記交差稜線、図5および図6の変形例では凸部26Cの突端)からの深さDとして、これらの突端間のパンチ離接方向の間隔E以下とされるのが望ましい。なお、この凹部26の深さDは、これが浅いほど上記キャビティー23外側への圧縮力によって原料粉末が凹部26内に十分に充密されるので、上記間隔Eの50%以下とされるのがより望ましく、さらに上記間隔Eの25%以下とされるのが一層望ましい。
次に、図9は本発明のプレス成形金型の第2の実施形態を示すものであり、図10はこの第2の実施形態のプレス成形金型を用いた本発明の切削工具の切刃部材の製造方法によって製造される切刃部材としてのスローアウェイチップを示すものである。本実施形態のプレス成形金型では、ダイ24に形成される凹部26の内面が滑らかに連続した曲面によって形成されていることを特徴とする。すなわち、この凹部26の内面は、その底面26Aが上記水平方向においてキャビティー23の内側に対して凹となる凹曲面状に形成されるとともに、この底面26Aからダイ側摺接面24Cに連なる壁面26Bは、凹曲面状の底面26Aに滑らかに接する凸曲面状とされて、図9に示すように上記パンチ離接方向においても、また該パンチ離接方向と上記水平方向とに垂直な方向(図9の図面に直交する方向)においても、ダイ24の上記ダイ側摺接面24Cに滑らかに接するように形成されている。従って、この第2の実施形態においても凹部26の上記深さDはダイ側摺接面24Cから底面26Aまでの深さとされ、また上記間隔Eはパンチ離接方向において壁面26Bがダイ側摺接面24Cと接する接線間の間隔とされる。
このようなプレス成形金型によって成形された圧粉体から製造されるスローアウェイチップでは、図10に示すようにそのチップ本体11のすくい面13上に、突端が凸曲面状をなし、かつその周辺がこの凸曲面に滑らかに連なる凹曲面状をなして切刃15,16に連なるようにされた突出部17が形成されることとなる。しかして、本実施形態のプレス成形金型では、上述のように凹部26の内面がダイ側摺接面24Cに滑らかに連続する凹凸曲面によって形成されているので、圧粉体の成形の際に上記パンチ21,22によるパンチ離接方向への圧縮力に基づいて原料粉末を偏りなく凹部26内に充密させることが可能となり、すなわち圧粉体の周面に成形される突出部においても原料粉末を均一に圧縮することが可能となって、製造されたスローアウェイチップに変形等が生じるのを一層確実に防止することが可能となる。なお、本実施形態では上記凹部26の内面を滑らかに接する凹凸曲面のみによって形成したが、例えば上記第1の実施形態において凹部26の平面状とされた底面26Aと凸曲面状の壁面26Bとを、これらが交差する該底面26Aの辺稜部において凹曲面により滑らかに接して連続するように形成したりして、曲面と滑らかに接する平面が介在するようにしてもよい。
また、図11は、本発明のプレス成形金型の第3の実施形態を示すものであって、このプレス成形金型は、上記特許文献1に記載された図19に示したようなスローアウェイチップを製造するに際して、そのチップ本体1の切刃6の逃げ面とされる上記他の周面5と上記平板面2との交差稜線部を、上記コーナ部7も含めて断面凸円弧等の凸曲面状に形成するのに用いることができる。すなわち、上記第1、第2の実施形態およびその変形例では、スローアウェイチップのチップ本体11におけるすくい面13に対応する圧粉体の周面に、凹曲面状のブレーカ壁面17Bを備えた上記チップブレーカのような突出部17に対応する突出部を成形する場合について説明したが、本発明の切削工具の切刃部材の製造方法およびこれに用いられる本発明のプレス成形金型では、例えば図19に示した縦刃式スローアウェイチップに製造される圧粉体において、すくい面3に対応する周面以外の例えば逃げ面に対応する他の周面5に突出部を成形することも可能であるとともに、この突出部のパンチ21,22が離間する方向側に隣接して相対的に凹となるように後退する部分を、上記交差稜線部のように凸曲面状をなして後退するように成形することもできるのである。
ここで、この図11に示す実施形態では、図19に示したチップ本体1の上記他の周面5に対応する圧粉体の周面を成形するダイ24のダイ側摺接面24Dに、キャビティー23の外側に向けて後退し、かつ該ダイ側摺接面24Dに対しても後退する凹部26が形成されており、この凹部26の内面は上記ダイ側摺接面24Dに平行にパンチ離接方向に延びるようにして該ダイ側摺接面24Dから一段後退するようにされた底面26Aと、この底面26Aのパンチ離接方向両端縁(凹部26の上下端縁)において該底面26Aに滑らかに接するように連なる断面1/4凹円弧等の凹曲面状の壁面26Bとから構成されている。そして、この壁面26Bは、原料粉末の圧縮時に互いに接近してキャビティー23を画成する上下パンチ21,22の上記プレス面21A,22Aにも、上記ダイ側摺接面24Dを介して滑らかに接して連なるようにされている。
従って、このような第3の実施形態によれば、上記チップ本体1の上記他の周面5に対応する圧粉体の他の周面を、このチップ本体1の上記平板面2との凸曲面状をなす交差稜線部および上記コーナ部7に対応する圧粉体の交差稜線部およびコーナ部ごと、上記凹部26によって成形して、パンチ21,22が離間する方向側に隣接する上記凸曲面状の交差稜線部に対して相対的に凸となる突出部を成形することが可能となる。しかるに、このような圧粉体の凸曲面状の交差稜線部を、例えば上下パンチ21,22のプレス面21A,22Aによって成形しようとすると、これらのプレス面21A,22Aのダイ側摺接面24Dと摺接するパンチ側摺接面21B,22B側の周縁部には、この凸曲面に合わせた凹曲面状をなすエッジ部が形成されることとなって、このエッジ部は先端に向かうほどその交差角が限りなく鋭くなるため、容易に欠けなどの破損が生じ易くなってしまうのに対し、本実施形態では該交差稜線部を成形する凹部26がダイ側摺接面24Dに形成されていて、上下パンチ21,22のプレス面21A,22Aとパンチ側摺接面21B,22Bとの交差角は他の実施形態と同様に直角を確保することができるので、このような破損を防いでプレス成形金型の寿命の延長を図ることができる。
なお、このように上記ダイ側摺接面24Dに圧粉体の他の周面を成形する凹部26が形成されたダイ24において、チップ本体1のすくい面3に対応する圧粉体の周面を成形することとなる上記ダイ側摺接面24Cに、第1、第2の実施形態やその変形例の凹部26を形成すれば、上記平板面2との他の周面5との交差稜線部が凸曲面状とされてコーナ部7が凸曲線状とされるとともに、すくい面3にはチップブレーカとして作用する上記突出部17が形成されたスローアウェイチップを製造することが可能となる。また、このダイ側摺接面24Dに形成される凹部26の壁面26Bを、底面26Aと圧縮時のプレス面21A,22Aとに鈍角に交差するように連なる平面状に形成すれば、上記交差稜線部が面取り状の平面とされてコーナ部7がチャンファ状の直線に形成されたスローアウェイチップを製造することもできる。
一方、特にこのようにスローアウェイチップのチップ本体の逃げ面とされる他の周面に対応する圧粉体の他の周面に、この他の周面を成形するダイ24のダイ側摺接面24Dにキャビティー23の外側に向けて後退する凹部26を形成することにより、この他の周面においてパンチ21,22が離間する方向側に隣接する部分に対して相対的に凸となる突出部を成形するような場合、本発明では上述のように上下パンチ21,22によるパンチ離接方向への圧縮力に基づいてこの凹部26に原料粉末が充密して上記突出部が成形されることから、例えば図12および図13に示す第4の実施形態のプレス成形金型のように、この凹部26内のパンチ離接方向における最大幅Wを、該凹部26のキャビティー23内側への開口部の最小幅よりも大きくするようにしても、該凹部26内に原料粉末を充密させることができる。
すなわち、この第4の実施形態では、凹部26が、上記ダイ側摺接面24Dに対して後退するように形成されるとともに、パンチ離接方向を向くその上記壁面26Bの少なくとも一方が、この凹部26のダイ側摺接面24Dへの開口部に対しキャビティー23の外側に向けてパンチ21,22が互いに離間する方向にも後退するように形成されている。そして、上記パンチ離接方向への圧縮力に基づいてこの凹部26内に押し込まれた原料粉末は、該凹部26内でこのパンチ21,22が離間する方向にも押圧されて充密されることとなるので、この凹部26のキャビティー23内側への開口部における圧粉体の厚さよりも厚い突出部を該圧粉体の周面に成形することが可能となるのである。
ここで、本実施形態では上記凹部26は、ダイ側摺接面24Dに対して一段凹むように後退したパンチ離接方向に沿って延びる平坦な底面26Aと、この底面26Aのパンチ離接方向の周縁部からキャビティー23の内側に向けてダイ側摺接面24Dに延びる壁面26Bとから構成されていて、これらの壁面26Bがキャビティー23内側に向かうに従いパンチ21,22が離間する方向に延びた後に該パンチ21,22が接近する方向に延びるように向きを変えて上記ダイ側摺接面24Dに交差するように形成されることにより、この壁面26Bが向きを変えた位置同士のパンチ離接方向の幅である凹部26の最大幅Wが、該壁面26Bとダイ側摺接面24Dとの交差部分のパンチ離接方向の幅である凹部26のキャビティー23内側への開口部の最小幅よりも大きくなるようにされている。従って、本実施形態において、この凹部26のキャビティー23内側への開口部の最小幅は、該凹部26のパンチ離接方向を向く壁面26Bに連なってキャビティー23内側に凸となる突端間のパンチ離接方向の上記間隔Eと等しくなる。
より具体的に、この壁面26Bは、上記底面26Aに滑らかに接して断面が1/4を越える凹円弧等の凹曲面状に形成されており、これにより凹部26の断面は図13に示すようにパンチ離接方向に延びる略長円状とされている。従って、このように壁面26Bの断面が1/4を越える凹円弧状とされている場合には、上記最大幅Wは両壁面26Bの底面26Aから1/4円弧の位置同士の間のパンチ離接方向の間隔となる。なお、この壁面26Bがダイ側摺接面24Dと交差する部分は、上記凹曲面状のままとされていてもよく、またこの凹曲面に滑らかに接してキャビティー23の内側に向かうに従いパンチ21,22が互いに接近する方向に向かう平面状とされていてもよい。
また、本実施形態では、上下パンチ21,22のプレス面21A,22Aが、該パンチ21,22が互いに接近する方向に向けて凸となる断面V字等の凸形状とされていて、ダイ24の凹部26側に向けて互いの間隔が漸次大きくなる傾斜面とされており、これらのプレス面21A,22Aが上記ダイ側摺接面24Dに摺接するパンチ側摺接面21B,22Bとなす交差角は鈍角とされ、かつ凹部26の壁面26Bがダイ側摺接面24Dとなす交差角の補角をなすようにされ、上下パンチ21,22を接近させてキャビティー23を画成した状態で、これらのプレス面21A,22Aと壁面26Bとが面一に連なるようにされている。なお、このように構成されたプレス成形金型から圧粉体を抜き出すには、ダイ24を、図12に矢線Cで示すようにパンチ離接方向に分割して離接可能とするか、図3に矢線Aで示したダイ側摺接面24Dに平行な水平方向(図12の図面に直交する方向)に分割して離接可能とすればよい。
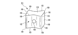
図14は、このように構成されたプレス成形金型によって成形された圧粉体から製造されるスローアウェイチップを示すものであって、そのチップ本体11は、上記平板面12が切刃15の中央部に向かうに従い凹V字型に凹むように形成されて、すくい面13がキャビティー23の断面形状に合わせて蝶型をなしており、また上記平板面12と他の周面14との交差稜線部は凸曲面状とされて、切刃15,16のコーナ部19は1/4を越える円弧等の凸曲線状とされている。なお、平板面12の上記チップ取付穴18周辺は、例えばすくい面13間を結ぶ方向においてチップ本体11の厚さ方向に垂直な平坦面とされていてもよい。このようなスローアウェイチップは、圧粉体において突出部が形成された上記他の周面14とすくい面13との交差稜線の切刃16を使用する場合、この切刃16にコーナ部19を介して交差する切刃15および平板面12に、すくい面13に沿って該切刃16から離間する方向に逃げが与えられるので、例えばこの切刃16によって被削材に溝入れ加工を行う場合のスローアウェイチップとして使用することができる。
ただし、上記凹部26のパンチ離接方向における最大幅Wがキャビティー23内側への開口部の最小幅(本実施形態では上記間隔E)に対して大きすぎると、上述のようにパンチ21,22によるパンチ離接方向への圧縮力に基づいて上記開口部から凹部26内に押し込まれた原料粉末が、この開口部からキャビティー23外側(底面26A側)に向けて幅広となる凹部26の壁面26B側に十分に充密されず、スローアウェイチップのチップ本体11における上記コーナ部19やこれに連なる平板面12と他の周面14との交差稜線部に変形等が生じるおそれがある。このため、凹部26上記最大幅Wはキャビティー23内側への開口部の最小幅の110%以内とされるのが望ましい。
さらにまた、図15は、本発明のプレス成形金型の第5の実施形態を示す断面図であり、本実施形態では上記上下パンチ21,22がさらに、圧粉体においてチップ本体11の上記平板面12中央に対応する部分に、該チップ本体11の厚さ方向に対応する方向に垂直な平坦面を成形する上下内パンチ21D,22Dと、該平板面12のこの平坦面の両外側に対応する部分を、該平坦面部分を除いて上記第4の実施形態による圧粉体と同様に断面V字等の谷形に成形する上下外パンチ21E,22Eとから構成されて、これら上下内外パンチ21D,22D,21E,22Eが互いに独立して上記厚さ方向に対応する方向に相対的に離接可能とされている。従って、上下の内パンチ21D,22Dのプレス面21A,22Aはパンチ離接方向に垂直とされ、上下外パンチ21E,22Eのプレス面21A,22Aはキャビティー23の外側すなわちダイ24の凹部26側に向けて互いの間隔が漸次大きくなる傾斜面とされる。
従って、このような第5の実施形態のプレス成形金型でも、上記第4の実施形態と同様に、凹部26内のパンチ離接方向における最大幅Wを該凹部26のキャビティー23内側への開口部の最小幅(上記間隔E)より大きくしても、この凹部26内に原料粉末を確実に充密させて該凹部26のキャビティー23内側への開口部における圧粉体の厚さよりも厚い突出部を圧粉体の周面に成形することができ、このような圧粉体からスローアウェイチップを製造したときに、切刃16にコーナ部19を介して交差する切刃15および平板面12に逃げを与えて、被削材の溝入れ加工等に有効に使用することができる。さらに、本実施形態ではパンチ21,22が内外パンチ21D,22D,21E,22Eに分割されて独立して離接可能とされているので、キャビティー23に投入された原料粉末を圧縮する際に、まず内パンチ21D,22Dを接近させて原料粉末をキャビティー23外側に押し出し、次いで外パンチ21E,22Eを接近させることにより、この外側に押し出された原料粉末をさらにキャビティー23外側に押圧して、一層確実かつ効率的に凹部26内に原料粉末を充密させることも可能となる。
ところで、上記第1〜第4の実施形態では、図4、図10、図14および図19に示したような方形平板状の縦刃式スローアウェイチップを製造する場合について説明したが、同じ縦刃式スローアウェイチップでも例えば図16および図17に示すような略三角形平板状のチップ本体11を有するスローアウェイチップを製造するのに、本発明(特に、上記第5の実施形態の構成)を適用することも可能である。このスローアウェイチップは、やはり被削材の溝入れ加工等に使用されるものであって、そのチップ本体11の厚さ方向を向く三角形状の平板面12のうち、一方の平板面12(図17において上側の平板面12)はその中央部が、また他方の平板面12(図17において下側の平板面12)は略全体が、上記厚さ方向に垂直な平坦面とされるとともに、これらの平板面12がなす三角形の角部分においては、それぞれ該角部で隣接する一対の周面の一方がすくい面13とされるとともに他の周面14が逃げ面とされ、これらすくい面13と他の周面14との交差稜線が切刃16とされている。
そして、この切刃16の両端には凸円弧状をなすコーナ部19が形成されており、これらのコーナ部19に連なる上記他の周面14と平板面12の上記角部分との交差稜線部は、この交差稜線部が延びる方向に直交する断面が該平板面12と他の周面14とに滑らかに連なる凸円弧等の凸曲線をなすように、チップ本体11の厚さ方向外側に向かって周面14に対し相対的に凹となるように後退する凸曲面状に形成されている。さらに、これらの交差稜線部に交差する平板面12の上記角部分のうち、上記一方の平板面12側の部分は、その上記交差稜線部側から該平板面12中央部の上記平坦面側に向かうに従い、反対側の上記他方の平板面12に向けて傾斜する傾斜面とされている。従って、このような三角形平板状のスローアウェイチップを粉末プレス成形による圧粉体から製造しようとすると圧粉体も三角形平板状となるため、例えば特許文献1に記載のように原料粉末を上記チップ本体11の厚さ方向に対応する方向に垂直に圧縮して圧粉体を成形する方法および金型では、原料粉末を均一に圧縮することがますます困難となって現実的には製造することができない。
しかして、図18は、このようなスローアウェイチップを製造する場合の本発明のプレス成形金型の第6の実施形態を示す断面図(図16に示したスローアウェイチップのZZ断面に対応する断面図)であり、本実施形態でも上記第5の実施形態と同様に、上下パンチ21,22がそれぞれ上下内パンチ21D,22Dと上下外パンチ21E,22Eとから構成されて、これら上下内外パンチ21D,22D,21E,22Eが互いに独立して相対的に離接可能とされている。ただし、上パンチ21側においては、その上内パンチ21Dのプレス面21Aが、圧粉体において上記一方の平板面12中央部の上記平坦面に対応する部分を成形するようにパンチ離接方向に垂直とされており、これに対して上外パンチ21Eは、三角形平板状に成形される圧粉体の各上記角部分に合わせて3つの上外パンチ21Eが上内パンチ21Dの周囲に配設されて一体にパンチ離接方向に離接可能とされていて、そのプレス面21Aはダイ24の凹部26側に向けて下パンチ22のプレス面22Aとの間隔が漸次大きくなる傾斜面とされている。
一方、下パンチ22側においては、上パンチ21の上記上内パンチ21Dと3つの上外パンチ21Eとにそれぞれ対向する位置に下内パンチ22Dと3つの下外パンチ22Eとが配設され、このうち3つの下外パンチ22Eは上外パンチ21Eと同様に一体に該上外パンチ21E側に向けて離接可能とされている。ただし、これら下内外パンチ22D,22Eのプレス面22Aは、チップ本体11の上記他方の平板面12の略全体が平坦面とされるのに合わせていずれもパンチ離接方向に垂直な平坦面とされており、キャビティー23が画成された状態で互いに面一となるようにされている。従って、本実施形態では、上外パンチ21Eのプレス面21Aのみが、パンチ離接方向に垂直な平面に対して凹部26側に向かうに従い、対向する下パンチ22の下外パンチ22Eにおけるプレス面22Aから離間するように傾斜した傾斜面とされる。また、ダイ24は、三角形平板状の圧粉体の上記各角部分に対応する位置において3分割されて、パンチ離接方向に垂直な方向に離接可能とされている。
従って、このような第6の実施形態のプレス成形金型によれば、上述のような三角形平板状のチップ本体11を有するスローアウェイチップでも、原料粉末を均等に圧縮した圧粉体から容易に製造することが可能となる。そして、その上で、チップ本体11の上記他の周面14と平板面12の角部との交差稜線部が上述のような凸曲面状をなして周面14に対して後退しており、これに伴い該スローアウェイチップに製造される圧粉体においては周面14に対応する部分が、パンチ21,22の離間する方向側に隣接する上記交差稜線部に対応する部分に対して相対的に凸となる突出部となるとしても、ダイ24にキャビティー23の外側に向けて後退する凹部26を形成することにより、該凹部26に原料粉末を充密させることによってかかる突出部をこのダイ24側で確実に生成することが可能となる。
さらに、本実施形態でも、凹部26内のパンチ離接方向における最大幅Wを該凹部26のキャビティー23内側への開口部の最小幅(上記間隔E)より大きくしても、この凹部26内に原料粉末を確実に充密させて上記突出部を該凹部26のキャビティー23内側への開口部における圧粉体の厚さよりも厚く成形することができ、かかる圧粉体から製造されたスローアウェイチップにおいて、切刃16の逃げ面とされる上記他の周面14に上記交差稜線部を介して連なる上記平板面12の角部部分に逃げを与えて、当該スローアウェイチップを被削材の溝入れ加工等に有効に使用することが可能となる。加えて、平板面12と他の周面14との交差稜線部が上述のように凸曲面状であったりしても、上下外パンチ21E,22Eのプレス面21A,22Aとパンチ側摺接面21B,22Bとの交差稜線部の強度を確保することができ、さらには上外パンチ21Eのプレス面21Aは、対向するパンチ離接方向に垂直な平坦面とされた下外パンチ22Eのプレス面22Aに対して凹部26側に向かうに従い漸次離間する傾斜面とされているので、この凹部26内への原料粉末の充密を一層確実かつ効率的に促すことが可能となる。
なお、これら第1〜第4の実施形態およびその変形例では、本発明を上記縦刃式のスローアウェイチップの製造に適用した場合について説明したが、本発明は、スローアウェイチップ以外の他の切削工具の切刃部材をその原料粉末の圧粉体から製造するときにも適用することができ、またスローアウェイチップでも平板状以外のチップ本体を有するものを製造するときにも適用可能である。さらには、平板状のチップ本体を有するスローアウェイチップでも、その厚さ方向を向く平板面がすくい面とされるとともに、この平板面の周りに配置される周面の少なくとも1つが逃げ面とされ、これらすくい面と逃げ面とされる周面との間に切刃が形成されたスローアウェイチップを製造する場合に適用することも可能ではあるが、このようなスローアウェイチップでは、逃げ面とされる他の周面に上述のような突出部が形成されることは通常あり得ず、また上述したような課題、作用効果を考慮すると、本発明は特に上記縦刃式のスローアウェイチップを製造するのに適用して、より効果的であるということができる。
1,11 チップ本体
2,12 平板面
3,13 すくい面
4,6,15,16 切刃
5,14 チップ本体1,11の他の周面
7,19 コーナ部
9,18 取付穴
17 突出部
21,22 パンチ
21A,22A プレス面
21B,22B パンチ側摺接面
23 キャビティー
24 ダイ
24C,24D ダイ側摺接面
25 ピン(突部)
26 凹部
26A 凹部26の底面
26B 凹部26の壁面
26C 凸部
D 凹部26のパンチ離接方向を向く両壁面26Bに連なってキャビティー23側に凸となる突端からの深さ
E 凹部26のパンチ離接方向を向く両壁面26Bに連なってキャビティー23側に凸となる突端間のパンチ離接方向の間隔(凹部26のキャビティー23内側への開口部の最小幅)
W 凹部26のパンチ離接方向における最大幅

Claims (9)

  1. 互いに対向して相対的に離接させられるパンチと、接近したこれらパンチの周囲を取り囲むように配設されて該パンチとの間にキャビティーを画成するダイとを備えたプレス成形金型を用いて、上記キャビティーに投入した原料粉末を上記パンチによって圧縮することにより、切削工具の切刃部材に製造される圧粉体をプレス成形する切削工具の切刃部材の製造方法であって、上記ダイに上記キャビティーの外側に向けて後退する凹部を形成して、この凹部に上記パンチによって圧縮される上記原料粉末を充密させることにより、上記圧粉体において上記ダイにより成形される部分に、上記パンチが離間する方向側に隣接する部分に対して相対的に凸となる突出部を成形することを特徴とする切削工具の切刃部材の製造方法。
  2. 上記切刃部材は、略平板状を呈するチップ本体を有して、該チップ本体の厚さ方向を向く平板面とこの平板面の周りに配置される周面とを備え、この周面に形成されたすくい面と上記平板面との交差稜線と、このすくい面に隣接する他の周面と該すくい面との交差稜線との少なくとも一方に切刃が形成されたスローアウェイチップであって、上記パンチは上記厚さ方向に対応する方向に離接させられ、上記ダイに形成された上記凹部により、上記圧粉体において上記チップ本体の周面に対応する部分に上記突出部を成形することを特徴とする請求項1に記載の切削工具の切刃部材の製造方法。
  3. 請求項1または請求項2に記載の切削工具の切刃部材の製造方法に用いられる圧粉体のプレス成形金型であって、互いに対向して相対的に離接させられるパンチと、接近したこれらパンチの周囲を取り囲むように配設されて該パンチとの間にキャビティーを画成するダイとを備え、このダイには、上記キャビティーの外側に向けて後退する凹部が形成されていることを特徴とする圧粉体のプレス成形金型。
  4. 上記凹部は、上記パンチの離接方向を向くこの凹部の両壁面に連なって上記キャビティーの内側に向けて凸となるその突端からの深さが、これらの突端間の上記離接方向の間隔以下とされていることを特徴とする請求項3に記載の圧粉体のプレス成形金型。
  5. 上記凹部は、その内面が滑らかに連続した曲面によって形成されていることを特徴とする請求項3または請求項4に記載の圧粉体のプレス成形金型。
  6. 上記凹部は、上記パンチの離接方向における最大幅が、上記キャビティー内側への開口部の最小幅よりも大きくされていることを特徴とする請求項3ないし請求項5のいずれかに記載の圧粉体のプレス成形金型。
  7. 上記最大幅が上記最小幅の110%以下とされていることを特徴とする請求項6に記載の圧粉体のプレス成形金型。
  8. 上記ダイが、上記キャビティーを間にして上記パンチの離接方向または該離接方向に垂直な方向に分割されて離接可能とされていることを特徴とする請求項3ないし請求項7のいずれかに記載の圧粉体のプレス成形金型。
  9. 上記キャビティー内には、互いに接近した上記パンチ間に該パンチの離接方向に突出する突部が設けられることを特徴とする請求項3ないし請求項8のいずれかに記載の圧粉体のプレス成形金型。
JP2009274733A 2009-12-02 2009-12-02 切削工具の切刃部材の製造方法および該製造方法に用いられる圧粉体のプレス成形金型 Expired - Lifetime JP5195729B2 (ja)

Priority Applications (1)

Application Number Priority Date Filing Date Title
JP2009274733A JP5195729B2 (ja) 2009-12-02 2009-12-02 切削工具の切刃部材の製造方法および該製造方法に用いられる圧粉体のプレス成形金型

Applications Claiming Priority (1)

Application Number Priority Date Filing Date Title
JP2009274733A JP5195729B2 (ja) 2009-12-02 2009-12-02 切削工具の切刃部材の製造方法および該製造方法に用いられる圧粉体のプレス成形金型

Related Parent Applications (1)

Application Number Title Priority Date Filing Date
JP2009251992A Division JP5195717B2 (ja) 2009-11-02 2009-11-02 切削工具の切刃部材の製造方法および該製造方法に用いられる圧粉体のプレス成形金型

Publications (3)

Publication Number Publication Date
JP2010046718A true JP2010046718A (ja) 2010-03-04
JP2010046718A5 JP2010046718A5 (ja) 2012-04-05
JP5195729B2 JP5195729B2 (ja) 2013-05-15

Family

ID=42064258

Family Applications (1)

Application Number Title Priority Date Filing Date
JP2009274733A Expired - Lifetime JP5195729B2 (ja) 2009-12-02 2009-12-02 切削工具の切刃部材の製造方法および該製造方法に用いられる圧粉体のプレス成形金型

Country Status (1)

Country Link
JP (1) JP5195729B2 (ja)

Citations (3)

* Cited by examiner, † Cited by third party
Publication number Priority date Publication date Assignee Title
JPH01100206A (ja) * 1987-10-12 1989-04-18 Komatsu Ltd 粉末成形法
JPH1071497A (ja) * 1996-08-29 1998-03-17 Mitsubishi Materials Corp スローアウェイチップの製造方法及び装置
JP2000144211A (ja) * 1998-11-06 2000-05-26 Toshiba Tungaloy Co Ltd 粉末成形用の金型及び圧粉体の成形方法並びに切削用のポジチップ

Patent Citations (3)

* Cited by examiner, † Cited by third party
Publication number Priority date Publication date Assignee Title
JPH01100206A (ja) * 1987-10-12 1989-04-18 Komatsu Ltd 粉末成形法
JPH1071497A (ja) * 1996-08-29 1998-03-17 Mitsubishi Materials Corp スローアウェイチップの製造方法及び装置
JP2000144211A (ja) * 1998-11-06 2000-05-26 Toshiba Tungaloy Co Ltd 粉末成形用の金型及び圧粉体の成形方法並びに切削用のポジチップ

Also Published As

Publication number Publication date
JP5195729B2 (ja) 2013-05-15

Similar Documents

Publication Publication Date Title
MX2007008971A (es) Metodo y aparato para fabricar componentes de corte.
JP5354053B2 (ja) 切削工具の切刃部材の製造方法および該製造方法に用いられる圧粉体のプレス成形金型
JP4920172B2 (ja) 切削工具の切刃部材の製造方法および該製造方法に用いられる圧粉体のプレス成形金型
JP4920171B2 (ja) スローアウェイチップの製造方法および該製造方法に用いられる圧粉体のプレス成形金型
JP5152140B2 (ja) 切削工具の切刃部材の製造方法および該製造方法に用いられる圧粉体のプレス成形金型
CN110621485A (zh) 切削板和用于生产切削板的生坯的方法和压模
JP5195829B2 (ja) 切削工具の切刃部材の製造方法および該製造方法に用いられる圧粉体のプレス成形金型
JP5152123B2 (ja) 切削工具の切刃部材の製造方法および該製造方法に用いられる圧粉体のプレス成形金型
JP4952757B2 (ja) 切削工具の切刃部材の製造方法および該製造方法に用いられる圧粉体のプレス成形金型
JP5158130B2 (ja) 切削工具の切刃部材の製造方法および該製造方法に用いられる圧粉体のプレス成形金型
JP5195717B2 (ja) 切削工具の切刃部材の製造方法および該製造方法に用いられる圧粉体のプレス成形金型
JP5195729B2 (ja) 切削工具の切刃部材の製造方法および該製造方法に用いられる圧粉体のプレス成形金型
JP4529620B2 (ja) 切削工具の切刃部材の製造方法および該製造方法に用いられる圧粉体のプレス成形金型
JP5158129B2 (ja) スローアウェイチップの製造方法および該製造方法に用いられる圧粉体のプレス成形金型
JP6380127B2 (ja) 切削インサート用の圧粉体のプレス成形方法およびプレス成形金型
CN210231192U (zh) 一种侧面边壁孔的冲孔模具结构
JP5045780B2 (ja) 切削工具の切刃部材の製造方法および該製造方法に用いられる圧粉体のプレス成形金型
CN223419671U (zh) 一种细条状产品冲切下模组件及冲切模具
CN207238868U (zh) 一种细长针一次冲裁成型的冲模结构
CN213829286U (zh) 高寿命细孔冲孔模具
JP2010046718A5 (ja)
JP2010023116A5 (ja)
JP4869567B2 (ja) 切削工具の切刃部材の製造方法及び該製造方法に用いられる圧粉体のプレス成形金型
CN207343551U (zh) 刃口对刃口废料刀组件及切边模设备
CN104624878A (zh) 双面滑动扣件元件用冲压模具

Legal Events

Date Code Title Description
A521 Request for written amendment filed

Free format text: JAPANESE INTERMEDIATE CODE: A523

Effective date: 20091222

A621 Written request for application examination

Free format text: JAPANESE INTERMEDIATE CODE: A621

Effective date: 20091222

A977 Report on retrieval

Free format text: JAPANESE INTERMEDIATE CODE: A971007

Effective date: 20120105

A521 Request for written amendment filed

Free format text: JAPANESE INTERMEDIATE CODE: A523

Effective date: 20120217

A131 Notification of reasons for refusal

Free format text: JAPANESE INTERMEDIATE CODE: A131

Effective date: 20120403

TRDD Decision of grant or rejection written
A01 Written decision to grant a patent or to grant a registration (utility model)

Free format text: JAPANESE INTERMEDIATE CODE: A01

Effective date: 20130108

A61 First payment of annual fees (during grant procedure)

Free format text: JAPANESE INTERMEDIATE CODE: A61

Effective date: 20130121

FPAY Renewal fee payment (event date is renewal date of database)

Free format text: PAYMENT UNTIL: 20160215

Year of fee payment: 3

R150 Certificate of patent or registration of utility model

Ref document number: 5195729

Country of ref document: JP

Free format text: JAPANESE INTERMEDIATE CODE: R150

Free format text: JAPANESE INTERMEDIATE CODE: R150

EXPY Cancellation because of completion of term