JP2010046427A - 遊技機の盤面部品 - Google Patents

遊技機の盤面部品 Download PDF

Info

Publication number
JP2010046427A
JP2010046427A JP2008215750A JP2008215750A JP2010046427A JP 2010046427 A JP2010046427 A JP 2010046427A JP 2008215750 A JP2008215750 A JP 2008215750A JP 2008215750 A JP2008215750 A JP 2008215750A JP 2010046427 A JP2010046427 A JP 2010046427A
Authority
JP
Japan
Prior art keywords
game ball
stage
ball passage
center
rotating member
Prior art date
Legal status (The legal status is an assumption and is not a legal conclusion. Google has not performed a legal analysis and makes no representation as to the accuracy of the status listed.)
Granted
Application number
JP2008215750A
Other languages
English (en)
Other versions
JP5478040B2 (ja
Inventor
Sukehito Isokimi
祐仁 五十君
Daisuke Maeyama
大介 前山
Yutaka Yamada
裕 山田
Current Assignee (The listed assignees may be inaccurate. Google has not performed a legal analysis and makes no representation or warranty as to the accuracy of the list.)
Kyoraku Sangyo Co Ltd
Original Assignee
Kyoraku Sangyo Co Ltd
Priority date (The priority date is an assumption and is not a legal conclusion. Google has not performed a legal analysis and makes no representation as to the accuracy of the date listed.)
Filing date
Publication date
Application filed by Kyoraku Sangyo Co Ltd filed Critical Kyoraku Sangyo Co Ltd
Priority to JP2008215750A priority Critical patent/JP5478040B2/ja
Publication of JP2010046427A publication Critical patent/JP2010046427A/ja
Application granted granted Critical
Publication of JP5478040B2 publication Critical patent/JP5478040B2/ja
Expired - Fee Related legal-status Critical Current
Anticipated expiration legal-status Critical

Links

Images

Landscapes

  • Pinball Game Machines (AREA)

Abstract

【課題】センター役物に設けたステージ上に配置した回転部材を回転動作させることにより遊技球の放出経路を変化させる際に、遊技球の放出位置、放出方向が容易に予測されることを防止することにより、遊技進行上特徴的な演出効果を発揮させるようにした遊技機の回転体を提供する。
【解決手段】手前ステージ32の上面適所に設けた嵌合部32a内に手前ステージ上面と交差する回転軸回りに回転自在に支持された各回転体40A、40Bを備え、各回転体は、回転軸回りに回転自在に支持された中心回転部材45と、中心回転部材の外径側に同軸状且つ相対回転自在に配置された環状の外側回転部材50と、を備え、中心回転部材の上面には、その直径方向へ貫通して延びる凹状の内側遊技球通路46を少なくとも一本備え、外側回転部材の上面には、その直径方向へ貫通して延びて内側遊技球通路と連通可能な凹状の外側遊技球通路51を少なくとも一本備えている。
【選択図】図3

Description

本発明は、センター役物に設けたステージ上に配置した回転体を回転動作させることによって遊技進行上特徴的な演出効果を発揮させることができるようにした遊技機に関する。
パチンコ遊技機等の遊技球を使用した遊技機においては、遊技盤の盤面に入賞口、風車、センター役物、画像表示装置、電飾装置等の各種盤面部品を設けて遊技内容の多様性を図り、遊技の進行中における入賞、その他の状況変化を契機として可動盤面部品を種々動作させることにより演出効果を高めている。
例えば、遊技盤面に設けられた始動入賞口に遊技球が入賞すると、遊技盤中の画像表示装置に表示される図柄が変動を開始し、所定時間経過後に停止した図柄が予め定めた大当たり図柄となった場合に大当たり状態となり、遊技者が大量の出球を獲得できるようになっている。
また、始動入賞口への入賞パターンに変化をもたらして興趣を高めるために、始動入賞口の直上位置に設けたステージ上において遊技球を滞留、揺動させてから下方へ流下させる構成を備えた遊技機が種々知られている。
更に、ステージ上に流入した遊技球の動作に変化を付与することにより遊技球の挙動に遊技者の興味を引きつけて遊技者を楽しませるために、特許文献1、及び2にはステージ面と略同じ高さの上面を有した回転体を、略鉛直方向へ延びる回転中心軸回りに回転自在に支持した構成が開示されている。更に、各回転体の上面に設けた突起によって遊技球を奥側に配置された入球口に誘導するように構成している。
しかし、回転体が単に回転するだけの構成であるため、遊技球の挙動が比較的単純、且つ予測可能となり、入球口や始動入賞口への入賞パターンが単純化し、意外性に乏しいため、飽きられやすい傾向にある。
特許文献3、4にも同様な回転体を備えた遊技機が開示されているが、何れも、遊技球の動作が予測容易であり、意外性に乏しく、飽きられやすい傾向にある。
特開2005−334504公報 特開2005−334503公報 特開2000−308716公報 特開2006−110264公報
従来、遊技盤面に設けられるステージ上にステージ面と略直交する回転軸を中心として回転する回転体を設け、回転体の上面に設けた突起により遊技球の移動方向に変化を持たせることにより興趣を高めるようにした遊技機が提案されているが、いずれも遊技球の動作、移動経路の変化パターンが単純で予測し易いため、飽きられやすかった。
本発明は上記に鑑みてなされたものであり、センター役物に設けたステージ上に配置した回転部材を回転動作させることにより遊技球の放出経路を変化させる際に、遊技球の放出位置、放出方向が容易に予測されることを防止することにより、遊技進行上特徴的な演出効果を発揮させるようにした遊技機の盤面部品を提供することを目的としている。
上記目的を達成するため、請求項1の発明に係る遊技機の盤面部品は、遊技盤面の略中央に配置された画像表示装置と、前記画像表示装置の外周前方に沿って配置され、遊技球が転動可能な上面が後方から前方へ向けて下向き傾斜したステージを下部に有するセンター役物と、該ステージ下方の遊技盤面上に配置され始動入賞が前記画像表示装置の変動表示開始の契機となる始動入賞口と、を備えた遊技機において、前記ステージは、前記センター役物内に進入してきた遊技球を受ける奥ステージと、該奥ステージの前方下方に配置された手前ステージと、を備え、 前記手前ステージ上面と交差する回転軸回りに回転自在に支持された少なくとも二個の回転体を、前記手前ステージ中央の左右両側に振り分け配置し、前記各回転体は、前記回転軸回りに回転自在に支持された中心回転部材と、該中心回転部材の外径側に該中心回転部材と相対回転可能、且つ同軸状に配置された環状の外側回転部材と、を備え、前記中心回転部材の上面には、その直径方向へ貫通して延びる凹状の内側遊技球通路を少なくとも一本備え、前記外側回転部材の上面には、その直径方向へ貫通して延びて前記内側遊技球通路と連通可能な凹状の外側遊技球通路を少なくとも一本備えていることを特徴とする。
ステージ上に落下した遊技球が手前側に転動して始動入賞口に入球することにより遊技者に有利な状況が出現するが、ステージ上からの遊技球の移動方向を予測不能、或いは予測困難とすることにより興趣を高めることができる。本発明では、奥ステージから手前ステージに移行してくる遊技球を二重構造の回転部材から成る回転体の上面に導いて転動方向を種々変化させることにより遊技球の放出位置をランダム化することができる。特に、2つの回転部材の上面に設けた遊技球通路が連通する状態と連通しない状態を多様なパターンで出現させることにより、遊技球通路内への入球位置と放出位置との対応関係を多様にばらつかせるようにしている。更に、回転体を手前ステージの中央部の左右両側に振り分けて一個ずつ配置したので、始動入賞口に相当する手前ステージ中央部から外れた位置にある遊技球であっても、各回転体の作用により手前ステージ中央部に寄せられて始動入賞口に入賞する可能性をもたらし、遊技者の興趣を高めることができる。換言すれば、手前ステージ中央(始動入賞口の上方)に回転体が存在しておらず、始動入賞口の直上位置からずれた位置に各回転体が配置されているので、回転体の影響により遊技球の転動方向が変えられて入賞することとなり、入賞するか否かを容易に予測されることを防止できる。特に、回転部材が二重構造であるため、更に予測困難な楽しみを遊技者に与えることが可能となる。
請求項2の発明に係る遊技機の盤面部品は、請求項1において、前記外側遊技球通路の底面は、該外側遊技球通路の下側開口が前記手前ステージの下端縁中央部方向を向いている時に水平面に対して前方に少なくとも4度下向き傾斜していることを特徴とする。
水平面に対して下向きに4度、或いはそれ以上の傾斜面とすることにより、外側遊技球通路内に進入した遊技球は手前側下方へ転動し易くなり、遊技球通路内やステージ上での滞留を防止できる。
請求項3の発明に係る遊技機の盤面部品は、請求項1、又は2において、前記外側遊技球通路の下側開口が前記手前ステージの下端縁中央部方向を向いている時に、該外側遊技球通路の底面は、前記手前ステージの上面と略連続した面を形成することを特徴とする。
この構成によれば、手前ステージ上の遊技球を外側遊技球通路内にスムーズに導いて、手前ステージ上での滞留を防止できる。なお、略連続した面とは、厳密な連続状態ではなく、遊技球が通過するのに支障がない程度の段差、間隙が存在していても差し支えない。
請求項4の発明に係る遊技機の盤面部品は、請求項1、2、又は3において、前記内側遊技球通路と前記外側遊技球通路とが連通状態にある時に、両遊技球通路の底面は略連続した面を形成することを特徴とする。
外側遊技球通路から内側遊技球通路、更に内側遊技球通路から外側遊技球通路への遊技球の移動をスムーズ化することができ、遊技球通路内における遊技球の滞留を防止できる。
請求項5の発明に係る遊技機の盤面部品は、請求項1乃至4の何れか一項において、前記回転軸は、前記中心回転部材の軸心部に一体化した中心軸部材と、該中心軸部材の外径側に位置して前記外側回転部材に一体化した筒状の外側軸部材と、から構成され、前記中心軸部材と前記外側軸部材は、単一の駆動源により同一方向、或いは逆方向へ回転駆動されることを特徴とする。
駆動機構を構成する部品点数を低減し、コンパクト化することができる。
請求項6の発明に係る遊技機の盤面部品は、請求項5において、前記各回転体の前記中心軸部材同志と、前記外側軸部材同志をギヤ結合し、前記単一の駆動源により前記両回転体を駆動するように構成したことを特徴とする。
2つの回転体を単一の駆動源により回転駆動させるので、部品点数を低減し、小型化することが可能となる。
以上のように本発明によれば、センター役物に設けたステージ上に同軸状に構成された内外2つの回転部材から構成される回転体の上面に遊技球を導いてその挙動に多様な変化を与えて予測困難な方向へ排出させ得るように構成したので、遊技球の排出経路、排出位置が容易に予測されることを防止でき、遊技進行上特徴的な演出効果を発揮させることができる。特に、回転体を手前ステージの中央部の左右両側に振り分けて一個ずつ配置したので、始動入賞口に相当する手前ステージ中央部から外れた位置にある遊技球であっても、各回転体の作用により手前ステージ中央部に寄せられて始動入賞口に入賞する可能性をもたらし、遊技者の興趣を高めることができる。
以下、本発明を図面に示した実施の形態により詳細に説明する。
図1は本発明に係る盤面部品を備えたパチンコ遊技機の遊技盤の一例を示す正面図であり、図2は遊技盤の斜視図であり、図3(a)及び(b)は回転体を備えたステージの平面図であり、図4はステージ面と各回転部材との位置関係を示す断面図であり、図5(a)及び(b)は回転体の駆動機構の一例を示す外観斜視図、(c)は一部断面構成図、(d)は縦断面図、(e)は中心回転部材の駆動機構を示す斜視図、(f)は外側回転部材の駆動機構を示す斜視図である。
図1、図2に示すパチンコ遊技機1は、図示しない矩形形状枠の窓孔に対して裏側から装着される遊技盤2を備えている。
遊技盤2には、遊技領域の外周縁に沿って前方に突出されたガイドレールが設けられている。ガイドレールは発射装置から発射された遊技球を遊技領域の上部に案内したり、アウト球を回収するアウト口13に案内したりする外レールR1及び内レールR2により構成される。
遊技盤2の前面側には、図示しないガラス枠が開閉可能に取り付けられている。また遊技盤2の下部には遊技球を貯留する図示しない受け皿部と、受け皿部内の遊技球を発射する図示しない発射レバー等が設けられている。また、受け皿部の上部には、例えば遊技演出用のチャンスボタンや十字キーなどの操作部や、遊技球の購入ボタンや購入取り消しボタンなどが設けられている。
遊技盤2の略中央に設けた開口部内には略環状のセンター役物3が配置され、センター役物3の内部開口内には画像表示装置5が配置されている。画像表示装置5は、例えば、液晶表示装置等の液晶表示パネルによって構成され、通常動作状態の時は図示しない特別図柄画像が表示される。また、所謂リーチ状態や特別遊技状態の時はそれぞれの遊技状態であることを示す演出画像等が表示される。
センター役物3の下縁部であって始動入賞口の直上位置にはステージ30が配置されている。センター役物3の左側には、ワープ入口14a及びワープ出口14bを備えたワープ通路14が設けられ、遊技盤面を流下する遊技球がワープ入口14aに入るとワープ出口14bを経てステージ30上に排出される。
ステージ30の直下位置に相当する盤面上には、画像表示装置5の特別図柄を可変表示させるための可変入賞装置6が設けられている。ステージ30から遊技球を遊技領域内に落下させることで、可変入賞装置6に入球し易くしたり、入球しそうな状態を頻繁に作り出すことができる。
また、画像表示装置5の左側には、遊技盤2の右下部に配置された普通図柄表示装置10に表示される普通図柄を作動させるためのゲート11が設けられている。
さらに、可変入賞装置6の下方には、特別遊技状態の一つである大当り状態のときに開成状態になる開閉扉を有する大入賞口7が設けられている。
可変入賞装置6は、画像表示装置5を可変表示させるための上始動ポケット(始動入賞口)6aと、左右一対の開閉爪(可動片)を有する電動式チューリップ6b、とを備えている。
また遊技盤2には、普通入賞口8が設けられていると共に、風車9や多数の遊技釘が突設されている。遊技釘は、遊技球の落下速度を遅くすると共に、落下方向を複雑に変化させて遊技進行上の興趣を高めている。
普通図柄表示装置10に表示される普通図柄は、1個または複数個の図柄を変動表示可能であり、普通図柄始動口としてのゲート11が遊技球を検出することを条件に、その図柄が乱数制御等により所定時間可変して停止するようになっている。
普通図柄としては、数字図柄、アルファベット図柄、キャラクター図柄、その他の適宜の遊技図柄が使用される。そして、ゲート11を遊技球が通過したことを条件に乱数制御により普通図柄が所定態様となった場合に、可変入賞装置6に設けられた電動式チューリップから成る可動片を所定時間、開成動作するように構成されている。
画像表示装置5に表示される特別図柄は、停止図柄が予め定められた図柄の組合せ、例えば同一図柄の組合せとなった場合に大当り状態となるように構成されている。また特別図柄は、可変入賞装置6の上始動ポケット6a、又は電動式チューリップ6bの開成動作により遊技球が誘導される下始動口(図示していない)への遊技球の入賞を検出することを条件に乱数制御等により表示がスクロールする等、所定の変動パターンで所定時間変動(可変)して図柄で停止するようになっている。その際、有効ライン上に2個の停止図柄が同一となった場合に、リーチ状態が発生し、このリーチ状態において、有効ライン上の最後の停止図柄が既に停止している2個の図柄と同一となった場合に大当り状態が発生する。なお、特別図柄としては、数字図柄、アルファベット図柄、キャラクター図柄等が使用可能である。
図2から明らかなようにステージ30は、ワープ通路14を経てセンター役物3内に進入してきた遊技球を受ける奥ステージ31と、奥ステージの前方下方に段差状に配置された手前ステージ32と、を備えている。
奥ステージ31上面の中央部には、遊技球を手前側へ転動可能とするために手前側に下向き傾斜した溝31aを備える。
手前ステージ32上面の中央部Cの左右両側には、夫々円筒状の凹所、或いは円筒状の貫通穴から成る嵌合部32aを設け、各嵌合部32a内には略円盤状の回転体40A、40Bが夫々回転軸41を回転中心として回転自在に支持されている。また、手前ステージ32の中央下部には、遊技球を手前側へ転動させるために手前側に下向き傾斜した溝32bを備える。
各回転体40A、40Bは同一の構成を備えており、回転軸41回りに回転自在に支持された中心回転部材45と、中心回転部材45の外径側に同軸状且つ相対回転自在に配置されて回転軸41回りに回転する環状(中空筒状)の外側回転部材50と、を備えている。中心回転部材45と外側回転部材50は、共に回転軸41回りに相対回転可能に構成されている。
中心回転部材45の上面には、その直径方向へ貫通して延びる凹状の内側遊技球通路46を少なくとも一本備えている。
外側回転部材50の上面には、その半径方向へ延びて内側遊技球通路46と連通可能な凹状の外側遊技球通路51を少なくとも二本備えている。本実施形態では、二本の外側遊技球通路51が直線的に配列されることにより、外側回転部材を直径方向へ貫通した構成となっている。即ち、外側回転部材50の半径方向へ延びる外側遊技球通路51は外側回転部材50上に90度の周方向間隔を隔てて直交するように4本配置されている。但し、外側遊技球通路51の配置個数は、何本であってもよく、従って周方向間隔も90度である必要はない。
また、本実施形態では、内側遊技球通路46と外側遊技球通路51とは、同一幅、同一深さを有した凹所であり、遊技球を通過させるに十分な幅を有している。
両遊技球通路46、51は、底面46a、51aと、各底面の両側から立ち上がった側壁46b、51bと、を備えている。各遊技球通路46、51の幅寸法は、図示のように全長に亘って同一寸法としてもよいが、外側遊技球通路51の外側端部の幅をテーパー状に拡開させて入球し易く構成してもよい。
両回転部材45、50の回転方向は同一方向であってもよいし、逆方向であってもよい。両回転部材45、50を同一方向に回転させる場合には、回転速度を異ならせることにより、両遊技球通路46、51が連通する状態と連通しない状態を交互に出現させるようにする。各回転部材45、50の回転速度は、例えば一分間に3〜6回転程度の定速とする。
両回転部材45、50が同一方向、或いは逆方向へ回転する過程で、図3(a)のように内側遊技球通路46と外側遊技球通路51とが直線状に連通した時に連通遊技球通路が形成される。各回転体の各連通遊技球通路の下部開口が図3(a)のように始動入賞ポケット6aの直上位置(手前ステージの下端縁中央部C)を向いている時に、手前ステージ32の奥側に位置する遊技球Bがこの連通遊技球通路の奥方端部から進入して手前側端部から放出されるため、上始動ポケット(始動入賞口)6aに向けて落下してゆく可能性が高まることとなる。
或いは、両遊技球通路46、51が図3(a)に示した直線的に延びた以外の連通状態で連通した場合であっても、連通遊技球通路が形成されている限りは、外側遊技球通路51の一端部から進入した遊技球は他端部から排出されることとなる。
図3(b)のように両遊技球通路46、51が非連通状態にある時には、外側遊技球通路51の奥側端部から遊技球が進入したとしても、内側遊技球通路46が連通状態にないため、手前側へ通過することができない。この場合には、外側回転部材45の更なる回転時に通路外部へ放出されるか、或いは内側遊技球通路46が連通状態となった時点で内側遊技球通路46を経て外側遊技球通路51の反対側から放出される。
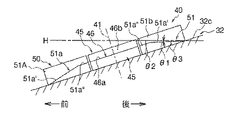
図4は両遊技球通路46、51が連通することにより形成された連通遊技球通路の下側開口51Aが手前ステージの下端縁中央部を向いた状態における側部縦断面図である。手前ステージ32の上面は、水平面よりも手前側に下向き傾斜している。本例に係る各回転体40A、40Bは、その上面の一部(側壁46b、51b)が手前ステージ32の上面から突出するように構成されている。
外側回転部材50に設けた各外側遊技球通路51の底面51aは両外側端部に手前ステージ上部面32cに対して上向きに傾斜した端部底面51a’を有し、両端部底面51a’間には、手前ステージ面と平行な中央部底面51a”を有する。
外側遊技球通路51の端部底面51a’は、水平面Hに対して少なくとも4度下向きに傾斜することにより、手前ステージ上部面32cにある遊技球が端部底面51a’内に進入し易くしている。つまり、端部底面51a’と水平面Hとの間に形成される角度θ1が、θ1≧4となるように設定することにより遊技球が転動して外側遊技球通路51内に進入し易くなる。端部底面51a’の傾斜角度θ1と、水平面Hに対する手前ステージ32の上面の傾斜角度θ2との関係は、θ2≧θ1とする。端部底面51a’の傾斜角度θ1と手前ステージ上面の傾斜角度θ2とが一致する場合には、手前ステージ上面と端部底面51a’とが同一平面上に位置することとなる。つまり、この場合、外側遊技球通路51の下側開口51Aが図3(a)のように手前ステージ下端縁中央部C方向を向いている時に、外側遊技球通路の底面51a’は、手前ステージの上面と連続した平面を形成する。
従って、手前ステージ上部面32cと端部底面51a’との間の角度θ3は、角度θ1、θ2の各値によって決定されることとなり、各角度θ1、θ2、θ3の関係は、θ1=θ2−θ3となる。
なお、4度という傾斜角度の根拠は次の通りである。即ち、遊技機をホールの島に設置する場合、遊技機は垂直姿勢ではなく、多少後側(島側)に傾斜させて設置されるのが一般である。このため、ステージが水平に設計されていると、ホールに遊技機を設置した場合、ステージは水平面よりも上向き傾斜した状態となり遊技球が滞留し易い状態となる。そこで、最低4度程度ステージを予め手前下向きに傾斜させておけば、遊技機を後側に傾斜させて設置した状態においてもステージの下向き傾斜姿勢を保つことができ、ステージ上で遊技球が手前に転がり落ちずに滞留してしまう不具合がなくなる。このようなことから、ステージの適正傾斜角度を4度と想定した場合には、外側遊技球通路51の端部底面51a’の傾斜角度を少なくとも4度とすることが適正である。
図4に示したように両遊技球通路46、51が連通した状態においては、外側遊技球通路の中央部底面51a”と内側遊技球通路46の底面46aとは、無段状に連通している。このため、端部底面51a’から連通遊技球通路内に進入してきた遊技球Bは、中央部底面51a”と底面46aを経て、スムーズに反対側の端部底面51a’から排出される。
つまり、内側遊技球通路46と外側遊技球通路51とが連通状態にある時に、両通路の底面は略連続した面を形成することとなる。
なお、本明細書において略連続した面とは、厳密な連続状態ではなく、遊技球が通過するのに支障がない程度の段差、間隙が存在していても差し支えない。
上記事項は、外側遊技球通路が外側回転部材の直径方向を直線状に貫通する構成である場合のみならず、例えば外側遊技球通路が120度の周方向間隔で3本形成されている場合にも当てはまる。
また、上記実施形態では、手前ステージ上の中央部を回避した横方向に一個ずつの回転体を配置した例を示したが、回転体の個数は更に増やしても良い。例えば、前後方向に二個以上の回転体を配置するように構成してもよい。
次に、図5に基づいて回転体の駆動機構60の構成例について説明する。
図5(a)(b)に示したように両回転体40A、40Bは、単一のモータ80と、複数のギヤから成る駆動機構60によって同時に回転駆動されるように構成されている。
各回転体40A、40Bの回転軸41は、中心回転部材45の軸心部に一体化した中心軸部材61と、中心軸部材61の外径側において外側回転部材50に一体化した筒状の外側軸部材70と、から構成されている。更に、中心軸部材61と外側軸部材70は、単一の駆動源であるモータ80により同一方向、或いは逆方向へ回転駆動される。モータ80は、主制御基板100による制御を受ける。
本例では、中心軸部材61に一体化された従動ギヤ62を、中間ギヤ64を介してモータ80の出力軸81に一体化された駆動ギヤ63に噛合させることにより中心回転部材45を回転駆動している。また、外側軸部材70に一体化された従動ギヤ71を、モータ80の出力軸81に一体化された駆動ギヤ72に噛合させることにより外側回転部材50を回転駆動している。本例では、モータの出力軸81に軸心部を一体的に支持された両駆動ギヤ63、72によって中心回転部材45と外側回転部材50を同時に同一方向へ回転駆動する。但し、両駆動ギヤ63、72の径が異なり、各駆動ギヤ63、72と、各従動ギヤ62、71のギヤ比が異なるため、中心回転部材45と外側回転部材50は回転速度が異なる。
各回転部材45、50の回転速度は通常の遊技状態においては夫々一定速度であることが好ましいが、主制御基板100によるモータ制御により遊技の進行状況に応じて速度を変化(増速、減速)させたり、間欠駆動させるようにしてもよい。
両回転部材45、50が異なった速度で同一方向へ回転する過程で、両遊技球通路46、51が連通して直線状になった時に、連通した遊技球通路内に進入した遊技球通路が反対側から放出され易くなる。この際、遊技球の放出位置(下側開口51A)が手前ステージ32の下端縁中央部を指向している場合には始動入賞ポケット6aへの入賞の期待を高めることができる。
また、単一の駆動源としてのモータ80を用いて2つの回転部材45、50を異なった速度で同じ方向へ回転駆動することが可能となり、構成をシンプル化することができる。
本例に係る駆動機構60では、各回転体40A、40Bの回転軸41を構成する従動ギヤ62同志を中間ギヤ65を介して噛合させることによりモータ80からの駆動力を各内側回転部材45に伝達すると共に、各回転体40A、40Bの回転軸41を構成する従動ギヤ71同志を噛合させることによりモータ80からの駆動力を各外側回転部材50に伝達する。従って、この例では、各回転体40A、40Bの内側回転部材45は互いに逆方向へ回転し、各外側回転部材50も互いに逆方向へ回転する。
なお、使用する中間ギヤ数を変えることにより、中心回転部材45と外側回転部材50とを逆方向へ回転させるようにしてもよい。
本発明に係る盤面部品の特徴的な構成は、奥ステージ31上から手前ステージ32上に落下してきた遊技球Bを、相対回転する中心回転部材45と外側回転部材50とから構成される二重回転構造の各回転体40A、40Bによってその移動経路を種々変化させるばかりでなく、遊技球が外側遊技球通路51の外側端部からその内部に進入し、外側遊技球通路51が内側遊技球通路46と連通した状態にあるときに反対側の端部(下側解雇51A)から放出されるようにした点にある。また、両遊技球通路51、46が連通していない場合には、外側回転部材50の回転動作により遊技球は外側遊技球通路51の端部から外部へ放出される。この放出方向は、ランダムな方向となる。その結果、遊技球は外側遊技球通路51内に入球した位置とは異なった方向に放出されることとなり、放出位置を予測することが困難となる。
つまり、中心回転部材45と外側回転部材50とに夫々設けた遊技球通路46、51間の位置関係、連通タイミングが種々変化して、各遊技球通路が連通したり連通しない状況が交互に出現するため、遊技者の興趣を高めることができる。特に、遊技球がステージ上で滞留して興趣を低下させることがない。
また、遊技球と接してその移動方向に影響を与える各回転体40A、40Bを二重構造にすることにより、遊技球の転動方向、移動経路を更に不規則化することができる。
特に、2つの回転体40A、40Bを手前ステージの中央部の左右両側に振り分けて一個ずつ配置したので、始動入賞口に相当する手前ステージ中央部から外れた位置にある遊技球であっても、各回転体の作用により手前ステージ中央部に寄せられて始動入賞口に入賞する可能性をもたらし、遊技者の興趣を高めることができる。特に、回転部材が二重構造であるため、更に予測困難な楽しみを遊技者に与えることが可能となる。
奥ステージ31の上面は前方から見て中央部が上方に膨出した円弧状をなすように構成するが、中央部には手前側に向けて遊技球が転動し易いように窪み、又は溝31aを設け、各回転体40A、40Bの外側遊技球通路51の外側端部がこの溝31aと対応する位置にあるときに遊技球が入球し易くすることができる。
手前ステージ32の上面は前方から見て全体的に円弧状に下向きに凹んでいるが、各回転体40A、40B上の両遊技球通路46、51が図3(a)に示した斜めの姿勢(外側遊技球通路の下側開口51Aが手前ステージの下端縁中央部を指向している姿勢)で連通状態にあるときに、外側遊技球通路51の下側開口51Aから放出されてきた遊技球が盤面側(始動入賞ポケット6a)に転動、落下し易いように構成する。
次に、図6は、遊技盤2の背面側に取り付けられた遊技機1の制御機構を示すブロック図である。遊技盤2の背面側には、遊技機1の主たる動作を制御する主制御基板100と主制御基板100から出力される信号やコマンドに基づいて各部を制御するサブ制御基板とが設けられている。図示した構成例の場合、サブ制御基板は、払出制御基板120、演出制御基板130、画像制御基板140、ランプ制御基板150等で構成されている。
主制御基板100は、CPU101とROM102とRAM103とを備えている。この主制御基板100には、始動入賞口6a及び電動式チューリップ6bに入球したことを検出する始動入賞口スイッチ110、電動式チューリップ6bを開閉させる始動入賞口ソレノイド111、遊技球がゲート11を通過したことを検知するゲートスイッチ112、大入賞口7に入球したことを検知する大入賞口スイッチ113、大入賞口7の開閉扉を開閉させる大入賞口ソレノイド114、および、普通入賞口8に入球したことを検知する普通入賞口スイッチ115が接続されている。
主制御基板100は、始動入賞口スイッチ110、大入賞口スイッチ113および普通入賞口スイッチ115のそれぞれに入球したことを検知した場合、払出制御基板120に対して払出司令信号を送出する。払出制御基板120は、CPU121とROM122とRAM123とを備え、遊技盤2の背面側に設けられた払出モータ124を制御するように構成されており、主制御基板100から払出指令信号を入力すると、入球した入賞口に応じて所定球数の払い出しを行う。
また主制御基板100は各々の抽選を行うように構成されており、例えば遊技球がゲート11を通過した場合、電動式チューリップ9bを開閉するための抽選を行い、当りならば始動入賞口ソレノイド111を所定時間、若しくは所定回数駆動させて電動式チューリップを開放させる。また始動入賞口6aや開放時の電動式チューリップ6bに入球したことを検知した場合には、大当り抽選が行われ、その大当り抽選結果に応じた演出を行わせるべく、演出制御基板130に対して信号やコマンドを送出する。演出制御基板130は、CPU131とROM132とRAM133とを備えており、画像制御基板140とランプ制御基板150のそれぞれを制御する。画像制御基板140は、CPU141とROM142とRAM143とを備えており、演出制御基板130からの指示に基づいて画像表示装置においての変動表示を行うと共に、演出制御基板130から指定された図柄でその変動表示を停止させる。このとき、例えば主制御基板100における大当りの抽選結果が大当たりであれば、画像表示装置における変動表示が所定の図柄で揃った状態で停止する。また画像制御基板140は、スピーカ144から演出用の効果音を発生させるように構成されている。ランプ制御部150は、CPU151とROM152とRAM153とを備えており、演出制御基板130からの指示に基づいて各種ランプ154を点灯させるように構成されている。尚、このような各種制御基板における処理フローとしては、既に公知となっている処理フローを採用することができる。
また本実施形態では、図5(d)に示すように主制御基板100に対しモータ80が接続されており、電源投入時以降、主制御基板100が予め設定された駆動パターンに基づいてモータを駆動するように構成されている。この駆動パターンとしては、毎分3〜6回転程度の定速駆動、その他、遊技の進行状況に応じた変則的な駆動等々、任意の駆動パターンを選定することができる。また、正転・逆転・一時停止を適宜組み合わせても良い。相対回転する各回転部材45、50を構成する各遊技球通路46、51が連通して直線状になる確率は、駆動機構60を構成する各ギヤ62、63、71、72のギヤ比により決定されるが、モータ80の回転速度を種々制御することにより、連通するタイミングを調整することができる。
このように本発明の各回転体40A、40Bにあっては、奥ステージ31から手前ステージ32上に移動してきた遊技球が、手前ステージ32上に回転自在に支持された各回転体40A、40B上面に放射状に設けた何れかの外側遊技球通路から入球可能に構成されている。外側遊技球通路に入球した遊技球は、該外側遊技球通路が内側遊技球通路と連通状態にある場合には内側遊技球通路を経て反対側から放出される。回転体を構成する各回転部材は同一方向、或いは逆方向に回転するため、放出方向は予測できないが、遊技球の放出位置が始動入賞ポケット6aを向いている場合には入賞する可能性が高くなる。つまり、外側遊技球通路への入球の有無が不確定であり、更に入球した場合の放出方向が一定とはならないため、遊技者にとって有利となったり不利となる状況がランダムに出現する。従って、遊技球通路に遊技球が入った場合であっても、遊技者にとって放出位置、放出方向、放出タイミングを予測することが困難となり、大きな興趣が得られる。
換言すれば、手前ステージ中央(始動入賞口の上方)に回転体が存在しておらず、始動入賞口の直上位置からずれた位置に各回転体が配置されているので、回転体の影響により遊技球の転動方向が変えられて入賞することとなり、入賞するか否かを容易に予測されることを防止できる。
ステージ上に落下した遊技球が手前側に転動して始動入賞口に入球することにより遊技者に有利な状況が出現するが、本発明の構成によれば、ステージ上からの遊技球の移動方向を予測不能、或いは予測困難とすることにより興趣を高めることができる。本発明では、奥ステージから手前ステージに移行してくる遊技球を同心円状に配置された二重構造の回転部材から成る回転体の上面に導いて転動方向を種々変化させることにより遊技球の放出位置をランダム化することができる。特に、2つの回転部材の上面に設けた遊技球通路が連通する状態と連通しない状態を多様なパターンで出現させることにより、遊技球通路内への入球位置と放出位置との対応関係を多様にばらつかせるようにしている。
また、外側遊技球通路の底面を、水平面に対して下向きに4度、或いはそれ以上の傾斜面とすることにより、外側遊技球通路内に進入した遊技球は手前側下方へ転動し易くなり、遊技球通路内やステージ上での滞留を防止できる。
外側遊技球通路の下側開口51Aが手前ステージの下端縁中央部を指向している時に、外側遊技球通路の底面は、手前ステージの上面と略連続した面を形成するので、手前ステージ上の遊技球を外側遊技球通路内にスムーズに導いて、手前ステージ上での滞留を防止できる。
内側遊技球通路と外側遊技球通路とが連通状態にある時に、両遊技球通路の底面は略連続した面を形成するため、外側遊技球通路から内側遊技球通路、更に内側遊技球通路から外側遊技球通路への遊技球の移動をスムーズ化することができ、遊技球通路内における遊技球の滞留を防止できる。
また、一つの駆動源により駆動する構成としたので、駆動機構を構成する部品点数を低減し、コンパクト化することができる。
上記の如き構成を備えた盤面部品は、パチンコ遊技機のみならず、遊技球を使用した他の遊技機一般にも適用することができる。
本発明に係る盤面部品を備えたパチンコ遊技機の遊技盤の一例を示す正面図である。 遊技盤の斜視図である。 (a)及び(b)は2つの回転体を備えたステージの平面図である。 ステージ面と各回転部材との位置関係を示す断面図である。 (a)及び(b)は回転体の駆動機構の一例を示す外観斜視図、(c)は一部断面構成図、(d)は縦断面図、(e)は中心回転部材の駆動機構を示す斜視図、(f)は外側回転部材の駆動機構を示す斜視図である。 遊技盤の背面側に取り付けられた遊技機の制御機構を示すブロック図である。
符号の説明
1…パチンコ遊技機、2…遊技盤、3…センター役物、5…画像表示装置、6…可変入賞装置、6a…始動入賞ポケット、6a…始動入賞口、6a…上始動ポケット、6b…電動式チューリップ、7…大入賞口、8…普通入賞口、9…風車、9b…電動式チューリップ、10…普通図柄表示装置、11…ゲート、13…アウト口、14…ワープ通路、14a…ワープ入口、14b…ワープ出口、30…ステージ、31…奥ステージ、31a…溝、32…手前ステージ、32a…嵌合部、32b…溝、32c…手前ステージ上部面、40A、40B…回転体、41…回転軸、45…外側回転部材、45…中心回転部材、46…内側遊技球通路、46a…底面、46b…側壁、50…外側回転部材、51…外側遊技球通路、51a’…端部底面、51a…底面、51a”…中央部底面、60…駆動機構、61…中心軸部材、62…従動ギヤ、63…駆動ギヤ、64…中間ギヤ、70…外側軸部材、71…従動ギヤ、72…駆動ギヤ、80…モータ、81…出力軸、100…主制御基板、101…CPU、102…ROM、103…RAM、110…始動入賞口スイッチ、111…始動入賞口ソレノイド、112…ゲートスイッチ、113…大入賞口スイッチ、114…大入賞口ソレノイド、115…普通入賞口スイッチ、120…払出制御基板、121…CPU、122…ROM、123…RAM、124…払出モータ、130…演出制御基板、131…CPU、132…ROM、133…RAM、140…画像制御基板、141…CPU、142…ROM、143…RAM、144…スピーカ、150…ランプ制御基板、150…ランプ制御部、151…CPU、152…ROM、153…RAM、154…各種ランプ

Claims (6)

  1. 遊技盤面の略中央に配置された画像表示装置と、該画像表示装置の外周前方に沿って配置され、遊技球が転動可能な上面が後方から前方へ向けて下向き傾斜したステージを下部に有するセンター役物と、該ステージ下方の遊技盤面上に配置され始動入賞が前記画像表示装置の変動表示開始の契機となる始動入賞口と、を備えた遊技機において、
    前記ステージは、前記センター役物内に進入してきた遊技球を受ける奥ステージと、該奥ステージの前方下方に配置された手前ステージと、を備え、
    前記手前ステージ上面と交差する回転軸回りに回転自在に支持された少なくとも二個の回転体を、前記手前ステージ中央の左右両側に振り分け配置し、
    前記各回転体は、前記回転軸回りに回転自在に支持された中心回転部材と、該中心回転部材の外径側に該中心回転部材と相対回転可能、且つ同軸状に配置された環状の外側回転部材と、を備え、
    前記中心回転部材の上面には、その直径方向へ貫通して延びる凹状の内側遊技球通路を少なくとも一本備え、
    前記外側回転部材の上面には、その半径方向へ延びて前記内側遊技球通路と連通可能な凹状の外側遊技球通路を少なくとも二本備えていることを特徴とする遊技機の盤面部品。
  2. 前記外側遊技球通路の底面は、該外側遊技球通路の下側開口が前記手前ステージの下端縁中央部を向いている時に水平面に対して前方に少なくとも4度下向き傾斜していることを特徴とする請求項1に記載の遊技機の盤面部品。
  3. 前記外側遊技球通路が前記手前ステージの下端縁中央部を向いている時に、該外側遊技球通路の底面は、前記手前ステージの上面と略連続した面を形成することを特徴とする請求項1、又は2に記載の遊技球の盤面部品。
  4. 前記内側遊技球通路と前記外側遊技球通路とが連通状態にある時に、両遊技球通路の底面は略連続した面を形成することを特徴とする請求項1、2、又は3に記載の遊技機の盤面部品。
  5. 前記回転軸は、前記中心回転部材の軸心部に一体化した中心軸部材と、該中心軸部材の外径側に位置して前記外側回転部材に一体化した筒状の外側軸部材と、から構成され、前記中心軸部材と前記外側軸部材は、単一の駆動源により同一方向、或いは逆方向へ回転駆動されることを特徴とする請求項1乃至4の何れか一項に記載の遊技機の盤面部品。
  6. 前記各回転体の前記中心軸部材同志と、前記外側軸部材同志をギヤ結合し、前記単一の駆動源により前記両回転体を駆動するように構成したことを特徴とする請求項5に記載の遊技機の盤面部品。
JP2008215750A 2008-08-25 2008-08-25 遊技機 Expired - Fee Related JP5478040B2 (ja)

Priority Applications (1)

Application Number Priority Date Filing Date Title
JP2008215750A JP5478040B2 (ja) 2008-08-25 2008-08-25 遊技機

Applications Claiming Priority (1)

Application Number Priority Date Filing Date Title
JP2008215750A JP5478040B2 (ja) 2008-08-25 2008-08-25 遊技機

Publications (2)

Publication Number Publication Date
JP2010046427A true JP2010046427A (ja) 2010-03-04
JP5478040B2 JP5478040B2 (ja) 2014-04-23

Family

ID=42064032

Family Applications (1)

Application Number Title Priority Date Filing Date
JP2008215750A Expired - Fee Related JP5478040B2 (ja) 2008-08-25 2008-08-25 遊技機

Country Status (1)

Country Link
JP (1) JP5478040B2 (ja)

Citations (2)

* Cited by examiner, † Cited by third party
Publication number Priority date Publication date Assignee Title
JP2000051450A (ja) * 1998-08-10 2000-02-22 Takasago Electric Ind Co Ltd パチンコ遊技機
JP2005334504A (ja) * 2004-05-28 2005-12-08 Okumura Yu-Ki Co Ltd パチンコ機

Patent Citations (2)

* Cited by examiner, † Cited by third party
Publication number Priority date Publication date Assignee Title
JP2000051450A (ja) * 1998-08-10 2000-02-22 Takasago Electric Ind Co Ltd パチンコ遊技機
JP2005334504A (ja) * 2004-05-28 2005-12-08 Okumura Yu-Ki Co Ltd パチンコ機

Also Published As

Publication number Publication date
JP5478040B2 (ja) 2014-04-23

Similar Documents

Publication Publication Date Title
JP5548348B2 (ja) 遊技機
JP2008073299A (ja) 遊技機
JP2011212365A (ja) 可変入賞口装置および遊技機
JP4721180B2 (ja) 弾球遊技機
JP5129071B2 (ja) ぱちんこ遊技機
JP2006314552A (ja) パチンコ遊技機用振分装置及びパチンコ遊技機
JP5478039B2 (ja) 遊技機
JP5478040B2 (ja) 遊技機
JP2005144004A (ja) 遊技機
JP2010110516A (ja) パチンコ遊技機
JP2009050490A (ja) 遊技台
JP2010178795A (ja) 大入賞装置、遊技盤ユニット、及びパチンコ遊技機
JPH1052531A (ja) パチンコ機
JP2007252536A (ja) 遊技機
JP4562173B2 (ja) 弾球遊技機
JP2007097727A (ja) 弾球遊技機
JP2017042231A (ja) 遊技機
JP6027194B1 (ja) 遊技機
JP4793778B2 (ja) 弾球遊技機
JP2014033911A (ja) 遊技機
JP4878571B2 (ja) 遊技機
JP2009082354A (ja) 入賞口装置
JP4452858B2 (ja) パチンコ機
JP3130122B2 (ja) 弾球遊技機
JP6091688B2 (ja) 遊技機

Legal Events

Date Code Title Description
A621 Written request for application examination

Free format text: JAPANESE INTERMEDIATE CODE: A621

Effective date: 20110629

A977 Report on retrieval

Free format text: JAPANESE INTERMEDIATE CODE: A971007

Effective date: 20130221

A131 Notification of reasons for refusal

Free format text: JAPANESE INTERMEDIATE CODE: A131

Effective date: 20130226

A521 Written amendment

Free format text: JAPANESE INTERMEDIATE CODE: A523

Effective date: 20130416

A131 Notification of reasons for refusal

Free format text: JAPANESE INTERMEDIATE CODE: A131

Effective date: 20130827

A521 Written amendment

Free format text: JAPANESE INTERMEDIATE CODE: A523

Effective date: 20131016

A02 Decision of refusal

Free format text: JAPANESE INTERMEDIATE CODE: A02

Effective date: 20131105

A521 Written amendment

Free format text: JAPANESE INTERMEDIATE CODE: A523

Effective date: 20131220

A911 Transfer of reconsideration by examiner before appeal (zenchi)

Free format text: JAPANESE INTERMEDIATE CODE: A911

Effective date: 20140114

TRDD Decision of grant or rejection written
A01 Written decision to grant a patent or to grant a registration (utility model)

Free format text: JAPANESE INTERMEDIATE CODE: A01

Effective date: 20140204

A61 First payment of annual fees (during grant procedure)

Free format text: JAPANESE INTERMEDIATE CODE: A61

Effective date: 20140210

R150 Certificate of patent or registration of utility model

Ref document number: 5478040

Country of ref document: JP

Free format text: JAPANESE INTERMEDIATE CODE: R150

R250 Receipt of annual fees

Free format text: JAPANESE INTERMEDIATE CODE: R250

LAPS Cancellation because of no payment of annual fees