JP2010046407A - シートパッド、その製造方法及び金型 - Google Patents

シートパッド、その製造方法及び金型 Download PDF

Info

Publication number
JP2010046407A
JP2010046407A JP2008215570A JP2008215570A JP2010046407A JP 2010046407 A JP2010046407 A JP 2010046407A JP 2008215570 A JP2008215570 A JP 2008215570A JP 2008215570 A JP2008215570 A JP 2008215570A JP 2010046407 A JP2010046407 A JP 2010046407A
Authority
JP
Japan
Prior art keywords
seat pad
mold
front surface
seat
manufacturing
Prior art date
Legal status (The legal status is an assumption and is not a legal conclusion. Google has not performed a legal analysis and makes no representation as to the accuracy of the status listed.)
Granted
Application number
JP2008215570A
Other languages
English (en)
Other versions
JP5369541B2 (ja
Inventor
Yutaka Hirata
豊 平田
Masanori Okumura
正則 奥村
Yasusuke Yonezawa
泰輔 米澤
Current Assignee (The listed assignees may be inaccurate. Google has not performed a legal analysis and makes no representation or warranty as to the accuracy of the list.)
Bridgestone Corp
Original Assignee
Bridgestone Corp
Priority date (The priority date is an assumption and is not a legal conclusion. Google has not performed a legal analysis and makes no representation as to the accuracy of the date listed.)
Filing date
Publication date
Application filed by Bridgestone Corp filed Critical Bridgestone Corp
Priority to JP2008215570A priority Critical patent/JP5369541B2/ja
Publication of JP2010046407A publication Critical patent/JP2010046407A/ja
Application granted granted Critical
Publication of JP5369541B2 publication Critical patent/JP5369541B2/ja
Expired - Fee Related legal-status Critical Current
Anticipated expiration legal-status Critical

Links

Images

Landscapes

  • Mattresses And Other Support Structures For Chairs And Beds (AREA)
  • Moulds For Moulding Plastics Or The Like (AREA)
  • Casting Or Compression Moulding Of Plastics Or The Like (AREA)

Abstract

【課題】全体として一体発泡により容易に製造することができる、前面がソフトなシートパッドと、その製造方法及びそのための金型を提供する。
【解決手段】シートパッド1の前面に多数の凹穴7が設けられ、これによりシートパッド1の前面が圧縮変形し易いものとなっている。これにより、乗員の下脚部がこの前面に当ったときの感触がソフトとなる。下型31のキャビティの底面に凹穴7を形成するための凸部33が設けられている。シートパッド素体1Aを製造し、このシートパッド素体1Aの前部を下方に折り曲げることにより製造される。
【選択図】図3

Description

本発明は車両などに用いられるシートパッドに係り、特に前面が柔軟とされたシートパッドに関する。また、本発明は、このシートパッドを製造する方法及びそのための金型に関する。
車両用シートパッドとして、腿下部におけるパッド表層部を柔らかくし、その下側の部分を比較的剛性の高い素材で構成した異硬度パッドが用いられることがある。特開平9−271423には、スラブフォーム(同号公報では、「ウレタンフォームブロック体より所定の大きさに切り出されたパッド表層部」と記載されている。)をパッド本体の腿下部に嵌め込んで一体化させた車両用シートパッドが記載されている。
特開平9−271423
上記特開平9−271423には、パッド本体の腿下部を深くえぐって凹所を形成し、この凹所にスラブフォームを嵌合する構成が示されているが、異種素材を用いるためコスト高となる。
本発明は、上記従来の問題点を解決し、全体として一体発泡により容易に製造することができる、前面がソフトなシートパッドと、その製造方法及びそのための金型を提供することを目的とする。
請求項1のシートパッドは、樹脂発泡体よりなり、乗員が着座する座面と、乗員の下脚部に対面する前面とを有するシートパッドにおいて、該前面に、その表層部を柔軟とするための凹凸を有することを特徴とするものである。
請求項2のシートパッドは、請求項1において、前記前面に、開口面積が50〜1000mmであり、深さが2〜20mmである凹穴が複数個設けられていることを特徴とするものである。
請求項3のシートパッドは、請求項2において、該シートパッドは、該座面を有した本体部と、該前面を有したフロント部とが一連一体となった樹脂発泡体の素体を曲成したものであり、該樹脂発泡体の素体は、前記座面と前記前面とが略同一方向を指向しているものであることを特徴とするものである。
請求項4のシートパッドの製造方法は、請求項3に記載のシートパッドを製造する方法であって、金型を用いて前記樹脂発泡体の素体を発泡成形し、得られた樹脂発泡体の素体を曲げてシートパッドとすることを特徴とするものである。
請求項5の金型は、請求項4に記載のシートパッドの製造方法に用いられる金型であって、上型及び下型を有し、下型のキャビティの底面に前記凹凸を形成するための凸凹が設けられていることを特徴とするものである。
本発明のシートパッドは、前面に凹凸を設けることにより前面の表層部を柔軟(ソフト)としているので、乗員の下脚部(例えば脹脛(ふくらはぎ))が当接したときにこの凹凸部分が圧縮変形し易い。そのため、乗員に感取される接触感がソフトなものとなる。
本発明のシートパッドは、低硬度の異種素材を前面に装着するものではなく、全体として一体発泡により容易に製造することができる。
請求項3のシートパッド及び請求項4のシートパッドの製造方法で用いる樹脂発泡体素体は、座面と前面とが略同一方向を指向している。この樹脂発泡体素体は、請求項4の金型を用いて製造することができる。この金型のキャビティ底面に、凹凸部を形成するための凸凹部が形成されているところから、この金型から樹脂発泡体素体を脱型する場合、凹凸部は金型の凸凹部から上方へスムーズに離型する。そのため、脱型に際して凹凸部が損傷することが防止される。
以下、図面を参照して実施の形態について説明する。
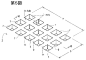
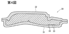
第1図は実施の形態に係る車両用シートパッドの平面図、第2図は第1図のII−II線に沿う断面図、第3図はこの車両用シートパッドの素体の断面図、第4図は金型の断面図である。第5図は凹穴付近の斜視図、第6図は第5図のVI−VI線に沿う断面図である。第7図は凸条の別の断面形状例を示す断面図である。
この車両用シートパッド1は、ポリウレタンフォームよりなり、腿下部2、尻下部3、及びサイド部4を有する。
車両用シートパッド1の上面には、表皮材(図示略)を吊り込むための、前後方向の吊込溝5と横幅方向の吊込溝6とがH字形状を呈するように設けられている。この吊込溝6よりも前方で且つ左右の吊込溝5,5の間の部分が腿下部2となっている。
この実施の形態では、このシートパッド1の前面に多数の凹穴7が設けられ、これによりシートパッド1の前面が圧縮変形し易いものとなっている。これにより、乗員の下脚部がこの前面に当ったときの感触がソフトとなる。なお、シートパッドの前面とは、接線が水平面に対し50°以上特に70°以上となる縦面をいうものとする。凹穴7を設ける領域の左右幅は100〜400mm特に300〜350mmであり、上下幅は30〜100mm特に50〜70mm程度が好ましい。
この実施の形態では、方形の凹穴7を枡目状を配列しており、これにより、凹穴7同士の間に、直交方向に延在する凸条9が形成されている。この凸条9は、基端から先端に至るまで幅tが均一の方形断面形状となっている。
このシートパッド1は、第4図に示す金型30を用いて第3図に示すシートパッド素体1Aを製造し、このシートパッド素体1Aの前部を下方に折り曲げることにより製造されたものである。
この金型30は、下型31と上型32とを有しており、下型31のキャビティの底面に凹穴7を形成するための凸部33が設けられている。この凸部33は、キャビティ底面から単純に上方へ突設されたものであるため、脱型時にシートパッド素体1Aの凹穴7部分が凸部33に引っ掛ることがなく、スムーズに脱型することができ、凹穴7部分が損傷することもない。なお、金型30内のシートパッド素体1Aは、製品シートパッド1とは上下逆となっている。
なお、凸部33を下型31に着脱可能に取り付けてもよい。
脱型して得たシートパッド素体1Aの下面には、前部を折り曲げ易くするための切欠状部8が形成されている。この切欠状部8に沿ってシートパッド素体1Aの前部を矢印A方向に折り曲げる。必要に応じ、切欠状部8に接着剤を塗布するか両面テープを貼っておき、折り曲げ合わせ面を接合することにより、折り曲げ形状を保つようにする。
シートパッド1の構成材料としては、コア密度35〜100kg/m特に40〜80kg/m、25%ILD硬度15〜45kgf/φ200mm程度のポリウレタンフォームが望ましい。
凸条9の頂面は、凹穴7及び凸条9を設けた領域の周囲のシートパッド前面と面一状に連続している。
凸条9の高さ即ち凹穴7の深さhは2〜40mm特に5〜20mmとりわけ10〜15mm、凸条9の幅(厚さ)tは2〜20mm特に4〜10mm、凹穴7の幅wは10〜30mm特に20〜30mm、1個の凹穴7の開口面積は50〜1000mm特に100〜900mmとりわけ400〜700mmであることが好ましい。なお、凸条9の厚さtが例えば第4図の如く高さ方向において変化する場合、厚さt、幅w、開口面積は、いずれも高さ方向の中間部での厚さ、幅、開口面積を示すものとする。
凸条9の体積率は10〜80%特に40〜60%が好ましい。この凸条の体積率とは、凸条9及び凹穴7を設けた領域の面積(第5図のa×b)に凹穴7の深さhを乗じて得た体積a・b・hに対して凸条9の体積が占める比率をいう。この体積率を10〜80%とすることにより、シートパッド前面のソフト感が良好となる。また、40〜60%とすることにより、ソフト感が良好になると共に凸条の耐久性が良好となる。
この実施の形態では、凸条9の頂面が平坦であるので、シートパッド前面に乗員の下脚部が触れたときに、凹穴7や凸条9が人体に感取されにくく、触感が良い。また、凸条9が基端から先端までほぼ均一断面形状であると、圧縮変形時の応力歪曲線の勾配がなだらかとなり、当接感が良好である。
[別形状の凸条及び凹穴の説明]
第1〜6図の実施の形態において、凸条9はシートパッド素体1Aの表面と垂直な断面が角形であり、凸条9は基端(下端)から先端(上端)に至るまで幅tが均一となっているが、上方ほど幅tが小さくなる台形、半角形、半楕円形又はU字形断面形状であってもよい。また、第7図のように凸条9の基端側や上端側の角縁にR付けしてもよい。このR付けの曲率半径は1〜10mm程度(深さhの半分の長さの径)が好適である。基端側角縁とは凸条9の側面と凹穴7の底面との隅角であり、上端側角縁とは、凸条9の側面と上面との交差角縁である。
第1〜3図では、凹穴7の平面視形状は正方形となっているが、凹穴は、三角形であってもよく、長方形、楕円形又は細長い溝形等の長穴であってもよく、六角形、八角形等の多角形であってもよく、円形であってもよい。
第8図は正六角形の凹穴10をハニカム形に配列することによりシートパッド前面をソフト化したものであり、凹穴10同士の間が凸条11となっている。
凸条11の厚さtは2〜20mm特に4〜10mm、凹穴10の対角線長さLは10〜40mm特に15〜30mmが好ましい。1個の凹穴10の開口面積や凸条11の高さ(凹穴10の深さ)、凸条11の頂面の面積割合の好適な範囲、シートパッドの好適な材料などは第1図〜第3図の実施の形態と同様である。
第8図では凹穴は正六角形であるが、正六角形以外の六角形であってもよい。ただし、対向する辺が平行な六角形が好ましく、正六角形が最も好ましい。
第9図は円形の凹穴12を各円の中心が正三角形の各頂点に位置するように配列し、凹穴12同士の間を凸条13とすることにより、シートパッド前面をソフト化したものである。
凹穴12の直径は10〜40mm特に15〜30mm程度が好ましい。隣り合う凹穴12同士の間の最も小さい凸条13の厚さは2〜20mm特に4〜10mmが好ましい。凹穴12の開口面積や凸条13の高さ(凹穴12の深さ)、凸条13の頂面の面積割合の好適な範囲、シートパッドの好適な材料などは第1図〜第3図の実施の形態と同様である。
第8,9図のように凸条が3方向に延在していると、凸条が2方向に延在しているものに比べ、下脚部が当接したときの異方性が小さい。
[シートパッド前面に溝を設けることによって凸部を設けた実施の形態]
上記実施の形態では凹穴を設けることによりシートパッド前面をソフト化しているが、溝を設けて凸部を設けることによりシートパッド前面をソフト化してもよい。
第10図はかかる実施の形態に係るシートパッド前面の斜視図、第11図は第10図のXI−XI線断面図である。
第12,13図では、シートパッド前面に、直交方向に延在する溝18を設けることにより、多数の凸部19が設けられている。溝18はシートパッド前面と垂直な断面が角形の角形溝であり、凸部19は基端(下端)から先端(上端)に至るまで断面形状が均一な正方形となっている。ただし、凸部19の断面形状は、先端ほど幅が小さくなる形状であってもよい。
凸部19の平均の高さ即ち溝18の平均の深さdは5〜20mm特に10〜15mm、溝8の平均の幅eは5〜20mm特に10〜15mm、頂面の一辺の寸法fは5〜20mm特に10〜15mm、頂面の面積は25〜400mm特に100〜225mmであることが好ましい。
この凸部19の体積率も10〜80%特に40〜60%程度が好ましい。
凸部19を形成するには、凸部形成用の凹部を設けた金型を用いて成形してもよいが、厚み方向に多数の孔が貫通した板状体を下型のキャビティ面に配置しておくのが好ましい。
以下、実施例及び比較例について説明する。便宜上まず、比較例1について説明する。
比較例1
密度64kg/m、25%硬度24kgf/200mmφのポリウレタンフォームよりなるシートパッドを製作した。前面には凹凸は設けていない。このシートパッド前面の荷重−ストローク曲線を求めた。なお、この測定には、直径200mmの負荷子を用い、この負荷子を速度0.8mm/secで座面に押し付け、反力を計測した。結果を第11図に示す。なお、凹穴及び凸条は存在しないので、凸条の体積率は100%である。
実施例1
第4図に示すように成形用金型の下型キャビティ面に凸部を設けることにより、比較例1と同一のウレタン原液を用い、第9図に示す円形の凹穴を設けることによりシートパッド前面をソフト化したシートパッドを製造した。凹穴12の直径を12mm、深さを5mm、隣接する凹穴12の中心間の距離を19mmとした。凸条13の体積率は70%である。このシートパッド前面に、上記比較例1と同様に負荷子を押し当てて、荷重−ストローク曲線を求めた。結果を第12図に示す。
実施例2
凹穴12の直径を19mm、深さを5mm、隣接する凹穴12の中心間の距離を26mmとし、凸条13の体積率を50%とした他は実施例1と同様にしてシートパッドを製造した。
実施例3
凹穴12の直径を24mm、深さを5mm、隣接する凹穴12の中心間の距離を30mmとし、凸条13の体積率を40%とした他は実施例1と同様にしてシートパッドを製造した。
実施例4
凹穴12の直径を28mm、深さを5mm、隣接する凹穴12の中心間の距離を32mmとし、凸条13の体積率を25%とした他は実施例1と同様にしてシートパッドを製造した。
これらの実施例2〜4のシートパッドの前面に、上記比較例1と同様に負荷子を押し当てて、荷重−ストローク曲線を求めた。結果を第12図に示す。
[考察]
第12図の通り、実施例1〜4のシートパッドの前面は、比較例1に比べてソフトである。また、凸条の体積率が小さくなるほどソフトになることも認められる。なお、各シートパッドの右腿下部について50℃、湿度95%の恒温恒湿槽内で22時間50%圧縮後の残留歪を測定し、結果を第13図に示した。
また、実施例2において凸条の基端側及び先端側の角縁にR=3.5mmのR付けを施したところ、圧縮残留歪は19.8%から18.8%に低下することが認められた。
実施の形態に係る車両用シートパッドの平面図である。 第1図のII−II線に沿う断面図である。 シートパッド素体の断面図である。 シートパッド成形用金型の断面図である。 シートパッド前面の拡大斜視図である。 第5図のVI−VI線に沿う断面図である。 凹穴及び凸条の別形状を示す断面図である。 凹穴及び凸条の別形状を示す平面図である。 凹穴及び凸条の別形状を示す平面図である。 別の実施の形態を示す斜視図である。 図10のXI−XI線断面図である。 実施例及び比較例の結果を示すグラフである。 実施例及び比較例の結果を示すグラフである。
符号の説明
1 車両用シートパッド
1A シートパッド素体
2 腿下部
7,10,12 凹穴
8 切欠状部
9,11,13 凸条
30 金型
33 凸部

Claims (5)

  1. 樹脂発泡体よりなり、
    乗員が着座する座面と、乗員の下脚部に対面する前面とを有するシートパッドにおいて、
    該前面に、その表層部を柔軟とするための凹凸を有することを特徴とするシートパッド。
  2. 請求項1において、前記前面に、開口面積が50〜1000mmであり、深さが2〜20mmである凹穴が複数個設けられていることを特徴とするシートパッド。
  3. 請求項1又は2において、該シートパッドは、該座面を有した本体部と、該前面を有したフロント部とが一連一体となった樹脂発泡体の素体を曲成したものであり、
    該樹脂発泡体の素体は、前記座面と前記前面とが略同一方向を指向しているものであることを特徴とするシートパッド。
  4. 請求項3に記載のシートパッドを製造する方法であって、金型を用いて前記樹脂発泡体の素体を発泡成形し、得られた樹脂発泡体の素体を曲げてシートパッドとすることを特徴とするシートパッドの製造方法。
  5. 請求項4に記載のシートパッドの製造方法に用いられる金型であって、上型及び下型を有し、下型のキャビティの底面に前記凹凸を形成するための凸凹が設けられていることを特徴とする金型。
JP2008215570A 2008-08-25 2008-08-25 シートパッド、その製造方法及び金型 Expired - Fee Related JP5369541B2 (ja)

Priority Applications (1)

Application Number Priority Date Filing Date Title
JP2008215570A JP5369541B2 (ja) 2008-08-25 2008-08-25 シートパッド、その製造方法及び金型

Applications Claiming Priority (1)

Application Number Priority Date Filing Date Title
JP2008215570A JP5369541B2 (ja) 2008-08-25 2008-08-25 シートパッド、その製造方法及び金型

Publications (2)

Publication Number Publication Date
JP2010046407A true JP2010046407A (ja) 2010-03-04
JP5369541B2 JP5369541B2 (ja) 2013-12-18

Family

ID=42064013

Family Applications (1)

Application Number Title Priority Date Filing Date
JP2008215570A Expired - Fee Related JP5369541B2 (ja) 2008-08-25 2008-08-25 シートパッド、その製造方法及び金型

Country Status (1)

Country Link
JP (1) JP5369541B2 (ja)

Citations (2)

* Cited by examiner, † Cited by third party
Publication number Priority date Publication date Assignee Title
JPS4829855A (ja) * 1971-08-21 1973-04-20
JPH0419254U (ja) * 1990-06-11 1992-02-18

Patent Citations (2)

* Cited by examiner, † Cited by third party
Publication number Priority date Publication date Assignee Title
JPS4829855A (ja) * 1971-08-21 1973-04-20
JPH0419254U (ja) * 1990-06-11 1992-02-18

Also Published As

Publication number Publication date
JP5369541B2 (ja) 2013-12-18

Similar Documents

Publication Publication Date Title
JP4293281B1 (ja) 車両用シートパッド及び車両用シート
US10206512B2 (en) Honeycomb-structured sitting cushion
CN105209247B (zh) 重合复合内饰零件
JP2009078142A (ja) 車両用シートパッド及びその製造方法
EP3235688B1 (en) Multilayer composite interior component
JP6046824B2 (ja) 重ね合わせ複合内装部品
CN107073871B (zh) 重叠复合内饰部件
JP5502297B2 (ja) シートパッド
JP6512944B2 (ja) シート用パッドおよびシート用パッドの製造装置
JP5369541B2 (ja) シートパッド、その製造方法及び金型
JP5326428B2 (ja) 車両用シート
CN106414177B (zh) 重叠复合内饰部件
JP2010184085A (ja) 車両用シートパッド
JP2010046408A (ja) 車両用シートパッド
EP1048249A1 (en) Mattress with foam core
JP6179259B2 (ja) プロファイル加工装置
JP6532756B2 (ja) 発泡成形体の製造装置、発泡成形体の製造方法
JP5054849B1 (ja) 睡眠用枕
JP2010047228A (ja) 車両運転席用シートパッド
JP2014039616A (ja) クッション材
JP7801158B2 (ja) マットレス
JP5035780B2 (ja) 巾木
JP2007195701A (ja) 敷きマット
JP6366923B2 (ja) フロアマット及びフロアマットの製造方法
JPH0995162A (ja) 自動車用シートバック

Legal Events

Date Code Title Description
A621 Written request for application examination

Free format text: JAPANESE INTERMEDIATE CODE: A621

Effective date: 20110801

A977 Report on retrieval

Free format text: JAPANESE INTERMEDIATE CODE: A971007

Effective date: 20130305

A131 Notification of reasons for refusal

Free format text: JAPANESE INTERMEDIATE CODE: A131

Effective date: 20130312

A521 Request for written amendment filed

Free format text: JAPANESE INTERMEDIATE CODE: A523

Effective date: 20130509

A131 Notification of reasons for refusal

Free format text: JAPANESE INTERMEDIATE CODE: A131

Effective date: 20130528

A521 Request for written amendment filed

Free format text: JAPANESE INTERMEDIATE CODE: A523

Effective date: 20130729

TRDD Decision of grant or rejection written
A01 Written decision to grant a patent or to grant a registration (utility model)

Free format text: JAPANESE INTERMEDIATE CODE: A01

Effective date: 20130820

A61 First payment of annual fees (during grant procedure)

Free format text: JAPANESE INTERMEDIATE CODE: A61

Effective date: 20130902

R150 Certificate of patent or registration of utility model

Ref document number: 5369541

Country of ref document: JP

Free format text: JAPANESE INTERMEDIATE CODE: R150

Free format text: JAPANESE INTERMEDIATE CODE: R150

R250 Receipt of annual fees

Free format text: JAPANESE INTERMEDIATE CODE: R250

R250 Receipt of annual fees

Free format text: JAPANESE INTERMEDIATE CODE: R250

R250 Receipt of annual fees

Free format text: JAPANESE INTERMEDIATE CODE: R250

R250 Receipt of annual fees

Free format text: JAPANESE INTERMEDIATE CODE: R250

R250 Receipt of annual fees

Free format text: JAPANESE INTERMEDIATE CODE: R250

LAPS Cancellation because of no payment of annual fees