JP2010044413A - 光信号転送方法、光信号中継装置、および光信号記憶装置 - Google Patents

光信号転送方法、光信号中継装置、および光信号記憶装置 Download PDF

Info

Publication number
JP2010044413A
JP2010044413A JP2009256584A JP2009256584A JP2010044413A JP 2010044413 A JP2010044413 A JP 2010044413A JP 2009256584 A JP2009256584 A JP 2009256584A JP 2009256584 A JP2009256584 A JP 2009256584A JP 2010044413 A JP2010044413 A JP 2010044413A
Authority
JP
Japan
Prior art keywords
optical
optical signal
light
signal
wavelength
Prior art date
Legal status (The legal status is an assumption and is not a legal conclusion. Google has not performed a legal analysis and makes no representation as to the accuracy of the status listed.)
Granted
Application number
JP2009256584A
Other languages
English (en)
Other versions
JP5314815B2 (ja
Inventor
Yoshinobu Maeda
佳伸 前田
Current Assignee (The listed assignees may be inaccurate. Google has not performed a legal analysis and makes no representation or warranty as to the accuracy of the list.)
Japan Science and Technology Agency
Original Assignee
Japan Science and Technology Agency
Priority date (The priority date is an assumption and is not a legal conclusion. Google has not performed a legal analysis and makes no representation as to the accuracy of the date listed.)
Filing date
Publication date
Application filed by Japan Science and Technology Agency filed Critical Japan Science and Technology Agency
Priority to JP2009256584A priority Critical patent/JP5314815B2/ja
Publication of JP2010044413A publication Critical patent/JP2010044413A/ja
Application granted granted Critical
Publication of JP5314815B2 publication Critical patent/JP5314815B2/ja
Anticipated expiration legal-status Critical
Expired - Fee Related legal-status Critical Current

Links

Images

Classifications

    • GPHYSICS
    • G02OPTICS
    • G02FOPTICAL DEVICES OR ARRANGEMENTS FOR THE CONTROL OF LIGHT BY MODIFICATION OF THE OPTICAL PROPERTIES OF THE MEDIA OF THE ELEMENTS INVOLVED THEREIN; NON-LINEAR OPTICS; FREQUENCY-CHANGING OF LIGHT; OPTICAL LOGIC ELEMENTS; OPTICAL ANALOGUE/DIGITAL CONVERTERS
    • G02F2/00Demodulating light; Transferring the modulation of modulated light; Frequency-changing of light
    • G02F2/004Transferring the modulation of modulated light, i.e. transferring the information from one optical carrier of a first wavelength to a second optical carrier of a second wavelength, e.g. all-optical wavelength converter
    • BPERFORMING OPERATIONS; TRANSPORTING
    • B82NANOTECHNOLOGY
    • B82YSPECIFIC USES OR APPLICATIONS OF NANOSTRUCTURES; MEASUREMENT OR ANALYSIS OF NANOSTRUCTURES; MANUFACTURE OR TREATMENT OF NANOSTRUCTURES
    • B82Y20/00Nanooptics, e.g. quantum optics or photonic crystals
    • GPHYSICS
    • G02OPTICS
    • G02FOPTICAL DEVICES OR ARRANGEMENTS FOR THE CONTROL OF LIGHT BY MODIFICATION OF THE OPTICAL PROPERTIES OF THE MEDIA OF THE ELEMENTS INVOLVED THEREIN; NON-LINEAR OPTICS; FREQUENCY-CHANGING OF LIGHT; OPTICAL LOGIC ELEMENTS; OPTICAL ANALOGUE/DIGITAL CONVERTERS
    • G02F1/00Devices or arrangements for the control of the intensity, colour, phase, polarisation or direction of light arriving from an independent light source, e.g. switching, gating or modulating; Non-linear optics
    • G02F1/01Devices or arrangements for the control of the intensity, colour, phase, polarisation or direction of light arriving from an independent light source, e.g. switching, gating or modulating; Non-linear optics for the control of the intensity, phase, polarisation or colour 
    • G02F1/015Devices or arrangements for the control of the intensity, colour, phase, polarisation or direction of light arriving from an independent light source, e.g. switching, gating or modulating; Non-linear optics for the control of the intensity, phase, polarisation or colour  based on semiconductor elements having potential barriers, e.g. having a PN or PIN junction
    • G02F1/017Structures with periodic or quasi periodic potential variation, e.g. superlattices, quantum wells
    • G02F1/01708Structures with periodic or quasi periodic potential variation, e.g. superlattices, quantum wells in an optical wavequide structure
    • GPHYSICS
    • G02OPTICS
    • G02FOPTICAL DEVICES OR ARRANGEMENTS FOR THE CONTROL OF LIGHT BY MODIFICATION OF THE OPTICAL PROPERTIES OF THE MEDIA OF THE ELEMENTS INVOLVED THEREIN; NON-LINEAR OPTICS; FREQUENCY-CHANGING OF LIGHT; OPTICAL LOGIC ELEMENTS; OPTICAL ANALOGUE/DIGITAL CONVERTERS
    • G02F3/00Optical logic elements; Optical bistable devices
    • HELECTRICITY
    • H04ELECTRIC COMMUNICATION TECHNIQUE
    • H04JMULTIPLEX COMMUNICATION
    • H04J14/00Optical multiplex systems
    • H04J14/02Wavelength-division multiplex systems
    • H04J14/0201Add-and-drop multiplexing
    • HELECTRICITY
    • H04ELECTRIC COMMUNICATION TECHNIQUE
    • H04JMULTIPLEX COMMUNICATION
    • H04J14/00Optical multiplex systems
    • H04J14/02Wavelength-division multiplex systems
    • H04J14/0201Add-and-drop multiplexing
    • H04J14/0202Arrangements therefor
    • H04J14/0204Broadcast and select arrangements, e.g. with an optical splitter at the input before adding or dropping
    • HELECTRICITY
    • H04ELECTRIC COMMUNICATION TECHNIQUE
    • H04JMULTIPLEX COMMUNICATION
    • H04J14/00Optical multiplex systems
    • H04J14/02Wavelength-division multiplex systems
    • H04J14/0201Add-and-drop multiplexing
    • H04J14/0202Arrangements therefor
    • H04J14/0205Select and combine arrangements, e.g. with an optical combiner at the output after adding or dropping
    • HELECTRICITY
    • H04ELECTRIC COMMUNICATION TECHNIQUE
    • H04JMULTIPLEX COMMUNICATION
    • H04J14/00Optical multiplex systems
    • H04J14/02Wavelength-division multiplex systems
    • H04J14/0201Add-and-drop multiplexing
    • H04J14/0202Arrangements therefor
    • H04J14/0213Groups of channels or wave bands arrangements
    • HELECTRICITY
    • H04ELECTRIC COMMUNICATION TECHNIQUE
    • H04JMULTIPLEX COMMUNICATION
    • H04J14/00Optical multiplex systems
    • H04J14/02Wavelength-division multiplex systems
    • H04J14/0227Operation, administration, maintenance or provisioning [OAMP] of WDM networks, e.g. media access, routing or wavelength allocation
    • H04J14/0241Wavelength allocation for communications one-to-one, e.g. unicasting wavelengths
    • H04J14/0242Wavelength allocation for communications one-to-one, e.g. unicasting wavelengths in WDM-PON
    • H04J14/0245Wavelength allocation for communications one-to-one, e.g. unicasting wavelengths in WDM-PON for downstream transmission, e.g. optical line terminal [OLT] to ONU
    • H04J14/0246Wavelength allocation for communications one-to-one, e.g. unicasting wavelengths in WDM-PON for downstream transmission, e.g. optical line terminal [OLT] to ONU using one wavelength per ONU
    • HELECTRICITY
    • H04ELECTRIC COMMUNICATION TECHNIQUE
    • H04JMULTIPLEX COMMUNICATION
    • H04J14/00Optical multiplex systems
    • H04J14/02Wavelength-division multiplex systems
    • H04J14/0227Operation, administration, maintenance or provisioning [OAMP] of WDM networks, e.g. media access, routing or wavelength allocation
    • H04J14/0254Optical medium access
    • H04J14/0267Optical signaling or routing
    • GPHYSICS
    • G02OPTICS
    • G02FOPTICAL DEVICES OR ARRANGEMENTS FOR THE CONTROL OF LIGHT BY MODIFICATION OF THE OPTICAL PROPERTIES OF THE MEDIA OF THE ELEMENTS INVOLVED THEREIN; NON-LINEAR OPTICS; FREQUENCY-CHANGING OF LIGHT; OPTICAL LOGIC ELEMENTS; OPTICAL ANALOGUE/DIGITAL CONVERTERS
    • G02F2/00Demodulating light; Transferring the modulation of modulated light; Frequency-changing of light
    • G02F2/004Transferring the modulation of modulated light, i.e. transferring the information from one optical carrier of a first wavelength to a second optical carrier of a second wavelength, e.g. all-optical wavelength converter
    • G02F2/006All-optical wavelength conversion
    • GPHYSICS
    • G02OPTICS
    • G02FOPTICAL DEVICES OR ARRANGEMENTS FOR THE CONTROL OF LIGHT BY MODIFICATION OF THE OPTICAL PROPERTIES OF THE MEDIA OF THE ELEMENTS INVOLVED THEREIN; NON-LINEAR OPTICS; FREQUENCY-CHANGING OF LIGHT; OPTICAL LOGIC ELEMENTS; OPTICAL ANALOGUE/DIGITAL CONVERTERS
    • G02F2203/00Function characteristic
    • G02F2203/58Multi-wavelength, e.g. operation of the device at a plurality of wavelengths
    • G02F2203/585Add/drop devices
    • GPHYSICS
    • G02OPTICS
    • G02FOPTICAL DEVICES OR ARRANGEMENTS FOR THE CONTROL OF LIGHT BY MODIFICATION OF THE OPTICAL PROPERTIES OF THE MEDIA OF THE ELEMENTS INVOLVED THEREIN; NON-LINEAR OPTICS; FREQUENCY-CHANGING OF LIGHT; OPTICAL LOGIC ELEMENTS; OPTICAL ANALOGUE/DIGITAL CONVERTERS
    • G02F2203/00Function characteristic
    • G02F2203/70Semiconductor optical amplifier [SOA] used in a device covered by G02F

Landscapes

  • Physics & Mathematics (AREA)
  • Engineering & Computer Science (AREA)
  • Signal Processing (AREA)
  • Computer Networks & Wireless Communication (AREA)
  • Optics & Photonics (AREA)
  • Nonlinear Science (AREA)
  • General Physics & Mathematics (AREA)
  • Chemical & Material Sciences (AREA)
  • Nanotechnology (AREA)
  • Crystallography & Structural Chemistry (AREA)
  • Biophysics (AREA)
  • Life Sciences & Earth Sciences (AREA)
  • Optical Communication System (AREA)
  • Optical Modulation, Optical Deflection, Nonlinear Optics, Optical Demodulation, Optical Logic Elements (AREA)
  • Semiconductor Lasers (AREA)

Abstract

【課題】光信号の増幅処理を制御光を用いて直接行うことができる光信号増幅3端子装置を提供する。
【解決手段】光信号増幅3端子装置10においては、第1波長λの第1入力光Lと第2波長λの第2入力光Lとが入力された第1光増幅素子26からの光から選択された第2波長λの光と、第3波長λの第3入力光(制御光)Lとが第2光増幅素子34へ入力させられるとき、その第2光増幅素子34から出された光から選択された第3波長λの出力光Lは、前記第1波長λの第1入力光Lおよび/または第3波長λの第3入力光Lの強度変化に応答して変調された光であって、前記第3波長λの第3入力光(制御光)Lに対する信号増幅率が2以上の大きさの増幅信号となるので、光信号の増幅処理を制御入力光を用いて直接行うことができる光信号増幅3端子装置10を得ることができる。
【選択図】図1

Description

本発明は、(a)光ファイバなどの所定の伝送路を介して伝播した光信号をその光信号に含まれる行先情報が示す他の伝送路へ転送するための光信号転送方法および光信号中継装置、(b)光ファイバなどの所定の伝送路を介して伝播した光信号を記憶すると共に任意の時間に取り出すことを可能とする光信号記憶装置に関するものである。
広帯域且つ高速伝送が可能な光ファイバ通信を用いた動画像通信や映像の分配といった広帯域な新サービスの広範な展開が期待されている。しかしながら、たとえばエレクトロニクスで言えば3端子のトランジスタに相当するような機能(信号増幅作用)素子、すなわち光信号を他の光信号で直接制御して信号増幅するような光機能素子は、未だ、実現されていない。
このため、折角、高速で伝送した光信号を一旦電気信号に変換し、電子回路において情報処理が行われ、処理後の信号を再度光に変換して伝送するというのが実情である。したがって、光を光で直接制御することができないので、信号処理の高速性に限界があった。光信号のまま信号処理ができる場合には、並列処理が可能であると言われており、一層の処理時間の短縮化が期待できるのである。
これに対し、非特許文献1或いは非特許文献2に記載されている装置は、光をスイッチングする装置、マッハツェンダー型光干渉による波長変換などを利用したゲートスイッチング装置に過ぎず、これらは、温度変化、振動に弱く、設定が厳しいという不都合があった。このような従来技術は、電子回路におけるトランジスタのように、入力光を制御光を用いて信号増幅された出力光を得る機能を備えた光信号増幅3端子装置を構成する点については何ら開示されていない。
次に、広帯域、高速且つ高容量の信号伝送が可能な光通信の分野において、その光信号の通信、転送、分配がその広帯域、高速且つ高容量といった性質を損わないようにして行われることが期待されている。比較的近い将来に構築されることが予想されている波長分割多重(WDM)をベースとした光ネットワークでは、一方の光伝送路から伝送された波長の異なる複数種類のレーザ光である波長分割多重光信号を波長毎に所望の光伝送路へ転送する光信号の転送(光信号の中継)技術が重要となる。光ファイバなどの所定の伝送路(たとえば波長バス)を介して伝播した一連の光信号(たとえばパケット信号)を、その一連の光信号に付されているラベル或いはタグのような行先情報が示す他の伝送路へ転送するための光信号転送、たとえば光ネットワーク内或いは光ネットワーク間でルーティングするルーティングでは、大容量且つ高速であるという光信号伝送の特徴を損うものであってはならなず、ルータすなわち光信号中継(転送)装置においても高速で転送処理されること、信頼性が高く、小型であることなどが要求される。
これに対し、たとえば特許文献1に記載された光パスクロスコネクト装置が提案されている。これによれば、波長多重伝送リンクの波長バスをG本ずつN個の波長群バスに分割する分波器と、その分波器によって分割された波長群毎にルーティング処理を実行するルーティング処理部とが備えられ、波長群毎にルーティング処理が行われるように構成されている。この光パスクロスコネクト装置のルーティング処理部は、波長群毎に波長変換する波長変換器と、それにより波長変換された光を分配するためにコントローラによって制御される光マトリックススイッチとから構成されている。そして、この光マトリックススイッチは、マトリックス状光路の交点に配置されたメカニカル動作の反射鏡スイッチをコントローラによって択一的に動作させ、複数の波長群のうちその反射鏡スイッチにより反射された1つの波長群を所望の伝送路へ出力させるように構成されるか(段落0042、図10(1))、或いは、コントローラによって択一的に動作させられる光スイッチとメッシュ配線とが配置され、複数の波長群のうちその光スイッチにより通過させられた1つの波長群をメッシュ配線内の1つの伝送路へ出力させるように構成される(段落0043、図10(2))。
しかしながら、上記従来の光パスクロスコネクト装置では、コントローラによって作動制御される反射鏡スイッチ或いは光スイッチによってルーティング処理されることから、コントローラにおいて電子的に処理された出力であるルーティング先(行先)を示すが指令信号に従って反射鏡スイッチ或いは光スイッチが切換動作させられる。このため、光信号の一部を電気信号に変換してその電気信号に含まれる行先情報たとえばパケットのラベルやタグに含まれる転送関連信号を抽出し、それに従って反射鏡スイッチ或いは光スイッチを電気的に作動制御してから光信号を転送する必要があるため、応答速度が十分に得られなかった。また、転送先の伝送路(波長バス)の波長に合わせて波長を変換するために、上記ルーティング処理部の他に波長変換部が備えられており、そのような波長変換部がルーティング処理部に加えて設けられているので、装置が大型となるとともに、特にメカニカル作動の反射鏡スイッチが用いられる場合には信頼性が得られない場合があった。
さらに、広帯域、高速且つ高容量の信号伝送が可能な光通信の分野において、光信号(たとえばパケット信号などの光データ)の識別、多重や分離、スイッチング、ルーティング(転送、分配)がその広帯域、高速且つ高容量といった性質を損わないようにして行われることが期待されている。このような光の領域では、たとえばフォトニックルータシステムに代表される光信号を処理する光信号処理システムの全般において、光信号を一時的に記憶し且つ所望のタイミングで取り出すことができる光信号記憶装置が求められている。エレクトロニクス分野の信号処理においてメモリが必須であると同様に、光信号処理分野においても光メモリ、光バッファと称される光信号記憶装置が必要不可欠であるからである。
これに対し、たとえば特許文献2に記載されているような、光メモリ装置が提案されている。これによれば、複数種類の遅延時間を与えるために長さの異なる光ファイバからそれぞれ構成された複数の光導波手段105〜108が用意されており、その光導波手段105〜108のいずれかを通過させることでその光導波手段105〜108のいずれかの伝播時間に対応する遅延時間だけ、光信号を記憶させることができるように構成されている。
しかしながら、上記従来の光メモリ装置では、光信号が伝播させられる光導波手段105〜108のいずれかの伝播時間に対応する遅延時間だけ、その光信号の記憶時間が予め決定されるに過ぎず、任意のタイミングで光信号を取り出すことができないことから、光信号の処理の自由度が制限されて信号処理効率が低くなることが避けられなかった。
特開2002−262319号公報 特開平8−204718号公報
K.E.Stubkjaer,"Semiconductor optical amplifier−based all−optical gates for high−speed optical processing,"IEEE J.Quamtun Electron.,vol.6,no.6,pp.1428−1435,Nov./Dec.2000 T.Durhuus,C.Joergensen,B.Mikkelsen,R.J.S.Pedersen,and A.E.Stubkjaer."All optical wavelength conversion by SOAs in a Mach−Zender configuratiom,"IEEE Photon.Technol.Lett.,vol.6,pp.53−55,Jan.1994
本発明は以上の事情を背景として為されたものであり、その第1の目的とするところは、光信号のルーティングを高速で処理でき、或いは装置が小型となる光信号転送方法および光信号中継装置を提供することにある。また、第2の目的とするところは、光信号を記憶し且つ任意の時間にそれを取り出すことができる光信号記憶装置を提供することにある。
本発明者は、以上の事情を背景として種々の検討を重ねた結果、半導体光増幅素子や希土類元素添加ファイバアンプなどの光増幅素子において、所定波長λの入力光の周囲波長の自然放出光が、その入力光の強度変化に応答して強度変化し、その変化は入力光の信号強度変化に対して逆の強度変化をする点、および、その自然放出光の波長域内すなわち入力光の周囲波長域内の他の波長λのレーザ光を上記入力光に重畳させて入射させると、上記自然放出光の信号(振幅)変化は維持されつつ、全体の強度が急激に増加するという現象すなわちレーザ誘導光信号増強効果(Laser−induced signal enhancement effect)を見い出した。また、本発明者は、この現象を、波長λからλへの波長変換機能としても把握し、その波長変換を2段接続するタンデム波長変換素子に基づく光3端子装置(All−Optical Triode Based on Tandem Wavelength Converter)を着想し、光信号増幅3端子装置を見いだした。
そして、本発明者は、上記の光信号増幅3端子装置の光増幅素子が波長λからλへの波長変換機能を有するだけでなく、その波長変換機能とスイッチング機能とを備えた機能素子であることにも着眼し、行先情報を光信号に振幅変調して重畳させることによりその機能素子が波長多重信号のルーティング装置すなわち転送装置として好適に用いられることを見いだした。本第1発明および第2発明はかかる知見に基づいて為されたものである。
また、本発明者は、前記のような現象を有する光信号増幅3端子装置の光増幅素子を、波長λからλへの波長変換機能として機能させつつ、入力波長に応じて異なる出力伝送路へ分配する分波器と組み合わせて、光信号が周回する環状伝送路内に介そうすることにより、周回させられることにより記憶されている光信号を任意の時間に取り出すことが可能である点を見いだした。第3発明はかかる知見に基づいて為されたものである。
第1発明
すなわち、第1発明の要旨とするところは、所定の伝送路を介して伝送された一連の光信号を、複数の伝送路のうちのその光信号に含まれる行先情報に対応する伝送路へ転送する光信号転送方法であって、(a)前記行先情報が施された一連の光信号を光信号増幅3端子装置本体へ入力させる入力工程と、(b)前記振幅変調信号に対応する波長の制御光を光信号増幅3端子装置本体へ供給し、その光信号増幅3端子装置本体からその制御光の波長の光信号を出力させる波長変換工程と、(c)前記光信号増幅3端子装置本体から出力された光信号を光分配装置に入力させ、その光信号をその波長に応じてその光分配装置に接続された複数の光伝送路へ分配する光分配工程とが、含まれる。その行先情報としてその一連の光信号に振幅変調信号を付与し、その振幅変調信号が示す行先へ転送するようにしたことにある。
このようにすれば、行先情報が施された一連の光信号が光信号増幅3端子装置本体へ入力され、その振幅変調信号に対応する波長の制御光がその光信号増幅3端子装置本体へ供給されて、その光信号増幅3端子装置本体からその制御光の波長の光信号が光分配装置へ出力され、その出力された光信号はその波長に応じて光分配装置に接続された複数の光伝送路へ分配されることによってルーティングが行われる。このように、行先情報が光信号に付与されていることから、波長変換機能とスイッチング機能とを有する光信号増幅3端子装置本体が行先情報に対応した波長の光信号を出力して光分配装置による分配を可能とするので、高速かつ小型のルーティング装置すなわち光信号転送装置或いは光信号中継装置が可能となる。
ここで、上記行先情報とは、たとえばIPアドレス或いは送信元アドレス、あて先アドレス、ソースルーティングのようなルート情報、データリンク層のコネクション情報など、光信号の転送先の決定に関連する情報である。
好適には、前記一連の光信号は、90%以下の変調度で振幅変調されたものである。このようにすれば、光信号が損われず、且つ行先情報が光信号に確実に付与される。
また、好適には、前記一連の光信号はパケット信号であり、前記行先情報はそのパケット信号の先頭部に設けられたラベル情報或いはタグ情報である。このようにすれば、パケット信号を構成する一連の光信号の先頭部に設けられたラベル部或いはタグ部において、振幅変調によりラベル情報或いはタグ情報が付与される。
また、好適には、前記波長変換工程は、光信号増幅3端子装置本体から出力される光信号にその制御光を用いて振幅変調を施すことにより、その光信号に新たな行先情報を再付与するものである。このようにすれば、転送装置内において適宜転送先を付与できる。このため、たとえばリンクの状態、ノードの状態、ロタフィック状態に応じて転送ルートを決定する動的ルーティングが可能となる。
第2発明
上記第1発明の光信号転送方法が好適に実施されるための光信号中継装置の要旨とするところは、光信号伝送ネットワーク間において、行先情報として振幅変調が施された一連の光信号を一方のネットワークから他方のネットワークの伝送路のうちのその光信号に含まれる行先情報に対応する伝送路へ転送するための光信号中継装置であって、(a)前記一連の光信号の振幅変調信号から、その振幅変調信号が示す行先に対応した波長の制御光を発生させる制御光発生装置と、(b)前記一連の光信号を前記制御光の波長の光信号に変換する光信号増幅3端子装置本体と、(c)その光信号増幅3端子装置本体から出力された光信号をその波長に応じて複数の光伝送路へ分配する光分配装置とを、含むことにある。
このようにすれば、行先情報として振幅変調信号が付与された一連の光信号が伝送されて来ると、制御光発生装置により、その一連の光信号の振幅変調信号からその振幅変調信号が示す行先に対応した波長の制御光が発生させられ、光信号増幅3端子装置本体により、その一連の光信号が前記制御光の波長の光信号に変換され、光分配装置により、その光信号増幅3端子装置本体から出力された光信号がその波長に応じて複数の光伝送路へ分配される。したがって、波長変換機能とスイッチング機能を有する光信号増幅3端子装置本体が行先情報に対応した波長の光信号を出力して光分配装置による分配を可能とするので、高速かつ小型のルーティング装置すなわち光信号転送装置或いは光信号中継装置が可能となる。
好適には、前記光信号に含まれる振幅変調信号に応じて、前記制御光発生装置からその振幅変調信号が示す行先情報に応じた波長の制御光を発生させる電子制御装置または全光学的制御装置を備えたものである。このようにすれば、電子制御装置または全光学的制御装置により、光信号に含まれる振幅変調信号が示す行先情報に応じた波長の制御光が発生するように制御光発生装置が制御されることから、波長変換機能とスイッチング機能を有する光信号増幅3端子装置本体が行先情報に対応した波長の光信号を出力して光分配装置による分配を可能とするので、高速かつ小型のルーティング装置すなわち光信号転送装置或いは光信号中継装置が可能となる。また、電子制御装置が、前記主光導波路から入力される光信号に含まれる振幅変調信号のみを光学的に抽出し、制御光発生装置からそのアドレス信号に対応する波長の制御光を発生させる全光学的制御装置である場合には、アドレス信号以外の信号に対応する電磁波が発生しないので、光信号の秘匿性が確保される利点がある。
また、好適には、(a)前記光信号の一部を分岐する光分波器と、(b)その光分波器により分岐された光信号を電気信号に変換して前記電子制御装置へ供給する光電信号変換器と、(c)前記光分波器よりも下流側に設けられ、その光分波器を通過して光信号増幅3端子装置本体に入力させる光信号を遅延させる光遅延素子とが備えられ、上記電子制御装置は、前記光信号に含まれる振幅変調信号を抽出して、その振幅変調信号が示す行先情報に対応する波長の制御光を前記制御光発生装置から発生させるものである。このようにすれば、波長変換機能とスイッチング機能を有する光信号増幅3端子装置本体が行先情報に対応した波長の光信号を出力して光分配装置による分配を可能とするので、高速かつ小型のルーティング装置すなわち光信号転送装置或いは光信号中継装置が可能となる。
また、好適には、前記光分配装置により分配された光パケット信号を一時的に記憶する光信号記憶素子と、その光信号記憶素子から出力された光信号を入力側に帰還させる光帰還伝送路とを備え、前記電子制御装置は、前記光信号が一時記憶させるべきものである場合には、その光パケット信号を予め設定した記憶用波長に変換させるための制御光信号を出力させ、前記光分波器は、その記憶用波長に変換された後の光パケット信号を前記光信号記憶素子へ分配してそこで一時的に記憶させるものである。このようにすれば、中継処理された複数の光パケット信号が同じ伝送路へ出力されようとする場合には、一方の光パケット信号が予め設定した記憶用波長に変換され、光分波器は、その記憶用波長に変換された後の光パケット信号を前記光信号記憶素子へ分配してそこで一時的に記憶させてから入力側に帰還させられ、改めて中継処理が実行される利点がある。
また、好適には、前記光信号記憶素子は、前記光分配装置により分配された光信号を受けるために光学的伝播長さが異なる複数本の光ファイバを並列に備えたものであり、前記電子制御装置は、前記一時記憶すべき光パケット信号に必要とされる記憶時間に応じて、その光パケット信号を予め設定した記憶用波長に変換させるための制御光信号を出力させ、前記光分配装置は、その記憶用波長に変換された後の光パケット信号を前記光信号記憶素子の複数本の光ファイバのいずれかへ分配してそこで一時的に記憶させるものである。このようにすれば、光パケット信号が並列配置された複数本の光ファイバのうちのそれに必要とされる記憶時間に応じた光ファイバ内で伝播させられる過程で一時記憶される。
また、好適には、前記全光学的制御装置は、第1入力光の一部を分岐する光カプラと、前記制御光と同じ波長の連続光を発生する連続光源と、その連続光源からの連続光とその光カプラからの前記第1入力光の一部とを合波する光カプラと、その光カプラからの光を受けて、上記第1入力光に含まれる変調信号を有する制御光を出力する、半導体光増幅素子よりも応答速度が遅い半導体光増幅素子とを含むものである。このようにすれば、全光学的に制御装置が構成される。
また、好適には、前記光分配装置は、前記光信号増幅3端子装置から出力された出力光が入力されると、その入力された出力光を前記複数の光伝送路のうち前記制御光の波長に対応する光伝送路へ選択的に分配するものである。たとえば、その光分配装置は、入力ポートに接続された第1スラブ導波路と、複数の出力ポートに接続された第2スラブ導波路と、それら第1スラブ導波路および第2スラブ導波路の間に設けられた長さの異なる複数のアレー導波路とを備え、その入力ポートに入力された入力光をその波長毎に前記複数の出力ポートへ分配するアレー導波路格子型分波器である。或いは、波長毎に異なる回折格子またはプリズムの屈折角度を利用して入力光をアレイ状に配列された複数のアレー導波路へ選択的に分配する回折格子型またはプリズム型光分配器を含むものである。このようにすれば、前記光3端子装置から出力された制御光に対応する波長の出力光は、その波長毎に複数の分岐導波路のうちのいずれかへ選択的に分配される。
第3発明
第3発明の要旨とするところは、入力光伝送路から入力された光信号を記憶するとともに任意の時間に取り出すことが可能な光信号記憶装置であって、(a)前記入力光伝送路から入力された光信号をその入力信号に含まれる伝送先に対応し且つ前記光信号と同じ又は異なる波長に変換するための制御光を発生する制御光発生装置と、(b)前記入力された光信号と制御光とを受け、その入力された光信号をその制御光の波長の光信号に変換して出力する光信号増幅3端子装置本体と、(c)その光信号増幅3端子装置本体から出力された光信号をその光信号の波長に応じて分配する光分配器と、(d)その光分配器により分配された記憶用波長の光信号を一時的に記憶する光バッファメモリ素子と、(e)その光バッファメモリ素子から出力された光信号を光信号増幅3端子装置本体へ再び入力させるために、その光信号を前記入力光伝送路へ帰還させる光帰還伝送路と、(f)前記光信号増幅3端子装置本体、光分配器、光バッファメモリ素子、およびその光帰還伝送路を繰り返し周回させられる光信号をその光信号増幅3端子装置本体において出力用波長に変換するための制御光を前記制御光発生装置から発生させる光信号記憶制御手段とを、含むことにある。
この第3発明によれば、前記光信号増幅3端子装置本体、光分配器、光バッファメモリ素子、およびその光帰還伝送路を繰り返し周回させられる光信号は、光信号取出制御手段により光信号増幅3端子装置本体において出力用波長に変換されると、分配器によりその出力用波長に基づいて取出用伝送路へ分配されることによって、任意のタイミング(取出し時刻)において時間光信号が取り出される。この取出用伝送路は、たとえば、取り出した光信号を合波処理(所謂光アド処理)或いは分波処理(所謂光ドロップ処理)するための用意されたものである。
ここで、上記第3発明において、好適には、上記光信号記憶制御手段は、前記光信号増幅3端子装置本体へ入力される光信号の波長を記憶用波長へ変換するための制御光を前記制御光発生装置から発生させる。このようにすれば、入力された光信号が光信号増幅3端子装置本体において記憶用波長に変換されることにより、光信号増幅3端子装置本体、光分配器、光バッファメモリ素子、および光帰還伝送路を繰り返し経由する周回伝送路において周回させられることにより、その光信号の記憶が開始される。
また、好適には、前記周回させられる光信号のゲインの増減例えば増加または減衰を抑制するように、前記光帰還伝送路により帰還させられる光信号、または前記光信号増幅3端子装置本体に供給される制御光を制御する光信号ゲイン制御手段が、さらに含まれる。このようにすれば、光信号の周回による減衰が防止されるので、その光信号のゲインが一定に維持される。
また、好適には、前記光信号増幅3端子装置本体は、前記光信号をバイアス光の波長に変換して反転させる第1半導体光増幅素子と、その第1半導体光増幅素子により反転させられた光信号を前記制御光の波長に変換して反転させる第2半導体光増幅素子とを備えたものであり、前記光信号ゲイン制御手段は、その第2半導体光増幅素子からの出力光に含まれるバイアス光のゲインの増減に基づいて光帰還伝送路により帰還させられる光信号を制御するものである。例えばバイアス光のゲインの増加または減少に基づいて光帰還伝送路により帰還させられる光信号を減衰または増幅する。このようにすれば、光帰還伝送路により帰還させられる光信号が光信号ゲイン制御手段により増幅されることによってその光信号の周回による減衰が防止されるので、その光信号のゲインが略一定に維持される。
また、好適には、前記光信号ゲイン制御手段は、前記バイアス光とそのバイアス光とは異なる波長の連続光であるゲイン制御光とを受けてそのバイアス光のゲインの増加に伴ってゲインが減少するゲイン制御光を出力する第1ゲイン制御用光増幅素子と、その第1ゲイン制御用光増幅素子からの出力光と前記光帰還伝送路により帰還させられる光信号とを受けてそのゲイン制御光の減少に伴ってゲインが増加する光信号を出力する第2ゲイン制御用光増幅素子とを含むものである。このようにすれば、全光学的処理により、記憶のために周回させられる光信号のゲインが一定に維持される。
また、好適には、上記第1ゲイン制御用光増幅素子および/または第2ゲイン制御用光増幅素子は、希土類元素がドープされることにより3準位系または4準位系のエネルギ準位が構成された光透過媒体から成る光増幅素子から構成される。このような光増幅素子は、相互利得変調の応答時間が遅いので、周回させられる光信号の信号成分が平滑化されてそのゲインの低下或いは上昇が容易に検出されるようになる。
また、好適には、前記光信号ゲイン制御手段は、前記周回させられる光信号のゲインを一定に維持するように、前記光帰還伝送路により帰還させられる光信号のゲインの増減に基づいて、前記光信号増幅3端子装置本体に供給される制御光のゲインを制御する光学的演算制御装置を含むものである。このようにすれば、光信号増幅3端子装置本体から出力される光信号が、帰還させられるその光信号のゲインの減少に基づいて全光学的演算制御装置により増幅されてその光信号の周回による減衰が防止されるので、その光信号のゲインがほぼ一定に維持される。
また、好適には、(a)前記制御光発生装置を制御するための電子制御装置と、(b)その光分波器により分岐された光信号を電気信号に変換して前記電子制御装置へ供給する光電信号変換器と、(c)前記光分波器よりも下流側に設けられ、その光分波器を通過して前記光信号増幅3端子装置本体に入力させる光信号を遅延させる光遅延素子とを備え、(d)前記電子制御装置は、外部から供給されるか或いは前記光信号に含まれる記憶信号出力情報が示す出力時期に応答して、前記光信号を出力用波長に変換するための制御光を前記制御光発生装置から発生させるものである。このようにすれば、電子処理により、外部から供給されるか或いは前記光信号に含まれる記憶信号出力情報が示す出力時期に応答して、周回により記憶されている光信号が出力させられる。
また、好適には、外部から供給されるか或いは前記光信号に含まれる記憶信号出力情報が示す出力時期に応答して、前記光信号を出力用波長に変換するための制御光を前記制御光発生装置から発生させる全光学的演算制御装置を備えたものである。このようにすれば、全光学的処理により、外部から供給されるか或いは前記光信号に含まれる記憶信号出力情報が示す出力時期に応答して、周回により記憶されている光信号が出力させられる。
図1は、本発明の一実施例の光信号増幅3端子装置の構成を説明するブロック図である。 図2は、図1の実施例における光増幅素子が半導体光増幅素子により構成された場合の外形を示す斜視図である。 図3は、図1の光信号増幅3端子装置の作動を説明するタイムチャートであり、上段は第1入力光の波形を示し、中段は制御光の波形を示し、下段は出力光の波形を示している。 図4は、図1の光信号増幅3端子装置の入出力特性を示す図である。 図5は、図1の光信号増幅3端子装置の出力信号の周波数特性を示す図である。 図6は、図1の光信号増幅3端子装置によって構成される光フリップフロップ回路を示す図であって、(a)は一対の光NANDゲードから構成される光フリップフロップ回路、(b)は一対の光NORゲードから構成される光フリップフロップ回路をそれぞれ示している。 図7は、図1の光信号増幅3端子装置によって構成される光演算増幅回路を示す図である。 図8は、光信号増幅3端子装置の他の実施例の構成を説明する図1に相当する図である。 図9は、光信号増幅3端子装置の他の実施例の構成を説明する図1に相当する図である。 図10は、図9の光信号増幅3端子装置をモノリシック構造とした場合の構成を説明する図である。 図11は、光信号増幅3端子装置の他の実施例であって、4端子型光サーキュレータを用いた構成を説明する図1に相当する図である。 図12は、図11の光信号増幅3端子装置をモノリシック構造とした場合の構成を説明する図である。 図13は、光信号増幅3端子装置の他の実施例であって、半導体基板の上にエピタキシャル成長させられたV字型光導波路を備えたモノリシック構造の構成を説明する図である。 図14は、光信号増幅3端子装置の他の実施例の構成を説明する図1に相当する図である。 図15は、光信号増幅3端子装置の他の実施例であって、半導体基板の上にエピタキシャル成長させられたV字型光導波路を備えたモノリシック構造の構成を説明する図である。 図16は、光信号転送方法が適用される装置の一実施例である光信号中継装置の構成を説明する略図である。 図17は、図16の実施例の光信号中継装置の一部を構成する複数の中継器の1つの構成例を説明するブロック図である。 図18は、図17の中継器の構成を説明するブロック図である。 図19は、図18の制御光発生装置の構成例を説明するブロック図である。 図20は、図18の制御光発生装置の他の構成例を説明するブロック図である。 図21は、図18の制御光発生装置の他の構成例を説明するブロック図である。 図22は、図18の光信号増幅3端子装置の構成例を説明するブロック図である。 図23は、図22の光信号増幅3端子装置の作動を説明するタイムチャートであり、上段は入力光である信号光の波形を示し、中段は制御光の波形を示し、下段は出力光の波形を示している。 図24は、図22の光信号増幅3端子装置の周波数特性を示す図である。 図25は、図22の光分配装置の構成例を説明する図である。 図26は、図23の一連の入力光信号の構成例を説明する図である。 図27は、図26の一連の入力光信号を、それを構成する主信号と振幅変調信号とを用いて説明するタイムチャートである。 図28は、図26の一連の入力光信号について図18の中継器本体部の作動であって、行先情報を付与しない場合の作動を説明するタイムチャートである。 図29は、図26の一連の入力光信号について、図18の中継器本体部の作動であって、入力光信号とは異なる行先情報を付与する場合のを説明するタイムチャートである。 図30は、光信号増幅3端子装置の全光学式に制御光を発生させる他の実施例の構成を説明する図であって、図22に相当する図である。 図31は、図30の光信号増幅3端子装置の作動を説明するタイムチャートである。 図32は、図30の実施例の波長変換装置を含む光信号中継器の構成を説明する図であって、図17に相当する図である。 図33は、光信号中継装置の他の実施例における要部すなわち中継器を説明する図であって、図18に相当する図である。 図34は、光信号記憶装置の一実施例の構成を説明する略図である。 図35は、図34の光信号記憶装置とは異なる他の実施例の構成を説明する略図である。 図36は、図35の光信号記憶装置の光信号記憶作動を説明するタイムチャートである。 図37は、図35の光信号記憶装置において帰還光増幅装置が設けられない場合の光信号記憶作動を説明するタイムチャートである。 図38は、図34、図35の光信号記憶装置とは異なる他の実施例の構成を説明する略図である。
以下、本発明の実施例を図面を参照しつつ詳細に説明する。
図1乃至図15は、光信号増幅3端子装置に関連する実際例を示すものであって、図1はその一実施例の光信号増幅3端子装置10を示している。
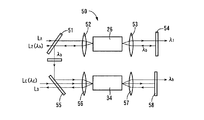
図1において、第1レーザ光源12は、たとえば1555nmの第1波長λの第1レーザ光(第1入力光)Lを出力し、第1光変調器14が設けられた光ファイバFを介して伝播させる。第2レーザ光源16は、たとえば1548nmの第2波長λの第2レーザ光(第2入力光)Lを一定の強度で連続的に出し、第2光ファイバFを介して伝播させる。上記第1レーザ光源12はたとえば可変波長半導体レーザが用いられるが、第2レーザ光源16はたとえば単一波長の半導体レーザが用いられる。上記第1光変調器14は、図示しない信号発生器からの電気信号或いは光信号に従って、たとえば図3の上段の波形に示すように、その電気信号或いは光信号の周波数のパルス信号となるように通過光である第1レーザ光Lを強度変調する。第1光カプラ18は、第1光入力手段として機能するものであり、上記光ファイバFおよび光ファイバFを光ファイバFへ接続し、それら光ファイバFおよび光ファイバFを伝播してきた第1レーザ光Lおよび第2レーザ光Lを重畳(合波)し、第3光ファイバFおよび第1光サーキュレータ20を介して第1光増幅素子26へ入力させる。
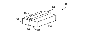
上記第1光増幅素子26は、たとえば図2に示す半導体光増幅素子(SOA:semiconductor optical amplifier)から構成される。
図2において、化合物半導体たとえばインジウム燐(InP)やガリウム砒素(GaAs)から構成される半導体基板26aの上に形成された光導波路26bは、その半導体基板26aの上にエピタキシャル成長させられ且つホトリソグラフィーにより所定の導波路パターンに形成されたたとえばInGaAsP、GaInNAs、AlGaInPなどのIII−V族混晶半導体の多層膜であり、たとえばホトリソグラフィーを用いて所定幅のテープ状突起となるように形成されている。この光導波路26bは、半導体基板26aよりも屈折率が高い物質で構成されているので、光を厚み方向に閉じ込めつつ伝播させる機能を備えている。上記光導波路26b内の多層膜内には、pn接合により構成された活性層26c、キャップ層などが含まれ、その上には上部電極26eが固着されている。この活性層26cは、半導体基板26aの下面に固着された下面電極26fと上記上部電極26eとの間に電圧が印加され且つ上記pn接合に励起電流が流されることによって電子・正孔対が形成され、その活性層26cを通過する光が誘導放射作用によって増幅されるようになっている。上記活性層26cは、多重量子井戸、歪み超格子、或いは量子ドットから構成されている。多重量子井戸である場合は、たとえば、InP半導体基板26aからエピタキシャル成長させられることにより格子整合されたInGaAs(100Åの厚み)とInGaAsP(100Åの厚み)との6対により構成され、その活性層26cの上には、組成(屈折率)が段階的に変化させられたグリン(GRIN)構造のガイド層(2000Å)が順次設けられている。この活性層26cのデバイス長(光路長さ)は600μmであり、たとえば250mAの電流値によるエネルギ注入によって注入された電子が通過する光子による誘導放射によって価電子帯へ移動させられるときに光エネルギを放出して通過光を増幅させると考えられている。この250mAの電流値によるエネルギ注入により、たとえば波長1555nmにおいて20dB程度の利得が得られる。
前記第1光増幅素子26の1端面には、金属或いは誘電体がスパッタリングされることによって光を反射する処理が施された金属膜或いは誘電体多層膜などの反射手段26dが備えられているため、その1端面とは反対側に位置する他端面を通して光入力或いは光出力が行われるようになっている。したがって、前記第1レーザ光Lおよび第2レーザ光Lの合波光は、上記他端面を通して第1光増幅素子26内に入力されるとともに、上記反射手段26dに反射された光は再びその他端面を通して出力される。この第1光増幅素子26の活性層26c内では、上記第1レーザ光Lの入射によってその波長λを中心とする周囲波長の自然光が発生し、その自然光は第1レーザ光Lの強度変調に反比例して強度が増減する。この状態においてその自然光の波長範囲内にある第2波長λの第2レーザ光Lが通過させられると、その第2波長λは、その自然光と同様の変化を受けつつ増強させられる。すなわち、第1レーザ光Lの変調と同様ではあるが位相反転させられた変調を受けて増幅させられる。すなわち、第1光増幅素子26は、第2光増幅素子34とともにクロスゲイン変調特性すなわち相互利得変調特性を備えている。
第1光サーキュレータ20は、第1光増幅素子26から出力された光を、第3光ファイバFではなく、第1波長選択素子28を備えた第4光ファイバFへ導く。第1波長選択素子28は、前記第1光増幅素子26に接続され、その第1光増幅素子26から出力された光のうちから第2波長λである1548nmの光を抽出する。この第1波長選択素子28は、光フィルタ素子として機能するものであり、たとえば紫外線が局部的に照射されることにより、第4光ファイバFの一部が長手方向において屈折率が周期的に変化させられたファイバーグレーティングフィルタであって、第2波長λを中心波長とし且つ半値幅が1nmの光を選択して透過させるものである。なお、第1波長選択素子28は、屈折率が異なる多数組の層が積層されて成る多層膜フィルタ、フォトニックバンドギャップを有するフォトニッククリスタルのいずれかから構成されてもよい。
第2光カプラ30は、第2光入力手段として機能するものであり、上記第1波長選択素子28により第1光増幅素子26から出力された光のうちから選択された第2波長λの光と、たとえば図3の中段の波形に示す第3波長λの制御光である第3レーザ光Lとを重畳(合波)し、第5光ファイバFおよび第2光サーキュレータ32を介して第1光増幅素子26と同様に構成された第2光増幅素子34へ入力させる。この第2光増幅素子34では、変調された第2波長λは、その第2波長λを中心とする自然光の波長範囲内の第3波長λの制御光によってさらに変調を受け、第3波長λに関しては、図3の下段に示す波形とされる。第2光サーキュレータ32は、第2光増幅素子34から出力された光を、第5光ファイバFへではなく、第2光フィルタ素子36を備えた第6光ファイバFへ導く。上記第2光フィルタ素子36は、第2光増幅素子34から出力された光のうちから第3波長λの光を選択し、図3の下段に示す出力光Lとして出力する。図3において、中段の波形に示す制御光Lの実線、1点鎖線、破線は、下段に示す出力光Lの実線、1点鎖線、破線に対応しており、出力光Lは制御光Lに対して約30倍のゲイン(増幅率)を有している。
図4および図5は、上記のようにして構成された光信号増幅3端子装置10の相互利得変調型波長変換作用の特性を示している。図4は、第1入力光である第1レーザ光Lの信号強度PINを示す横軸と出力光である第4レーザ光Lの信号強度POUTを示す縦軸とからなる二次元座標において、制御光Lの信号強度Pをパラメータとする第4レーザ光Lの入出力特性図である。図から明らかなように、トランジスタなどのような3端子増幅素子と同様に、出力光である第4レーザ光Lの信号強度POUTは、制御光Lの信号強度Pの変化に応答し、且つその変化が増幅されて変調させられるとともに、第1入力光である第1レーザ光Lの信号強度PINの変化に応答し、且つその変化が増幅されて変調させられる。また、図5は、第1入力光である第1レーザ光Lの周波数を示す横軸と出力光である第4レーザ光Lの信号変調度H(%)を示す縦軸とからなる二次元座標において、その第4レーザ光Lの周波数特性を示している。図5によれば、5GHzまでは信号変調度Hの低下が見られなかった。上記信号変調度Hはたとえば次式(1)により表される。但し、Imaxは光信号の最大値、Iminは光信号の最小値である。なお、前記活性層26cに量子ドットが用いられる場合には、100GHz以上の範囲において信号変調度Hの低下が見られない。
H=100×(Imax−Imin)/(Imax+Imin)・・・(1)
なお、本発明者の実験によれば、上記制御光Lを第3波長λから第1波長λへ変更することにより、第1波長λの出力光Lが得られるとともに、上記と同様の光信号増幅効果結果が得られた。また、上記においては、第2レーザ光Lの第2波長λは第1レーザ光Lよりも短波長であったが、その第2レーザ光Lの第2波長λを第1レーザ光Lよりも長波長としても上記と同様の光信号増幅効果結果が得られただけでなく、たとえば図3の下段の波形の最低値が零に近づくというような、出力光Lの基線が第1レーザ光Lと同様に零に近接するという更なる効果が認められた。また、第1波長λの第1入力光Lを第2波長λの第2レーザ光Lと同様に連続光(バイアス光)として、第3波長λの第3入力光Lに信号変調をかけると、第3波長λの出力光Lは、その第3入力光Lの信号が10以上の増幅率で増幅されたものとして出力された。
図6(a)は、上記光信号増幅3端子装置10が適用された2つの光NANDゲート40から構成されたフリップフロップ回路42を示し、図6(b)は2つの光NORゲート44から構成されたフリップフロップ回路46を示している。電子回路におけるNANDゲートおよびNORゲートはよく知られているように複数のトランジスタから構成されており、そのトランジスタに替えて上記光信号増幅3端子装置10が光回路中に設けられることにより光NANDゲート40およびNORゲート44が構成され、それら1対の光NANDゲート40および1対の光NORゲート44からフリップフロップ回路42および46が構成される。このフリップフロップ回路42および46によれば、光により情報が記憶される。
図7は、前記光信号増幅3端子装置10が適用された光演算増幅器(光オペレーショナルアンプ)48を示している。電子回路における演算増幅器はよく知られているように複数のトランジスタから構成されており、そのトランジスタに替えて上記光信号増幅3端子装置10が光回路中に設けられることにより、光演算増幅器48が構成される。
以上のように構成された図1の光信号増幅3端子装置10においては、第1波長λの第1入力光Lと第2波長λの第2入力光Lとが入力された第1光増幅素子26からの光から選択された第2波長λの光と、第3波長λの第3入力光(制御光)Lとが第2光増幅素子34へ入力させられるとき、その第2光増幅素子34から出された光から選択された第3波長λの出力光Lは、前記第1波長λの第1入力光Lおよび/または第3波長λの第3入力光Lの強度変化に応答して変調された光であって、その第3波長λの第3入力光(制御光)Lに対する信号増幅率が2以上の大きさの増幅信号となるので、光信号の増幅処理を制御入力光を用いて直接行うことができる光信号増幅3端子装置10を得ることができる。
また、本実施例の光信号増幅3端子装置10によれば、前記第1波長λの第1入力光Lは変調光であり、前記第2波長λの第2入力光Lは連続光であり、前記第3波長λの第3入力光Lは制御光であり、前記第3波長λの出力光Lは、その制御光Lの入力区間においてその第1入力光Lの変調信号が増幅された信号波形を備えたものであることから、第3波長λの出力光Lは、制御光Lの入力区間において第1波長λの第1入力光Lの強度変化に応答して変調された増幅光となるので、増幅された光信号のスイッチング処理を制御入力光を用いて直接行うことができる光信号増幅3端子装置10を得ることができる。
また、本実施例では、前記第1波長λと第3波長λとは、同じ波長とすることもできることから、光信号増幅3端子装置10の信号入力光としての第1入力光L及び第3入力光Lと、出力光Lとが同じ波長となるので、共通の波長で複数の光信号増幅3端子装置10を接続することが可能となり、複数個の光信号増幅3端子装置10を用いて集積度の高い光回路を構成することができる。
また、本実施例では、前記第2波長λは、前記第1波長λよりも長波長とすることができるので、このような場合には、変調された第1入力光Lの増幅光である出力光Lが示す波形が、その第1入力光の波形の基線と同様に零レベルに近い基線となる利点がある。すなわち、変調度を大きくする利点がある。
また、本実施例では、第3波長λの出力光Lの第3波長λの制御光Lに対する信号増幅率は、10以上の値であるので、光信号増幅3端子装置の増幅機能が一層高められ、その応用範囲が拡大される。
また、本実施例では、第1光増幅素子26および第2光増幅素子34は、pn接合から構成される活性層26cを備えた半導体光増幅素子であることから、信号増幅率および応答速度が一層高められた光信号増幅3端子装置10が得られる。
また、本実施例では、第1光増幅素子26および第2光増幅素子34の活性層26cは、量子井戸または量子ドットから構成されたものであることから、一層高い信号増幅率および速い応答速度を備えた光信号増幅3端子装置10が得られる。特に量子ドットを用いた場合には100GHz以上の応答速度が得られる。また、活性層として歪み超格子を用いると偏波依存性が小さくなる。
また、本実施例では、第1光増幅素子26および第2光増幅素子34は、活性層26cを通過した光を反射するために金属蒸着などにより形成されたミラーなどの反射手段26dをその一端面に備え、他端面を通して入力光が入力され且つ出力光が取り出されるものであることから、1端面に備えられたミラーなどの反射手段26dによって活性層26cにおける通過パスが実質的に長くされるので、信号増幅率が一層高められる。また、フィードバック効果によって一層変調度が高められる。
また、本実施例では、第1光増幅素子26および第2光増幅素子34の他端面を通してその中に入力光を入力させ、その他端面を通して出力される光をその入力光とは異なる光路へ導く光サーキュレータ20および32が設けられていることから、第1光増幅素子26および第2光増幅素子34の他端面から出た光はその他端面へ入力させる光を導く導波路に入ることがなく、専ら他の出力用導波路に導かれる。
また、本実施例では、第1波長選択素子28および/または第2波長選択素子36は、導波路または光ファイバ内の光伝播方向において屈折率が周期的に変化させられたグレーティングフィルタ、屈折率が異なる多数組の層が積層されて成る多層膜フィルタ、フォトニックバンドギャップを有するフォトニッククリスタルのいずれかから構成されたものであることから、第1光増幅素子26或いは第2光増幅素子34からの光から第2波長λ或いは第3波長λが好適に抽出される。
また、前述の光信号増幅3端子装置10は、光NANDゲート40、その一対の光NANDゲート40から成る光フリップフロップ回路42、または光演算増幅器46を構成することができ、光集積回路の機能を高めることができる。
また、本実施例の第1光増幅素子26において、第2波長λは第1波長λの第1入力光Lの周囲光の波長域内の波長であり、第2光増幅素子34において、第3波長λは、第2波長λの入力光の波長域内の波長であるので、第1光増幅素子26或いは第2増幅素子34からの出力光に含まれる第2波長λ或いは第3波長λの信号が好適に増幅される。
また、第1光増幅素子26の一端面に設けられた反射手段26が、第1波長λの光は透過させるが第2波長λの光は反射する波長選択性反射膜から構成されている場合は、第1波長選択素子28が不要となる。第1光増幅素子26と同様に構成されている第2光増幅素子34の反射手段が、第2波長λの光は透過させるが第3波長λの光は反射する波長選択性反射膜(波長選択性ミラー)から構成されている場合は、第2波長選択素子36が不要となる。上記波長選択性反射膜は、たとえば屈折率が異なる誘電体層が交互に積層された誘電体多層膜から構成される。
次に、他の実施例を説明する。なお、以下の説明において前述の実施例と共通する部分には同一の符号を付して説明を省略する。
図8は、前述の光信号増幅3端子装置10の他の実施例の光信号増幅3端子装置50の構成例の要部を示している。本実施例の波長変換装置50は、第1光入力手段として機能するハーフミラー51および集光レンズ52を通して光信号Lが第1光増幅素子26の一方の端面に入力され、その第1光増幅素子26の他方の端面から集光レンズ53を通して出力された光のうち第1波長λの光は透過させられるが、バイアス光Lの波長λの光は第1波長選択素子として機能する波長選択型ミラー54により反射されて第1光増幅素子26に戻される。その第1光増幅素子26の一方の端面から出力された光は上記ハーフミラー51により反射されるとともに第2光入力手段として機能するハーフミラー55により制御光Lと合波され、集光レンズ56を通して第2光増幅素子34の一方の端面に入射される。この第2光増幅素子34の他方の端面から集光レンズ57を通して出力された光のうちのバイアス光Lの波長λの光は透過させられるが、制御光Lと同じ波長成分は第2波長選択素子として機能する波長選択型ミラー58により反射されて第2光増幅素子34に戻される。その第2光増幅素子34の一方の端面から出された出力光Lは、前述の光信号増幅3端子装置10と同様のものとなる。このように構成された波長変換装置50によれば、前述の光信号増幅3端子装置10と同様の相互利得変調型の波長変換作用および光増幅作用が得られる。上記波長選択型ミラー58および波長選択型ミラー54は、集光レンズ57および集光レンズ53を通して第2光増幅素子34の端面および第1光増幅素子26の端面と光学的に結合されている。上記集光レンズ52、53、56、57はたとえばマイクロレンズにより構成され、上記光信号Lや出力光Lなどは光ファイバにより伝送される。なお、ハーフミラー51および55は光カプラ又は光サーキュレータにより置き替えられてもよい。
図9は、前記光信号増幅3端子装置10の他の実施例の光信号増幅3端子装置59の構成例の要部を示している。本実施例の光信号増幅3端子装置59は、直列に配設された第1光増幅素子26および第2光増幅素子34と、光信号Lおよびバイアス光L(波長λ)を第1光増幅素子26の内側端面に入射させる光カプラ60および61と、第1光増幅素子26の外側端面からの光のうち第1波長λの光は透過させるが波長λbの成分を反射して第1光増幅素子26内に戻す波長選択性の反射器62と、その第1光増幅素子26の内側端面から出射した光のうち波長λの成分を通過させて第2光増幅素子34の内側端面に入射させるフィルタ63と、その第2光増幅素子34の外側端面に制御光Lを入射させる光カプラ64と、その第2光増幅素子34の外側端面から出射した光のうち制御光Lと同じ波長成分の光を透過させ、出力光Lとして出力させるフィルタ65とを備えている。上記光カプラ60および61は第1光入力手段として機能し、上記光カプラ64が第2光入力手段として機能し、上記反射器62およびフィルタ65は第1波長選択素子および第2波長選択素子として機能している。このように構成された波長変換装置59によれば、前述の光信号増幅3端子装置10と同様の相互利得変調型の波長変換作用および光増幅作用が得られる。上記制御光Lの波長λの光信号はフィルタ63で反射され且つフィルタ65を透過して出力される。波長λの光成分はフィルタ65を透過しない。上記光カプラ60および61は、1個の光カプラから構成されてもよい。
図10は上記光信号増幅3端子装置59を、図2に示すモノリシック構造の第1光増幅素子26と同様のモノリシック構造すなわち1チップ構造で半導体基板26aの上に構成した例を示している。本実施例のモノリシック構造の光信号増幅3端子装置59では、第1光増幅素子26の外側位置、第1光増幅素子26と第2光増幅素子34との間の位置、第2光増幅素子34の外側位置には、屈折率が周期的に変化させられたグレーティングにより構成された反射器62、フィルタ63、フィルタ65が順次設けられている。なお、直線状の光導波路26bから分岐させられている一対の分岐導波路は、前記光カプラ60および61および光カプラ64に対応している。
図11は、前述の光信号増幅3端子装置10の他の実施例の光信号増幅3端子装置66の構成例の要部を示している。本実施例の波長変換装置66は、一対の反射型の第1光増幅素子26および第2光増幅素子34と、その一対の反射型の第1光増幅素子26および第2光増幅素子34に接続された第2端子67bおよび第3端子67cを含む4端子を備え、その4端子間において光を伝送するが所定の端子からの出射光とその端子への入射光とが異なる光路とする4端子型光サーキュレータ67と、光信号Lおよびバイアス光L(波長λ)を合波して4端子型光サーキュレータ67の第1端子(第1ポート)67aに入射させる光カプラ68と、反射型第1光増幅素子36から4端子型光サーキュレータ67の第2ポート67bに向かう波長λの光に制御光Lを合波して第2光増幅素子34に入射させる光カプラ69とを備え、4端子型光サーキュレータ67の第4ポート67dから制御光Lと同じ波長成分の光を透過させる。上記第1光増幅素子26の反射面には、第1波長λの光は透過させるが第2波長λの光を選択的に反射する反射膜26dが設けられており、上記第2光増幅素子34の端面には、第2波長λの光は透過させるが制御光Lと同じ波長λ成分の光を反射する反射膜34dが設けられている。このように構成された光信号増幅3端子装置66によれば、前述の光信号増幅3端子装置10と同様の相互利得変調型の波長変換作用および光増幅作用が得られるとともに、4端子型光サーキュレータ67を通されるために出力光Lの変調度が高められる。本実施例の光信号増幅3端子装置66は図1の光信号増幅3端子装置10に比較して構成が簡単となる利点がある。なお、上記光カプラ69は、4端子型光サーキュレータ67の第3ポート67cから第2光増幅素子34に向かう波長λの光に制御光Lを合波して第2光増幅素子34に入射させるものであってもよい。本実施例では、光カプラ68および光カプラ69が第1光入力手段および第2光入力手段として機能し、反射膜26dおよび34dが第1波長選択素子および第2波長選択素子として機能している。
図12は、上記光信号増幅3端子装置66がモノリシック構造とされた場合の例が示されている。このモノリシック構造の光信号増幅3端子装置66も、前述の図6、図10に示すものと同様に、半導体基板26aの上に形成された光導波路26bを備えている。この光導波路26bは、4端子型光サーキュレータ67と同様の機能を出すためのZ字状の部分と、光カプラ68および69としての機能を出すためにその一部から分岐させられた分岐導波路とが設けられている。上記光導波路26bのZ字状の部分のうちの屈折点には、一対の反射型第1光増幅素子26および第2光増幅素子34が前述の図2、図10に示すものと同様に構成されている。なお、反射膜26dおよび34dは、それら反射型第1光増幅素子26および第2光増幅素子34の外端面に設けられている。
図13は、前述の光信号増幅3端子装置10の他の実施例の光信号増幅3端子装置70の構成例の要部を示している。本実施例の光信号増幅3端子装置70は、たとえばGaAs等の矩形半導体基板71上に成長させられたたとえばGaInNAsなどのpn接合層(活性層)を有する混晶半導体層がホトリソグラフィーによりV字状に形成された第1光導波路72および第2光導波路73と、それら第1光導波路72および第2光導波路73に図示しない電極が設けられることによって設けられた第1光増幅素子26、第2光増幅素子34と、上記矩形半導体基板71の一端面であって上記第1光導波路72および第2光導波路73の交差部に設けられ、バイアス光Lの第2波長λの光および制御光Lは第2光導波路73へ向かって反射するが光信号L第1波長λの光を選択的に透過させる波長選択性反射膜74と、矩形半導体基板71の一端面であって上記第2光導波路73の出力側に設けられ、第2波長λの光は反射するが制御光Lと同じ波長成分の光を透過させる波長選択性反射膜75とを備えている。光信号Lとバイアス光Lは光カプラ76によって合波されてから光導波路72の端面に入射され、制御光Lは、上記波長選択性反射膜75の外側に設けられた光カプラ77から第2光導波路156内に入射されるようになっている。このように構成された光信号増幅3端子装置70によれば、前述の光信号増幅3端子装置10と同様の相互利得変調型の波長変換作用および光増幅作用が得られる。また、本実施例の光信号増幅3端子装置70は、たとえばGaAs等の矩形半導体基板上に成長させられたGaInNAsなどのIII−V族混結晶半導体層から成るpn接合層(活性層)を有する混晶半導体層がホトリソグラフィーによって処理され且つ電極が付与されることによって1チップ化されるので、極小のサイズに構成される利点がある。本実施例では、上記光カプラ76および77が第1および第2光入力手段として機能し、上記波長選択性反射膜74および波長選択性反射膜75が第1波長選択素子および第2波長選択素子として機能している。
図14は、前述の光信号増幅3端子装置10の他の実施例の光信号増幅3端子装置78の構成例の要部を示している。本実施例の光信号増幅3端子装置78は、合波素子として用いられる光カプラ79、光分波素子として用いられる光カプラ80、および集光レンズ52を通して光信号Lが第1光増幅素子26の一方の端面に入力され、その第1光増幅素子26の他方の端面から集光レンズ53を通して出力された光のうち上記光信号Lの波長λは波長選択性フィルタ81により透過させられない(吸収される)がバイアス光の波長λの光はそのフィルタ81を透過し且つ全反射型ミラー82により反射されて第1光増幅素子26に戻される。その第1光増幅素子26の一方の端面から出力された光は上記光カプラ80から他の光カプラ83へ伝送され、そこで制御光Lと合波される。次いで、光カプラ84および集光レンズ56を通して第2光増幅素子34の一方の端面に入射される。この第2光増幅素子34の他方の端面から集光レンズ57を通して出力された光のうちバイアス光の波長λの光は波長選択性フィルタ85により透過させられない(吸収される)が制御光Lと同じ波長λの成分はその波長選択性フィルタ85を透過し且つ全反射型ミラー86により反射されて第2光増幅素子34に戻される。その第2光増幅素子34の一方の端面から出された出力光Lは、光カプラ84によって外部たとえば後述の光分配装置150へ出力される。このように構成された光信号増幅3端子装置78によれば、前述の光信号増幅3端子装置10と同様の相互利得変調型の波長変換作用および光増幅作用が得られるだけでなく、光信号Lの波長λは波長選択性フィルタ81により吸収されて透過させられないことにより第1光増幅素子26側へ戻される割合が極めて少なくなり、特性が一層改善される利点がある。本実施例では、光カプラ79および光カプラ84が第1光入力手段および第2光入力手段として機能し、上記波長選択性フィルタ81および波長選択性フィルタ85が第1波長選択素子および第2波長選択素子として機能している。
図15は、前述の光信号増幅3端子装置10の他の実施例であって、1チップに複数個(本実施例では2個)の光信号増幅3端子装置88が集積化されたモノリシック構造の構成例の要部を示している。本実施例の複数組の光信号増幅3端子装置88は、たとえばGaAs等の矩形半導体基板89上に成長させられたたとえばGaInNAsなどのpn接合層(活性層)を有する混晶半導体層がホトリソグラフィーにより一方の端面から他方の端面にわたって直線状に形成され、互いに隣接する1対でV字状を成す第1光導波路90、第2光導波路91、および第3光導波路92と、それら第1光導波路90、第2光導波路91、および第3光導波路92に図示しない電極が設けられることによって設けられた第1光増幅素子26、第2光増幅素子34、および第3光増幅素子93と、上記矩形半導体基板89の一端面であって上記第1光導波路90および第2光導波路91の交差部と上記第3光導波路92の出力側端面とにわたって設けられ、バイアス光Lの第2波長λの光および制御光Lは第2光導波路91へ向かって反射するが光信号Lの第1波長λの光および制御光Lを選択的に透過させる波長選択性反射膜(波長選択性ミラー)94と、矩形半導体基板89の一端面であって上記第2光導波路91の出力側端面に設けられ、第2波長λの光は透過するが制御光Lと同じ波長成分の光を第3光導波路92へ向かって反射する波長選択性反射膜(波長選択性ミラー)95とを、それぞれ備えている。光信号Lとバイアス光Lは光カプラ96によって合波されてから第1光導波路90の入力側の端面に入射され、制御光Lは、上記波長選択性反射膜94の外側から第2光導波路91内に入射されるようになっている。このように構成された光信号増幅3端子装置88によれば、前述の光信号増幅3端子装置10と同様の相互利得変調型の波長変換作用および光増幅作用が得られる。本実施例の光信号増幅3端子装置88は、たとえばGaAs等の矩形半導体基板上に成長させられたGaInNAsなどのIII−V族混結晶半導体層から成るpn接合層(活性層)を有する混晶半導体層がホトリソグラフィーによって処理され且つ電極が付与されることによって1チップ化されるので、たとえば1.3μm波長帯の光信号の信号処理が可能な光信号増幅3端子装置10が極小のサイズに構成される利点がある。また、本実施例によれば、サーキュレータが不要となるとともに、3つの光増幅素子26、34、93により高出力が得られる。本実施例では、光カプラ96が第1光入力手段として機能し、波長選択性反射膜94が第2光入力手段および第1波長選択素子として機能し、波長選択性反射膜95が第2波長選択素子として機能している。
図16乃至図33は、光信号転送方法、その光信号転送方法を好適に実施するための光信号ルータすなわち光信号中継(転送)装置に関連する実施例を示すものであって、これらによれば、所定の伝送路を介して伝送された一連の光信号を、複数の伝送路のうちのその光信号に含まれる行先情報に対応する伝送路へ転送することにより、高度情報処理のための光通信が可能とされる。
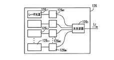
図16は、一方の光ネットワークにおける複数本の伝送路である入力光ファイバFA1乃至FAMと他方の光ネットワークにおける複数本の伝送路である出力光ファイバFB1乃至FBMとの間に配設されて、入力光ファイバFA1乃至FAMのいずれかを介して伝送された波長多重の光信号(レーザ光)LA1乃至LAMを、その光信号に振幅変調により付与されている行先情報に基づいて決定された出力光ファイバFB1乃至FBMのいずれか内の波長バスの1つへ転送するための光信号中継(転送)装置110を概略示す図である。この光信号中継装置110は光信号ルータとも称される。
図16において、上記入力光ファイバFA1乃至FAMのいずれかにより伝送される光信号LA1乃至LAMはそれぞれ波長分割多重(WDM)信号であり、予め設定された複数種類の波長の光信号が重畳されている。したがって、たとえば光信号LA1に含まれる所定波長の一連の波長λの光信号LA11は、たとえばそのラベル部或いはタグ部において振幅変調が付与されることにより設けられた行先情報に従って、出力光ファイバFB1乃至FBMのいずれか1つの光ファイバF内のいずれかの波長バスへ、すなわち予め設定された複数種類すなわちN種類の波長λ乃至λのいずれかの波長で転送される。出力光ファイバFB1乃至FBMにより、波長多重の光信号(レーザ光)LB1乃至LBMがそれぞれ伝送される。
上記光信号中継装置110は、所定数すなわちM本の入力光ファイバFA1乃至FAMから伝送された波長多重の光信号LA1乃至LAMをN種類の波長λ乃至λ毎の一連の光信号(パケット)を波長毎の信号にそれぞれ分離、たとえば光信号LA1についてはそれをLA11乃至LA1Nにそれぞれ分離するM個の光分波器(AWG:Arrayed Waveguide Grating)S乃至Sと、波長λ乃至λ毎の一連の光信号(パケット)LA11乃至LA1Nをそれらに振幅変調により付与されている行先情報に従って波長変換するとともに従来の行先情報或いは新たな行先情報を振幅変調により付与する互いに同様に構成されたM個の第1中継器R乃至第M中継器Rと、それら第1中継部R乃至第M中継器Rから出力される光信号を合波して出力光ファイバFB1乃至FBMへ導くためのM個の合波器(AWG)T乃至Tとを備えている。
図17は、上記互いに同様に構成された第1中継器R乃至第M中継器Rの構成を説明するために、たとえば入力光ファイバFA1と出力光ファイバFB1との間に対応する位置に設けられた第1中継器Rを代表させてその構成を説明する図である。図17において、第1中継器Rには、入力光ファイバFA1から伝送された波長多重の光信号LA1から光分波器S1によってN種類の波長λ乃至λ毎に分離されたの一連の光信号(パケット)LA11乃至LA1Nが光ファイバFA11乃至FA1Nを介して入力されると、その光信号LA11乃至LA1Nのラベル部或いはタグ部において振幅変調が付与されることにより設けられている行先情報に従って波長変換し且つそれまでと同じ行先情報か或いは新たな行先情報を示す振幅変調を施して出力するN個の互いに同様に構成された第1中継器本体部RB11乃至RB1Nが設けられている。第1中継器本体部RB11・・・第M中継器本体部RB1Nからそれぞれ出力されたN種類の波長λ乃至λのいずれかの波長の出力信号は、その波長および行先情報に従って分岐された光信号を伝送するためのN×M本のクロスコネクトファイバF111乃至F1NM・・・N×M本のクロスコネクトファイバFN11乃至FNNMをそれぞれ介して合波器T乃至Tと接続されている。これにより、第1中継器本体部RB11・・・第M中継器本体部RB1Nの出力信号は、合波器T乃至Tを介して出力光ファイバFB1乃至FBMのうちの所望の出力光ファイバへ所望の波長で伝送されるようになっている。他の中継器Rを構成する中継機本体部RBM1乃至RBMNも、同様に、N×M本のクロスコネクトファイバF111乃至FINM・・・N×M本のクロスコネクトファイバFN11乃至FNNMをそれぞれ介して合波器T乃至Tと接続されている。なお、図17に示すように、同じ波長たとえば波長λの信号を伝送するクロスコネクトファイバF111、F211、・・・FN11の出力端が結合され、ファイバFB11を介して合波器Tに入力されている。波長λの信号を伝送するクロスコネクトファイバF1N1、F2N1、・・・FNN1の出力端が結合され、ファイバFBN1を介して合波器Tに入力されている。
上記光分波器Sは、たとえば、回折格子やプリズムなどの角度分散素子、誘電体多層膜の干渉フィルタなどの波長選択性反射/透過膜、或いは光導波路形分波回路などを利用して構成される光分波回路としてよく知られたものである。また、上記合波器Tは、たとえば、マイクロレンズを主要な構成要素とする光方向性結合回路、複数本の並列配置された光ファイバの一部が局部的に結合された分布結合形光多重カプラ、四角管の内壁における多重反射或いは平面板内における混合を利用した集中結合形光多重カプラなどから構成される。
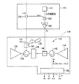
また、上記第1中継器本体部RB11は、たとえば図18に示すように構成される。図18において、光分波器Sから光ファイバFA11を介して入力された光信号LA11は、光分波合波器として機能する第1光カプラ114、光遅延素子116、および相互利得変調型の波長変換装置(光スイッチング装置、光信号増幅3端子装置本体)118が順次接続されている。上記第1光カプラ114は、光ファイバを主体とした分岐回路、マイクロレンズを主体とした分岐回路などから構成される。光ファイバを主体とした分岐回路では、たとえば一対の光ファイバの所定区間を相互に密着して並行した状態で或いは螺旋状に相互にひねった状態で相互に密着させたり、透過および反射可能な反射膜を光ファイバの分岐点に設けたりすることにより構成される。マイクロレンズを主体とした分岐回路では、たとえば集束性ロッドレンズで平行ビーム化された光をくさび型屈折面或いは反射面を用いて分岐させるように構成される。この第1光カプラ114は、双方向性すなわち可逆性を備えているので、反対向きに光信号が伝播させられるときには、光信号を合波して第1光ファイバ112内を反対向きに伝送させる合波器として機能する。
また、光遅延素子116は、上記光ファイバFA11内を伝送される光信号を所定時間だけ遅延させるためのものであり、たとえば所定の長さの光ファイバを巻回して伝播距離を設けることよりその所定の伝播距離を伝播する伝播時間だけ遅延させるように構成される。この光遅延素子116の遅延時間は、波長変換装置118内において、そこで波長変換される光信号とその光信号の伝送先を示す制御光とが同期するように予め実験的に求められる。
上記第1光カプラ114により光ファイバFA11内の光信号から分岐された分岐光信号は、光ファイバ120とこれに接続された光電信号変換器122とを介して電子制御装置124へ供給される。電子制御装置124は、たとえばCPUがRAMの一時記憶機能を利用しつつROMに予め記憶されたプログラムに従って入力信号を処理する所謂マイクロコンピュータにより構成される。この電子制御装置124は、光ファイバ120を介して伝送された光信号に含まれている振幅変調で示されるコード信号すなわち行先情報に基づいて、その光信号をルーティングするためにその行先情報に対応する波長指令信号を制御光発生装置126へ供給する。たとえば、電子制御装置124は、光ファイバ120から入力される光信号LA11に含まれる振幅変調信号のみを抽出し、制御光発生装置126からその振幅変調で示される行先情報に対応する波長に応じた制御光Lを発生させるものであることから、アドレス信号以外の信号に対応する電磁波が信号処理によって発生しない。
上記制御光発生装置126は、予め設定された複数種類の波長λの制御光Lを出力する制御光源を有し、前記電子制御装置124からの指令信号、すなわち光信号Lに含まれる分岐情報に応じて選択された波長指令信号に従って、その分岐情報に対応する波長λを有する制御光Lを前記波長変換装置118に対して供給する。制御光発生装置126は、転送先の出力光ファイバFB1乃至FBM内の波長バスの本数に対応する複数種類たとえばN種類の波長λC1、λC2、λC3、・・・λCNの制御光Lを択一的或いは選択的に発生させる。図19、図20、図21は、その制御光発生装置126の構成例をそれぞれ示している。
図19において、制御光発生装置126は、制御光源に対応する相互に波長が異なる単一波長の光を出力する複数のレーザ光源126L1乃至126Lnと、それらレーザ光源126L1乃至126Lnの出力側にそれぞれ設けられてそれらから出される出力光をそれぞれスイッチングするための複数(N個)の光変調器126M1乃至126Mnと、それら光変調器126M1乃至126Mnを通過した光を合波し、制御光として出力する単一の光合波器126とから構成され、電子制御装置124からの分岐指令信号に従ってレーザ光源126L1乃至126Lnおよび光変調器126M1乃至126Mnが作動させられることにより、光信号LA11に含まれる振幅変調信号が示す行先情報(分岐情報)に応じて選択された波長λの制御光Lを出力する。上記複数のレーザ光源126L1乃至126Lnとしては、たとえば半導体レーザダイオードが用いられる。図20において、制御光発生装置126は、制御光源に対応する相互に波長が異なる単一波長の光を出力する複数のレーザ光源126L1乃至126Lnとそれらレーザ光源126L1乃至126Lnから出力された光を1つの導波路に合波する単一の光合波器126と、その光合波器126の出力側に設けられてそれから出される出力光をスイッチングしてブランキング区間を遮断する単一の光変調器126とから構成され、電子制御装置124からの分岐指令信号に従ってレーザ光源126L1乃至126Lnおよび光変調器126が作動させられることにより、光信号LA11に含まれる分岐情報に応じて選択された波長λの制御光L出力する。図21において、制御光発生装置126は、出力光の波長を変更することが可能な波長可変レーザ光源126LVと、その波長可変レーザ光源126LVの出力側に設けられてそれから出される出力光をスイッチングしてブランキング区間を遮断する単一の光変調器126とから構成され、電子制御装置124からの分岐指令信号に従って波長可変レーザ光源126LVおよび光変調器126が作動させられることにより、光信号Lに含まれる分岐情報に応じて選択された波長λの制御光Lを出力する。上記波長可変レーザ光源126LVは、たとえば分布ブラッグ反射型レーザ、マイクロマシン面発光レーザ、温度同調DFBレーザなどが用いられる。分布ブラッグ反射型レーザでは、その光共振器を構成する一対のミラーのうちの一方を構成するDBR層(ブラッグ反射層)に電流を注入し、プラズマ効果によってその部分の屈折率を変化させることにより光共振波長が可変とされる。マイクロマシン面発光レーザでは、マイクロマシンによって光共振器長が変化されることにより光共振波長が可変とされる。温度同調DFBレーザでは、温度による屈折率変化により光共振波長が可変とされる。なお、上記光変調器126M1乃至126Mn、126は、たとえば駆動電流または駆動電圧がpn接合部に加えられることによって透過光をオンオフさせる半導体型光変調器や、ニオブ酸リチウムなど単結晶のような電気光学効果を有する物質に外部から駆動電圧を印加することにより透過光をオンオフさせる外部変調型光変調器などから構成される。
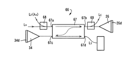
上記図18の前記光波長変換装置118は、第2波長選択素子としても機能する光分配装置150と共に光信号増幅3端子装置128を構成するものであり、基本的には図1、図8乃至図15に示す光信号増幅3端子装置10、50、59、66、70、78、88のいずれかと同様に構成される。本実施例の光波長変換装置118は、たとえば図22に示されるように、第1光ファイバ112を介して入力された光をクロスゲイン変調特性を利用して増幅および波長変換して出力する複数個の光増幅素子に対応する一対の第1光増幅素子136および第2光増幅素子144を直列に備え、上記第1光ファイバ112を介して入力された光信号を増幅するとともに、その光信号に含まれる分岐情報に対応する制御光Lの入力に同期してその制御光Lと同じの波長の光Lを出力するように構成されている。すなわち、図22において、レーザ光源130は、たとえば単一波長の半導体レーザから構成され、光信号L(第1入力光)の波長λたとえば1555nmよりも長い波長λたとえば1565nmのレーザ光(第2入力光)Lを一定の強度で連続的に出力する。第3光カプラ132は、第1光入力手段として機能するものであり、振幅変調されて第1光ファイバ112内を伝送された上記光信号Lと連続光である上記レーザ光Lとを重畳(合波)し、第1光サーキュレータ34を介して第1光増幅素子136へ入力させる。
上記第1光増幅素子136および第2光増幅素子144も、図2に示す第1光増幅素子26と同様に、半導体光増幅素子(SOA)から構成される。上記第1光増幅素子136は、スパッタリングなどによって光を反射する端面処理が施された鏡などの反射手段136dをその1端面に備えているため、その1端面とは反対側に位置する他端面を通して光入力或いは光出力が行われるようになっている。したがって、光信号L(第1入力光)およびそれよりも長い波長λのレーザ光(第2入力光)Lの合波光は、上記他端面を通して第1光増幅素子136内に入力されるとともに、上記反射手段136dに反射された光は再びその他端面を通して出力される。この第1光増幅素子136の活性層内では、図2に示す第1光増幅素子26と同様に、光信号Lの変調と同様ではあるが位相反転させられた変調を受けて増幅され、第1光増幅素子136から出力される。すなわち、第1光増幅素子136は、第2光増幅素子144とともにクロスゲイン変調特性すなわち相互利得変調特性を備えている。
図22において、第1光サーキュレータ134は、上記第1光増幅素子136から出力された光を、第3光カプラ132へではなく、第1波長選択素子138へ導く。第1波長選択素子138は、前記第1光増幅素子136から出力された光のうちから第2波長λである1565nmの光を抽出する。この第1波長選択素子138は、光フィルタ素子として機能するものであり、たとえば紫外線が局部的に照射されることにより、光ファイバの一部が長手方向において屈折率が周期的に変化させられたファイバーグレーティングフィルタから構成されるものであって、第2波長λを中心波長とし且つ半値幅がたとえば1乃至十数nmの光を選択して透過させるものである。なお、第1波長選択素子138は、屈折率が異なる多数組の層が積層されて成る多層膜フィルタ、フォトニックバンドギャップを有するフォトニッククリスタルのいずれかから構成されてもよい。
第4光カプラ140は、第2光入力手段として機能するものであり、上記第1波長選択素子138により第1光増幅素子136から出力された光のうちから選択された第2波長λの光と、第3波長λのレーザ光である制御光Lとを重畳(合波)し、第2光サーキュレータ142を介して第1光増幅素子136と同様に構成された第2光増幅素子144へ入力させる。第1光増幅素子136において変調された第2波長λは、この第2光増幅素子144において、その第2波長λを中心とする自然光の波長範囲内の第3波長λの制御光Lによってさらに変調を受け且つ増幅され、波長λの光と制御光Lの波長とされた変調光(出力光信号)Lとの混合光が出力される。第2光サーキュレータ142は、第2光増幅素子144から出力された上記混合光(波長λの光および変調光L)を、第4光カプラ140へではなく、光分配装置150へ出力させる。
上記第2光増幅素子144から出力された光に含まれる変調光Lは、制御光Lの波長と同じ第3波長λの光であるので、制御光Lの波長がたとえばλC1、λC2、λC3、・・・λCNに変化させられると、第2光増幅素子144からの光Lの波長もたとえばλC1、λC2、λC3、・・・λCNに変化させられる。図23は、実験的に、上記光信号L(第1入力光)をその上段に示す波形とし、制御光Lをその中段に示す波形としてそれぞれ入力させたときの光分配装置150の出力光Lの波形を示している。制御光Lの強度変化は、下段に示す光分配装置150の出力光Lの振幅変調に対応しており、その光分配装置150の出力光Lは制御光Lに対して約2倍乃至30倍のゲイン(増幅率)を有する。また、出力光Lの位相は上記光信号L(第1入力光)と同じであり、位相反転されていない。
図24は、上記のようにして構成されることにより光信号増幅3端子装置128として機能する波長変換装置118および光分配装置150において、第1光増幅素子136の活性層が量子ドットから構成された場合の特性を示している。図24において、第1入力光である信号光LA11の周波数を示す横軸と出力光である出力光Lの信号変調度H(%)を示す縦軸とからなる二次元座標において、その出力光Lの周波数特性が示されている。この図24によれば、100GHz程度までは信号変調度Hの低下がそれ程見られなかった。上記信号変調度Hはたとえば前式(1)により表される。
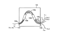
図18に戻って、上記波長変換装置118からの光のうちの変調光Lは、その波長すなわち制御光Lの波長λ(=λC1、λC2、・・・、λCn)毎に光分配装置150によって複数の導波路に対応するように予め定められたクロスコネクトファイバF111乃至F11M、F121乃至F12M、・・・F1N1乃至F1NMへそれぞれ選択的に分配される。また、波長変換装置118からの光のうちのそれらの波長λと異なる波長λの光は分岐光ファイバFB0に分配される。この分岐光ファイバFB0の終端は後段に連結されておらず閉じられているので、波長λの光の伝播がここで阻止される。このように、光分配装置150は、第2光増幅素子144からの光から第3波長λの出力光を選択する第2波長選択素子としても機能しているのである。
上記光分配装置150において、たとえば、変調光Lが制御光Lの波長λのうちの1つである単色光である場合にはクロスコネクトファイバF111乃至F11M、F121乃至F12M、・・・F1N1乃至F1NMのうちの1つの群へ択一的に分配されるが、2種類の混合色である場合にはクロスコネクトファイバF111乃至F11M、F121乃至F12M、・・・F1N1乃至F1NMのうちのいずれか2つの群へ分配される。上記光分配装置150は、たとえば図25に示すように、入力ポート150aに接続された第1スラブ導波路150bと、複数の出力ポート150cに接続された第2スラブ導波路150dと、それら第1スラブ導波路150bおよび第2スラブ導波路150dの間に設けられた長さの異なる複数のアレー導波路150eと、複数の出力ポート150cにそれぞれ接続されたクロスコネクトファイバF111乃至F11M、F121乃至F12M、・・・F1N1乃至F1NMとを備え、その入力ポート150aに入力された波長変換装置118からの変調L(入力光)をその波長毎に複数の出力ポート150cのいずれかすなわちクロスコネクトファイバF111乃至F11M、F121乃至F12M、・・・F1N1乃至F1NMのいずれかへ分配するアレー導波路格子型光分波器から構成されている。なお、上記光分配装置150には、クロスコネクトファイバF111乃至F11M、F121乃至F12M、・・・F1N1乃至F1NMの端面に分岐光を集光させるための集光レンズなどの光学系が必要に応じて備えられる。本実施例では、前記制御光発生装置126、波長変換装置118、および光分配装置150が、光信号中継器本体部RBの主要部を構成している。
図26は、入力光ファイバFA1を介して伝送され且つ分波器Sにより分離された波長λの光信号LA11の概念的構成を示す図であり、図27は、その信号光LA11の振幅変調が付与された波形、およびそれに振幅変調を付与する工程を説明する図である。図26において、光信号LA11は、たとえばパケットと称される一連の信号であって、その先頭部或いは先端部分には、パケットのタイトル、日付、文書名、頁番号などのヘッダー情報を付与するヘッダー部H、送信元や送信先のIPアドレス、ソースルーティングのようなルート情報、データリンク層のコネクション情報などなどの行先情報を示す信号を付与するラベル部(タグ部)Lが設けられている。光信号LA11は、図27に示すように、振幅変調が施されることによりヘッダー部Hやラベル部Lのうちの少なくとも上記行先情報が付与されている。この振幅変調は、たとえば図22に示す波長変換装置118や後述の図30に示すような振幅変調器を用いて、図27の上段部に示す主信号に第2段部に示す変調信号が重畳されることによって行われたものである。
図28は、以上のように構成された本実施例の光中継器110の作動を、たとえば図18に示す第1中継器本体部RB11を代表させて説明するタイムチャートである。第1中継器本体部RB11において、図28の上段部に示す光信号LA11が光遅延素子116を介して波長変換装置118へ入力される(入力工程)一方で、第1光カプラ114によりその光信号LA11の一部が光電信号変換器122により電気信号に変換されて電子制御装置124へ供給され、その電子制御装置124により抽出された図28の第2段部に示す変調パルス信号(行先情報)が制御光発生装置126へ供給され、その制御光発生装置126からはその変調パルス信号が示す行先情報に従って決定された波長λの制御光Lが図28の第3段部に示すように発生させられ、その発生に同期して波長変換装置118に入力されている光信号LA11が波長変換装置118において制御光Lの波長λに変換され出力される(波長変換工程)。上記光遅延素子116により、光電信号変換器122による光電変換後の電子制御装置124の演算動作時間などに対応した時間だけ光信号LA11が遅延させられることにより上記の同期が行われる。たとえば光信号LA11に含まれる振幅変調パルスPが示す行先情報が波長λの波長バスである場合は、波長λの制御光Lが発生されて光信号LA11が図28の下から2段目に示すように波長λに変換されて波長変換装置118から出力される。また、光信号LA11に含まれる振幅変調パルスPが示す行先情報が波長λの波長バスである場合は、波長λの制御光Lが発生されて光信号LA11が図28の下段部に示すように波長λに変換されて波長変換装置118から出力され、光分配装置150によりその波長に従って分配される(光分配工程)。ここで、入力光である光信号LA11は第1光増幅素子136の出力が飽和する利得に設定されていることから、第1光増幅素子136から第1波長選択素子138を通して出力されて第2光増幅素子144へ入力される光信号は一定の大きさとされるので、その第2光増幅素子144から出力されて光分配装置150へ入力される波長変換後の光信号は振幅一定となるので、振幅変調が容易となる。本実施例の光中継器110の波長変換装置118では、入力光である光信号LA11の信号と出力光L或いはLの信号との間で位相反転がなく、その光信号LA11の波長は、第1光増幅素子136の利得範囲内であればどの波長が選択されてもよく自由度が高い利点がある。
図29は、前記光中継器110の他の作動すなわち波長変換と同時にラベリングして出力する作動を、たとえば図18に示す第1中継器本体部RB11を代表させて説明するタイムチャートである。第1中継器本体部RB11において、図29の上段部に示す光信号LA11が光遅延素子116を介して波長変換装置118へ入力される一方で、第1光カプラ114によりその光信号LA11の一部が光電信号変換器122により電気信号に変換されて電子制御装置124へ供給され、その電子制御装置124により抽出された図29の第2段部に示す変調パルス信号(行先情報)が制御光発生装置126へ供給される。制御光発生装置126では、その変調パルス信号が示す行先情報に従って決定された波長λの制御光Lが発生させられて、その発生に同期して波長変換装置118に入力されている光信号LA11が制御光Lの波長λに変換されて出力される。このときの変調パルス信号には、再付与するための行先情報が含まれているので、電子制御装置124はその行先情報を示すパルス信号を含むように図29の第3段部に示す振幅変調された制御光Lが発生させられる。たとえば光信号LA11に含まれる振幅変調パルスPが示す行先情報が波長λの波長バスである場合は、波長λの制御光Lが発生されて光信号LA11が図29の下から2段目に示すように波長λに変換されて波長変換装置118から出力される。また、光信号LA11に含まれる振幅変調パルスPが示す行先情報が波長λの波長バスである場合は、波長λの制御光Lが発生されて光信号LA11が図29の下段部に示すように波長λに変換されて波長変換装置118から出力される。
上述のように、本実施例によれば、行先情報としてその一連の光信号LA11に振幅変調信号が付与され、その光信号LA11は振幅変調信号が示す行先へ転送される。このため、相互利得変調型の波長変換装置118に振幅変調された一連の光信号が入力される場合には、その光信号LA11の振幅変調が示す行先情報に対応した波長の制御光Lがその相互利得変調型の波長変換装置118に供給されると、その制御光Lと同じ波長の出力光が出力されるので、たとえば光分配装置150によりその出力光がその波長に応じた伝送路へ分配されることによってルーティングが行われるので、高速かつ小型のルーティング装置すなわち光信号転送装置或いは光信号中継装置110を構成することが可能となる。
また、本実施例によれば、上記一連の光信号LA11に付与された振幅変調は、90%以下の変調度で施されたものであるので、光信号LA11が損なわれず、且つ行先情報が光信号に確実に付与される。また、上記一連の光信号LA11パケット信号であり、前記行先情報はそのパケット信号の先頭部に設けられたラベル情報或いはタグ情報であるので、そのラベル部L或いはタグ部において、振幅変調によりラベル情報或いはタグ情報が付与される。
また、本実施例によれば、(a)行先情報として振幅変調が施された一連の光信号LA11を相互利得変調型の波長変換装置118へ入力させる入力工程と、(b)その光信号LA11とは異なり且つ振幅変調信号に対応する波長の制御光Lを上記相互利得変調型の波長変換装置118へ供給し、その相互利得変調型の波長変換装置118からその制御光Lの波長の光信号を出力させる波長変換工程と、(c)相互利得変調型の波長変換装置118から出力された光信号を光分配装置150に入力させ、その光信号をその波長に応じて光分配装置150に接続された複数の光伝送路へ分配する光分配工程とが、含まれるので、光信号LA11はその振幅変調信号が示す行先情報に応じた波長で光分配装置150に接続された複数の光伝送路へ分配される。
また、本実施例によれば、上記波長変換工程は、相互利得変調型の波長変換装置118から出力される光信号LA11に制御光Lを用いて振幅変調を施すことにより、その光信号LA11に新たな行先情報を再付与するものであることから、信号光中継(転送)装置110内において適宜転送先を再付与できるので、たとえばリンクの状態、ノードの状態、ロタフィック状態に応じて転送ルートを決定する動的ルーティングが可能となる。
また、本実施例の光信号中継装置110によれば、行先情報として振幅変調信号が付与された一連の光信号LA11が伝送されて来ると、制御光発生装置126により、その一連の光信号LA11の振幅変調信号からその振幅変調信号が示す行先に対応し且つその光信号LA11とは異なる波長の制御光Lが発生させられ、相互利得変調型の波長変換装置118により、その一連の光信号LA11がその制御光Lの波長の光信号に変換され、光分配装置150により、その相互利得変調型波長変換装置118から出力された光信号がその波長に応じて複数の光伝送路へ分配されるので。高速かつ小型のルーティング装置すなわち光信号転送装置或いは光信号中継装置110が提供可能となる。
また、本実施例では、光信号LA11に含まれる振幅変調信号に応じて、制御光発生装置126からその振幅変調信号が示す行先情報に応じた波長の制御光Lを発生させる電子制御装置124を備えたものであるので、波長変換機能とスイッチング機能を有する相互利得変調型波長変換装置118が行先情報に対応した波長の光信号を出力して光分配装置150による分配を可能とするので、高速かつ小型のルーティング装置すなわち光信号転送装置或いは光信号中継装置110が得られる。
また、本実施例では、(a)光ファイバ112内を伝播する光信号LA11を分岐させて電子制御装置124へ供給するための第1光カプラ(光分波器)114と、(b)その第1光カプラ114により分岐された光信号を電気信号に変換して電子制御装置124へ供給する光電信号変換器122と、(c)その光ファイバ112においてその第1光カプラ114よりも下流側に設けられ、その第1光ファイバ112から波長変換装置118に入力させる光信号Lを遅延させる光遅延素子116とが設けられ、上記電子制御装置124は上記光信号LA11に含まれる振幅変調信号を抽出して、その振幅変調信号が示す行先情報に対応する波長の制御光LCを制御光発生装置126から発生させるものであるので、波長変換機能とスイッチング機能を有する相互利得変調型波長変換装置118が行先情報に対応した波長の光信号を出力して光分配装置150による分配を可能とするので、高速かつ小型のルーティング装置すなわち光信号転送装置或いは光信号中継装置が可能となる。また、光信号LA11の一部が第1光カプラ114から分岐されて電子制御装置124へ供給される一方で、その光信号LA11の他の一部が光遅延素子116により遅延させられて波長変換装置118へ供給されるので、電子制御装置124における電子信号処理に用いられる遅れ時間にもかかわらず、制御光発生装置126から波長変換装置118へ供給される制御光Lがその波長変換装置118における光信号Lと好適に同期させられる。
また、本実施例では、相互利得変調型の波長変換装置118は、(a)入力された光をクロスゲイン変調特性を利用して増幅および波長変換して出力するための第1光増幅素子136および第2光増幅素子144と、(b)光ファイバ112から入力された第1波長λの信号光LA11と、その信号光LA11とは異なる波長λの連続光であるレーザ光(第2入力光)Lとを合波して第1光増幅素子136に入力させる第3光カプラ(第1光合波器)132と、(c)第1光増幅素子136からの光から第2波長λの光を選択する第1波長選択素子138と、(d)その第1波長選択素子138により選択された第2波長λの光と第3波長λの制御光Lとを合波して第2光増幅素子144へ入力させる第4光カプラ(第2光合波器)140とを、含み、第3波長λの出力光Lは、制御光Lと同じ波長の光であって、第1波長λの信号光Lおよび/または第3波長λの制御光Lの強度変化に応答して変調されるものであることから、信号光Lとレーザ光(第2入力光)Lとが入力された第1光増幅素子136からの光から選択された第2波長λの光と制御光Lとが第2光増幅素子144へ入力させられるとき、その第2光増幅素子144から出された光から選択された第3波長λの変調光L或いは出力光Lは、信号光Lおよび/または制御光Lの強度変化に応答して変調された光であって、制御光Lに対する信号増幅率が少なくとも2以上の大きさの増幅信号となるので、光信号Lの増幅処理を制御光Lを用いて直接行うことができる。
また、本実施例では、光分配装置150は、入力ポート150aに接続された第1スラブ導波路150bと、複数の出力ポート150cに接続された第2スラブ導波路150dと、それら第1スラブ導波路150bおよび第2スラブ導波路150dの間に設けられた長さの異なる複数のアレー導波路50eと、複数の出力ポート50cに接続された分岐光ファイバFB1、FB2、FB3、・・・FBnとを備え、その入力ポート150aに入力された波長変換装置118からの出力光L(入力光)をその波長毎に複数の出力ポート150cのいずれかすなわち分岐光ファイバFB1、FB2、FB3、・・・FBnのいずれかへ分配するように構成されているので、波長変換装置18から出力された制御光Lと同じ波長の変調光Lはその波長毎に複数の光ファイバFB1、FB2、FB3、・・・FBnのうちのいずれかへ選択的へ好適に分配される。
また、本実施例の光信号中継装置110によれば、予め設定された複数種類の波長の制御光を出力する複数の単一波長のレーザ光源(制御光源)または波長可変レーザ光源を有し、前記光信号Lに含まれる分岐情報に応じて選択された波長の制御光Lを波長変換装置118に対して供給する制御光発生装置126が備えられているので、複数の分岐光導波路に対応する光ファイバFB1、FB2、FB3、・・・FBnのうちの上記制御光Lの波長に対して予め設定された所定の光ファイバへ光信号Lが選択的に分配される。
また、本実施例の制御光発生装置126は、複数種類のレーザ光源126L1乃至26Lnまたは波長可変レーザ光源126LVから出力される制御光をスイッチングするための光変調器126を備えたものであるので、制御光発生装置126から出力された相互に異なる波長の制御光Lの立上がりおよび立下がりが急峻とされ、その応答性が高められる。
また、本実施例では、第1光ファイバ112から入力される光信号Lに含まれる分岐情報に応じて、制御光発生装置126からその分岐情報に応じた波長を有する制御光Lを発生させる電子制御装置124を備えたものであるので、波長変換装置118から出力される変調光L3の波長がその光信号LA11に含まれる行先(分岐)情報に応じて切り換えられて、その波長毎に複数の光ファイバFB1、FB2、FB3、・・・FBnのうちのいずれかへ選択的に分配される。
また、本実施例では、電子制御装置124は、光ファイバ112から入力される光信号LA11に含まれる行先情報(アドレス信号)のみを抽出し、前記制御光発生装置126からそのアドレス信号に対応する波長の制御光Lを発生させるものであることから、アドレス信号以外の信号に対応する電磁波が信号処理によって発生しないので、光信号Lの秘匿性が確保される利点がある。
次に、他の実施例を説明する。なお、以下の説明において前述の実施例と共通する部分には同一の符号を付して説明を省略する。
図30は、前述の図18および図22に示す第1中継器本体部RB11が全光学的に構成された実施例を示している。図30において、波長変換装置118の第3光カプラ132に入力される入力光信号LA11の一部が光カプラ(光分波/合波素子或いは光合波器/光合波器)164によって分岐され、次いで、光カプラ166によって連続光である所定波長たとえば波長λ乃至λのいずれかの波長の連続光であるレーザ光Lと合波されて、図22に示す第1光増幅素子136と同様に構成されることによりクロスゲイン変調特性すなわち相互利得変調特性を備えた半導体光増幅素子(SOA)168に入力される。上記連続光であるレーザ光Lは、たとえば図19或いは図20に示すレーザ光源126L1乃至126Lnおよび光合波器126、図21に示す可変レーザ光源126LVと同様に構成されたレーザ光源170が用いられる。この半導体光増幅素子168は、前記第1半導体光増幅素子136や第2半導体光増幅素子144に比較して相対的に応答速度が遅くなる特性となるように構成される。たとえば、前述のように、第1半導体光増幅素子136や第2半導体光増幅素子144が量子井戸または量子ドットから構成された活性層を備える場合には、上記半導体光増幅素子168はバルクから構成された活性層を備えるように構成される。この半導体光増幅素子168は、その利得および/または偏波状態が調整設定されることにより、高速のスイッチングに応答しないようにされている。これにより、図31の上段に示される入力光信号LA11が入力されると、その入力光信号LA11の振幅変調信号に対応する波形の制御光信号L(図31の第2段目または第3段目)が上記半導体光増幅素子168から第4光カプラ(第2光合波器)140へ入力されるので、図31の下から2段目または下段に示すように振幅変調された波長λまたはλの出力光信号Lが光分配装置150へ出力される。この出力光信号Lの振幅変調信号は、たとえば分岐情報を示している。本実施例では、上記光カプラ164、光カプラ166、半導体光増幅素子(SOA)168レーザ光源170は、波長変換すべき波長および行先(分岐)情報を付与する上記制御光LCを出力するための全光学式制御装置172を構成している。
本実施例によれば、上記光カプラ164、光カプラ166、半導体光増幅素子168によって生成される上記光信号Lは、前述の図18の制御光Lと同様に、振幅変調によって一連の出力光の先頭部に入力光信号LA11に含まれるものと同じ行先情報をリアルタイムで付与するものであるので、このようなスイッチング作動については前述の実施例の電子制御装置124が不要となって全光学的に構成される利点がある。
また、本実施例では、光信号LA11に含まれる振幅変調信号に応じて、制御光発生装置126からその振幅変調信号が示す行先情報に応じた波長の制御光Lを発生させる全光学的制御装置を備えたものであるので、入力光信号LA11に含まれる振幅変調信号が示す行先情報に応じた信号の制御光が発生するように制御されることから、波長変換機能とスイッチング機能を有する相互利得変調型波長変換装置118が行先情報に対応した波長の光信号を出力して光分配装置による分配を可能とするので、高速かつ小型のルーティング装置すなわち光信号転送装置或いは光信号中継装置が可能となる。光学的信号処理によって電磁波が発生しないので、光信号の秘匿性が確保される利点がある。
図32は、上記図30の波長変換装置118の技術を利用して構成された、全光学式の光信号中継装置180を説明するための図17に相当する図である。光分波器Sによって分波された複数の光のうち、波長λの入力光信号LA11を代表させて説明すると、図30と同様に、波長変換装置118の第3光カプラ(第1光合波器)132に入力される入力光信号LA11の一部が光カプラ164によって分岐され、次いで、光カプラ166によって連続光である所定波長たとえば波長λ乃至λのいずれかの波長の連続光であるレーザ光Lと合波されて、第1光増幅素子136と同様に構成されることによりクロスゲイン変調特性すなわち相互利得変調特性を備えた半導体光増幅素子(SOA)168に入力される。上記連続光であるレーザ光Lが光分波器Sによって分波された他の波長λ乃至λのいずれかが用いられる点において図30の実施例と相違する。これにより、図31に示すように、その上段に示される入力光信号LA11が入力されると、その入力光信号LA11の振幅変調信号に対応する波形の光信号L(図31の第2段目または第3段目)が上記半導体光増幅素子168から第4光カプラ(第2光合波器)140へ入力されるので、図31の下から2段目または下段に示す波長λまたはλの出力光信号Lが光分配装置150へ出力される。本実施例によれば、一層全光学式に構成される利点がある。
次に、さらに他の実施例を説明する。
前述の実施例において、他の中継器本体部RBMNにおいて入力光信号LANMである光パケット信号を所定の波長に変換して所定のファイバFBNMへ出力する中継処理中に、入力光信号LA11である光パケット信号を中継処理する中継器本体部RB11からその所定のファイバFBNMへ同じ波長の光信号を重複的に出力させて光信号の重畳を発生させてしまう可能性がある。このような場合には、たとえば図18の実施例では、電子制御装置124は、先に中継処理をしている中継器本体部RBMNが光パケット信号の終端を確認する前に、入力光信号LA11である光パケット信号の先頭のヘッダー部Hに振幅変調信号により付されているヘッダ情報を検知した場合には、その光パケット信号に迂回を指示する情報を振幅変調により付与するように構成されている。たとえば、最終の行先情報は変更しないが、途中のアドレスを振幅変調により変更する。本実施例によれば、複数の光パケット信号が略同時に同じ伝送路である所定のファイバFBNMへ送信されようとするときの相互の衝突を回避することができる。
図33は、他の中継器本体部RBMNにおいて入力光信号LANMである光パケット信号を所定の波長に変換して所定のファイバFBNMへ出力する中継処理中は、それに時期的に重複して着信した入力光信号LA11である光パケット信号を一時的に記憶し、先に上記所定の波長に変換している光パケット信号の中継処理が完了した後でその中継処理を可能とするようにした中継装置110の要部を示す図である。図33において、前記光分配装置150により分配された光パケット信号を一時的に記憶するために長さの異なる複数本の光ファイバが並列接続して成る複数の光信号記憶素子174と、その光信号記憶素子174から出力された光信号を入力側へ帰還させるための光帰還伝送路すなわち帰還用光ファイバ178と、帰還用光ファイバ178を介して入力側へ伝送された待機用波長λ01乃至λ03のいずれかの光パケット信号を入力光信号LA11として第1カプラ114へ再び入力させるための光カプラ176とが備えられている。他の中継器本体部RBMNにおいて入力光信号LANMである光パケット信号を所定の波長に変換して所定のファイバFBNMへ出力する中継処理中に、光パケット信号の先頭のヘッダー部Hに振幅変調信号により付されているヘッダ情報にしたがって、本中継器本体部RB11が上記所定のファイバFBNMへ出力する行先情報を有する光パケット信号LA11を受けたと判定された場合は、電子制御装置124はその光パケット信号LA11は一時記憶させるべきものであると判定する。電子制御装置124は、上記他の中継器本体部RBMNの電子制御装置からの信号に応答して、上記光パケット信号LA11を予め設定された待機用波長λ01乃至λ03のいずれかに変換するための制御信号LC01乃至LC03を制御光発生装置126から出力させる。光分配措置150から出力された待機(一時記憶)用波長λ01乃至λ03のいずれかの光信号は、その光分配装置150に接続された光信号記憶素子174のいずれかへ送られてそこで所定時間記憶された後、帰還用光ファイバ178を介して光カプラ176へ伝送され、そこから入力光信号LA11として第1カプラ114へ再び入力され、前述の中継処理が再び行われる。上記複数の光信号記憶素子174は、たとえば前述の光遅延素子116と同様に、それに記憶させる光パケット信号が必要とする記憶時間に対応する長さを備えるために、その記憶時間だけ伝播のために必要とする光学的長さの相互に異なる複数本の光ファイバをそれぞれ巻回してそれぞれ構成される。本実施例によれば、複数の光パケット信号が略同時に同じ伝送路である所定のファイバFBNMへ送信されようとするときの相互の衝突を回避することが可能となる。
また、前述の図18の実施例において、電子制御装置124は、入力光信号LA11乃至LA1、LA21乃至LA2N、・・・LAM1乃至LAMNについて、たとえば所望の波長を所望の伝送路へ転送するように、その処理時間帯を波長群や伝送路群毎などで相互に相違させるように波長変換装置118に選択的に波長変換処理を実行させる制御光Lを発生するように構成されてもよい。
また、前述の波長変換装置118において、第3光カプラ132および第4光カプラ140、第1光増幅素子136および第2光増幅素子144、および第1波長選択素子138などの構成部品は、光ファイバにより連結されてもよいが、半導体基板またはガラス基板のような透光性物質製基板の上に形成された光導波路などにより結合されてもよい。
また、前述の光分配装置150は、入力ポート150aに接続された第1スラブ導波路150bと、複数の出力ポート150cに接続された第2スラブ導波路150dと、それら第1スラブ導波路150bおよび第2スラブ導波路150dの間に設けられた長さの異なる複数のアレー導波路150eと、複数の出力ポート150cに接続された分岐光ファイバFB1、FB2、FB3、・・・FBnとを備え、その入力ポート150aに入力された波長変換装置118からの出力光L(入力光)をその波長毎に複数の出力ポート150cのいずれかすなわち分岐光ファイバFB1、FB2、FB3、・・・FBnのいずれかへ分配するように構成されていたが、波長毎に異なる回折格子の回折角度を利用してその入力光である出力光Lをアレイ状に配列された複数の分岐光ファイバFB1、FB2、FB3、・・・FBnへ選択的に分配する回折格子型光合成分波器から構成されたり、或いはその回折格子に替えてプリズムが利用されたプリズム光合成分波器から構成されてもよい。この場合には、光分配装置150は、波長毎に異なるプリズムの屈折角度を利用して入力光をアレイ状に配列された複数のアレー導波路へ選択的に分配するプリズム型光分配器から構成される。光分波器S乃至Sや合波器T乃至Tも同様である。
また、前述の実施例の電子制御装置124に替えて、複数の光トライオードから成る演算装置およびレーザ光源などから構成される光演算制御装置が用いられてもよい。電子制御装置124に替わる全光学的装置が用いられることにより、光信号中継装置110の全体が光学素子によって構成される。
また、前述の実施例では、光導波路として、第1光ファイバ112、第2光ファイバ120などが用いられていたが、光回路の一部に設けられた、二次元方向において光を導く二次元光導波路や三次元方向において光を導く三次元光導波路が用いられてもよい。
また、前述の実施例では、図19、図20、図21に示される制御光発生装置126において、光変調器126M1乃至126Mn、126が除去されても差し支えない。この場合、たとえば図19、図20の光変調器126では、レーザ光源126L1乃至126Lnが選択的にオンオフ駆動されることにより、波長の異なる制御光LCが選択的に出力される。また、図21の光変調器126では、可変波長レーザ光源126LVのDBR層に対する注入電流を段階的に変化させることにより、波長の異なる制御光Lが選択的に出力される。
図34乃至図38は、所望のタイミングで光信号を取り出すことが可能な光信号記憶装置が、高度情報処理のための光通信のための光合波/分波装置に適用された例を示すものである。
図34は、光信号記憶装置210の要部構成を説明するための図である。図34において、光ネットワークなどからの光パケット信号、光データ通信信号などの光信号LAを伝送する光ファイバ212には、光分波合波器として機能する第1光カプラ214、光遅延素子216、および相互利得変調型の波長変換装置(光スイッチング装置、光信号増幅3端子装置本体)218が順次接続されている。
また、光遅延素子216は、上記光ファイバ12内を伝送される光信号を所定時間だけ遅延させるためのものであり、たとえば所定の長さの光ファイバを巻回して伝播距離を設けることよりその所定の伝播距離を伝播する伝播時間だけ遅延させるように構成される。この光遅延素子216の遅延時間は、波長変換装置218内において、そこで増幅される光信号とその光信号の伝送先を波長で示す制御光とが同期するように予め実験的に求められる。
上記第1光カプラ214により光ファイバ212内の光信号から分岐された分岐光信号は、光ファイバ220とこれに接続された光電信号変換器222とを介して電子制御装置224へ供給される。電子制御装置224は、たとえばCPUがRAMの一時記憶機能を利用しつつROMに予め記憶されたプログラムに従って入力信号を処理する所謂マイクロコンピュータにより構成される。この電子制御装置224は、光ファイバ220を介して伝送された光信号に含まれている振幅変調で示されるコード信号すなわち行先情報に基づいて、その光信号をルーティングするためにその行先情報に対応する波長指令信号を制御光発生装置226へ供給する。たとえば、電子制御装置224は、光ファイバ220から入力される光信号Lに含まれる行先情報を抽出し、制御光発生装置226からその行先情報に対応する波長に応じた制御光Lを発生させるものである。
上記制御光発生装置226は、予め設定された複数種類の波長λの制御光Lを出力する制御光源を有し、前記電子制御装置224からの指令信号、すなわち光信号Lに含まれる分岐情報に応じて選択された波長指令信号に従って、その分岐情報に対応する波長λを有する制御光Lを前記波長変換装置218に対して供給する。制御光発生装置226は、転送先の出力光ファイバF乃至Fに対応する複数種類たとえばN種類の波長λ、λ、λ、・・・λの制御光Lを択一的或いは選択的に発生させる。前述の実施例の図19、図20、図21は、その制御光発生装置226の構成例をそれぞれ示している。なお、本実施例の光ファイバ212、第1光カプラ214、光遅延素子216、波長変換装置218、光ファイバ220、光電信号変換器222、電子制御装置224、制御光発生装置226、光信号分配装置250は、前述の実施例の光ファイバ112、第1光カプラ114、光遅延素子116、波長変換装置118、光ファイバ120、光電信号変換器122、電子制御装置124、制御光発生装置126、光信号分配装置150と同様に構成されたものであり、波長変換装置218および光信号分配装置250は前述の光信号増幅3端子装置128と同様の光信号増幅3端子装置228を構成している。
図34に戻って、上記波長変換装置218からの出力光L3は、その波長すなわち制御光Lの波長λ、λ、λ、・・・λ毎に光分配装置250によって複数の導波路に対応するように予め定められたクロスコネクトファイバF、F、F、・・・Fへそれぞれ選択的に分配される。また、それらと異なるバイアス光Lと同じ波長λの光は分岐光ファイバFに分配される。たとえば、出力光Lが単色である場合にはクロスコネクトファイバF、F、F、・・・Fのうちの1つに分配されるが、2種類の混合色である場合にはクロスコネクトファイバF、F、・・・Fのうちのいずれか2つの群へ分配される。上記クロスコネクトファイバFおよびFは、光信号Lを合波処理するための光アド処理回路252および光信号Lを分波処理するための光ドロップ処理回路254に接続されており、クロスコネクトファイバF乃至Fは光バッファメモリ素子M乃至Mに接続されている。上記光バッファメモリ素子M乃至Mは、たとえば所定長の光ファイバが巻回されたものであり、その所定長の光ファイバ内の伝播時間に対応する遅延時間だけ遅延させて光信号Lを出力する遅延素子である。
上記光バッファメモリ素子M乃至Mから出力された光信号Lは、光帰還伝送路を構成する帰還用光ファイバ256と第1光カプラ214と同様に構成された第5光カプラ(光合波器)258とを介して光信号Lが第1光カプラ214よりも上流側の光ファイバ212に帰還させられることにより、第1光カプラ214、光遅延素子216、波長変換装置218、光分配装置250、光バッファメモリM乃至Mのいずれか、帰還用光ファイバ256、第5光カプラ258から成る周回路で周回させられる。
以上のように構成された光信号記憶装置210において、光ファイバ212により伝送された光信号Lは、それに含まれる行先信号(ラベリング)が電子制御装置224により抽出され、その行先信号が示す伝送先へ分配されるように、その行先信号に対応する波長の制御光Lが出力されるように制御光発生装置226が電子制御装置224により制御される。波長変換装置218は、上記制御光Lの波長がλである場合には、それから出力される出力光Lは、波長がλの光信号Lとされるので、光分配装置250において光アド処理回路252へ向かって分配すなわち合波或いは分岐される。また、上記制御光Lの波長がλである場合には、波長変換装置218から出力される出力光Lは、波長がλの光信号Lとされるので、光分配装置250において光ドロップ処理回路254へ向かって分配すなわち合波或いは分岐される。
しかし、上記光信号Lを直ちに光アド処理回路252或いは光ドロップ処理回路254へ伝送させることが不適当である場合は、電子制御装置224の電子処理により、その光信号Lは外部からの読出タイミング信号Rの受信或いはその光信号Lに含まれる記憶時間の経過までの間記憶された後に取り出される。すなわち、制御光発生装置226から波長変換装置218へ出力される制御光Lの波長がλ乃至λのいずれかたとえばλとされると、波長変換装置218から出力される出力光L(光信号L)の波長がλとされるので、光分配装置250において光バッファメモリMへ向かって分配される。この光信号Lは、光バッファメモリMにおいて一定時間記憶された後、帰還用光ファイバ256、第5光カプラ258、第1光カプラ214、光遅延素子216、波長変換装置218、光分配装置250、光バッファメモリM3から成る周回路で繰り返し周回させられて記憶される。この周回中の光信号LAが波長変換装置218を通過する際には、制御光発生装置226から波長変換装置218へ出力される制御光Lの波長はλとされる。このような光信号Lの記憶中においてさらに他の光信号が入力され且つそれを記憶する場合には、上記波長λとは異なる波長たとえばλに上記と同様に変換され且つ上記と同様に帰還用光ファイバ256、第5光カプラ258、第1光カプラ214、光遅延素子216、波長変換装置218、光分配装置250、光バッファメモリMから成る周回路で繰り返し周回させられることにより記憶される。
そして、たとえば光アド処理回路252へ取り出すための取出タイミング信号Rが外部から電子制御装置224へ供給されると、電子制御装置224は、帰還用光ファイバ256、第5光カプラ258、第1光カプラ214、光遅延素子216、波長変換装置218、光分配装置250、光バッファメモリMから成る周回路で繰り返し周回させられる光信号Lを相互利得変調型波長変換装置218において出力用波長λに変換するための波長λの制御光Lを、制御光発生装置226から発生させる。この結果、光信号Lは光分配装置250によって光アド処理回路252へ向かって分配されることによりその光アド処理回路252へ出力される。電子制御装置224は、そのような光信号記憶制御手段としても機能している。
上述のように、本実施例の光信号記憶装置210においては、光信号記憶制御手段として機能する電子制御装置224は、帰還用光ファイバ256、第5光カプラ258、第1光カプラ214、光遅延素子216、波長変換装置218、光分配装置250、光バッファメモリM3から成る周回路で繰り返し周回させられる光信号Lを相互利得変調型波長変換装置218において出力用波長λに変換するための波長λの制御光Lを制御光発生装置226から発生させるので、その光信号Lは、任意の時間だけ記憶されるとともに、外部から供給されるか或いは光信号Lに含まれる記億信号出力情報(読出タイミング信号R)が示す出力時期に応答して、任意のタイミング(取出し時刻)において光信号Lが取り出される。
また、本実施例において、光信号記憶制御手段として機能する電子制御装置224は、相互利得変調型波長変換装置218へ入力される光信号Lの波長を記憶用波長λ乃至λのいずれかへ変換するための制御光Lを制御光発生装置226から発生させるので、入力された光信号Lはその記憶用波長λ乃至λのいずれかに変換されることにより、相互利得変調型の波長変換装置218、光分配器250、光バッファメモリ素子M乃至Mのいずれか、光帰還伝送路256、第5光カプラ258、第1光カプラ214、および光遅延素子216、を繰り返し経由する周回伝送路において周回させられることにより、その光信号Lの記憶が開始される。
また、本実施例では、(a)光ファイバ212内を伝播する光信号Lを分岐させて電子制御装置224へ供給するための第1光カプラ(光分波器)214と、(b)その第1光カプラ214により分岐された光信号を電気信号に変換して電子制御装置224へ供給する光電信号変換器222と、(c)その光ファイバ212においてその第1光カプラ214よりも下流側に設けられ、その第1光ファイバ212から相互利得変調型の波長変換装置218に入力させる光信号Lを遅延させる光遅延素子216とが設けられ、上記電子制御装置224は上記光信号Lに含まれる行先情報に対応する波長の制御光Lを制御光発生装置226から発生させるものであるので、波長変換機能とスイッチング機能を有する相互利得変調型波長変換装置218が行先情報に対応した波長の光信号を出力して光分配装置250による分配を可能とするので、高速かつ小型のルーティング装置すなわち光信号転送装置或いは光信号中継装置が可能となる。また、光信号Lの一部が第1光カプラ214から分岐されて電子制御装置224へ供給される一方で、その光信号Lの他の一部が光遅延素子216により遅延させられて波長変換装置218へ供給されるので、電子制御装置224における電子信号処理に用いられる遅れ時間にもかかわらず、制御光発生装置226から波長変換装置218へ供給される制御光Lがその波長変換装置218における光信号Lと好適に同期させられる。
また、本実施例では、相互利得変調型の波長変換装置218は、(a)入力された光をクロスゲイン変調特性を利用して増幅および波長変換して出力するための第1光増幅素子236および第2光増幅素子244と、(b)光ファイバ212から入力された第1波長λの信号光Lと、その信号光Lとは異なる波長λの連続光であるレーザ光(第2入力光、バイアス光)Lとを合波して第1光増幅素子236に入力させる第3光カプラ(第1光合波器)232と、(c)第1光増幅素子236からの光から第2波長λの光を選択する第1波長選択素子238と、(d)その第1波長選択素子238により選択された第2波長λの光と第3波長λの制御光Lとを合波して第2光増幅素子244へ入力させる第4光カプラ(第2光合波器)240とを、含み、第3波長λの出力光Lは、制御光Lと同じ波長の光であって、第1波長λの信号光Lおよび/または第3波長λの制御光Lの強度変化に応答して変調されるものであることから、信号光Lとレーザ光(第2入力光)Lとが入力された第1光増幅素子236からの光から選択された第2波長λの光と制御光Lとが第2光増幅素子244へ入力させられるとき、その第2光増幅素子244から出された光から選択された第3波長λの変調光L或いは出力光Lは、信号光Lおよび/または制御光Lの強度変化に応答して変調された光であって、制御光Lに対する信号増幅率が少なくとも2以上の大きさの増幅信号となるので、光信号Lの増幅処理を制御光Lを用いて直接行うことができる。
次に、光信号記憶装置210の他の実施例を説明する。
前述の電子制御装置224は、相互利得変調型波長変換装置218、光分配器250、光バッファメモリ素子M乃至Mのいずれか、光帰還伝送路256、第5光カプラ258、第1光カプラ214、および光遅延素子216を繰り返し経由する周回伝送路において周回させられることにより記憶される光信号Lのゲインの増減を抑制するように、その周回させられる信号光L、あるいは相互利得変調型波長変換装置218に供給される制御光Lを制御する光信号ゲイン制御手段を、さらに含むものであってもよい。すなわち、電子制御装置224は、あらかじめ記憶されたプログラムにしたがって第1光カプラ214および光電信号変換器222を介して入力される周回させられる信号光Lのゲインが一定となるように制御光Lを制御する。たとえば信号光Lのゲインが低下すると、相互利得変調型波長変換装置218においてその信号光Lが増幅されるように制御光Lのゲインを大きくし、信号光Lのゲインが増加すると、相互利得変調型波長変換装置218においてその信号光Lが減少されるように制御光Lのゲインを小さくする。
図35は、さらに他の実施例の光信号記憶装置270を示している。本実施例の光信号記憶装置270は、前述の実施例の光信号記憶装置210に対して、周回させられる光信号Lの記憶時間(周回数)に伴う強度変動たとえば発振的な増加あるいは減衰を抑制するための帰還光増幅装置272が帰還用光ファイバ256に介そうされた点、電子制御装置224は上記の機能のうち、周回させられることにより記憶される光信号Lのゲインが一定となるように相互利得変調型波長変換装置218に供給される制御光Lを制御する光信号ゲイン制御機能が設けられていない点が相違し、他は同様に構成されている。また、本実施例では、第1ゲイン制御用光増幅素子276および第2ゲイン制御用光増幅素子280の応答時間(応答特性)が第1光増幅素子236および第2光増幅素子244よりも長く(遅く)設定されている。たとえば、第1ゲイン制御用光増幅素子276および/または第2ゲイン制御用光増幅素子280は、たとえばエルビウム元素などの希土類元素が光ファイバや光導波路内にドープされることにより、3準位系または4準位系のエネルギ準位がその光透過媒体内に構成された光増幅素子など、相互利得変調の応答時間が遅い光増幅素子から構成される。応答時間が遅い光増幅素子から構成されることにより、周回させられる光信号Lの信号成分が平滑化されてその信号ゲインの変化が容易に検出される。
上記帰還光増幅装置272は、光信号ゲイン制御手段に対応するものであり、波長変換装置218の第2光増幅素子244からの出力光に含まれるバイアス光Lと同じ波長λの光のゲインの減少に基づいて帰還用光ファイバ256により帰還させられる光信号Lを増幅するものである。すなわち、帰還光増幅装置272は、波長λの一定のレーザ光を出力するレーザ光源274と、前記光分配装置250からファイバFを介して出力されるバイアス光Lと同じ波長λの光と上記波長λのレーザ光とを受けてそのバイアス光Lと同じ波長λの光のゲインの増加に伴ってゲインが減少する波長λのゲイン制御光Lを出力する第1ゲイン制御用光増幅素子276と、その第1ゲイン制御用光増幅素子276の出力光から波長λの光を通過させるフィルタ278と、そのフィルタ278を通過した波長λの光と帰還させられる光信号Lとを受けてそのゲイン制御光Lの減少に伴ってゲインが増加する光信号Lを出力する第2ゲイン制御用光増幅素子280と、その第2ゲイン制御用光増幅素子280からの出力光から波長λ乃至λのいずれかの波長である光信号Lを通過させ又は波長Lの光だけ通過させないフィルタ282とを備えている。上記第2ゲイン制御用光増幅素子280により、周回させられる光信号Lのゲインの増減とは反対のバイアス光Lと同じ波長λの光のゲインの減増に応じて、帰還させられる光信号Lのゲインが増減させられることにより、その光信号Lの周回毎のゲインの増加や低下が抑制され、略一定のゲインに維持される。本実施例によれば、前述の実施例と同様の効果が得られるのに加えて、速い応答信号はそのままであるが、遅い減衰の変化が抑制されるので、記憶のために周回させられる光信号Lのゲインの増加や低下が抑制されて略一定のゲインに維持される利点がある。
図36は、上記光信号記憶装置270の作動を説明するタイムチャートである。光信号Lが記憶すべき信号である場合には、入力されたその光信号Lは、波長変換装置218において制御光L(λ)に従って記憶用波長たとえばλに変換されるとともに光分配装置250によって光バッファメモリMに分配され、以後はその光バッファメモリM、帰還用光ファイバ256、帰還光増幅装置272、帰還用光ファイバ256、第5光カプラ258、波長変換装置218、光分配装置250からなる周回路に沿って光信号Lが周回させられる。このとき、帰還光増幅装置272によって周回させられる光信号Lのゲインの減衰が抑制されて一定に保持されるので、図36の最上段が入力された光信号Lであるとすると、周回させられる光信号Lはその下段に示す状態となる。このような周回によって記憶されている光信号Lが取り出される場合には、任意のタイミングで任意の区間だけ波長変換装置218において制御光L(λ)に従って出力用波長たとえばλに変換されると、光分配装置250によって光アド処理回路252へ出力される。図36の下から3段目に示す波形はその光信号Lの出力波形を示している。また、図36の下から2段目は上記の出力によって残された他の出力波形を示している。
ちなみに、図37は、上記帰還光増幅装置272が設けられず、周回させられる光信号Lのゲインの減衰が抑制されない場合の信号波形を示している。たとえば、上記光信号記憶装置270において帰還光増幅装置272が備えられない場合や電子制御装置224に光信号ゲイン制御手段が備えられない場合の図34の光信号記憶装置210の場合の信号波形である。この図37の上段および下段は、図36の最上段およびその下の段に対応している。
図38は、本発明の他の実施例の光信号記憶装置290を示している。本実施例の光信号記憶装置290は、前述の実施例の光信号記憶装置210に対して、光遅延素子216及び第1光カプラ214が省略された点、電子制御装置224に替えて全光学的演算制御装置292が設けられている点、帰還用光ファイバ256により帰還させられる光信号Lの一部を分岐して全光学的演算制御装置292に入力させるための第1光カプラ214と同様の光カプラ294が設けられている点、その全光学的演算制御装置292が周回させられる光信号Lの記憶時間(周回数)に伴う減衰に基づいてその減衰を抑制する光信号ゲイン制御手段として機能する点が相違し、他は同様に構成されている。
上記全光学的演算制御装置292は、たとえば、波長λの連続光を出力するレーザ光源と、その波長λのレーザ光と外部からの読出タイミング信号Rとを合波する光カプラと、その光カプラにより合波された光を受け入れて、読出タイミング信号Rの読み出し区間だけ波長λの制御光Lを出力させる前記相互利得変調型波長変換装置18と同様の波長変換装置とから成る1組の光制御回路をN組備えることにより、任意のタイミングで供給される読出タイミング信号Rに応答して、周回により記憶されている光信号Lが取り出されるようにする。また、上記全光学的演算制御装置292は、上記光カプラ294から供給される周回中の光信号Lを受けてそのゲインの減衰を示す包絡線を形成する低応答性の光遅延素子を備え、その光遅延素子から出力される波長λの減衰曲線を示す光を制御光Lとして前記相互利得変調型の波長変換装置218に供給するように構成される。これにより、相互利得変調型の波長変換装置218から出力される波長λの光信号Lの周回による減衰が抑制される。本実施例によれば、前述の図35の実施例と同様の効果が得られる。
また、前述の光分配装置250は、干渉膜型光分配装置であってもよい。干渉膜に分類される多層フィルタはSiOの薄膜とTiOの薄膜とが交互に数十層積層されることにより特定の波長を反射させるように構成される。
また、前述の実施例の電子制御装置224に替えて、複数の光トライオードから成る演算装置およびレーザ光源などから構成される光演算制御装置が用いられてもよい。電子制御装置224に替わる全光学的装置が用いられることにより、光信号記憶装置210の全体が光学素子によって構成される。
また、前述の実施例の光信号記憶装置210において、光アド処理回路252、光ドロップ処理回路254、光バッファメモリM乃至Mの数は種々変更され得るものであり、それらの一部が除去或いは追加されても差し支えない。
また、たとえば相互利得変調型波長変換装置218において、制御光Lの波長λは信号光Lの波長λと同じとされてもよい。この場合には、相互利得変調型波長変換装置18からの出力光Lの波長は、信号光Lの波長λと同じとされる。
なお、上述したのはあくまでも本発明の一実施例であり、本発明はその主旨を逸脱しない範囲において種々変更が加えられ得るものである。

Claims (19)

  1. 所定の伝送路を介して伝送された一連の光信号を、複数の伝送路のうちの該光信号に含まれる行先情報に対応する伝送路へ転送する光信号転送方法であって、
    前記行先情報が施された一連の光信号を光信号増幅3端子装置本体へ入力させる入力工程と、
    前記行先情報を示す信号に対応する波長の制御光を前記光信号増幅3端子装置本体へ供給し、該光信号増幅3端子装置本体から該制御光の波長の光信号を出力させる波長変換工程と、
    前記光信号増幅3端子装置本体から出力された光信号を光分配装置に入力させ、該光信号をその波長に応じて該光分配装置に接続された複数の光伝送路へ分配する光分配工程と
    を、含むことを特徴とする光信号転送方法。
  2. 前記波長変換工程は、前記光信号増幅3端子装置本体から出力される光信号に前記制御光を用いて振幅変調を施すことにより、該光信号に新たな行先情報を再付与するものである請求項1の光信号転送方法。
  3. 前記一連の光信号は、90%以下の変調度で振幅変調されたものである請求項1または2の光信号転送方法。
  4. 光信号伝送ネットワーク間において、行先情報として振幅変調が施された一連の光信号を一方のネットワークから他方のネットワークの伝送路のうちの該光信号に含まれる行先情報に対応する伝送路へ転送するための光信号中継装置であって、
    前記一連の光信号の振幅変調信号から、該振幅変調信号が示す行先に対応した波長の制御光を発生させる制御光発生装置と、
    前記一連の光信号を前記制御光の波長の光信号に変換する光信号増幅3端子装置本体と、
    該光信号増幅3端子装置本体から出力された光信号をその波長に応じて複数の光伝送路へ分配する光分配装置と
    を、含むことを特徴とする光信号中継装置。
  5. 前記光信号に含まれる振幅変調信号に応じて、前記制御光発生装置から該振幅変調信号が示す行先情報に応じた波長の制御光を発生させる電子制御装置または全光学的制御装置を備えたものである請求項4の光信号中継装置。
  6. 前記光信号の一部を分岐する光分波器と、
    該光分波器により分岐された光信号を電気信号に変換して前記電子制御装置へ供給する光電信号変換器と、
    前記光分波器よりも下流側に設けられ、該光分波器を通過して光信号増幅3端子装置本体に入力させる光信号を遅延させる光遅延素子とを備え、
    前記電子制御装置は、前記光信号に含まれる振幅変調信号を抽出して、該振幅変調信号が示す行先情報に対応する波長の制御光を前記制御光発生装置から発生させるものである請求項5の光信号中継装置。
  7. 前記光分配装置により分配された光信号を一時的に記憶するための光信号記憶素子と、該光信号記憶素子から出力された光信号を入力側へ帰還させるための光帰還伝送路とを備え、
    前記電子制御装置は、前記光信号が一時記憶すべき光パケット信号である場合には、該光パケット信号を予め設定した記憶用波長に変換させるための制御光信号を出力させ、
    前記光分配装置は、該記憶用波長に変換された後の光パケット信号を前記光信号記憶素子へ分配してそこで一時的に記憶させるものである請求項5または6の光信号中継装置。
  8. 前記光信号記憶素子は、光分配装置により分配された光信号を受けるために光学的伝播長さが異なる複数本の光ファイバを並列に備えたものであり、
    前記電子制御装置は、前記一時記憶すべき光パケット信号に必要とされる記憶時間に応じて、該光パケット信号を予め設定した記憶用波長に変換させるための制御光信号を出力させ、
    前記光分配装置は、該記憶用波長に変換された後の光パケット信号を前記光信号記憶素子の複数本の光ファイバのいずれかへ分配してそこで一時的に記憶させるものである請求項7の光信号中継装置。
  9. 前記全光学的制御装置は、第1入力光の一部を分岐する光カプラと、前記制御光と同じ波長の連続光を発生する連続光源と、該連続光源からの連続光と該光カプラからの前記第1入力光の一部とを合波する光カプラと、該光カプラからの光を受けて、該第1入力光に含まれる変調信号を有する制御光を出力する、半導体光増幅素子よりも応答速度が遅い半導体光増幅素子とを含むものである請求項5の光信号中継装置。
  10. 前記光分配装置は、前記光信号増幅3端子装置本体から出力された出力光が入力されると、該入力された出力光を前記複数の光伝送路のうち前記制御光の波長に対応する光伝送路へ選択的に分配するものである請求項4乃至9のいずれかの光信号中継装置。
  11. 前記光分配装置は、入力ポートに接続された第1スラブ導波路と、複数の出力ポートに接続された第2スラブ導波路と、それら第1スラブ導波路および第2スラブ導波路の間に設けられた長さの異なる複数のアレー導波路とを備え、該入力ポートに入力された入力光をその波長毎に前記複数の出力ポートへ分配するアレー導波路格子型分波器である請求項4乃至10のいずれかの光信号中継装置。
  12. 入力光伝送路から入力された光信号を記憶するとともに任意の時間に取り出すことが可能な光信号記憶装置であって、
    前記入力光伝送路から入力された光信号を該入力信号に含まれる伝送先に対応し且つ前記光信号と同じ又は異なる波長に変換するための制御光を発生する制御光発生装置と、
    前記入力された光信号と制御光とを受け、該入力された光信号を該制御光の波長の光信号に変換して出力する光信号増幅3端子装置本体と、
    該光信号増幅3端子装置本体から出力された光信号を該光信号の波長に応じて分配する光分配器と、
    該光分配器により分配された記憶用波長の光信号を一時的に記憶する光バッファメモリ素子と、
    該光バッファメモリ素子から出力された光信号を光信号増幅3端子装置本体へ再び入力させるために、該光信号を前記入力光伝送路へ帰還させる光帰還伝送路と、
    前記光信号増幅3端子装置本体、光分配器、光バッファメモリ素子、および該光帰還伝送路を繰り返し周回させられる光信号を該光信号増幅3端子装置本体において出力用波長に変換するための制御光を前記制御光発生装置から発生させる光信号記憶制御手段と
    を、含むことを特徴とする光信号記憶装置。
  13. 前記周回させられる光信号のゲインの増減を抑制するように、前記光帰還伝送路により帰還させられる光信号、または前記光信号増幅3端子装置本体に供給される制御光を制御する光信号ゲイン制御手段を、さらに含むものである請求項12の光信号記憶装置。
  14. 前記光信号増幅3端子装置本体は、前記光信号をバイアス光の波長に変換して反転させる第1半導体光増幅素子と、該第1半導体光増幅素子により反転させられた光信号を前記制御光の波長に変換して反転させる第2半導体光増幅素子とを備えたものであり、
    前記光信号ゲイン制御手段は、前記第2半導体光増幅素子からの出力光に含まれるバイアス光のゲインの増減に基づいて光帰還伝送路により帰還させられる光信号を制御するものである請求項13の光信号記憶装置。
  15. 前記光信号ゲイン制御手段は、前記バイアス光と該バイアス光とは異なる波長の連続光であるゲイン制御光とを受けて該バイアス光のゲインの増加に伴ってゲインが減少するゲイン制御光を出力する第1ゲイン制御用光増幅素子と、該第1ゲイン制御用光増幅素子からの出力光と前記光帰還伝送路により帰還させられる光信号とを受けて該ゲイン制御光の減少に伴ってゲインが増加する光信号を出力する第2ゲイン制御用光増幅素子とを含むものである請求項13または14の光信号記憶装置。
  16. 前記第1ゲイン制御用光増幅素子および/または第2ゲイン制御用光増幅素子は、希土類元素が添加された光ファイバ増幅素子または光導波路増幅素子から構成されたものである請求項15の光信号記憶装置。
  17. 前記光信号ゲイン制御手段は、前記周回させられる光信号のゲインを一定に維持するように、前記光帰還伝送路により帰還させられる光信号のゲインの増減に基づいて、前記光信号増幅3端子装置本体に供給される制御光のゲインを制御する光学的演算制御装置を含むものである請求項13の光信号記憶装置。
  18. 前記制御光発生装置を制御するための電子制御装置と、
    前記光分波器により分岐された光信号を電気信号に変換して前記電子制御装置へ供給する光電信号変換器と、
    該光分波器よりも下流側に設けられ、該光分波器を通過して前記光信号増幅3端子装置本体に入力させる光信号を遅延させる光遅延素子とを備え、
    前記電子制御装置は、外部から供給されるか或いは前記光信号に含まれる記憶信号出力情報が示す出力時期に応答して、前記光信号を出力用波長に変換するための制御光を前記制御光発生装置から発生させるものである請求項12乃至15のいずれかの光信号記憶装置。
  19. 外部から供給されるか或いは前記光信号に含まれる記憶信号出力情報が示す出力時期に応答して、前記光信号を出力用波長に変換するための制御光を前記制御光発生装置から発生させる全光学的演算制御装置を備えたものである請求項12乃至17のいずれかの光信号記憶装置。
JP2009256584A 2002-10-23 2009-11-09 光信号転送方法、光信号中継装置、および光信号記憶装置 Expired - Fee Related JP5314815B2 (ja)

Priority Applications (1)

Application Number Priority Date Filing Date Title
JP2009256584A JP5314815B2 (ja) 2002-10-23 2009-11-09 光信号転送方法、光信号中継装置、および光信号記憶装置

Applications Claiming Priority (7)

Application Number Priority Date Filing Date Title
JP2002308946 2002-10-23
JP2002308946 2002-10-23
JP2003059382 2003-03-06
JP2003059382 2003-03-06
JP2003287576 2003-08-06
JP2003287576 2003-08-06
JP2009256584A JP5314815B2 (ja) 2002-10-23 2009-11-09 光信号転送方法、光信号中継装置、および光信号記憶装置

Related Parent Applications (1)

Application Number Title Priority Date Filing Date
JP2005501565A Division JP4436451B2 (ja) 2002-10-23 2003-09-19 光信号増幅3端子装置

Publications (2)

Publication Number Publication Date
JP2010044413A true JP2010044413A (ja) 2010-02-25
JP5314815B2 JP5314815B2 (ja) 2013-10-16

Family

ID=32180294

Family Applications (2)

Application Number Title Priority Date Filing Date
JP2005501565A Expired - Fee Related JP4436451B2 (ja) 2002-10-23 2003-09-19 光信号増幅3端子装置
JP2009256584A Expired - Fee Related JP5314815B2 (ja) 2002-10-23 2009-11-09 光信号転送方法、光信号中継装置、および光信号記憶装置

Family Applications Before (1)

Application Number Title Priority Date Filing Date
JP2005501565A Expired - Fee Related JP4436451B2 (ja) 2002-10-23 2003-09-19 光信号増幅3端子装置

Country Status (8)

Country Link
US (3) US7274841B2 (ja)
EP (1) EP1560062B1 (ja)
JP (2) JP4436451B2 (ja)
KR (1) KR100956054B1 (ja)
AU (1) AU2003264506B2 (ja)
CA (1) CA2503501C (ja)
TW (1) TW200415384A (ja)
WO (1) WO2004038492A1 (ja)

Cited By (1)

* Cited by examiner, † Cited by third party
Publication number Priority date Publication date Assignee Title
JP2012054753A (ja) * 2010-09-01 2012-03-15 Nec Corp 光通信システムおよびノード装置

Families Citing this family (20)

* Cited by examiner, † Cited by third party
Publication number Priority date Publication date Assignee Title
WO2003096501A1 (en) * 2002-05-09 2003-11-20 Fujitsu Limited Optical amplifier
US7315668B1 (en) * 2002-06-25 2008-01-01 At&T Delaware Intellectual Property, Inc. Optical coupling with a test port
WO2004038492A1 (ja) * 2002-10-23 2004-05-06 Japan Science And Technology Corporation 光信号増幅3端子装置、それを用いた光信号転送方法、光信号中継装置、および光信号記憶装置
US7167620B2 (en) * 2003-07-16 2007-01-23 Doron Handelman Devices and methods for all-optical processing and storage
CA2556808C (en) * 2004-07-12 2012-11-20 Optotriode Co., Ltd. Optical signal amplification device using negative optical feedback
DE102004050424B4 (de) * 2004-10-15 2010-04-15 Bosch Rexroth Ag Verfahren zur Übertragung von Daten in einem Kommunikationssystem
JP4789460B2 (ja) * 2004-12-22 2011-10-12 株式会社アドバンテスト 光スイッチ及び光試験装置
JP2008046316A (ja) * 2006-08-14 2008-02-28 Fujitsu Ltd 多チャンネル光スイッチの制御装置
JP2009177641A (ja) 2008-01-25 2009-08-06 Fujitsu Ltd 光信号処理装置、光受信装置および光中継装置
JP5614569B2 (ja) * 2009-01-15 2014-10-29 学校法人近畿大学 光信号増幅装置
WO2011052075A1 (ja) * 2009-10-30 2011-05-05 富士通株式会社 光信号処理装置、受信機、および光ネットワークシステム
JP5598168B2 (ja) * 2010-08-30 2014-10-01 富士通株式会社 光ネットワークシステムおよび光多重装置
US8526827B2 (en) * 2011-07-22 2013-09-03 Institut National D'optique Optical time-delayed wavelength converter
US9887782B2 (en) * 2013-10-18 2018-02-06 Finisar Corporation Rapid out-of-band signal communication in optical components
CN107069785B (zh) * 2017-05-25 2023-04-11 沈阳清能院清洁能源有限公司 一种调度系统
US10247969B1 (en) 2018-06-21 2019-04-02 PsiQuantum Corp. Photon sources with multiple cavities for generation of individual photons
US10680715B1 (en) * 2019-07-22 2020-06-09 Semtech Corporation Digital implementation of closed loop optical modulation amplitude controller for laser diode
DE102020006750A1 (de) 2020-01-30 2021-08-05 Horst Wochnowski Gezielte und kontrollierte freiraumoptische Manipulation von Lichtstrahlung mittels weiterer, anderer Lichtstrahlung in einem fluiden und/oder festen Medium ohne Einsatz von diskreten, freiraumoptischen Komponenten
CN113362616B (zh) * 2021-06-02 2023-02-03 上海宝航市政交通设施有限公司 一种智能交通信号控制方法、控制电路
WO2025163747A1 (ja) * 2024-01-30 2025-08-07 Ntt株式会社 光波長変換クロスコネクト装置および光ネットワークシステム

Citations (4)

* Cited by examiner, † Cited by third party
Publication number Priority date Publication date Assignee Title
JP2001264825A (ja) * 2000-03-16 2001-09-26 Nippon Telegr & Teleph Corp <Ntt> 光パケットバッファ
WO2002061502A1 (en) * 2001-01-30 2002-08-08 Yoshinobu Maeda Optical control method and device
US20020145776A1 (en) * 2001-04-05 2002-10-10 Chow Alan Y. Wave length associative addressing system for WDM type light packet steering
JP2003005240A (ja) * 2001-06-20 2003-01-08 Nippon Telegr & Teleph Corp <Ntt> 光ビット列識別装置

Family Cites Families (15)

* Cited by examiner, † Cited by third party
Publication number Priority date Publication date Assignee Title
US5264960A (en) * 1992-05-08 1993-11-23 At&T Bell Laboratories Optical wavelength shifter
JPH0974245A (ja) 1995-09-06 1997-03-18 Mitsubishi Electric Corp 半導体光増幅器
US6409226B1 (en) * 1999-05-05 2002-06-25 Noetic Engineering Inc. “Corrugated thick-walled pipe for use in wellbores”
FR2794498B1 (fr) * 1999-06-07 2001-06-29 Inst Francais Du Petrole Pompe a cavites progressantes a stator composite et son procede de fabrication
DE29911031U1 (de) * 1999-06-24 2000-11-23 Artemis Kautschuk- und Kunststofftechnik GmbH & Cie, 30559 Hannover Nach dem Moineau-Prinzip arbeitender Bohrmotor für Tiefbohrungen
JP2001262319A (ja) * 2000-03-23 2001-09-26 Toyobo Co Ltd 真空蒸着装置
US6810407B1 (en) * 2000-07-14 2004-10-26 Lucent Technologies Inc. Optical boolean logic devices for data encryption
JP2002262319A (ja) 2001-03-01 2002-09-13 Nippon Telegr & Teleph Corp <Ntt> 光通信網および光パスクロスコネクト装置
US20020181831A1 (en) * 2001-06-01 2002-12-05 Myers Michael H. Tamed spectrum multiplexing
US6731427B1 (en) * 2001-09-06 2004-05-04 Onetta, Inc. Semiconductor optical amplifier systems
WO2004038492A1 (ja) * 2002-10-23 2004-05-06 Japan Science And Technology Corporation 光信号増幅3端子装置、それを用いた光信号転送方法、光信号中継装置、および光信号記憶装置
US7167620B2 (en) * 2003-07-16 2007-01-23 Doron Handelman Devices and methods for all-optical processing and storage
JP4443912B2 (ja) * 2003-12-16 2010-03-31 三菱電機株式会社 光機能素子
CA2556808C (en) * 2004-07-12 2012-11-20 Optotriode Co., Ltd. Optical signal amplification device using negative optical feedback
US7688502B2 (en) * 2004-07-30 2010-03-30 Yoshinobu Maeda Three-terminal optical signal amplifying device

Patent Citations (4)

* Cited by examiner, † Cited by third party
Publication number Priority date Publication date Assignee Title
JP2001264825A (ja) * 2000-03-16 2001-09-26 Nippon Telegr & Teleph Corp <Ntt> 光パケットバッファ
WO2002061502A1 (en) * 2001-01-30 2002-08-08 Yoshinobu Maeda Optical control method and device
US20020145776A1 (en) * 2001-04-05 2002-10-10 Chow Alan Y. Wave length associative addressing system for WDM type light packet steering
JP2003005240A (ja) * 2001-06-20 2003-01-08 Nippon Telegr & Teleph Corp <Ntt> 光ビット列識別装置

Non-Patent Citations (3)

* Cited by examiner, † Cited by third party
Title
JPN6012034052; IECE TRANS.COMMUN. VOL.E84-B, 200105, 1127-1134 *
JPN6012034054; IEEE PHOTON.TECH.LETT. VOL.9,NO.9, 199709, 1268-1270 *
JPN6012034055; IEEE PHOTON.TECH.LETT. VOL.15,NO.2, 200302, 257-259 *

Cited By (1)

* Cited by examiner, † Cited by third party
Publication number Priority date Publication date Assignee Title
JP2012054753A (ja) * 2010-09-01 2012-03-15 Nec Corp 光通信システムおよびノード装置

Also Published As

Publication number Publication date
US7274841B2 (en) 2007-09-25
JPWO2004038492A1 (ja) 2006-02-23
EP1560062A1 (en) 2005-08-03
TW200415384A (en) 2004-08-16
CA2503501A1 (en) 2004-05-06
US7336871B2 (en) 2008-02-26
JP5314815B2 (ja) 2013-10-16
AU2003264506A1 (en) 2004-05-13
US20070183712A1 (en) 2007-08-09
US20060008203A1 (en) 2006-01-12
US7343065B2 (en) 2008-03-11
TWI293129B (ja) 2008-02-01
JP4436451B2 (ja) 2010-03-24
EP1560062A4 (en) 2007-05-09
CA2503501C (en) 2010-09-14
AU2003264506B2 (en) 2009-05-28
KR100956054B1 (ko) 2010-05-06
KR20050083811A (ko) 2005-08-26
US20070183713A1 (en) 2007-08-09
EP1560062B1 (en) 2013-08-21
WO2004038492A1 (ja) 2004-05-06

Similar Documents

Publication Publication Date Title
JP5314815B2 (ja) 光信号転送方法、光信号中継装置、および光信号記憶装置
Borella et al. Optical components for WDM lightwave networks
JP5132668B2 (ja) 光伝送に関する装置および方法
US7999988B2 (en) Optical modulator using a dual output laser embedded in a mach zehnder interferometer
US6925220B2 (en) Optical switch using multimode interferometer, and optical demultiplexer
EP3408902B1 (en) Multi-frequency hybrid tunable laser
US20160315451A1 (en) Tunable Optical Apparatus
US20230231359A1 (en) Multi-wavelength laser and router with fast switchable output ports and wavelengths
CN100368868C (zh) 光信号放大3端子装置
US7369719B2 (en) Integrated tunable wavelength converter and variable optical delay
JP2922190B1 (ja) 非線形光半導体デバイス
JP4084994B2 (ja) 光スイッチングハブ装置
JPWO2006011262A1 (ja) 光信号増幅3端子装置
JP2003140206A (ja) 光スイッチ及び光デマルチプレクサ
JP2653015B2 (ja) 波長・時分割光交換機
JP2016099595A (ja) 3端子光信号制御素子

Legal Events

Date Code Title Description
A521 Request for written amendment filed

Free format text: JAPANESE INTERMEDIATE CODE: A523

Effective date: 20091215

A131 Notification of reasons for refusal

Free format text: JAPANESE INTERMEDIATE CODE: A131

Effective date: 20120703

A521 Request for written amendment filed

Free format text: JAPANESE INTERMEDIATE CODE: A523

Effective date: 20120829

TRDD Decision of grant or rejection written
A01 Written decision to grant a patent or to grant a registration (utility model)

Free format text: JAPANESE INTERMEDIATE CODE: A01

Effective date: 20130611

A61 First payment of annual fees (during grant procedure)

Free format text: JAPANESE INTERMEDIATE CODE: A61

Effective date: 20130706

R150 Certificate of patent or registration of utility model

Free format text: JAPANESE INTERMEDIATE CODE: R150

Ref document number: 5314815

Country of ref document: JP

Free format text: JAPANESE INTERMEDIATE CODE: R150

S533 Written request for registration of change of name

Free format text: JAPANESE INTERMEDIATE CODE: R313533

R350 Written notification of registration of transfer

Free format text: JAPANESE INTERMEDIATE CODE: R350

R250 Receipt of annual fees

Free format text: JAPANESE INTERMEDIATE CODE: R250

R250 Receipt of annual fees

Free format text: JAPANESE INTERMEDIATE CODE: R250

R250 Receipt of annual fees

Free format text: JAPANESE INTERMEDIATE CODE: R250

R250 Receipt of annual fees

Free format text: JAPANESE INTERMEDIATE CODE: R250

R250 Receipt of annual fees

Free format text: JAPANESE INTERMEDIATE CODE: R250

R250 Receipt of annual fees

Free format text: JAPANESE INTERMEDIATE CODE: R250

LAPS Cancellation because of no payment of annual fees