JP2010042769A - 車両の側部車体構造 - Google Patents

車両の側部車体構造 Download PDF

Info

Publication number
JP2010042769A
JP2010042769A JP2008209166A JP2008209166A JP2010042769A JP 2010042769 A JP2010042769 A JP 2010042769A JP 2008209166 A JP2008209166 A JP 2008209166A JP 2008209166 A JP2008209166 A JP 2008209166A JP 2010042769 A JP2010042769 A JP 2010042769A
Authority
JP
Japan
Prior art keywords
pillar
reinforcement
vehicle body
rear wheel
wheel house
Prior art date
Legal status (The legal status is an assumption and is not a legal conclusion. Google has not performed a legal analysis and makes no representation as to the accuracy of the status listed.)
Granted
Application number
JP2008209166A
Other languages
English (en)
Other versions
JP5157744B2 (ja
Inventor
Tadayoshi Watari
忠義 渡
Yoshikazu Nishimura
佳和 西村
Chie Matsuoka
智恵 松岡
Current Assignee (The listed assignees may be inaccurate. Google has not performed a legal analysis and makes no representation or warranty as to the accuracy of the list.)
Mazda Motor Corp
Original Assignee
Mazda Motor Corp
Priority date (The priority date is an assumption and is not a legal conclusion. Google has not performed a legal analysis and makes no representation as to the accuracy of the date listed.)
Filing date
Publication date
Application filed by Mazda Motor Corp filed Critical Mazda Motor Corp
Priority to JP2008209166A priority Critical patent/JP5157744B2/ja
Publication of JP2010042769A publication Critical patent/JP2010042769A/ja
Application granted granted Critical
Publication of JP5157744B2 publication Critical patent/JP5157744B2/ja
Expired - Fee Related legal-status Critical Current
Anticipated expiration legal-status Critical

Links

Images

Landscapes

  • Body Structure For Vehicles (AREA)

Abstract

【課題】車体後壁に開口を有し、車体側壁のリヤホイールハウスにサスペンションタワー部を一体的に設けた車両の側部車体構造において、サスペンション装置からリヤホイールハウス側へ入力される荷重を、より安定して効果的に車体側へ分散させる。
【解決手段】車体後壁に開口を有し、車体側壁のリヤホイールハウスにサスペンションタワー部を一体的に設けた車両の側部車体構造において、少なくともその一部がリヤホイールハウス7の上部からCピラー部17を通って略上方へ延びてルーフレール部14に至るピラーアウタ・レインフォースメント20が設けられ、該ピラーアウタ・レインフォースメントの外側面に、リヤホイールハウスの上部からルーフレール部に至る稜線21Rを形成する段差部21が設けられている、ことを特徴とする。
【選択図】図7

Description

この発明は、車両の側部車体構造、より詳しく言えば、リヤサスペンション装置の上部を支持するサスペンションタワー部が一体的に設けられたリヤホイールハウスと、該リヤホイールハウスの近傍から略上方へ延びるピラー部と、を備えた車両の側部車体構造に関する。
自動車等の車両の側部車体構造として、車体側壁にリヤホイール(後輪)の少なくとも上部を収容するリヤホイールハウスが設けられ、このリヤホイールハウスに、リヤサスペンション装置(後輪懸架装置)の上部を支持するサスペンションタワー部が一体的に設けられた構成を有するものは、一般に良く知られている。
かかる側部車体構造では、リヤサスペンション装置への入力荷重が、サスペンションタワー部に作用しリヤホイールハウスに伝達されるので、このリヤホイールハウスに伝達される荷重を如何にして車体各部に分散させ、リヤホイールハウスによる(つまりサスペンションタワー部による)サスペンション装置の支持剛性を確保するかが、車両の操縦安定性を高める上で重要である。
また、リヤサスペンション装置からサスペンションタワー部への荷重は、通常、やや斜め内側上方に向けて入力されるので、リヤホイールハウス上部の剛性が(換言すれば、サスペンションタワー部の剛性が)十分でない場合には、所謂、サスペンションタワー部の内倒れを招き、車両の操縦安定性に悪影響を及ぼすことになる。
特に、ハッチバック型の自動車など、車室後部を車両後方に向かって開放する或る程度大きな開口が車体後壁に形成されたタイプの車両の場合には、リヤホイールハウスに伝達される荷重を車体各部に分散させる上で構造面の制約が多くなり、サスペンション装置の支持剛性を十分に確保することがそれだけ難しくなることが知られている。
かかる問題に関連して、例えば、特許文献1には、リヤホイールハウスの上部から車体後壁における開口周辺部分に向けて車両前後方向に延びる連結ガセットを設けると共に、リヤホイールハウスの上部から略上方に延びてピラー部に至るリヤピラー・レインフォースメントを設け、リヤサスペンション装置からサスペンションタワー部へ入力される荷重を、車体後壁と車体ルーフ部へ分散させるようにした構成が開示されている。
特開2006−69268号公報
しかしながら、特許文献1に開示された構成においても、車種によっては、リヤホイールハウスの上部から車体後壁までの距離が(従って、前記連結ガセットの長さが)長くなり過ぎたり、或いは、連結ガセットのリヤホイールハウス上部および/又は車体後壁に対する連結状態での角度などを好適に設定することが困難となる場合がある。かかる場合には、サスペンション装置からリヤホイールハウス側へ(つまりサスペンションタワー部へ)入力される荷重を車体後壁へ効果的に分散させることは、実際にはかなり難しくなる。
本発明は、かかる実情に鑑みてなされたもので、車体後壁に開口が設けられると共に、車体側壁にリヤホイールハウスが設けられ、このリヤホイールハウスに、リヤサスペンション装置の上部を支持するサスペンションタワー部が一体的に設けられた構成を有する車両の側部車体構造において、サスペンション装置からリヤホイールハウス側へ(つまりサスペンションタワー部へ)入力される荷重を車体側へ分散させるに際し、より安定して効果的な荷重の分散を実現できるようにすることを目的とする。
このため、本願の第1の発明(請求項1に係る発明)は、開口を有する車体後壁と、該車体後壁の前方に位置する車体側壁と、該車体側壁に設けられたリヤホイールハウスと、該リヤホイールハウスと一体的に設けられリヤサスペンション装置の上部を支持するサスペンションタワー部と、少なくともその一部が前記リヤホイールハウスの近傍から略上方へ延びるピラー部と、を備えた車両の側部車体構造であって、
少なくともその一部が前記リヤホイールハウスの上部から前記ピラー部を通って略上方へ延びてルーフレール部に至るピラー・レインフォースメントが設けられ、該ピラー・レインフォースメントの外側面に、前記リヤホイールハウスの上部から前記ルーフレール部に至る稜線を形成する段差部が設けられている、ことを特徴としたものである。
また、本願の第2の発明(請求項2に係る発明)は、前記第1の発明において、前記段差部は前記車体側壁に設けられるサイドウインドウの前部に対応する位置に設けられ、前記段差部の下部が前記リヤホイールハウスの上部まで連続するように延設される一方、前記段差部の上部は前記ルーフレール部まで連続するように延設されている、ことを特徴としたものである。
更に、本願の第3の発明(請求項3に係る発明)は、前記第1又は第2の発明において、前記車体側壁に設けられるサイドウインドウの下側に、車体前後方向に延びるベルトライン・レインフォースメントが配設され、前記ピラー・レインフォースメントの上下方向における途中部が前記ベルトライン・レインフォースメントに結合されている、ことを特徴としたものである。
また更に、本願の第4の発明(請求項4に係る発明)は、前記第1から第3の何れかの発明において、前記ピラー・レインフォースメントの上部は、前記ルーフレール部の内部に配設されたルーフレール・レインフォースメントに結合されている、ことを特徴としたものである。
また更に、本願の第5の発明(請求項5に係る発明)は、前記第1から第4の何れかの発明において、前記ピラー・レインフォースメントの前記ルーフレール部との結合部に、該ルーフレール部の内部を車幅方向に横切る節部が設けられている、ことを特徴としたものである。
また更に、本願の第6の発明(請求項6に係る発明)は、前記第1から第5の何れかの発明において、前記サスペンションタワー部と前記ルーフレール部とを連結するピラーインナ・レインフォースメントが略上下方向に延設され、該ピラーインナ・レインフォースメントと前記ピラー・レインフォースメントとで閉断面が形成されている、ことを特徴としたものである。
本願の第1の発明によれば、少なくともその一部がリヤホイールハウスの近傍から略上方へ延びるピラー部に、該ピラー部を通って少なくともその一部がリヤホイールハウスの上部から略上方へ延びてルーフレール部に至るピラー・レインフォースメントを設けたことにより、サスペンション装置からリヤホイールハウス側へ(つまりサスペンションタワー部へ)入力される荷重を確実に車体ルーフ側へ分散させることができる。特に、ピラー・レインフォースメントの外側面に、リヤホイールハウスの上部からルーフレール部に至る稜線を形成する段差部を設けたので、当該ピラー・レインフォースメントの剛性をより高めて、車体ルーフ側への効果的な荷重分散を安定して実現できる。これにより、リヤホイールハウスによるサスペンション装置の支持剛性を十分に確保し、車両の操縦安定性を高めることができる。
また、本願の第2の発明によれば、基本的には前記第1の発明と同様の作用効果を奏することができる。特に、車体側壁にサイドウインドウが設けられている場合について、サイドウインドウの前部に対応する位置に設けた段差部は、その下部がリヤホイールハウスの上部まで連続するように、一方その上部はルーフレール部まで連続するように、それぞれ延設されており、これにより、リヤホイールハウスの上部からルーフレール部まで連続して段差部が形成され、ピラー・レインフォースメントの剛性をより一層高めてサスペンション装置の支持剛性の向上を図ることができる。
更に、本願の第3の発明によれば、基本的には前記第1又は第2の発明と同様の作用効果を奏することができる。特に、車体側壁にサイドウインドウが設けられている場合について、サイドウインドウの下側に、車体前後方向に延びるベルトライン・レインフォースメントが配設され、ピラー・レインフォースメントの上下方向における途中部がベルトライン・レインフォースメントに結合されていることにより、ピラー・レインフォースメントの剛性を更に一層高めてサスペンション装置の支持剛性の更なる向上を図ることができる。
また更に、本願の第4の発明によれば、基本的には前記第1から第3の何れかの発明と同様の作用効果を奏することができる。特に、ピラー・レインフォースメントの上部がルーフレール部の内部に配設されたルーフレール・レインフォースメントに結合されているので、ピラー・レインフォースメントからルーフレール・レインフォースメントに荷重を伝達して、車体ルーフ側へのより効果的な荷重分散を実現することができる。
また更に、本願の第5の発明によれば、基本的には前記第1から第4の何れかの発明と同様の作用効果を奏することができる。特に、ピラー・レインフォースメントのルーフレール部との結合部に、該ルーフレール部の内部を車幅方向に横切る節部が設けられていることにより、ピラー・レインフォースメントとルーフレール部との結合強度をより高めて、車体ルーフ側へのより一層効果的な荷重分散を実現することができる。
また更に、本願の第6の発明によれば、基本的には前記第1から第5の何れかの発明と同様の作用効果を奏することができる。特に、サスペンションタワー部とルーフレール部とを連結して略上下方向に延設されたピラーインナ・レインフォースメントとピラー・レインフォースメントとで閉断面が形成されていることにより、ピラー・レインフォースメントの剛性を更に高めてサスペンション装置の支持剛性のより一層の向上を図ることができ、また、ピラー・レインフォースメントとルーフレール部との結合強度をより一層高めて、車体ルーフ側への更に一層効果的な荷重分散を実現することができる。
以下、本発明の実施形態について、添付図面を参照しながら説明する。
図1は、本実施形態に係る車両の後部における右側の側部車体構造を車体外方から見て示した斜視図である。また、図2は、前記側部車体構造を車体内方から見て示した斜視図である。尚、図1は車体側部が外板パネル2で覆われた状態を示し、の図2は車室各部の内板パネルの車室側を覆う装飾部材としての室内トリム(不図示)等が配設されていない状態を示すものである。
本実施形態に係る車両は、所謂ハッチバック型の自動車で、図2から分かるように、車室後端の壁面を構成する車体後壁部5には、車室後部を車両後方に向かって開放する大きな開口5Hが形成されている。この開口5Hは、所謂バックドア(不図示)により開閉されるものである。
車体側部には、前記後壁部5の車幅方向における端部から前方に張り出すようにして車体側壁部6が設けられ、この側壁部6には、該側壁6から車幅方向における内方へ膨出するようにして、リヤホイールハウス7が形成されている。尚、該リヤホイールハウス7の上部は、車幅方向における外方へも膨出している。
リヤホイールハウス7は、リヤホイール(不図示)の少なくとも上部を覆って収容するもので、その車体前後方向における略中央部分には、サスペンションタワー部8が一体的に設けられている。このサスペンションタワー部8は、リヤホイールを懸架するリヤサスペンション装置(共に不図示)の上部を支持するためのもので、やはり側壁部6から車幅方向における内方へ膨出するようにして、リヤホイールハウス7と一体的に設けられている。
前記車体後壁部5,車体側壁部6およびリヤホイールハウス7の下端部は、車室底面を構成するフロア部11に結合されている。該フロア部11のリヤホイールハウス7よりも前方部分は、車体前後方向に延びるサイドシル部12によって、車幅方向における両側端部が支持されている。
また、車体側壁部6の上方には、車体前後方向に延びるルーフレール部14が配設されている。該ルーフレール部14は、車室天井面を構成するルーフ部(不図示)の車幅方向における側端部を支持するものである。
更に、前記車体側部には、少なくともその一部が、リヤホイールハウス7の上部またはその近傍から略上方へ延びてルーフレール部14に至るピラー部17(所謂Cピラー:後側中間ピラー)が延設されている。本実施形態では、Cピラー17の上半部17U(略上半部分)が、上述のように、リヤホイールハウス7の上部またはその近傍から略上方へ延びてルーフレール部14に至ると共に、Cピラー17の下半部17L(略下半部分)は、前記リヤホイールハウス7の上部またはその近傍から当該リヤホイールハウス7の前部に沿って略下方に延びてサイドシル部12に至るまで延設されている。
このCピラー17の前側には乗員乗降用のドア開口17Hが設けられ、該ドア開口17Hの前側には、ルーフレール部14とサイドシル部12とを連結して略上下方向に延びるピラー部16(所謂Bピラー:前側中間ピラー)が位置している。
一方、前記Cピラー17の後側には、車室後部の小窓としてのサイドウインドウ用の開口6Hが車体側壁部6に設けられ、このサイドウインドウ用開口6Hの下側には、車体前後方向に延びる所定幅の所謂ベルトライン部9が位置している(図1参照)。
また、サイドウインドウ用開口6Hの後側には、最も車体後方のピラー部18(所謂Dピラー:リヤピラー)が位置している。更に、具体的には図示しなかったが、Bピラー16よりも前方には、最も車体前方に位置するピラー部(所謂Aピラー:フロントピラー)が配設されている。
以上のように、車体側部には、前側から順に、Aピラー(不図示),Bピラー16,Cピラー17及びDピラー18がそれぞれ略上下方向に延設されており、前記ルーフレール部14は、これら4本のピラーの上端に連結され強固に支持されている。
本実施形態では、主として前記Cピラー17及びその周辺の補強構造等を利用することにより、車両走行時にリヤサスペンション装置からリヤホイールハウス7側へ(つまりサスペンションタワー部8へ)入力される荷重を、より安定して効果的に車体側へ分散させるようにしている。次に、主として前記Cピラー17及びその周辺の補強構造等について説明する。
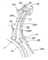
図3は、図1から外板パネルを取り除いた状態での側部車体構造を示す車体外方からの斜視図である。図4〜図6は何れもサイドウインドウ用開口の周辺の構造あるいは補強構造を拡大して示す車体外方からの斜視図であって、図4は図3からピラーアウタ・レインフォースメントを取り除いた状態を、図5は図4からベルトライン・レインフォースメントを取り除いた状態を、また、図6は図5からピラーインナ・レインフォースメントを取り除いた状態を、それぞれ示している。更に、図7はピラーアウタ・レインフォースメントのサイドウインドウ前部に対応する部分を拡大して示す斜視図、図8はピラーアウタ・レインフォースメントのサイドウインドウ用開口の周辺への固定構造を拡大して示す斜視図である。また更に、図9は、Cピラーのサイドウインドウ前部に対応する部分の断面構造を拡大して示す斜視図である。
また、図10〜図13は何れもサイドウインドウ用開口の周辺およびリヤホイールハウス上部の補強構造を拡大して示す車体内方からの斜視図であって、図10は図2からルーフレール部,Bピラー部およびDピラー部の内板パネルを取り除いた状態を、図11は図10からベルトラインのインナパネルを取り除いた状態を、図12は図11からサスペンションタワーのアウタ部材を取り除いた状態を、また、図13は図12からサスペンションタワーの補強部材を取り除いた状態を、それぞれ示している。更に、図14は図13からリヤホイールハウスを取り除いた状態での側部車体構造を示す車体内方からの斜視図である。また更に、図15は図14からピラーインナ・レインフォースメントを取り除いた状態でのサイドウインドウ用開口の周辺およびリヤホイールハウス上部の補強構造を拡大して示す車体内方からの斜視図である。また更に、図16は、サスペンション・タワー部上部の補強構造を拡大して示す部分断面斜視図、また更に、図17は、ピラーインナ・レインフォースメントの上部とルーフレール部との結合構造を拡大して示す斜視図である。
図3からよく分かるように、前記Cピラー17には、該Cピラー17の強度および剛性を高めるための補強部材の一つとして、ピラーアウタ・レインフォースメント20が配設されている。該ピラーアウタ・レインフォースメント20は、Cピラー17の比較的車体外方部分に配設され、比較的車体内方部分に配設されるピラーインナ・レインフォースメント30(図2参照)と、少なくとも一部が組み合わされて用いられる。
ピラーアウタ・レインフォースメント20の上半部20U(略上半部分)は、リヤホイールハウス7の上部からCピラー部17内を通って略上方へ延び、ルーフレール部14に至り、その上端部がルーフレール部14に例えばスポット溶接法などにより結合されている。一方、前記ピラーアウタ・レインフォースメント20の下半部20L(略下半部分)は、リヤホイールハウス7の上部から当該リヤホイールハウス7の前部に沿って略下方に延びてサイドシル部12に至り、その下端部がサイドシル部12に例えばスポット溶接法などにより結合されている。
このように、Cピラー17を通ってリヤホイールハウス7の上部から略上方へ延びてルーフレール部14に至ると共に、リヤホイールハウス7の上部から当該リヤホイールハウス7の前部に沿って略下方に延びてサイドシル部12に至るピラーアウタ・レインフォースメント20を設けたことにより、サスペンション装置(不図示)からリヤホイールハウス7側へ(つまりサスペンションタワー部8へ)入力される荷重を、確実に車体ルーフ側と車体フロア11とに分散させることができる。これにより、リヤホイールハウス7によるサスペンション装置の支持剛性を十分に確保し、車両の操縦安定性を高めることができる。
前記ピラーアウタ・レインフォースメント20の上下の結合構造をより具体的に説明すれば、ルーフレール部14の内部には、該ルーフレール部14の強度および剛性を高めるための補強部材の一つとして、ルーフレール・レインフォースメント44が配設されている(図3参照)。前記ピラーアウタ・レインフォースメント20の上半部20Uは、その上端部が、ルーフレール部14の内部に配設された前記ルーフレール・レインフォースメント44に、例えばスポット溶接法などを適用して結合されている。
これにより、ピラーアウタ・レインフォースメント20からルーフレール・レインフォースメント44に荷重を伝達して、車体ルーフ側へのより効果的な荷重分散を実現することができる。
また、ピラーアウタ・レインフォースメント20の上半部20U(略上半部分)の下端側は、リヤホイールハウス7の上部において車幅方向の外方に膨出する外側膨出部7aに、例えばスポット溶接法を適用して結合されている。
従って、リヤホイールハウス7の上部から略上方へ延びてルーフレール部に至るピラー・レインフォースメント20の上半部20Uにより、サスペンション装置(不図示)からリヤホイールハウス7側へ(つまりサスペンションタワー部8へ)入力される荷重を、確実に車体ルーフ側へ分散させることができ、リヤホイールハウス7によるサスペンション装置の支持剛性が高められる。
一方、ピラーアウタ・レインフォースメント20の下半部20L(略下半部分)は、リヤホイールハウス7の上部から当該リヤホイールハウス7の前部に沿って略下方に延びてサイドシル部12に至り、その下端部が、サイドシル部12の内部に配設されたサイドシル・レインフォースメント42に結合されている。また、ピラーアウタ・レインフォースメント20(具体的には、その下半部20L)とリヤホイールハウス7の前部との間には、閉断面が形成されている。
これにより、ピラーアウタ・レインフォースメント20からサイドシル・レインフォースメント42に荷重を伝達して、車体フロア11側へのより効果的な荷重分散を実現することができる。また、ピラーアウタ・レインフォースメント20とリヤホイールハウス7の前部との間に閉断面が形成されていることにより、ピラーアウタ・レインフォースメント20(その下半部20L)とサイドシル部12との結合強度をより一層高めて、車体フロア側へのより一層効果的な荷重分散を実現することができる。
尚、Bピラー部16内には、上端側がルーフレール・レインフォースメント44に連結され、下端側がサイドシル・レインフォースメント42に連結されるBピラー・レインフォースメント46が配設されている。また、Dピラー部18内には、上端側がルーフレール・レインフォースメント44の後端部に連結され、下端側が例えば後壁部5に連結されるDピラー・レインフォースメント48が配設されている。
また、車体側壁部6に設けられたサイドウインドウ用開口6Hの下側に位置するベルトライン部9には、該ベルトライン部9の補強部材の一つとして、車体前後方向に延びるベルトライン・レインフォースメント39が配設されている。そして、このベルトライン・レインフォースメント39の前端部分は、ピラーアウタ・レインフォースメント20の上下方向における途中部に(本実施形態では、ピラーアウタ・レインフォースメント20の上半部20Uの上下方向における途中部に)、例えばスポット溶接法などを用いて結合されている。
このように、ピラーアウタ・レインフォースメント20の(具体的には、その上半部20Uの)上下方向における途中部がベルトライン・レインフォースメント39に結合されていることにより、ピラーアウタ・レインフォースメント20の(とりわけ、その上半部20Uの)剛性をより高めて、サスペンション装置(不図示)の支持剛性をより高めることができる。
本実施形態では、図7に詳しく示すように、前記ピラーアウタ・レインフォースメント20の外側面に、リヤホイールハウス7の上部からルーフレール部14に至る稜線21R(第1稜線)を形成する段差部21(第1段差部)と、ルーフレール部14からサイドシル部12に至る稜線22R(第2稜線)を形成する段差部22(第2段差部)とが設けられている。この第2段差部22及び第2稜線22Rは、第1段差部21及び第1稜線21Rよりも所定量だけ車体内方に位置している。
これら稜線21R,22Rは、各段差部21,22をそれぞれ形成する面の縁部どうしが突き合わされて線(エッジライン)を形成して得られるもので、周知のように、かかる稜線21R,22Rを形成する段差部21,22をパネル材(この場合、ピラーアウタ・レインフォースメント20)に設けることにより、単なる平板状の場合に比して部材の剛性を大幅に高めることが可能である。
前記第1段差部21は、前記サイドウインドウ用開口6Hの前部に対応する位置に設けられ、第1段差部21の下部はリヤホイールハウス7の上部まで連続するように延設されると共に、当該第1段差部21の上部はルーフレール部14まで連続するように延設されている。
一方、第2段差部22は、第1段差部21及び第1稜線21Rよりも所定量だけ車体内方に設けられ、第2段差部22の下半部(略下半部分)はサイドシル部12の後端部まで連続するように延設される(図3参照)と共に、当該第2段差部22の上部(略上半部分)はルーフレール部14まで連続するように延設されている。
以上のように、ピラーアウタ・レインフォースメント20の外側面に、リヤホイールハウス7の上部からルーフレール部14に至る第1稜線21Rを形成する第1段差部21を設けたことにより、当該ピラーアウタ・レインフォースメント20の(特に、その上半部20Uの)剛性をより高めて、車体ルーフ側への効果的な荷重分散を安定して実現できる。これにより、リヤホイールハウス7によるサスペンション装置(不図示)の支持剛性を十分に確保し、車両の操縦安定性を高めることができる。
特に、サイドウインドウ用開口6Hの前部に対応する位置に設けた第1段差部21は、その下部がリヤホイールハウス7の上部まで連続するように、一方その上部はルーフレール部14まで連続するように、それぞれ延設されており、これにより、リヤホイールハウス7の上部からルーフレール部14まで連続して段差部21が形成され、ピラーアウタ・レインフォースメント20の(特に、その上半部20Uの)剛性をより一層高めてサスペンション装置の支持剛性の向上を図ることができるのである。
また、ピラーアウタ・レインフォースメント20の外側面に、ルーフレール部14からサイドシル部12(図3参照)に至る稜線22Rを形成する第2段差部22を設けたことにより、ルーフレール部14からサイドシル部12に至るまで当該ピラーアウタ・レインフォースメント20の剛性をより高めて、車体フロア11側および車体ルーフ側への効果的な荷重分散を安定して実現することができる。
特に、サイドウインドウ用開口6Hの前部に対応する位置を通る第2段差部22は、その下半部がサイドシル部12の後端部まで連続するように、一方、その上半部はルーフレール部14まで連続するように、それぞれ延設されており、これにより、サイドシル部の後端部からルーフレール部14まで連続して段差部22が形成され、ピラーアウタ・レインフォースメント20の剛性をより一層高めてサスペンション装置の支持剛性の向上を図ることができるのである。
また、図7に示されるように、ピラーアウタ・レインフォースメント20のルーフレール部14との結合部には、ピラーアウタ・レインフォースメント20の上端部における車体後方の端部を曲折して形成した曲折部23が設けられ、この曲折部23の縁部は、例えばスポット溶接法などにより、ルーフレール部14に接合されている。この曲折部23は、ルーフレール部14の内部を車幅方向に横切るように広がっている。つまり、前記曲折部23は、ルーフレール部14の内部を車幅方向に横切る一種の「節部」として作用する。
かかる節部23を設けることにより、ピラーアウタ・レインフォースメント20とルーフレール部14との結合強度をより高めて、車体ルーフ側へのより一層効果的な荷重分散を実現することができる。
尚、かかる節部23は、ピラーアウタ・レインフォースメント20の車体前後方向における前方と後方の2箇所にそれぞれ設けられることがより好ましい。これにより、ピラーアウタ・レインフォースメント20とルーフレール部14との結合強度をより一層高めて、車体ルーフ側への更に一層効果的な荷重分散を実現することができる。
図3及び図7において実線で示した例では、第1,第2の段差部21,22は、その上端部は何れも、ルーフレール部14の下側で終端しているが、この代わりに、図7において2点鎖線で表示されるように、これら第1,第2の段差部21,22の上端部がルーフレール部14の内部に入り込むように延長して構成してもよい。
この構成においても、ピラーアウタ・レインフォースメント20の外側面に設けた段差部21,22が、一種の「節部」として作用してピラーアウタ・レインフォースメント20とルーフレール部14との結合強度をより一層高め、車体ルーフ側へのより効果的な荷重分散を実現することができる。
尚、本実施形態では、前記ピラーアウタ・レインフォースメント20は、上半部20U(上半部分)と下半部20L(下半部分)とを備え、ルーフレール部14とサイドシル部12との間で略上下方向に延設されているが、この代わりに、図7において2点鎖線で表示されるように、ピラーアウタ・レインフォースメント20’を上半部のみで構成するようにしてもよい。この場合、ピラーアウタ・レインフォースメント20’の下端部は、リヤホイールハウス7の上部において車幅方向の外方に膨出する外側膨出部7aに、例えばスポット溶接法を適用して結合される。
この構成においても、リヤホイールハウス7の近傍から略上方へ延びるピラー部(Cピラー上半部17U)に、該ピラー部17Uを通ってリヤホイールハウス7の上部から略上方へ延びてルーフレール部14に至るピラーアウタ・レインフォースメント20’を設けたことにより、サスペンション装置(不図示)からリヤホイールハウス7側へ(つまりサスペンションタワー部8へ)入力される荷重を、確実に車体ルーフ側へ分散させることができ、リヤホイールハウス7によるサスペンション装置の支持剛性を高める上で十分に有効である。
この場合においても、特に、ピラーアウタ・レインフォースメント20’の外側面に、リヤホイールハウス7の上部からルーフレール部14に至る稜線21Rを形成する段差部21を設けたことにより、当該ピラー・レインフォースメントの剛性をより高めて、車体ルーフ側への効果的な荷重分散を安定して実現できる。これにより、リヤホイールハウス7によるサスペンション装置の支持剛性を十分に確保し、車両の操縦安定性を高めることができる。
尚、発明者等は、車体の開発・設計の過程を通じて、車両走行時にリヤサスペンション装置からリヤホイールハウス7側へ荷重入力があった場合、Cピラー17の周辺ではサイドウインドウ用開口6Hの前側下部の隅部6cに応力集中が生じることを知見した。
そこで、より好ましくは、図8に示すように、サイドウインドウ用開口6Hの下側に位置するベルトライン・レインフォースメント39の前端部分に、比較的なだらか傾斜部39kと、該傾斜部39kに続く平坦部39fとを設け、この平坦部39fを後述するピラーインナ・レインフォースメント30に接合するようにしている。
このような構成を採用することにより、ピラーインナ・レインフォースメント30と、ベルトライン・レインフォースメント39との間で形成される閉断面空間部S3の断面が、前記隅部6c及びその近傍で急変することを回避し、この部分での応力集中を緩和することができる。
この場合、ピラーアウタ・レインフォースメント20の上半部20U(略上半部分)の下端側は、前記傾斜部39k及び平坦部39fの外面とでベルトライン・レインフォースメント39の前端部分に接合される。
図4に示すように、Cピラー部17内のピラーアウタ・レインフォースメント20よりも車体内方には、当該Cピラー部17の今一つの補強部材としてピラーインナ・レインフォースメント30が配設されている。このピラーインナ・レインフォースメント30は、図3,図10及び図11から分かるように、サスペンションタワー部8の上部とルーフレール部14とを連結するもので、略上下方向に延設されている。尚、ピラーインナ・レインフォースメント20の下端外側には、前述のベルトライン・レインフォースメント39の前端部分が、例えばスポット溶接法などにより接合されている(図4参照)。
本実施形態では、前記ピラーインナ・レインフォースメント30は、通常の内板部材よりも厚肉に設定されている。例えば、後述するベルトライン・インナパネル38の板厚は約0.8〜0.9mm程度であるが、ピラーインナ・レインフォースメント30の板厚は約1.2mmに設定されている。
このように厚肉に設定されたピラーインナ・レインフォースメント30の一部(例えば、サイドウインドウ用開口6Hの前部に対応する範囲の部分)が、この範囲の部分でCピラー部17の内板パネル(インナパネル)を兼用するように構成されている。ピラーインナ・レインフォースメント30を上記のように厚肉に設定したことにより、ピラーインナ・レインフォースメント30の一部を、支障なくCピラー部17のインナパネルと兼用させることができる。
そして、この部分では、図9に示すように、ピラーインナ・レインフォースメント30と前記ピラーアウタ・レインフォースメント20とで閉断面空間S1が形成されている。
このように、リヤホイールハウス7の上部(つまり、サスペンションタワー部8の上部)とルーフレール部14とを連結して略上下方向に延設されたピラーインナ・レインフォースメント30とピラーアウタ・レインフォースメント20とで閉断面空間S1が形成されていることにより、ピラーアウタ・レインフォースメント20の剛性をより高めてサスペンション装置(不図示)の支持剛性のより一層の向上を図ることができ、また、ピラーアウタ・レインフォースメント20とルーフレール部14との結合強度をより一層高めて、車体ルーフ側への更に一層効果的な荷重分散を実現することができる。
また、ピラーアウタ・レインフォースメント20と車体外板パネル2との間にも閉断面空間S2が形成されている。つまり、Cピラー部17のサイドウインドウ用開口6Hの前部に対応する範囲の部分では、ピラーアウタ・レインフォースメント20を挟んで車体内方と外方とに2つの閉断面空間S1,S2が形成されており、更に一層高い剛性が確保されている。
尚、図10からよく分かるように、Cピラー部17の車室側は、サイドウインドウ用開口6Hの前部に対応する範囲では、前述のようにピラーインナ・レインフォースメント30の一部がCピラー部17のインナパネルを兼用し、その下側のリヤホイールハウス7の上部近傍までの範囲は、後述するベルトライン・インナパネル38で覆われ、更にそれよりも下側の範囲(ピラーアウタ・レインフォースメント20の下半部20Lにほぼ対応する範囲)は、内板パネル57(ピラー・インナパネル)で覆われている。
前記サイドウインドウ用開口6Hの下側において車体前後方向に延びるベルトライン9の車室内側には、図3〜6及び図10に示されるように、車体前後方向に延びるベルトライン・インナパネル38が配設されている。
また、図2及び図10〜12に示されるように、リヤホイールハウス7の車体前後方向における中央部分の上部(つまり、サスペンションタワー部8の上部)には、サスペンションタワー部8の強度および剛性を高めるための補強部材の一つとして、サスペンションタワーアウタ・レインフォースメント37(以下、サスタワーアウタ・レインフォースメントと略称する)が配設され、その下側には、サスペンションタワーインナ・レインフォースメント36(以下、サスタワーインナ・レインフォースメントと略称する)が配設されている。
該サスタワーインナ・レインフォースメント36は、図13〜15に示されるサスペンションタワー本体部35(以下、サスタワー本体部と略称する)と、リヤホイールハウス7の上面との結合強度をより高めることができ、更にその上にサスタワーアウタ・レインフォースメント37を設けることにより、サスペンションタワー部8の強度および剛性が大幅に高められている。
前記ベルトライン・インナパネル38は、図16から分かるように、車幅方向における内方に膨出する膨出部38aを有しており、この膨出部38aの略平坦な頂部38bに、前記サスタワーアウタ・レインフォースメント37の上端フランジ部37fが、例えばスポット溶接法などにより接合されている。また、ベルトライン・インナパネル38の膨出部38aよりも下方の縦壁部38cには、前記サスタワーインナ・レインフォースメント36の上端フランジ部36fが、例えばスポット溶接法などにより接合されている。
ベルトライン・インナパネル38(図10参照)の外側には、図11及び図16に示されるように、車体前後方向に延びる前記ベルトライン・レインフォースメント39が位置している。そして、ベルトライン・インナパネル38の前記膨出部38aの前部を挟んで、前記ピラーインナ・レインフォースメント30とサスタワーアウタ・レインフォースメント37とが結合されている。
すなわち、ピラーインナ・レインフォースメント30は、図11〜14に示されるように、サイドウインドウ用開口6Hの前部に対応する範囲の部分よりも下側において、後方へ所定量だけ張り出した張り出し部31を備えている。そして、図16に詳しく示すように、前記張り出し部31に、車幅方向における外方に開口する略コ字形の断面形状を有する断面コ字状部32が設けられ、該断面コ字状部32は、ベルトライン・インナパネル38の膨出部38aに対応する箇所に配置されている。
ピラーインナ・レインフォースメント30の断面コ字状部32は、略平坦な頂部32bを有しており、この頂部32bがベルトライン・インナパンネル38の膨出部38aに設けた頂部38bの内側に当接し、サスタワーインナ・レインフォースメント36の上端フランジ部36fと3枚重ねにして、例えばスポット溶接法などにより接合されている。
換言すれば、ベルトライン・インナパネル38の前記膨出部38aの前部を挟んで、前記ピラーインナ・レインフォースメント30とサスタワーアウタ・レインフォースメント37とが結合されていることになる。
また、ベルトライン・レインフォースメント39は、ベルトライン・インナパネル38の前記膨出部38aに対応して、車幅方向における外方に膨出する膨出部39aを備えている。このベルトライン・レインフォースメント39の膨出部39a,ピラーインナ・レインフォースメント30の断面コ字状部32およびベルトライン・インナパネル38の膨出部38bの上下部分は、端部のフランジを3枚重ねにして、例えばスポット溶接法などにより接合されている。
これにより、ベルトライン・レインフォースメント39とピラーインナ・レインフォースメント30との間に閉断面空間S3(図16参照)が形成され、この部分の剛性向上に寄与している。更に、より好ましくは、ピラーインナ・レインフォースメント30とベルトライン・インナパネル38との間にも、両者の接合部(頂部32bと頂部38bとの接合部)を挟むようにして閉断面空間S4,S5が形成され、この部分の剛性の更なる向上に寄与している。
以上のように、ピラーインナ・レインフォースメント30は、車幅方向における外方に開口する断面コ字状部32を備え、該断面コ字状部32の頂部32bが、サスペンションタワー部8を補強するサスタワーアウタ・レインフォースメント37に結合されているので、サスペンション装置(不図示)からの入力荷重を、サスタワーアウタ・レインフォースメント37及び前記断面コ字状部32の頂部32bを介して確実にピラーインナ・レインフォースメント30に伝達し、車体ルーフ側への効果的な荷重分散を安定して実現できる。これにより、リヤホイールハウス7によるサスペンション装置の支持剛性を十分に確保し、車両の操縦安定性を高めることができる。
また、サイドウインドウ用開口6Hの下側において車体前後方向へ延設されたベルトライン・インナパネル38の車体内方への膨出部38aの前部を挟んで、ピラーインナ・レインフォースメント30とサスタワーアウタ・レインフォースメント37とを結合したので、ベルトライン・インナパネル38の前記膨出部38aを利用して、ピラーインナ・レインフォースメント30の剛性をより高めてサスペンション装置の支持剛性の向上を図ることができる。
更に、ベルトライン・インナパネル38の前記膨出部38aの外側において、車体前後方向に延設されたベルトライン・レインフォースメント39とピラーインナ・レインフォースメント30との間に閉断面空間32が形成されているので、この閉断面構造の存在により、ピラーインナ・レインフォースメント30の剛性を更に高めてサスペンション装置の支持剛性の更なる向上を図ることができる。
特に、ベルトライン・レインフォースメント39は、ベルトライン・インナパネル38の前記膨出部38aに対応して車幅方向における外方に膨出する膨出部39aを備えているので、ベルトライン・レインフォースメント39とピラーインナ・レインフォースメント30との間の閉断面空間S3をより大きく形成することができ、閉断面構造の存在によるピラーインナ・レインフォースメント30の剛性向上効果を更に高めることができる。
また、図17に示すように、前記ピラーインナ・レインフォースメント30の上端部、つまりルーフレール部14との結合部には、ピラーインナ・レインフォースメント30の上端における車体前方および後方の端部をそれぞれ曲折して形成した曲折部33f、33rが設けられ、これら曲折部33f、33rの縁部は、例えばスポット溶接法などにより、ルーフレール部14に接合されている。この場合、ピラーアウタ・レインフォースメント20の上端部の内面に接合されている。尚、ルーフレール部14の車室側は、内板パネル54(ルーフレール・インナパネル)で覆われている。
前記曲折部33f,33rは、ルーフレール部14の内部を車幅方向に横切るように広がっている。つまり、前記曲折部33f,33rは、ルーフレール部14の内部を車幅方向に横切る一種の「節部」として作用する。
かかる節部33f,33rを設けたことにより、ピラーインナ・レインフォースメント30とルーフレール部14との結合強度をより高めて、車体ルーフ側へのより効果的な荷重分散を実現することができる。また、結合部に前記節部33f,33rを設けたことにより、ルーフレール部14の断面の捩り抵抗でサスペンションタワー部8の内倒れを抑制することができる。
特に、前記節部33f,33rがピラーインナ・レインフォースメント30の車体前後方向における前方と後方の2箇所にそれぞれ設けられているので、ピラーインナ・レインフォースメント30とルーフレール部14との結合強度をより一層高めて、車体ルーフ側へのより一層効果的な荷重分散を実現することができるのである。
以上、説明したように、本実施形態によれば、車体後壁5に開口5Hが設けられると共に車体側壁6にリヤホイールハウス7が設けられ、このリヤホイールハウス7に、リヤサスペンション装置(不図示)の上部を支持するサスペンションタワー部8が一体的に設けられた構成を有する車両の側部車体構造において、サスペンション装置からリヤホイールハウス7側へ(つまりサスペンションタワー部8へ)入力される荷重を、より安定して効果的に車体側へ分散させることができる。これにより、リヤホイールハウス7によるサスペンション装置の支持剛性を十分に確保し、車両の操縦安定性を高めることができるのである。
尚、本発明は、以上の実施形態に限定されるものではなく、その要旨を逸脱しない範囲内において、変更および改良等がなされるものであることは、いうまでもない。
本発明は、リヤサスペンション装置の上部を支持するサスペンションタワー部が一体的に設けられたリヤホイールハウスと、該リヤホイールハウスの近傍から略上方へ延びるピラー部と、を備えた車両の側部車体構造に関し、例えば、ハッチバック型の自動車など、車室後部を車両後方に向かって開放する或る程度大きな開口が車体後壁に形成されたタイプの車両の側部車体構造として、有効に利用することができる。
本発明の実施形態に係る車両の後部における右側の側部車体構造を車体外方から見て示した斜視図である。 前記側部車体構造を車体内方から見て示した斜視図である。 図1から外板パネルを取り除いた状態での側部車体構造を示す車体外方からの斜視図である。 図3からピラーアウタ・レインフォースメントを取り除いた状態でのサイドウインドウ用開口の周辺の補強構造を拡大して示す車体外方からの斜視図である。 図4からベルトライン・レインフォースメントを取り除いた状態でのサイドウインドウ用開口の周辺の構造を拡大して示す車体外方からの斜視図である。 図5からピラーインナ・レインフォースメントを取り除いた状態でのサイドウインドウ用開口の周辺の構造を拡大して示す車体外方からの斜視図である。 ピラーアウタ・レインフォースメントのサイドウインドウ前部に対応する部分を拡大して示す斜視図である。 ピラーアウタ・レインフォースメントのサイドウインドウ用開口の周辺への固定構造を拡大して示す斜視図である。 Cピラーのサイドウインドウ前部に対応する部分の断面構造を拡大して示す斜視図である。 図2からルーフレール部,Bピラー部およびDピラー部の内板パネルを取り除いた状態でのサイドウインドウ用開口の周辺およびリヤホイールハウス上部の補強構造を拡大して示す車体内方からの斜視図である。 図10からベルトラインのインナパネルを取り除いた状態でのサイドウインドウ用開口の周辺およびリヤホイールハウス上部の補強構造を拡大して示す車体内方からの斜視図である。 図11からサスペンションタワーのアウタ部材を取り除いた状態でのサイドウインドウ用開口の周辺およびリヤホイールハウス上部の補強構造を拡大して示す車体内方からの斜視図である。 図12からサスペンションタワーの補強部材を取り除いた状態でのサイドウインドウ用開口の周辺およびリヤホイールハウス上部の補強構造を拡大して示す車体内方からの斜視図である。 図13からリヤホイールハウスを取り除いた状態での側部車体構造を示す車体内方からの斜視図である。 図14からピラーインナ・レインフォースメントを取り除いた状態でのサイドウインドウ用開口の周辺およびリヤホイールハウス上部の補強構造を拡大して示す車体内方からの斜視図である。 サスペンション・タワー部上部の補強構造を拡大して示す部分断面斜視図である。 ピラーインナ・レインフォースメントの上部とルーフレール部との結合構造を拡大して示す斜視図である。
符号の説明
5 車体後壁部
5H (車体後壁部の)開口
6 車体側壁部
6H サイドウインドウ用開口
7 リヤホイールハウス
7a (リヤホイールハウスの)外側膨出部
8 サスペンションタワー部
9 ベルトライン
11 フロア部
12 サイドシル部
14 ルーフレール部
17 Cピラー部
17L Cピラー部の下半部
17U Cピラー部の上半部
20,20’ ピラーアウタ・レインフォースメント
20L ピラーアウタ・レインフォースメントの下半部
20U ピラーアウタ・レインフォースメントの上半部
21 第1段差部
21R 第1稜線
22 第2段差部
22R 第2稜線
23 曲折部(節部)
30 ピラーインナ・レインフォースメント
32 断面コ字状部
32b 頂部
33f,33r 曲折部(節部)
37 サスタワーアウタ・レインフォースメント
38 ベルトライン・インナパネル
38a ベルトライン・インナパネルの膨出部
39 ベルトライン・レインフォースメント
39a ベルトライン・レインフォースメントの膨出部
42 サイドシル・レインフォースメント
44 ルーフレール・レインフォースメント
S1,S3 閉断面空間

Claims (6)

  1. 開口を有する車体後壁と、該車体後壁の前方に位置する車体側壁と、該車体側壁に設けられたリヤホイールハウスと、該リヤホイールハウスと一体的に設けられリヤサスペンション装置の上部を支持するサスペンションタワー部と、少なくともその一部が前記リヤホイールハウスの近傍から略上方へ延びるピラー部と、を備えた車両の側部車体構造であって、
    少なくともその一部が前記リヤホイールハウスの上部から前記ピラー部を通って略上方へ延びてルーフレール部に至るピラー・レインフォースメントが設けられ、
    該ピラー・レインフォースメントの外側面に、前記リヤホイールハウスの上部から前記ルーフレール部に至る稜線を形成する段差部が設けられている、
    ことを特徴とする車両の側部車体構造。
  2. 前記段差部は、前記車体側壁に設けられるサイドウインドウの前部に対応する位置に設けられ、
    前記段差部の下部が前記リヤホイールハウスの上部まで連続するように延設される一方、前記段差部の上部は前記ルーフレール部まで連続するように延設されている、
    ことを特徴とする請求項1に記載の車両の側部車体構造。
  3. 前記車体側壁に設けられるサイドウインドウの下側に、車体前後方向に延びるベルトライン・レインフォースメントが配設され、
    前記ピラー・レインフォースメントの上下方向における途中部が前記ベルトライン・レインフォースメントに結合されている、
    ことを特徴とする請求項1又は2に記載の車両の側部車体構造。
  4. 前記ピラー・レインフォースメントの上部は、前記ルーフレール部の内部に配設されたルーフレール・レインフォースメントに結合されている、ことを特徴とする請求項1から3の何れかに記載の車両の側部車体構造。
  5. 前記ピラー・レインフォースメントの前記ルーフレール部との結合部に、該ルーフレール部の内部を車幅方向に横切る節部が設けられている、ことを特徴とする請求項1から4の何れかに記載の車両の側部車体構造。
  6. 前記サスペンションタワー部と前記ルーフレール部とを連結するピラーインナ・レインフォースメントが略上下方向に延設され、
    該ピラーインナ・レインフォースメントと前記ピラー・レインフォースメントとで閉断面が形成されている、
    ことを特徴とする請求項1から5の何れかに記載の車両の側部車体構造。
JP2008209166A 2008-08-15 2008-08-15 車両の側部車体構造 Expired - Fee Related JP5157744B2 (ja)

Priority Applications (1)

Application Number Priority Date Filing Date Title
JP2008209166A JP5157744B2 (ja) 2008-08-15 2008-08-15 車両の側部車体構造

Applications Claiming Priority (1)

Application Number Priority Date Filing Date Title
JP2008209166A JP5157744B2 (ja) 2008-08-15 2008-08-15 車両の側部車体構造

Publications (2)

Publication Number Publication Date
JP2010042769A true JP2010042769A (ja) 2010-02-25
JP5157744B2 JP5157744B2 (ja) 2013-03-06

Family

ID=42014514

Family Applications (1)

Application Number Title Priority Date Filing Date
JP2008209166A Expired - Fee Related JP5157744B2 (ja) 2008-08-15 2008-08-15 車両の側部車体構造

Country Status (1)

Country Link
JP (1) JP5157744B2 (ja)

Cited By (2)

* Cited by examiner, † Cited by third party
Publication number Priority date Publication date Assignee Title
CN104670336A (zh) * 2015-01-26 2015-06-03 上汽通用五菱汽车股份有限公司 一种闭环式后侧围
CN104828146A (zh) * 2015-05-20 2015-08-12 爱普车辆启东有限公司 一种公交车骨架专用腰梁

Citations (4)

* Cited by examiner, † Cited by third party
Publication number Priority date Publication date Assignee Title
JPH02143369U (ja) * 1989-05-02 1990-12-05
JPH08164870A (ja) * 1994-12-13 1996-06-25 Nissan Motor Co Ltd 自動車の車体構造
JP2002331959A (ja) * 2001-05-10 2002-11-19 Fuji Heavy Ind Ltd 自動車の後部車体構造
JP2006298164A (ja) * 2005-04-20 2006-11-02 Fuji Heavy Ind Ltd 車体の骨格構造

Patent Citations (4)

* Cited by examiner, † Cited by third party
Publication number Priority date Publication date Assignee Title
JPH02143369U (ja) * 1989-05-02 1990-12-05
JPH08164870A (ja) * 1994-12-13 1996-06-25 Nissan Motor Co Ltd 自動車の車体構造
JP2002331959A (ja) * 2001-05-10 2002-11-19 Fuji Heavy Ind Ltd 自動車の後部車体構造
JP2006298164A (ja) * 2005-04-20 2006-11-02 Fuji Heavy Ind Ltd 車体の骨格構造

Cited By (4)

* Cited by examiner, † Cited by third party
Publication number Priority date Publication date Assignee Title
CN104670336A (zh) * 2015-01-26 2015-06-03 上汽通用五菱汽车股份有限公司 一种闭环式后侧围
CN104670336B (zh) * 2015-01-26 2017-11-17 上汽通用五菱汽车股份有限公司 一种闭环式后侧围
CN104828146A (zh) * 2015-05-20 2015-08-12 爱普车辆启东有限公司 一种公交车骨架专用腰梁
CN104828146B (zh) * 2015-05-20 2017-03-01 爱普车辆启东有限公司 一种公交车骨架专用腰梁

Also Published As

Publication number Publication date
JP5157744B2 (ja) 2013-03-06

Similar Documents

Publication Publication Date Title
US8690227B2 (en) Lower vehicle-body structure of vehicle
CN102171092B (zh) 车身前部结构
US7407222B2 (en) Vehicle body structure
CN102470899B (zh) 汽车的上部车身构造
CN105882760B (zh) 车辆的上部车身结构
US9908561B2 (en) Rear body structure for automobiles
JP4900147B2 (ja) 車両の車体後部構造
JP4715341B2 (ja) スライドドア車の下部車体構造
CN111791955B (zh) 车辆的侧部车身结构
JP5157745B2 (ja) 車両の側部車体構造
WO2012081335A1 (ja) 車両の側部構造
JP7292605B2 (ja) 車両の側部車体構造
JP5170188B2 (ja) スライドドア車の下部車体構造
JP2009067231A (ja) 車両の車体後部構造
JP7216337B2 (ja) 車両の上部車体構造
JP7289434B2 (ja) 上部車体構造
JP2010042771A (ja) 車両の側部車体構造
JP3852733B2 (ja) 車体の補強構造
JP2009067230A (ja) 車両の車体後部構造
JP2017171113A (ja) 車体側部構造
JP7143254B2 (ja) 車体後部構造
JP2000038165A (ja) 自動車の車体下側部補強構造
JP5157744B2 (ja) 車両の側部車体構造
JP6502982B2 (ja) 車体後部構造
JP2006088924A (ja) 車体構造

Legal Events

Date Code Title Description
A621 Written request for application examination

Free format text: JAPANESE INTERMEDIATE CODE: A621

Effective date: 20110620

A521 Written amendment

Free format text: JAPANESE INTERMEDIATE CODE: A523

Effective date: 20120329

A977 Report on retrieval

Free format text: JAPANESE INTERMEDIATE CODE: A971007

Effective date: 20120809

A131 Notification of reasons for refusal

Free format text: JAPANESE INTERMEDIATE CODE: A131

Effective date: 20120821

A521 Written amendment

Free format text: JAPANESE INTERMEDIATE CODE: A523

Effective date: 20121016

TRDD Decision of grant or rejection written
A01 Written decision to grant a patent or to grant a registration (utility model)

Free format text: JAPANESE INTERMEDIATE CODE: A01

Effective date: 20121113

A61 First payment of annual fees (during grant procedure)

Free format text: JAPANESE INTERMEDIATE CODE: A61

Effective date: 20121126

R150 Certificate of patent or registration of utility model

Ref document number: 5157744

Country of ref document: JP

Free format text: JAPANESE INTERMEDIATE CODE: R150

Free format text: JAPANESE INTERMEDIATE CODE: R150

FPAY Renewal fee payment (event date is renewal date of database)

Free format text: PAYMENT UNTIL: 20151221

Year of fee payment: 3

LAPS Cancellation because of no payment of annual fees