JP2010042273A - 医療デバイスのための二方向ディスプレイ - Google Patents

医療デバイスのための二方向ディスプレイ Download PDF

Info

Publication number
JP2010042273A
JP2010042273A JP2009232047A JP2009232047A JP2010042273A JP 2010042273 A JP2010042273 A JP 2010042273A JP 2009232047 A JP2009232047 A JP 2009232047A JP 2009232047 A JP2009232047 A JP 2009232047A JP 2010042273 A JP2010042273 A JP 2010042273A
Authority
JP
Japan
Prior art keywords
display
infusion pump
controller
switch
screen
Prior art date
Legal status (The legal status is an assumption and is not a legal conclusion. Google has not performed a legal analysis and makes no representation as to the accuracy of the status listed.)
Granted
Application number
JP2009232047A
Other languages
English (en)
Other versions
JP5094810B2 (ja
Inventor
Jr John Gillespie
ギレスピー ジュニア ジョン
Thomas A Mcgraghan
エー. マクグラグハン トーマス
Current Assignee (The listed assignees may be inaccurate. Google has not performed a legal analysis and makes no representation or warranty as to the accuracy of the list.)
Baxter International Inc
Original Assignee
Baxter International Inc
Priority date (The priority date is an assumption and is not a legal conclusion. Google has not performed a legal analysis and makes no representation as to the accuracy of the date listed.)
Filing date
Publication date
Application filed by Baxter International Inc filed Critical Baxter International Inc
Publication of JP2010042273A publication Critical patent/JP2010042273A/ja
Application granted granted Critical
Publication of JP5094810B2 publication Critical patent/JP5094810B2/ja
Anticipated expiration legal-status Critical
Expired - Fee Related legal-status Critical Current

Links

Images

Classifications

    • AHUMAN NECESSITIES
    • A61MEDICAL OR VETERINARY SCIENCE; HYGIENE
    • A61MDEVICES FOR INTRODUCING MEDIA INTO, OR ONTO, THE BODY; DEVICES FOR TRANSDUCING BODY MEDIA OR FOR TAKING MEDIA FROM THE BODY; DEVICES FOR PRODUCING OR ENDING SLEEP OR STUPOR
    • A61M5/00Devices for bringing media into the body in a subcutaneous, intra-vascular or intramuscular way; Accessories therefor, e.g. filling or cleaning devices, arm-rests
    • A61M5/14Infusion devices, e.g. infusing by gravity; Blood infusion; Accessories therefor
    • A61M5/142Pressure infusion, e.g. using pumps
    • AHUMAN NECESSITIES
    • A61MEDICAL OR VETERINARY SCIENCE; HYGIENE
    • A61MDEVICES FOR INTRODUCING MEDIA INTO, OR ONTO, THE BODY; DEVICES FOR TRANSDUCING BODY MEDIA OR FOR TAKING MEDIA FROM THE BODY; DEVICES FOR PRODUCING OR ENDING SLEEP OR STUPOR
    • A61M2205/00General characteristics of the apparatus
    • A61M2205/50General characteristics of the apparatus with microprocessors or computers
    • A61M2205/502User interfaces, e.g. screens or keyboards
    • A61M2205/505Touch-screens; Virtual keyboard or keypads; Virtual buttons; Soft keys; Mouse touches

Landscapes

  • Health & Medical Sciences (AREA)
  • Vascular Medicine (AREA)
  • Engineering & Computer Science (AREA)
  • Anesthesiology (AREA)
  • Biomedical Technology (AREA)
  • Heart & Thoracic Surgery (AREA)
  • Hematology (AREA)
  • Life Sciences & Earth Sciences (AREA)
  • Animal Behavior & Ethology (AREA)
  • General Health & Medical Sciences (AREA)
  • Public Health (AREA)
  • Veterinary Medicine (AREA)
  • Infusion, Injection, And Reservoir Apparatuses (AREA)

Abstract

【課題】好適な医療デバイスを提供する。
【解決手段】医療デバイス10は、種々の位置での構成に適合可能である。好ましい実施形態において、このデバイス10は、患者に医療流体を分配するための注入ポンプ12を備える。コントローラは、ディスプレイ16およびポンプ12に作動可能に連結される。ディスプレイ16は、ポンプ10の位置に作動可能に応答性であり、ここで、ディスプレイ16における情報を容易に見ることができる。
【選択図】図1

Description

本発明は、概して、注入ポンプのような医療デバイス、特に、横(landscape)方向および縦(portrait)方向の両方の画面モードを有する二重方向ディスプレイを備える注入ポンプに関する。
(発明の背景)
医療デバイスは、代表的に、操作パラメータなどのデータを提示するディスプレイスクリーンを有する。保健医療産業に用いられる注入ポンプは、医療流体の流速を制御する電気機械的デバイスである。ポンプは、治療用利益内で、そして不必要なまたは毒性の可能性のある範囲を超えて、薬物を濃度を維持する正確な速度で薬物を送達し得る。基本的には、医療用ポンプは、頻繁な注意を必要としない制御可能な速度で、患者に対して適切な薬物送達を提供する。注入ポンプのタイプは、シリンジポンプ、容量ポンプおよび救急ポンプを備える。
シリンジポンプは、制御された速度で、患者に薬物を送達するように医療シリンジを操作する。このポンプは、能動的流体ポンプ機構、すなわち、シリンジプランジャの位置変位を使用して、流体をシリンジから排出する。
容量ポンプは、流体供給源と、患者に流体供給源を接続する静脈内(IV)ラインとを有する静脈内の流体投与セットとともに使用される。このポンプは、患者への流体の流速に影響を与える、静脈ラインと作動可能に連結される。例えば、このポンプは、静脈内ラインをマッサージして、従ってそのラインを通じて流体の流速を制御するための複数のアクチュエータまたは指を有し得る。
救急ポンプは、代表的に、ポンプコントロールユニットと、廃棄可能なポンプチャンバアセンブリを受容するように適合される種々の作動コントローラを備える駆動機構とを備える。このポンプ機構は、例えば、入口弁と、出口弁と、液体移動プランジャとを備え得る。このタイプのポンプにおける各々のポンプサイクルは、出口弁を閉鎖し、そして入口弁を開放することによって始まる。流体は、入口弁と出口弁との間に配置されるチューブ部分に供給容器から流れる。チューブのこの部分に流体が満たされた後、入口弁が閉じ、そして出口弁が開放される。ついで、プランジャがこれらの弁の間のチューブの狭い部分を圧縮し、そこに含まれる液体を移動させ、そしてポンプを通じてそれを押し出す。
医療デバイスおよびポンプは、時に、別の医療デバイス、機械、装置、ベッド、ストレッチャ、壁、棚、デスクなどに取り付けられ得る。これらの取り付け可能な医療デバイスおよびポンプの多くは、種々の位置(例えば、垂直、水平、側方など)での取り付けに適合可能である。これらの取り付け可能な医療デバイスおよびポンプのいくつかは、情報を提供するためのディスプレイを利用する。しばしば、ディスプレイは、1つの特定の方向においてのみ容易に見ることが可能である。例えば、水平に位置づけされたディスプレイと協働作動する水平位置の医療デバイス、または水平に見ることができるディスプレイを伴う水平に位置づけされた医療デバイス。種々の取り付け動作が医療デバイスに利用可能であるが、一つの方向のみにおいて容易に見ることができるディスプレイは、デバイス(例えば、垂直方向のディスプレイを備える変動可能に取り付け可能な医療デバイス)の可とう性を厳密に制限する。唯一の方向のディスプレイを有する医療デバイスまたはポンプの使用は、提示される情報を見るために、見る人が自分自身を位置づけするための不必要な努力を費やすことを必要とする。ディスプレイを有する医療デバイスに利用可能な取り付けオプションのタイプに拘わらず、ディスプレイが容易に見ることができるように適合されていることが所望される。
本発明は、これらのおよび他の課題を解決するために提供される。
(本発明の要旨)
一般に、本発明は、医療デバイスのためのディスプレイに関する。このデバイスは、種々の方向付けで構成され得る。1つの実施形態において、このデバイスは、患者に医療流体を分配するための注入ポンプを備える。コントローラは、注入ポンプに作動可能に連結される。コントローラは、注入ポンプを制御する。このディスプレイは、コントローラに作動可能に連結され、そしてポンプに連結される。このディスプレイは、装置の方向に作動可能に応答性である。
本発明の別の実施形態は、種々の位置においてモニターするために構成され得る注入ポンプである。注入ポンプは、ポンプに作動可能に連結されるコントローラを備える。ディスプレイは、コントローラに接続され、そして注入ポンプに連結される。このディスプレイは、注入ポンプの方向に応答性である。
本発明の別の局面に従って、注入ポンプは、いくつかの方向(orientation)において構成され得る。ポンプは、ディスプレイを有し、このディスプレイの方向は、装置の方向に応じてディスプレイの画像を収容するように回転する。このディスプレイは、コントロール、モニター、操作などの装置に関する使用者の対話を容易にするようなグラフィックを提供する。
本発明の他の利点および特徴は、添付の図面において例示される特定の実施形態の以下の説明から明らかである。
(項目1)
ハウジングと、
該ハウジングに作動可能に連結される、該デバイスを制御するためのコントローラと、
ディスプレイと
を備える医療デバイスであって、該ディスプレイは、該コントローラに作動可能に連結され、該ハウジングによって支持され、該デバイスの方向に作動可能に応答する、デバイス。
(項目2)
前記コントローラは、プログラム可能なロジックコントローラである、項目1に記載の医療デバイス。
(項目3)
前記コントローラは、マイクロプロセッサである、項目1に記載の医療デバイス。
(項目4)
前記ディスプレイは、該ディスプレイ上に接触応答性のスクリーンを備える、項目1に記載の医療デバイス。
(項目5)
前記スイッチが前記スクリーンと一体化され、該スイッチは、人の指による接触に応答性である、項目4に記載の医療デバイス。
(項目6)
前記スイッチが前記スクリーンと一体化され、該スイッチは、針(stylus)による接触に応答性である、項目4に記載の医療デバイス。
(項目7)
前記ディスプレイは、横(landscape)方向および縦(portrait)方向のうちの一つの方向合わせができる、項目1に記載の医療デバイス。
(項目8)
前記ディスプレイは90°回転する、項目1に記載の医療デバイス。
(項目9)
前記ディスプレイは180°回転する、項目1に記載の医療デバイス。
(項目10)
前記ディスプレイは270°回転する、項目1に記載の医療デバイス。
(項目11)
注入ポンプである、項目1に記載の医療デバイス。
(項目12)
ヒトに医療流体を分配するための装置であって、該装置は、種々の方向における設定に適合可能であり、該装置は以下:
該医療流体を該ヒトに分配するための医療流体分配注入ポンプと、
該注入ポンプを制御するためのコントローラと、
該コントローラに作動可能に連結され該ポンプに接続されるディスプレイと
を備える装置であって、該ディスプレイは、該装置のデバイスの方向に作動可能に応答する、装置。
(項目13)
前記コントローラは、プログラム可能なコントローラである、項目12に記載の装置。
(項目14)
前記コントローラは、マイクロプロセッサである、項目12に記載の装置。
(項目15)
前記ディスプレイは、該ディスプレイ上に接触応答性のスクリーンを備える、項目12に記載の装置。
(項目16)
前記スイッチが前記スクリーンと一体化され、該スイッチは、人の指による接触に応答性である、項目15に記載の装置。
(項目17)
前記スイッチが前記スクリーンと一体化され、該スイッチは、針(stylus)による接触に応答性である、項目15に記載の装置。
(項目18)
前記ディスプレイは、横(landscape)方向および縦(portrait)方向のうちの一つの方向合わせができる、項目12に記載の装置。
(項目19)
ヒトに医療流体を分配するための、種々の位置に取り付けるように構成される装置であって、該装置は、
該ヒトに該医療流体を分配するための注入ポンプと、
該ポンプを制御するために該ポンプに作動可能に連結されるコントローラと、
該コントローラに作動可能に連結され該ポンプに接続されるディスプレイと
を備える装置であって、該ディスプレイは、該ポンプ取り付け位置応答して再位置合わせするように適合される、装置。
(項目20)
前記ディスプレイは、該ディスプレイ上に接触応答性のスクリーンを備える、項目19に記載の装置。
(項目21)
前記スクリーンは、人の指による接触に応答性である、項目20に記載の装置。
(項目22)
前記スクリーンは、針(stylus)による接触に応答性である、項目20に記載の装置。
(項目23)
前記ディスプレイは、複数のディスプレイ位置を含む、項目19に記載の装置。
(項目24)
前記ディスプレイは、画像を含む、項目19に記載の装置。
(項目25)
前記ポンプは携帯可能である、項目19に記載の装置。
(項目26)
前記ディスプレイに作動可能に連結されるスイッチをさらに備え、該ディスプレイは、該スイッチに応答性であり、該ディスプレイの方向は、該スイッチの起動に応答して変更に適合可能である、項目19に記載の装置。
(項目27)
前記スイッチは、前記ディスプレイスクリーン内に一体化される、項目19に記載の装置。
(項目28)
前記スイッチは、重力に応答性である、項目19に記載の装置。
(項目29)
ヒトに医療流体を分配するための注入ポンプであって、該ヒトは、該ポンプに作動可能に連結され、該注入ポンプは、
該注入ポンプ内に含まれるコントローラと、
該コントローラに作動可能に連結され該ポンプに付着されるディスプレイと、
スイッチと
備え、該ディスプレイは、該ディスプレイを回転する該スイッチに作動可能に応答性である、注入ポンプ。
(項目30)
前記ディスプレイは、該ディスプレイ上に接触応答性のスクリーンを備える、項目29に記載の注入ポンプ。
(項目31)
前記スイッチは、前記スクリーンと一体化され、該スイッチは、ヒトの指に接触応答性である、項目30に記載の注入ポンプ。
(項目32)
前記スイッチは、前記スクリーンと一体化され、該スイッチは、針による接触応答性である、項目30に記載の注入ポンプ。
(項目33)
前記ディスプレイは、90°回転する、項目29に記載の注入ポンプ。
(項目34)
前記ディスプレイは、180°回転する、項目29に記載の注入ポンプ。
(項目35)
前記ディスプレイは、270°回転する、項目29に記載の注入ポンプ。
(項目36)
前記ディスプレイスクリーンの回転範囲は、約0°と約360°との間である、項目29に記載の注入ポンプ。
(項目37)
前記スイッチは、さらに、センサを備え、該センサは、前記装置の方向に作動可能に応答性であり、該コントローラは、該センサおよび該スイッチに応答して該ディスプレイを回転する、項目29に記載の注入ポンプ。
(項目38)
前記センサは、重力に応答性である、項目37に記載の注入ポンプ。
(項目39)
前記コントローラは、プログラム可能なロジックコントローラである、項目29に記載の注入ポンプ。
(項目40)
前記コントローラは、マイクロプロセッサである、項目29に記載の注入ポンプ。
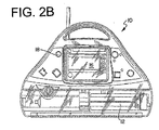
図1は、本発明のある実施形態を示す。 図2aは、ほぼ垂直の取り付け構成の本発明の装置を例示する。 図2aは、ほぼ水平の取り付け構成の本発明の装置を例示する。 図3は、本発明の1つの実施形態を示すブロック図である。 図4は、本発明の別の実施形態を例示する。 図5は、本発明の別の実施形態を例示する。
(詳細な説明)
本発明は、多くの異なる形態の実施形態に受容可能であるが、図面に示され、そして本明細書において図面に示され、本明細書において本発明の好ましい詳細な実施形態に記載される。本開示は、本発明の原理の例示として考慮されるべきであり、そして例示される実施形態に本発明のひろい局面が限定されることは意図しない。
図1〜5に示されるように、好ましい実施形態において、本発明の装置10は、流体を分配するための注入ポンプ12を包含する。好ましくは、ポンプ12は、多くの異なる形態をとることができるが最も好ましい実施形態において、ポンプ12は、共有に係る米国特許出願番号10/172,807号(発明の名称「Infusion Pump」、本願と同時に出願され、本明細書において参考として援用される)、および共有に係る米国特許出願番号10/172,808号(発明の名称「System And Method For Operating An Infusion Pump」、本願と同時に出願され、本明細書において参考として援用される)に記載されるのと同様の形態である。本発明の装置10は、血圧モニター、EKGモニターおよびECGモニターを含むモニターのような他のデバイスを備え得る。
装置10は、概して、とりわけポンプ12、コントローラ14およびディスプレイ16を備える。このコントローラ14は、ポンプ12に作動可能に連結される。コントローラ14は、マイクロプロセッサまたはプログラム可能なロジックコントローラであり得る。コントローラ14は、ポンプ12を制御するための手段を提供する。ディスプレイ16は、コントロール14に連結され、そして好ましくは、装置10に連結される。ディスプレイ16の方向は、ポンプ12の種々の取り付け構成に応答性であるように位置づけされ得る。
ポンプ12は、いくつかの構成において取り付けられ得る。一般に、ポンプ12は、垂直位置(図2a)および水平位置(図2b)のいずれかで取り付けられる。ディスプレイスクリーン16は、ポンプ12に関連する情報のモニター、制御および操作のいずれかを提示する。スイッチ18は、手動で起動されて、スクリーン16において提示されるグラフィック情報の位置づけを変化させることができる。スイッチ18の起動により、0°と360°との間で、1°の増分で、スクリーン16において提示される情報を回転することができる。好ましくは、スイッチ18の単一の起動により、ディスプレイの位置づけが90°回転される。
図4に示されるように、ディスプレイスクリーン16はまた、接触感受性の透明パネルまたはデータエントリデバイス(例えば、グラフィックボタン18’)を備え得、操作者による起動について、単色またはカラーの液晶ディスプレイ16を網羅する。ディスプレイ16において規定されるソフトキースイッチ18’は、ディスプレイにおいて提示されるオブジェクトまたはボタンを選択するための自然なインターフェイスを提供する。スイッチ18’は、選択されるべきオブジェクトまたはボタンに対する、スクリーンパネルにおいて指または針(stylus)(示さず)の接触に応答性である。手動のスイッチ18に類似して、タッチスクリーンスイッチ18’の起動により、スクリーン16に提示されるグラフィックが回転する(好ましくは、90°の増分)。手動のスイッチ18が装置10またはディスプレイ16内に一体化されて示されるが、スイッチは、ディスプレイに作動可能に連結され、そして装置から離れ得る(例えば、遠隔有線接続または無線対話)ことが理解されるべきである。
より以前に言及されるように、ポンプ12は、好ましくは、ほぼ垂直位置(図2a)またはほぼ水平位置(図2b)のいずれかで取り付けられる。ソフトウェアプログラムは、ポンプ12の操作を実行し、そしてディスプレイスクリーン16に方向付けられた部分(例えば、ユーザーインターフェイス)を備える。このディスプレイスクリーン16は、スクリーンにおける情報の提示を提供する。好ましくは、情報は、横方向または縦方向のいずれかで提示される。装置10が図2aに示されるように垂直構成で取り付けられる場合、情報は、縦方向でディスプレイスクリーン16に提示される。あるいは、装置10は図2bに示されるように水平方向の構成で取り付けられるとき、情報は、横方向の構成でディスプレイスクリーン16において提示される。従って、装置10の取り付け構成に応答して、スクリーン16に提示される情報は、装置と協働した方向に位置づけられ得、その結果、提示された情報は、使用者が見る位置を調整する(すなわち、頭を傾ける)必要なしに、見ることができる。
装置10はまた、メモリ20を備え得る。考察されるように、この装置10は、コントローラ14(例えば、中央処理ユニット)を備える。コントローラ14は、メモリ20と作動可能に連結される。装置10のメモリ20には、アプリケーションまたはプログラムがロードされる。アプリケーションが、中央処理ユニット14によって実行されるとき、ポンプ12は、ユーザの指示により実行される。これらのタスクは、タッチスクリーン16において、ポンプ12のコントロール、モニター、および操作に関連するグラフィックを提示することを包含し得る。
コントローラ14によるアプリケーションの初期実行に応じて、装置10は、使用者がスクリーン16に提示される情報を回転する能力(好ましくは90°の増分)を可能にするために、タッチスクリーン16においてスイッチ18を提供する。
本発明の別の実施形態は、スイッチ18に作動可能に接続されるセンサ24を備える。スイッチ18は、ハードウェアスイッチまたはソフトウェアスイッチであり得、ここで、イベントの実行(すなわち、センサ24の起動)がスイッチ18をトリガすることが理解されるべきである。本発明の1つの実施形態は、重力に応答性のセンサ24に関する。ここで、ポンプ12の運動(すなわち、ほぼ垂直の位置からほぼ水平の位置への運動またはその反対)は、センサ24に影響を与え、従って、スイッチに影響を与え、ここで、ディスプレイ16が自動的に適切に調整される。
スクリーン16に示されるディスプレイの方向は、使用者によって選択され得る。好ましくは、使用者は、スクリーン16に提示される情報を選択および/または編集する(すなわち、装置10またはタッチスクリーンにおけるソフトキーボタンを起動し)ことができる。使用者は、トピックに関連するボタンを起動することによって、装置10に格納される種々の情報を選択的に見ることができる。さらに、使用者は、装置によって実行されるプログラムを編集することによって、提示される情報のタイプを選択することができる。
特定の実施形態が例示および記載されてきたが、考えつく多数の改変は、本発明の趣旨および保護の範囲から顕著に逸脱することなく、添付の特許請求の範囲の範囲に限定されるのみである。

Claims (35)

  1. 注入ポンプであって、
    該注入ポンプは、
    複数の異なった取り付け方向において取り付けられるように構成されたハウジングと、
    該ハウジングに動作可能に接続されたコントローラであって、デバイスを制御するコントローラと、
    該コントローラに接続されたスイッチと、
    該スイッチに動作可能に接続されたセンサと、
    患者に対する、該ハウジングの表面から延びる出力であって、該出力から該患者へと初期方向に流体が分配される、出力と、
    該コントローラに動作可能に接続されたディスプレイであって、該ハウジングによって支持されるディスプレイと
    を備え、
    該ディスプレイは、該流体が該出力から該初期方向に分配されるような方向で該ハウジングが取り付けられているか、該流体が該出力から第2の方向に分配されるような方向で該ハウジングが取り付けられているかに関わらず、表示される情報を操作者が自身の頭を傾けずに見ることができるようなディスプレイ方向で操作者に情報を表示することによって、該ハウジングの取り付け方向に基づいて該センサおよび該注入ポンプの方向の変化に動作可能に応答する、注入ポンプ。
  2. 前記コントローラは、プログラム可能なコントローラである、請求項1に記載の注入ポンプ。
  3. 前記コントローラは、マイクロプロセッサである、請求項1に記載の注入ポンプ。
  4. 前記第2の方向は、第1の方向と直角をなす、請求項1に記載の注入ポンプ。
  5. 前記スイッチがスクリーンと一体化され、該スイッチは、人の指による接触に応答する、請求項1に記載の注入ポンプ。
  6. 前記スイッチは、針による接触に応答する、請求項5に記載の注入ポンプ。
  7. 前記ディスプレイは、横方向および縦方向のうちの一つの方向に方向合わせができる、請求項1に記載の注入ポンプ。
  8. 前記ディスプレイは、90°回転する、請求項1に記載の注入ポンプ。
  9. 前記ディスプレイは、180°回転する、請求項1に記載の注入ポンプ。
  10. 前記センサは、重力センサである、請求項1に記載の注入ポンプ。
  11. ヒトに医療流体を分配する装置であって、
    該装置は、複数の異なった取り付け方向において取り付けられるように構成されており、
    該装置は、
    該ヒトへと初期方向に該医療流体を分配する注入ポンプと、
    該注入ポンプに動作可能に接続されたコントローラであって、該注入ポンプを制御するコントローラと、
    該コントローラに接続されたスイッチと、
    該スイッチに動作可能に接続されたセンサと、
    該コントローラに動作可能に接続されたディスプレイであって、該ポンプに取り付けられたディスプレイと
    を備え、
    該ディスプレイは、該注入ポンプが該医療流体を初期方向に分配するか、該注入ポンプが該医療流体を該初期方向と垂直な第2の方向に分配するかに関わらず、表示される情報を操作者が自身の頭を傾けずに見ることができるようなディスプレイ方向で操作者に情報を表示することによって、該装置の該取り付け方向に基づいて該センサおよび該装置の方向の変化に動作可能に応答する、装置。
  12. 前記コントローラは、プログラム可能なコントローラである、請求項11に記載の装置。
  13. 前記コントローラは、マイクロプロセッサである、請求項11に記載の装置。
  14. 前記ディスプレイは、スクリーンを備え、該スクリーンは、該スクリーンへの接触に応答する、請求項11に記載の装置。
  15. 前記スクリーンは、人の指による接触に応答する、請求項14に記載の装置。
  16. 前記スクリーンは、針による接触に応答する、請求項14に記載の装置。
  17. 前記ディスプレイは、横方向および縦方向のうちの一つの方向に方向合わせができる、請求項11に記載の装置。
  18. ヒトに医療流体を分配する装置であって、
    該装置は、種々の位置に取り付けるように構成可能であり、
    該装置は、
    該ヒトに該医療流体を分配する注入ポンプと、
    該ポンプに動作可能に接続されたコントローラであって、該ポンプを制御するコントローラと、
    該コントローラに動作可能に接続されたセンサと、
    該コントローラに動作可能に接続されたディスプレイと
    を備え、
    該ポンプの取り付けの再配置に起因して該センサおよび該ディスプレイの方向の変化に応答して、該ディスプレイは、該センサに応答し、該ディスプレイは、表示される情報のディスプレイ方向の変化に対する操作者からの入力なしに、該操作者が該装置に対してハンズフリーで該ディスプレイ上の情報を自身の頭を傾けずに適切なサイドを上にして見ることができるようなディスプレイ方向で該操作者に情報を表示する、装置。
  19. 前記ディスプレイは、スクリーンを備え、該スクリーンは、該スクリーンへの接触に応答する、請求項18に記載の装置。
  20. 前記ディスプレイは、人の指による接触に応答する、請求項19に記載の装置。
  21. 前記ディスプレイは、針による接触に応答する、請求項19に記載の装置。
  22. 前記ディスプレイは、複数のディスプレイ位置を含む、請求項18に記載の装置。
  23. 前記ディスプレイは、画像を含む、請求項18に記載の装置。
  24. 前記ポンプは、携帯可能である、請求項18に記載の装置。
  25. 前記ディスプレイに動作可能に接続されたスイッチをさらに備え、該ディスプレイは、該スイッチに応答し、該ディスプレイの方向は、該スイッチの起動に応答して変更するように適合可能である、請求項18に記載の装置。
  26. 前記スイッチは、前記ディスプレイのスクリーン内に一体化される、請求項25に記載の装置。
  27. 前記センサは、重力に応答する、請求項18に記載の装置。
  28. ヒトに医療流体を分配する注入ポンプであって、
    該ヒトは、ポンプおよび該注入ポンプに動作可能に接続され、
    該注入ポンプは、該医療流体を該ヒトへと初期方向にポンピングし、
    該注入ポンプは、複数の異なった取り付け方向において取り付けられるように構成されており、
    該注入ポンプは、
    該注入ポンプ内に含まれるコントローラと、
    該コントローラに動作可能に接続されたディスプレイであって、該ポンプに取り付けられたディスプレイと、
    該コントローラに接続されたスイッチと、
    該スイッチに動作可能に接続された重力センサと
    を備え、
    該ディスプレイは、該コントローラが該センサの移動に応答して該ディスプレイを回転するように、該スイッチ、該重力センサおよび該ポンプの取り付けの方向の変化に動作可能に応答して該ディスプレイを回転する、注入ポンプ。
  29. 前記ディスプレイは、スクリーンを備え、該スクリーンは、該スクリーンへの接触に応答する、請求項28に記載の注入ポンプ。
  30. 前記スイッチは、前記スクリーンと一体化され、該スイッチは、ヒトの指による接触に応答する、請求項29に記載の注入ポンプ。
  31. 前記スイッチは、前記スクリーンと一体化され、該スイッチは、針による接触に応答する、請求項29に記載の注入ポンプ。
  32. 前記ディスプレイは、90°回転する、請求項28に記載の注入ポンプ。
  33. 前記ディスプレイは、180°回転する、請求項28に記載の注入ポンプ。
  34. 前記ディスプレイは、270°回転する、請求項28に記載の注入ポンプ。
  35. 前記ディスプレイのスクリーンの回転範囲は、約0°と約360°との間である、請求項28に記載の注入ポンプ。
JP2009232047A 2002-06-14 2009-10-05 医療デバイスのための二方向ディスプレイ Expired - Fee Related JP5094810B2 (ja)

Applications Claiming Priority (2)

Application Number Priority Date Filing Date Title
US10/172,804 US6997905B2 (en) 2002-06-14 2002-06-14 Dual orientation display for a medical device
US10/172,804 2002-06-14

Related Parent Applications (1)

Application Number Title Priority Date Filing Date
JP2004512831A Division JP2006511247A (ja) 2002-06-14 2002-11-15 医療デバイスのための二方向ディスプレイ

Publications (2)

Publication Number Publication Date
JP2010042273A true JP2010042273A (ja) 2010-02-25
JP5094810B2 JP5094810B2 (ja) 2012-12-12

Family

ID=29733172

Family Applications (2)

Application Number Title Priority Date Filing Date
JP2004512831A Withdrawn JP2006511247A (ja) 2002-06-14 2002-11-15 医療デバイスのための二方向ディスプレイ
JP2009232047A Expired - Fee Related JP5094810B2 (ja) 2002-06-14 2009-10-05 医療デバイスのための二方向ディスプレイ

Family Applications Before (1)

Application Number Title Priority Date Filing Date
JP2004512831A Withdrawn JP2006511247A (ja) 2002-06-14 2002-11-15 医療デバイスのための二方向ディスプレイ

Country Status (6)

Country Link
US (1) US6997905B2 (ja)
JP (2) JP2006511247A (ja)
AU (1) AU2002343748B2 (ja)
CA (1) CA2488215C (ja)
TW (1) TWI233814B (ja)
WO (1) WO2003105932A1 (ja)

Families Citing this family (115)

* Cited by examiner, † Cited by third party
Publication number Priority date Publication date Assignee Title
US8034026B2 (en) 2001-05-18 2011-10-11 Deka Products Limited Partnership Infusion pump assembly
US20020173769A1 (en) * 2001-05-18 2002-11-21 Gray Larry B. Infusion set for a fluid pump
US7008403B1 (en) * 2002-07-19 2006-03-07 Cognitive Ventures Corporation Infusion pump and method for use
KR100987289B1 (ko) * 2003-02-26 2010-10-12 삼성전자주식회사 화면의 회전 배치 상태에 따라 데이터를 정방향으로표시할 수 있는 휴대용 단말기 및 그 방법
DE102004013415B4 (de) * 2004-03-18 2011-12-08 Disetronic Licensing Ag Drehbare Anzeige eines medizinischen, pharmazeutischen oder kosmetischen Geräts
US8900187B2 (en) * 2004-10-13 2014-12-02 Mallinckrodt Llc Powerhead control in a power injection system
US20060079842A1 (en) * 2004-10-13 2006-04-13 Liebel-Flarsheim Company Powerhead control in a power injection system
US8313460B2 (en) * 2005-03-21 2012-11-20 General Electric Company Devices, systems, and methods for warming fluids in multiple intravenous fluid containers
US7945452B2 (en) * 2005-04-11 2011-05-17 Hospira, Inc. User interface improvements for medical devices
DE102005032525A1 (de) * 2005-07-12 2007-01-25 Honeywell Technologies Sarl Ecc Rohrelement
US7632249B2 (en) * 2005-10-28 2009-12-15 Curlin Medical Inc. Syringe assist for infusion pump
US11497846B2 (en) 2006-02-09 2022-11-15 Deka Products Limited Partnership Patch-sized fluid delivery systems and methods
US11318249B2 (en) 2006-02-09 2022-05-03 Deka Products Limited Partnership Infusion pump assembly
US11364335B2 (en) 2006-02-09 2022-06-21 Deka Products Limited Partnership Apparatus, system and method for fluid delivery
US12274857B2 (en) 2006-02-09 2025-04-15 Deka Products Limited Partnership Method and system for shape-memory alloy wire control
US12070574B2 (en) 2006-02-09 2024-08-27 Deka Products Limited Partnership Apparatus, systems and methods for an infusion pump assembly
US12151080B2 (en) 2006-02-09 2024-11-26 Deka Products Limited Partnership Adhesive and peripheral systems and methods for medical devices
CN103736165B (zh) 2006-02-09 2017-05-10 德卡产品有限公司 流体分配器件、流体流的测量方法和系统及流体输送系统
US11478623B2 (en) 2006-02-09 2022-10-25 Deka Products Limited Partnership Infusion pump assembly
US11027058B2 (en) 2006-02-09 2021-06-08 Deka Products Limited Partnership Infusion pump assembly
AU2007328233B2 (en) 2006-12-04 2012-09-13 Deka Products Limited Partnership Medical device including a slider assembly
WO2008098246A1 (en) 2007-02-09 2008-08-14 Deka Products Limited Partnership Automated insertion assembly
US8496609B2 (en) 2007-07-05 2013-07-30 Baxter International Inc. Fluid delivery system with spiked cassette
US8105266B2 (en) * 2007-07-05 2012-01-31 Baxter International Inc. Mobile dialysis system having supply container detection
US7736328B2 (en) 2007-07-05 2010-06-15 Baxter International Inc. Dialysis system having supply container autoconnection
US7955295B2 (en) 2007-07-05 2011-06-07 Baxter International Inc. Fluid delivery system with autoconnect features
US7934912B2 (en) * 2007-09-27 2011-05-03 Curlin Medical Inc Peristaltic pump assembly with cassette and mounting pin arrangement
US8062008B2 (en) * 2007-09-27 2011-11-22 Curlin Medical Inc. Peristaltic pump and removable cassette therefor
US8083503B2 (en) * 2007-09-27 2011-12-27 Curlin Medical Inc. Peristaltic pump assembly and regulator therefor
EP2060284A1 (en) * 2007-11-13 2009-05-20 F.Hoffmann-La Roche Ag Medical injection device having data input means and a pivotable display
US8317752B2 (en) * 2007-12-18 2012-11-27 Hospira, Inc. Touch screen system and navigation and programming methods for an infusion pump
US8517990B2 (en) 2007-12-18 2013-08-27 Hospira, Inc. User interface improvements for medical devices
CA2711244C (en) * 2007-12-31 2016-02-16 Deka Products Limited Partnership Infusion pump assembly
BR122020005551B1 (pt) 2007-12-31 2021-08-10 Deka Products Limited Partnership Conjunto de bomba de infusão
US9456955B2 (en) 2007-12-31 2016-10-04 Deka Products Limited Partnership Apparatus, system and method for fluid delivery
US12447265B2 (en) 2007-12-31 2025-10-21 Deka Products Limited Partnership Apparatus, system and method for fluid delivery
US8900188B2 (en) 2007-12-31 2014-12-02 Deka Products Limited Partnership Split ring resonator antenna adapted for use in wirelessly controlled medical device
US10188787B2 (en) 2007-12-31 2019-01-29 Deka Products Limited Partnership Apparatus, system and method for fluid delivery
US10080704B2 (en) 2007-12-31 2018-09-25 Deka Products Limited Partnership Apparatus, system and method for fluid delivery
US8881774B2 (en) 2007-12-31 2014-11-11 Deka Research & Development Corp. Apparatus, system and method for fluid delivery
US8784364B2 (en) 2008-09-15 2014-07-22 Deka Products Limited Partnership Systems and methods for fluid delivery
US8267892B2 (en) 2008-10-10 2012-09-18 Deka Products Limited Partnership Multi-language / multi-processor infusion pump assembly
US8708376B2 (en) * 2008-10-10 2014-04-29 Deka Products Limited Partnership Medium connector
US12186531B2 (en) 2008-10-10 2025-01-07 Deka Products Limited Partnership Infusion pump assembly
US8223028B2 (en) 2008-10-10 2012-07-17 Deka Products Limited Partnership Occlusion detection system and method
US9180245B2 (en) 2008-10-10 2015-11-10 Deka Products Limited Partnership System and method for administering an infusible fluid
US8066672B2 (en) 2008-10-10 2011-11-29 Deka Products Limited Partnership Infusion pump assembly with a backup power supply
US8262616B2 (en) * 2008-10-10 2012-09-11 Deka Products Limited Partnership Infusion pump assembly
US12370327B2 (en) 2008-10-10 2025-07-29 Deka Products Limited Partnership Infusion pump methods, systems and apparatus
US8016789B2 (en) * 2008-10-10 2011-09-13 Deka Products Limited Partnership Pump assembly with a removable cover assembly
US8197235B2 (en) * 2009-02-18 2012-06-12 Davis David L Infusion pump with integrated permanent magnet
US20100211002A1 (en) * 2009-02-18 2010-08-19 Davis David L Electromagnetic infusion pump with integral flow monitor
US8353864B2 (en) * 2009-02-18 2013-01-15 Davis David L Low cost disposable infusion pump
GB0902816D0 (en) 2009-02-19 2009-04-08 Smith & Nephew Fluid communication path
JP5961111B2 (ja) 2009-07-15 2016-08-02 デカ・プロダクツ・リミテッド・パートナーシップ 注入ポンプアセンブリのための装置、システム、および方法
EP2724739B1 (en) 2009-07-30 2015-07-01 Tandem Diabetes Care, Inc. Portable infusion pump system
CA2787178C (en) 2010-01-22 2019-02-12 Deka Products Limited Partnership Method and system for shape-memory alloy wire control
US9744300B2 (en) 2011-12-21 2017-08-29 Deka Products Limited Partnership Syringe pump and related method
US9677555B2 (en) 2011-12-21 2017-06-13 Deka Products Limited Partnership System, method, and apparatus for infusing fluid
US9789247B2 (en) 2011-12-21 2017-10-17 Deka Products Limited Partnership Syringe pump, and related method and system
US9295778B2 (en) 2011-12-21 2016-03-29 Deka Products Limited Partnership Syringe pump
EP2627277B1 (en) 2010-10-12 2019-11-20 Smith & Nephew, Inc. Medical device
JP6124873B2 (ja) 2011-05-12 2017-05-10 バイエル・ヘルスケア・エルエルシーBayer HealthCare LLC 注入処置を制御するための様々なシステムを有する流体注入システム
EP2745204A4 (en) 2011-08-19 2015-01-07 Hospira Inc SYSTEMS AND METHOD FOR A GRAPHIC INTERFACE WITH A GRAPHICAL PRESENTATION OF MEDICAL DATA
US10022498B2 (en) 2011-12-16 2018-07-17 Icu Medical, Inc. System for monitoring and delivering medication to a patient and method of using the same to minimize the risks associated with automated therapy
US10563681B2 (en) 2011-12-21 2020-02-18 Deka Products Limited Partnership System, method, and apparatus for clamping
US11217340B2 (en) 2011-12-21 2022-01-04 Deka Products Limited Partnership Syringe pump having a pressure sensor assembly
US11295846B2 (en) 2011-12-21 2022-04-05 Deka Products Limited Partnership System, method, and apparatus for infusing fluid
US9675756B2 (en) 2011-12-21 2017-06-13 Deka Products Limited Partnership Apparatus for infusing fluid
US10722645B2 (en) 2011-12-21 2020-07-28 Deka Products Limited Partnership Syringe pump, and related method and system
US12131826B2 (en) 2011-12-21 2024-10-29 Deka Products Limited Partnership Syringe pump and related method
US11524151B2 (en) 2012-03-07 2022-12-13 Deka Products Limited Partnership Apparatus, system and method for fluid delivery
AU2013239778B2 (en) 2012-03-30 2017-09-28 Icu Medical, Inc. Air detection system and method for detecting air in a pump of an infusion system
US9180242B2 (en) 2012-05-17 2015-11-10 Tandem Diabetes Care, Inc. Methods and devices for multiple fluid transfer
US9710610B2 (en) 2012-07-25 2017-07-18 Covidien Lp Enteral feeding pump with flow adjustment
WO2014022513A1 (en) 2012-07-31 2014-02-06 Hospira, Inc. Patient care system for critical medications
MX2015007281A (es) * 2012-12-12 2015-08-12 Koninkl Philips Nv Dispositivo de resucitacion cardiopulmonar automatizado con pantalla.
US10357606B2 (en) 2013-03-13 2019-07-23 Tandem Diabetes Care, Inc. System and method for integration of insulin pumps and continuous glucose monitoring
US9173998B2 (en) 2013-03-14 2015-11-03 Tandem Diabetes Care, Inc. System and method for detecting occlusions in an infusion pump
US9737649B2 (en) 2013-03-14 2017-08-22 Smith & Nephew, Inc. Systems and methods for applying reduced pressure therapy
EP2968706B1 (en) 2013-03-14 2022-12-07 Smith & Nephew, Inc. Systems and methods for applying reduced pressure therapy
US10046112B2 (en) 2013-05-24 2018-08-14 Icu Medical, Inc. Multi-sensor infusion system for detecting air or an occlusion in the infusion system
WO2014194065A1 (en) 2013-05-29 2014-12-04 Hospira, Inc. Infusion system and method of use which prevents over-saturation of an analog-to-digital converter
US10166328B2 (en) 2013-05-29 2019-01-01 Icu Medical, Inc. Infusion system which utilizes one or more sensors and additional information to make an air determination regarding the infusion system
CA3130345A1 (en) 2013-07-03 2015-01-08 Deka Products Limited Partnership Apparatus, system and method for fluid delivery
EP3033119B1 (en) 2013-08-13 2023-10-11 Smith & Nephew, Inc. Systems for applying reduced pressure therapy
AU2014326970B2 (en) 2013-09-24 2019-06-20 Kpr U.S., Llc Feeding set and enteral feeding pump
MX377312B (es) 2014-02-21 2025-03-07 Deka Products Lp Bomba de jeringa que tiene un ensamble sensor de presión.
CA2939302C (en) 2014-02-28 2021-12-28 Hospira, Inc. Infusion system and method which utilizes dual wavelength optical air-in-line detection
CA2947045C (en) 2014-05-29 2022-10-18 Hospira, Inc. Infusion system and pump with configurable closed loop delivery rate catch-up
CN106794302B (zh) 2014-09-18 2020-03-20 德卡产品有限公司 通过将管适当加热来穿过管输注流体的装置和方法
US11344668B2 (en) 2014-12-19 2022-05-31 Icu Medical, Inc. Infusion system with concurrent TPN/insulin infusion
US10850024B2 (en) 2015-03-02 2020-12-01 Icu Medical, Inc. Infusion system, device, and method having advanced infusion features
WO2017197024A1 (en) 2016-05-13 2017-11-16 Icu Medical, Inc. Infusion pump system and method with common line auto flush
WO2017214441A1 (en) 2016-06-10 2017-12-14 Icu Medical, Inc. Acoustic flow sensor for continuous medication flow measurements and feedback control of infusion
USD835648S1 (en) 2016-10-27 2018-12-11 Smith & Nephew, Inc. Display screen or portion thereof with a graphical user interface for a therapy device
US10089055B1 (en) 2017-12-27 2018-10-02 Icu Medical, Inc. Synchronized display of screen content on networked devices
WO2019209963A1 (en) 2018-04-24 2019-10-31 Deka Products Limited Partnership Apparatus and system for fluid delivery
USD875766S1 (en) 2018-08-10 2020-02-18 Tandem Diabetes Care, Inc. Display screen or portion thereof with graphical user interface
USD875765S1 (en) 2018-08-10 2020-02-18 Tandem Diabetes Care, Inc. Display screen or portion thereof with graphical user interface
AU2019321669B2 (en) 2018-08-16 2022-07-14 Deka Products Limited Partnership Medical pump
USD864219S1 (en) 2018-08-20 2019-10-22 Tandem Diabetes Care, Inc. Display screen or portion thereof with graphical user interface
USD864217S1 (en) 2018-08-20 2019-10-22 Tandem Diabetes Care, Inc. Display screen or portion thereof with graphical user interface
USD880496S1 (en) 2018-08-20 2020-04-07 Tandem Diabetes Care, Inc. Display screen or portion thereof with graphical user interface
USD864218S1 (en) 2018-08-20 2019-10-22 Tandem Diabetes Care, Inc. Display screen or portion thereof with graphical user interface
USD882622S1 (en) 2018-08-22 2020-04-28 Tandem Diabetes Care, Inc. Display screen or portion thereof with graphical user interface
USD875767S1 (en) 2018-08-23 2020-02-18 Tandem Diabetes Care, Inc. Display screen or portion thereof with graphical user interface
AU2020257200A1 (en) 2019-04-17 2021-12-16 Icu Medical, Inc. System for onboard electronic encoding of the contents and administration parameters of IV containers and the secure use and disposal thereof
US11278671B2 (en) 2019-12-04 2022-03-22 Icu Medical, Inc. Infusion pump with safety sequence keypad
USD931306S1 (en) 2020-01-20 2021-09-21 Tandem Diabetes Care, Inc. Display screen or portion thereof with graphical user interface
CA3189781A1 (en) 2020-07-21 2022-01-27 Icu Medical, Inc. Fluid transfer devices and methods of use
US11135360B1 (en) 2020-12-07 2021-10-05 Icu Medical, Inc. Concurrent infusion with common line auto flush
JP7744198B2 (ja) * 2021-10-01 2025-09-25 アズビル株式会社 流量計測装置
USD1091564S1 (en) 2021-10-13 2025-09-02 Icu Medical, Inc. Display screen or portion thereof with graphical user interface for a medical device
WO2023108030A1 (en) 2021-12-10 2023-06-15 Icu Medical, Inc. Medical fluid compounding systems with coordinated flow control

Citations (5)

* Cited by examiner, † Cited by third party
Publication number Priority date Publication date Assignee Title
US5482446A (en) * 1994-03-09 1996-01-09 Baxter International Inc. Ambulatory infusion pump
JP2669592B2 (ja) * 1992-11-13 1997-10-29 インターナショナル・ビジネス・マシーンズ・コーポレイション ペン入力式ポータブル・コンピュータ、表示装置および設定方法
JP2957507B2 (ja) * 1997-02-24 1999-10-04 インターナショナル・ビジネス・マシーンズ・コーポレイション 小型情報処理機器
WO2000042911A1 (en) * 1999-01-25 2000-07-27 Masimo Corporation Universal/upgrading pulse oximeter
JP2001142445A (ja) * 1999-11-17 2001-05-25 Nec Corp オンスクリーン表示装置

Family Cites Families (217)

* Cited by examiner, † Cited by third party
Publication number Priority date Publication date Assignee Title
US5669877A (en) 1994-03-07 1997-09-23 Sims Deltec, Inc. Systems and methods for automated testing of medical equipment
US6241704B1 (en) * 1901-11-22 2001-06-05 Sims Deltec, Inc. Drug pump systems and methods
US5338157B1 (en) 1992-09-09 1999-11-02 Sims Deltec Inc Systems and methods for communicating with ambulat
US5935099A (en) 1992-09-09 1999-08-10 Sims Deltec, Inc. Drug pump systems and methods
US3756752A (en) 1971-12-20 1973-09-04 G Stenner Peristaltic pump
US3771694A (en) 1972-07-07 1973-11-13 A Kaminski Infusion pump
US3809871A (en) 1972-12-01 1974-05-07 Nasa Programmable physiological infusion
SE380445B (sv) 1973-11-23 1975-11-10 Bjoerklund K B Forfarande for intermittent dosering av sma volymer samt anordning for genomforande av forfarandet
US4273122A (en) 1976-11-12 1981-06-16 Whitney Douglass G Self contained powered injection system
US4151407A (en) 1977-04-28 1979-04-24 Texas Instruments Incorporated Low-power, infrared information transmission system
US4199307A (en) 1977-07-05 1980-04-22 Andros Incorporated Medical infusion system
US4273121A (en) 1978-02-17 1981-06-16 Andros Incorporated Medical infusion system
US4308866A (en) 1978-11-02 1982-01-05 University Of Southern California Infusion controlling apparatus and method
US4277226A (en) 1979-03-09 1981-07-07 Avi, Inc. IV Pump with empty supply reservoir and occlusion detector
JPS5631758A (en) 1979-08-24 1981-03-31 Sharp Kk Detector for clogging condition of flexible tube
JPS56113084A (en) 1980-02-12 1981-09-05 Terumo Corp Pulsation preventing method and device for peristaltic finger pump
US4460358A (en) 1980-11-07 1984-07-17 Ivac Corporation Combined load and latch mechanism for fluid flow control apparatus
US4398908A (en) 1980-11-28 1983-08-16 Siposs George G Insulin delivery system
US4428381A (en) 1981-03-13 1984-01-31 Medtronic, Inc. Monitoring device
NZ200222A (en) 1981-04-15 1985-12-13 Wellcome Australia Elastic chamber pump:controlling pumping rate and indicating faults in fluid line
DE3138267C2 (de) 1981-09-25 1985-05-30 Pfrimmer-Viggo GmbH & Co KG, 8520 Erlangen Vorrichtung zur enteralen Verabreichung von Nahrung
US4529401A (en) 1982-01-11 1985-07-16 Cardiac Pacemakers, Inc. Ambulatory infusion pump having programmable parameters
US4472116A (en) 1982-03-01 1984-09-18 Air-Shields, Inc. Infusion pumping apparatus
US4496351A (en) 1982-04-05 1985-01-29 Ipco Corporation Infusion monitor
US4451255A (en) 1982-05-20 1984-05-29 Abbott Laboratories Dual flow rate intravenous administration set with single pump chamber
US4596550A (en) 1982-09-24 1986-06-24 Baxter Travenol Laboratories, Inc. Method and apparatus for ultrafiltration measurement in a two pump dialysis system
US4624661A (en) 1982-11-16 1986-11-25 Surgidev Corp. Drug dispensing system
US4526574A (en) 1983-05-23 1985-07-02 Baxter Travenol Laboratories, Inc. Differential occlusion sensing method and apparatus
US4493710A (en) 1983-11-14 1985-01-15 Ivy Medical, Inc. Intravenous drip rate control device
US4544369A (en) 1983-11-22 1985-10-01 C. R. Bard, Inc. Battery operated miniature syringe infusion pump
US4854324A (en) 1984-01-31 1989-08-08 Medrad, Inc. Processor-controlled angiographic injector device
DE3404144A1 (de) 1984-02-07 1985-08-08 "gutta" Gesellschaft für Infusionstechnik mbH, 2000 Hamburg Monolithisches miniaturisiertes schwerkraftinfusionsregelgeraet
IL74236A (en) 1984-02-08 1990-07-12 Omni Flow Inc Infusion system having plural fluid input ports and at least one patient output port
US5100380A (en) 1984-02-08 1992-03-31 Abbott Laboratories Remotely programmable infusion system
EP0158683B1 (de) 1984-04-14 1988-10-05 Ferring Biotechnik GmbH Vorrichtung zum intermittierenden Applizieren flüssiger Arzneimittel
US4551133A (en) 1984-04-16 1985-11-05 American Hospital Supply Corporation Patient controlled medication infusion system
US4741732A (en) 1984-05-10 1988-05-03 The University Of Melbourne Open-loop control of drug infusion
US4511352A (en) 1984-05-14 1985-04-16 Alza Corporation Parenteral delivery system with in-line container
US4602249A (en) 1984-05-21 1986-07-22 Quest Medical, Inc. Method and apparatus for detecting leaking valves in a volumetric infusion device
US4601702A (en) 1984-05-21 1986-07-22 Quest Medical, Inc. Volumetric infusion actuator
US4561830A (en) 1984-10-01 1985-12-31 Ivac Corporation Linear peristaltic pump
US4650469A (en) 1984-10-19 1987-03-17 Deltec Systems, Inc. Drug delivery system
US4565542A (en) 1984-10-19 1986-01-21 Deltec Systems, Inc. Locking mechanism for a drug delivery system
US4559038A (en) 1984-10-19 1985-12-17 Deltec Systems, Inc. Drug delivery system
US4673389A (en) 1984-11-29 1987-06-16 Minnesota Mining And Manufacturing Company Sequence valve for piggyback IV administration
US4810243A (en) 1985-01-18 1989-03-07 Intelligent Medicine, Inc. Device and method for effecting application of a therapeutic agent
US4676776A (en) 1985-01-18 1987-06-30 Intelligent Medicine, Inc. Device and method for effecting application of a therapeutic agent
US4756706A (en) 1985-01-23 1988-07-12 American Hospital Supply Corporation Centrally managed modular infusion pump system
US4681563A (en) 1985-04-26 1987-07-21 Centaur Sciences, Inc. Flow control system
US4908017A (en) 1985-05-14 1990-03-13 Ivion Corporation Failsafe apparatus and method for effecting syringe drive
DK160633C (da) 1985-05-15 1991-09-02 Henning Munk Ejlersen Slangepumpe, isaer til avendelse som insulinpumpe
US4838857A (en) 1985-05-29 1989-06-13 Becton, Dickinson And Company Medical infusion device
JPS6232969A (ja) 1985-08-05 1987-02-12 日機装株式会社 輸液装置
AU595540B2 (en) 1985-08-06 1990-04-05 Baxter International Inc. Patient-controlled delivery of beneficial agents
DE3530747A1 (de) 1985-08-28 1987-03-05 Stoeckert Instr Gmbh Ultraschallsensor
CH665955A5 (en) 1985-11-19 1988-06-30 Universo Sa Manually programmable injector - has interchangeable drug cartridge, and data input setting the valves which can be manually selected
US4690673A (en) 1985-11-26 1987-09-01 Imed Corporation Dual mode I.V. infusion device with distal sensor
US4718576A (en) 1985-12-23 1988-01-12 Oximetrix, Inc. Fluid infusion pumping apparatus
US4754401A (en) 1986-05-05 1988-06-28 Spacelabs, Inc. System for servicing a removable RAM package for an ambulatory medical monitor
US4909713A (en) 1986-05-07 1990-03-20 Cobe Laboratories, Inc. Peristaltic pump
US4731058A (en) 1986-05-22 1988-03-15 Pharmacia Deltec, Inc. Drug delivery system
US4725205A (en) 1987-01-30 1988-02-16 Fisher Scientific Group Inc. Peristaltic pump with cam action compensator
WO1988010383A1 (en) 1987-06-19 1988-12-29 The University Of Melbourne Infusion pump and drive systems therefore
IT211917Z2 (it) 1987-07-30 1989-05-25 Elettro Plastica Srl Pompa di erogazione applicabile a contenitori di fluidi.
US4861242A (en) 1987-08-19 1989-08-29 Cobe Laboratories, Inc. Self-loading peristaltic pump
US4836752A (en) 1987-11-02 1989-06-06 Fisher Scientific Company Partial restriction detector
DE3739563C1 (de) 1987-11-22 1989-04-13 Fresenius Ag Infusionsspritzenpumpe
US5041086A (en) 1987-12-04 1991-08-20 Pacesetter Infusion, Ltd. Clinical configuration of multimode medication infusion system
US5025374A (en) 1987-12-09 1991-06-18 Arch Development Corp. Portable system for choosing pre-operative patient test
US5053031A (en) 1988-03-29 1991-10-01 Baxter International Inc. Pump infusion system
US4886431A (en) 1988-04-29 1989-12-12 Cole-Parmer Instrument Company Peristaltic pump having independently adjustable cartridges
US4941808A (en) 1988-06-29 1990-07-17 Humayun Qureshi Multi-mode differential fluid displacement pump
US5131816A (en) 1988-07-08 1992-07-21 I-Flow Corporation Cartridge fed programmable ambulatory infusion pumps powered by DC electric motors
US5098377A (en) 1988-09-06 1992-03-24 Baxter International Inc. Multimodal displacement pump and dissolution system for same
US4943279A (en) 1988-09-30 1990-07-24 C. R. Bard, Inc. Medical pump with infusion controlled by a detachable coded label
US5153827A (en) 1989-01-30 1992-10-06 Omni-Flow, Inc. An infusion management and pumping system having an alarm handling system
US4969871A (en) 1989-02-15 1990-11-13 Alza Corporation Intravenous system for delivering a beneficial agent
US5279556A (en) 1989-04-28 1994-01-18 Sharp Kabushiki Kaisha Peristaltic pump with rotary encoder
US4936760A (en) 1989-06-12 1990-06-26 Williams David R Volumetric infusion pump
JP2859306B2 (ja) 1989-07-24 1999-02-17 テルモ株式会社 輸液ポンプ
US5135500A (en) 1989-10-31 1992-08-04 Prime Medical Products, Inc. Self-driven pump device
US5098256A (en) 1989-11-21 1992-03-24 The Cleveland Clinic Foundation Viscous seal blood pump
US4954046A (en) 1989-12-08 1990-09-04 Imed Corporation Peristaltic pump with mechanism for maintaining linear flow
US5104374A (en) 1990-01-16 1992-04-14 Bishko Jay R Electronic fluid flow rate controller for controlling the infusion of intravenous drugs into a patient
US5078362A (en) 1990-03-15 1992-01-07 Abbott Laboratories Spring-biased valve for use in a positive displacement volumetic pump
US5055001A (en) 1990-03-15 1991-10-08 Abbott Laboratories Volumetric pump with spring-biased cracking valves
US5116203A (en) 1990-03-15 1992-05-26 Abbott Laboratories Detecting occlusion of proximal or distal lines of an IV pump
US5039279A (en) 1990-03-15 1991-08-13 Abbott Laboratories Sensor for detecting fluid flow from a positive displacement pump
US5165874A (en) 1990-05-04 1992-11-24 Block Medical, Inc. Disposable infusion apparatus and peristaltic pump for use therewith
US5078683A (en) 1990-05-04 1992-01-07 Block Medical, Inc. Programmable infusion system
US5181842A (en) 1990-06-15 1993-01-26 Sherwood Medical Company Peristaltic infusion device
US5057081A (en) 1990-06-15 1991-10-15 Sherwood Medical Company Peristaltic infusion device
US5090877A (en) 1990-08-23 1992-02-25 Baxter International Inc. Misloaded iv tube detector for an iv pump
US5120096A (en) 1990-08-23 1992-06-09 Baxter International Inc. Misloaded IV tube detector for an IV pump
JPH0693916B2 (ja) 1990-10-31 1994-11-24 テルモ株式会社 輸液ポンプ
JPH04193153A (ja) 1990-11-26 1992-07-13 Olympus Optical Co Ltd 内視鏡画像ネットワークシステム
US5123275A (en) 1990-12-07 1992-06-23 Ivac Corporation Air in-line sensor system
US5256157A (en) 1991-01-31 1993-10-26 Baxter International Inc. Automated infusion pump with replaceable memory cartridges
US5181910A (en) 1991-02-28 1993-01-26 Pharmacia Deltec, Inc. Method and apparatus for a fluid infusion system with linearized flow rate change
US5219331A (en) 1991-05-07 1993-06-15 Imed Corporation Pumping system for intravenous administration of a secondary treatment fluid
US5236416A (en) 1991-05-23 1993-08-17 Ivac Corporation Syringe plunger position detection and alarm generation
DE69212069T2 (de) 1991-05-23 1997-02-20 Ivac Corp Antriebssystem für Kolbenstange einer Spritze
US5176004A (en) 1991-06-18 1993-01-05 Helix Technology Corporation Electronically controlled cryopump and network interface
US5265431A (en) 1991-06-18 1993-11-30 Helix Technology Corporation Electronically controlled cryopump and network interface
US5213483A (en) 1991-06-19 1993-05-25 Strato Medical Corporation Peristaltic infusion pump with removable cassette and mechanically keyed tube set
JPH0515589A (ja) 1991-07-10 1993-01-26 Sharp Corp 輸液装置
US5213573A (en) 1991-08-05 1993-05-25 Imed Corporation Iv administration set infiltration monitor
US5290239A (en) 1991-09-26 1994-03-01 Baxter International, Inc. Intravenous tube safety apparatus
US5238001A (en) 1991-11-12 1993-08-24 Stuart Medical Inc. Ambulatory patient monitoring system having multiple monitoring units and optical communications therebetween
US5219330A (en) 1991-11-26 1993-06-15 Imed Corporation Method and apparatus for preprogrammed infusion of iv medicaments
US5244463A (en) 1991-12-06 1993-09-14 Block Medical, Inc. Programmable infusion pump
GR1001179B (el) 1992-03-10 1993-06-07 Micrel Kentron Efarmogon Mikro Φορητη γραμμικη μερισταλτικη αντλια.
FR2689014B1 (fr) 1992-03-24 1994-06-03 Aguettant Lab Pompe de perfusion de liquides medicaux.
JP3236057B2 (ja) 1992-04-03 2001-12-04 シャープ株式会社 輸液装置
US5295966A (en) 1992-04-29 1994-03-22 Becton, Dickinson And Company Syringe pump with biased lockable syringe clamp
US5261884A (en) 1992-04-29 1993-11-16 Becton, Dickinson And Company Syringe pump control system
FR2690622B1 (fr) 1992-04-29 1995-01-20 Chronotec Système de pompe à perfusion ambulatoire programmable.
US5219428A (en) 1992-04-29 1993-06-15 Becton, Dickinson And Company Pole camp
US5232449A (en) 1992-04-29 1993-08-03 Becton, Dickinson And Company Syringe pump pusher
US5259732A (en) 1992-04-29 1993-11-09 Becton, Dickinson And Company Syringe pump with syringe barrel position detector
US5437635A (en) 1992-05-06 1995-08-01 Mcgaw, Inc. Tube flow limiter, safety flow clip, and tube pincher mechanism
US5336245A (en) 1992-05-20 1994-08-09 Angeion Corporation Storage interrogation apparatus for cardiac data
EP0655107B1 (en) 1992-06-09 2002-10-16 Baxter International Inc. Programmable infusion pump with interchangeable tubing
US5383858B1 (en) * 1992-08-17 1996-10-29 Medrad Inc Front-loading medical injector and syringe for use therewith
US5788669A (en) 1995-11-22 1998-08-04 Sims Deltec, Inc. Pump tracking system
US5254096A (en) 1992-09-23 1993-10-19 Becton, Dickinson And Company Syringe pump with graphical display or error conditions
US5295967A (en) 1992-09-23 1994-03-22 Becton, Dickinson And Company Syringe pump having continuous pressure monitoring and display
US5242408A (en) 1992-09-23 1993-09-07 Becton, Dickinson And Company Method and apparatus for determining pressure and detecting occlusions in a syringe pump
US5298021A (en) 1992-09-24 1994-03-29 Sherer David J ACLS infusion pump system
US5376070A (en) 1992-09-29 1994-12-27 Minimed Inc. Data transfer system for an infusion pump
DK0649316T3 (da) 1992-10-15 2001-01-29 Gen Hospital Corp Infusionspumpe med et lægemiddelbibliotek, hvortil der kan foretages elektronisk indlæsning
US5378231A (en) 1992-11-25 1995-01-03 Abbott Laboratories Automated drug infusion system
US5910252A (en) 1993-02-12 1999-06-08 Cobe Laboratories, Inc. Technique for extracorporeal treatment of blood
US5330431A (en) 1993-03-12 1994-07-19 Glenn Herskowitz Infusion pump
US5374251A (en) 1993-04-14 1994-12-20 Entracare Medical fluid pump apparatus
US5573502A (en) 1993-05-26 1996-11-12 Quest Medical, Inc. Display panel and controls for blood mixture delivery system
DE4320365C2 (de) 1993-06-19 2000-07-13 Uvo Hoelscher Mehrkanal-Dosiersystem
US5348539A (en) 1993-06-29 1994-09-20 Glenn Herskowitz Infusion pump for use with prepackaged IV bags
FR2710537B1 (fr) 1993-09-30 1995-12-01 Becton Dickinson Co Procédé et dispositif de détection d'occlusions dans une ligne de perfusion.
US5389078A (en) 1993-10-06 1995-02-14 Sims Deltec, Inc. Programmable infusion pump for administering medication to patients
US5397222A (en) 1993-11-01 1995-03-14 Moss; Richard Reusable medical cassette for ambulatory medical infusion pumps
US5431627A (en) 1993-11-12 1995-07-11 Abbott Laboratories Cassette identification system for use with a multi-program drug infusion pump
US5531697A (en) 1994-04-15 1996-07-02 Sims Deltec, Inc. Systems and methods for cassette identification for drug pumps
US5562621A (en) 1993-11-22 1996-10-08 Advanced Cardiovascular Systems, Inc. Communication system for linking a medical device with a remote console
JP3320179B2 (ja) 1993-12-17 2002-09-03 シャープ株式会社 輸液ポンプ
DE69411951T2 (de) 1993-12-30 1999-01-07 Sims Graseby Ltd., Watford, Herfordshire Medizinische infusionspumpe
US5387088A (en) 1994-01-18 1995-02-07 Haemonetics Corporation Peristaltic pump tube loading assembly
US5630710A (en) 1994-03-09 1997-05-20 Baxter International Inc. Ambulatory infusion pump
GB9405523D0 (en) 1994-03-21 1994-05-04 Graseby Medical Ltd Pumping and pressure detection using flexible tubes
US5609575A (en) 1994-04-11 1997-03-11 Graseby Medical Limited Infusion pump and method with dose-rate calculation
US5695473A (en) 1994-07-27 1997-12-09 Sims Deltec, Inc. Occlusion detection system for an infusion pump
US5549460A (en) 1994-08-08 1996-08-27 Ivac Corporation IV fluid delivery system
US5513957A (en) 1994-08-08 1996-05-07 Ivac Corporation IV fluid delivery system
US5511951A (en) 1994-08-08 1996-04-30 O'leary; Stephen H. IV fluid delivery system
US5462051A (en) 1994-08-31 1995-10-31 Colin Corporation Medical communication system
US5601420A (en) 1994-09-12 1997-02-11 Ivac Medical Systems, Inc. Interlock, latching, and retaining mechanism for an infusion pump
US5533981A (en) 1994-10-06 1996-07-09 Baxter International Inc. Syringe infusion pump having a syringe plunger sensor
US5522798A (en) 1994-10-17 1996-06-04 Abbott Laboratories Control of a multi-channel drug infusion pump using a pharmacokinetic model
US5573506A (en) 1994-11-25 1996-11-12 Block Medical, Inc. Remotely programmable infusion system
US5685844A (en) 1995-01-06 1997-11-11 Abbott Laboratories Medicinal fluid pump having multiple stored protocols
GB2336510B (en) 1995-02-06 1999-12-01 Motorola Inc Radio communication device with moveable housing element control
US5788851A (en) * 1995-02-13 1998-08-04 Aksys, Ltd. User interface and method for control of medical instruments, such as dialysis machines
US5814015A (en) 1995-02-24 1998-09-29 Harvard Clinical Technology, Inc. Infusion pump for at least one syringe
US5647853A (en) 1995-03-03 1997-07-15 Minimed Inc. Rapid response occlusion detector for a medication infusion pump
US5637093A (en) 1995-03-06 1997-06-10 Sabratek Corporation Infusion pump with selective backlight
US5904668A (en) 1995-03-06 1999-05-18 Sabratek Corporation Cassette for an infusion pump
US5795327A (en) 1995-03-06 1998-08-18 Sabratek Corporation Infusion pump with historical data recording
USD376848S (en) 1995-03-06 1996-12-24 Sabratek Corporation Infusion pump cassette
US5683367A (en) 1995-03-06 1997-11-04 Sabratek Corporation Infusion pump with different operating modes
US6203528B1 (en) 1995-03-06 2001-03-20 Baxter International Inc. Unitary molded elastomer conduit for use with a medical infusion pump
US5628619A (en) 1995-03-06 1997-05-13 Sabratek Corporation Infusion pump having power-saving modes
USD380260S (en) 1995-03-06 1997-06-24 Sabratek Corporation Infusion pump
US5620312A (en) 1995-03-06 1997-04-15 Sabratek Corporation Infusion pump with dual-latching mechanism
US5713856A (en) 1995-03-13 1998-02-03 Alaris Medical Systems, Inc. Modular patient care system
US5554115A (en) 1995-04-07 1996-09-10 Abbott Laboratories Sensor for measuring pressures in a cassette pump proximal and distal to a pumping chamber
US5531680A (en) 1995-05-05 1996-07-02 Zevex, Inc. Enteral feeding pump motor unit and method of use
AU5986296A (en) 1995-06-07 1996-12-30 Jeffrey M. Garrigues Flow regulated liquid delivery system
US5752976A (en) 1995-06-23 1998-05-19 Medtronic, Inc. World wide patient location and data telemetry system for implantable medical devices
US5827223A (en) * 1995-08-31 1998-10-27 Alaris Medical Systems, Inc. Upstream occulsion detection system
US5588815A (en) 1995-11-15 1996-12-31 Alcon Laboratories, Inc. Surgical cassette loading and unloading system
US5745378A (en) 1995-12-04 1998-04-28 Abbott Laboratories Parameter input for drug delivery pump
US5943633A (en) 1996-01-05 1999-08-24 Sabratek Corporation Automatic infusion pump tester
US5782805A (en) 1996-04-10 1998-07-21 Meinzer; Randolph Medical infusion pump
GB9607471D0 (en) 1996-04-10 1996-06-12 Baxter Int Volumetric infusion pump
USD390654S (en) 1996-04-26 1998-02-10 Baxter International Inc. Volumetric infusion pump
US5885245A (en) 1996-08-02 1999-03-23 Sabratek Corporation Medical apparatus with remote virtual input device
US5807336A (en) 1996-08-02 1998-09-15 Sabratek Corporation Apparatus for monitoring and/or controlling a medical device
US5894273A (en) 1996-08-26 1999-04-13 Fairway Medical Technologies, Inc. Centrifugal blood pump driver apparatus
US5895371A (en) 1996-08-27 1999-04-20 Sabratek Corporation Medical treatment apparatus and method
US5813972A (en) 1996-09-30 1998-09-29 Minnesota Mining And Manufacturing Company Medical perfusion system with data communications network
IL120651A (en) 1997-04-11 2001-06-14 Nestle Sa Administration of liquid to a patient
US6004020A (en) 1997-06-11 1999-12-21 Bartur; Meir Medication dispensing and monitoring system
US5897530A (en) 1997-12-24 1999-04-27 Baxter International Inc. Enclosed ambulatory pump
US6200289B1 (en) * 1998-04-10 2001-03-13 Milestone Scientific, Inc. Pressure/force computer controlled drug delivery system and the like
US6658276B2 (en) * 1999-01-25 2003-12-02 Masimo Corporation Pulse oximeter user interface
US6173198B1 (en) 1999-01-29 2001-01-09 Baxter International Inc. Apparatus and method for the accurate placement of biomedical sensors
US20040158193A1 (en) 1999-02-10 2004-08-12 Baxter International Inc. Medical apparatus using selective graphical interface
US6231560B1 (en) 1999-02-10 2001-05-15 Baxter International Inc Method and apparatus for automatically controlling the level of medication
KR100317370B1 (ko) * 1999-03-30 2001-12-22 구자홍 온스크린 디스플레이 메뉴를 이용한 영상표시기기의 레벨조절표시장치 및 방법
GB9909654D0 (en) * 1999-04-28 1999-06-23 Smiths Industries Plc Syringe pump
JP2003530614A (ja) 1999-04-28 2003-10-14 アドビ・システムズ・インコーポレーテッド 表示データの回転の向きを変更するためのシステムおよび方法
GB9910985D0 (en) * 1999-05-12 1999-07-14 Smiths Industries Plc Syringe pumps
US6458102B1 (en) * 1999-05-28 2002-10-01 Medtronic Minimed, Inc. External gas powered programmable infusion device
US6423035B1 (en) * 1999-06-18 2002-07-23 Animas Corporation Infusion pump with a sealed drive mechanism and improved method of occlusion detection
US6958053B1 (en) * 1999-11-24 2005-10-25 Medrad, Inc. Injector providing drive member advancement and engagement with syringe plunger, and method of connecting a syringe to an injector
US6485465B2 (en) * 2000-03-29 2002-11-26 Medtronic Minimed, Inc. Methods, apparatuses, and uses for infusion pump fluid pressure and force detection
AU2001261198A1 (en) * 2000-05-05 2001-11-20 Hill-Rom Services, Inc. Patient point of care computer system
US7232430B2 (en) * 2000-07-07 2007-06-19 Mack Ventures, Inc. Air-in-line and pressure detection
CA2421133C (en) * 2000-09-08 2012-06-26 Insulet Corporation Devices, systems and methods for patient infusion
US6585675B1 (en) * 2000-11-02 2003-07-01 Chf Solutions, Inc. Method and apparatus for blood withdrawal and infusion using a pressure controller
US7018363B2 (en) * 2001-01-18 2006-03-28 Medrad, Inc. Encoding and sensing of syringe information
US20020120470A1 (en) * 2001-02-23 2002-08-29 Eugene Trice Portable personal and medical information system and method for making and using system
WO2002081011A1 (en) * 2001-04-03 2002-10-17 Medrad, Inc. Encoding and sensing of syringe information
WO2002083209A1 (en) * 2001-04-13 2002-10-24 Nipro Diabetes Systems Drive system for an infusion pump
EP2302541B1 (en) * 2001-08-03 2016-09-28 Hill-Rom Services, Inc. Patient point-of-care computer system
JP2003070909A (ja) * 2001-08-30 2003-03-11 Japan Servo Co Ltd 輸液装置
DE20200885U1 (de) * 2002-01-22 2003-05-28 B. Braun Melsungen Ag, 34212 Melsungen Spritzenpumpe mit Kolbenbremse

Patent Citations (6)

* Cited by examiner, † Cited by third party
Publication number Priority date Publication date Assignee Title
JP2669592B2 (ja) * 1992-11-13 1997-10-29 インターナショナル・ビジネス・マシーンズ・コーポレイション ペン入力式ポータブル・コンピュータ、表示装置および設定方法
US5482446A (en) * 1994-03-09 1996-01-09 Baxter International Inc. Ambulatory infusion pump
JP2957507B2 (ja) * 1997-02-24 1999-10-04 インターナショナル・ビジネス・マシーンズ・コーポレイション 小型情報処理機器
WO2000042911A1 (en) * 1999-01-25 2000-07-27 Masimo Corporation Universal/upgrading pulse oximeter
JP2002535026A (ja) * 1999-01-25 2002-10-22 マシモ・コーポレイション 汎用/アップグレード用パルス酸素濃度計
JP2001142445A (ja) * 1999-11-17 2001-05-25 Nec Corp オンスクリーン表示装置

Also Published As

Publication number Publication date
US20030233071A1 (en) 2003-12-18
AU2002343748B2 (en) 2007-11-29
TW200307569A (en) 2003-12-16
CA2488215A1 (en) 2003-12-24
JP2006511247A (ja) 2006-04-06
TWI233814B (en) 2005-06-11
AU2002343748A1 (en) 2003-12-31
WO2003105932A1 (en) 2003-12-24
US6997905B2 (en) 2006-02-14
CA2488215C (en) 2012-03-20
JP5094810B2 (ja) 2012-12-12

Similar Documents

Publication Publication Date Title
JP5094810B2 (ja) 医療デバイスのための二方向ディスプレイ
US20230115595A1 (en) Intravenous infusion pump with cassette insertion and pump control user interface
US20230310735A1 (en) Electronically controlled intravenous infusion pump
US8795231B2 (en) Automated reservoir fill system
JP2020054871A (ja) 注入ポンプの方法およびシステム
JPH06261942A (ja) メモリーカートリッジが交換可能な自動注入ポンプ
WO2012065649A1 (en) Syringe pump and array of syringe pumps with multi-zone electronic display
JP2010506279A (ja) 日記機能を備えた投与システムのユーザインターフェース
EP0399119A1 (en) An intravenous fluid infusing device
AU2006309126B2 (en) Infusion pump having function keys
CN217219744U (zh) 医学流体泵
TWI907805B (zh) 實質上連續靜脈內輸注相同或實質上相同的醫用流體並更換流體源之系統和方法
US20220379012A1 (en) Infusion device and method with user interface
TW202412866A (zh) 實質上連續靜脈內輸注相同或實質上相同的醫用流體並更換流體源之系統和方法
HK1114033B (en) Infusion pump having function keys

Legal Events

Date Code Title Description
A521 Request for written amendment filed

Free format text: JAPANESE INTERMEDIATE CODE: A523

Effective date: 20101001

A131 Notification of reasons for refusal

Free format text: JAPANESE INTERMEDIATE CODE: A131

Effective date: 20110929

A601 Written request for extension of time

Free format text: JAPANESE INTERMEDIATE CODE: A601

Effective date: 20111226

A602 Written permission of extension of time

Free format text: JAPANESE INTERMEDIATE CODE: A602

Effective date: 20120104

TRDD Decision of grant or rejection written
A01 Written decision to grant a patent or to grant a registration (utility model)

Free format text: JAPANESE INTERMEDIATE CODE: A01

Effective date: 20120828

A01 Written decision to grant a patent or to grant a registration (utility model)

Free format text: JAPANESE INTERMEDIATE CODE: A01

A61 First payment of annual fees (during grant procedure)

Free format text: JAPANESE INTERMEDIATE CODE: A61

Effective date: 20120918

R150 Certificate of patent or registration of utility model

Free format text: JAPANESE INTERMEDIATE CODE: R150

FPAY Renewal fee payment (event date is renewal date of database)

Free format text: PAYMENT UNTIL: 20150928

Year of fee payment: 3

R250 Receipt of annual fees

Free format text: JAPANESE INTERMEDIATE CODE: R250

LAPS Cancellation because of no payment of annual fees