JP2010040026A - タクシーメータ - Google Patents

タクシーメータ Download PDF

Info

Publication number
JP2010040026A
JP2010040026A JP2009048861A JP2009048861A JP2010040026A JP 2010040026 A JP2010040026 A JP 2010040026A JP 2009048861 A JP2009048861 A JP 2009048861A JP 2009048861 A JP2009048861 A JP 2009048861A JP 2010040026 A JP2010040026 A JP 2010040026A
Authority
JP
Japan
Prior art keywords
subsequent
fare
taxi
display format
display
Prior art date
Legal status (The legal status is an assumption and is not a legal conclusion. Google has not performed a legal analysis and makes no representation as to the accuracy of the status listed.)
Granted
Application number
JP2009048861A
Other languages
English (en)
Other versions
JP5426193B2 (ja
Inventor
Tomoki Onishi
智貴 大西
Current Assignee (The listed assignees may be inaccurate. Google has not performed a legal analysis and makes no representation or warranty as to the accuracy of the list.)
Yazaki Corp
Original Assignee
Yazaki Corp
Priority date (The priority date is an assumption and is not a legal conclusion. Google has not performed a legal analysis and makes no representation as to the accuracy of the date listed.)
Filing date
Publication date
Application filed by Yazaki Corp filed Critical Yazaki Corp
Priority to JP2009048861A priority Critical patent/JP5426193B2/ja
Publication of JP2010040026A publication Critical patent/JP2010040026A/ja
Application granted granted Critical
Publication of JP5426193B2 publication Critical patent/JP5426193B2/ja
Active legal-status Critical Current
Anticipated expiration legal-status Critical

Links

Images

Landscapes

  • Devices For Checking Fares Or Tickets At Control Points (AREA)

Abstract

【課題】営業内容の管理及び解析を正確に行うことができるタクシーメータを提供する。
【解決手段】タクシーメータ1は、タクシー料金に加算される複数種類の後続運賃を記憶する後続運賃記憶手段12と、タクシーの営業走行時に、該タクシーの走行距離と走行時間とに基づいて前記複数種類の後続運賃の中から1つの前記後続運賃を選択して前記タクシー料金に加算する後続運賃加算手段11aと、を有する。そして、前記後続運賃加算手段11aによって前記後続運賃記憶手段12に記憶された前記複数種類の後続運賃が前記タクシー料金に加算された回数を、前記後続運賃の額毎に分けて計数及び記憶する運賃額毎後続回数計数手段11bを有していることを特徴とする。
【選択図】図1

Description

本発明は、走行距離と走行時間とに基づいてタクシー料金に加算される複数種類の後続運賃が設けられたタクシーメータに関するものである。
タクシーメータは、タクシーの走行距離及び走行時間並びに認可を受けた料金制に基づいてタクシー料金を算出し、請求するタクシー料金を逐次表示するものである。前記走行距離は、例えば車体に備えられた距離センサからトランスミッションの回転に応じた距離信号を取り込むことにより算出される。また、前記料金制は、運賃設定のわかりやすさを担保して利用者の利便等を確保するためのものであり、タクシー事業者は料金制の認可を受けるように法律によって定められている。
このようなタクシー料金は、運賃部分と料金部分とで構成されている。運賃部分は、利用者を目的地まで運ぶための運送料であり、所定の基本距離以下の走行にかかる基本運賃(初乗り運賃とも呼ばれる)と、走行距離と走行時間とに基づいて加算される後続運賃(加算運賃とも呼ばれる)と、からなる。料金部分は、サービスに対する対価であり、例えば、タクシー利用者(つまり、乗客)がタクシーを待たせた場合にかかる待料金や、タクシー利用者の所在地までタクシーを迎えに来させた場合にかかる迎車料金などからなる。
従来、タクシーメータには基本運賃と1種類の後続運賃とが設けられており、乗客を運送する営業走行の開始時にタクシー料金に基本運賃が加算され、その後、走行距離が上記基本距離を超えると、走行距離と走行時間とに応じて上記1つの後続運賃がタクシー料金に加算されていた(例えば、特許文献1)。そして、この基本距離は一般的に2000mに設定されていた。しかしながら、例えば、タクシー利用者が、基本距離より短い距離を利用した場合であっても、常に基本運賃が加算されてしまうため、短い距離を利用したいと考えるタクシー利用者の乗り控えにつながるという問題があった。
そこで、この問題を解決するものとして、複数種類の後続運賃が設けられたタクシーメータがある。このタクシーメータは、中央演算処理装置(CPU)、ROM、及び、RAMを備えており、ROMには、このタクシーメータの制御プログラムの他に、基本運賃及び複数種類の後続運賃を含む料金制情報が記憶されている。
このタクシーメータは、走行距離と走行時間に応じて異なる金額が設定可能な複数種類の後続運賃(後続運賃1、2、3)を備えており、また、これら複数種類の後続運賃について、それぞれタクシー料金への加算上限回数が予め設定可能である。例えば、後続運賃1(加算上限回数2回)と、後続運賃2(加算上限回数3回)と、後続運賃3(加算上限回数なし、即ち、加算回数に制限なし)と、が設けられていた場合、基本運賃での走行後、1回目と2回目の後続運賃の加算は、後続運賃1に設定された額で行われ、3回目〜5回目の後続運賃の加算は、後続運賃2に設定された額で行われ、そして、6回目以降の後続運賃の加算は、後続運賃3に設定された額で行われる。また、このタクシーメータは、複数種類の後続運賃がタクシー料金に加算された回数(以下、「後続回数」という)を、全ての種類の後続運賃について合算して計数する。
例えば、上述した従来の1種類の後続運賃が設けられたタクシーメータにおける基本運賃が700円、基本距離が2000m、後続運賃が走行距離290m毎又は105秒毎に90円、だった場合に、この複数種類の後続運賃が設けられたタクシーメータの基本運賃を360円、基本距離を1000m、後続運賃1を走行距離210m毎に80円、後続運賃1の加算上限回数を2回、後続運賃2を走行距離290m毎に90円、後続運賃2の加算上限回数を2回、後続運賃3を走行距離290m毎又は105秒毎に90円、後続運賃3の加算上限回数をなし、とすることで、従来の基本距離(2000m)を走行したときのタクシー料金を、従来の基本運賃(700円)と同額にすることができるとともに、基本距離を短くして基本運賃を安くできた。つまり、このタクシーメータによれば、複数種類の後続運賃を備えることにより、従来の基本距離以上の走行においては従来と同じタクシー料金とすることができ、且つ、従来の基本距離より短い距離の走行においては、より安いタクシー料金とすることができた。
特開2007−328553号公報
タクシー業務においては、一日の業務が終了したのち上述した複数種類の後続運賃が加算された回数(即ち、後続回数)等に基づいて、その日の営業内容の管理及び解析が行われる。そして、より正確に営業内容の管理及び解析を行うためには、複数種類の後続運賃の額毎に分けて計数された後続回数を把握する必要があった。
しかしながら、上述した複数種類の後続運賃が設定されたタクシーメータでは、後続回数を、全ての種類の後続運賃について合算して計数するので、このように合算して計数された後続回数(即ち、総後続回数)から、後続運賃の額毎の後続回数を把握することができず、より正確な営業内容の管理及び解析を行うことができないという問題があった。また、この問題を解決するために、タクシー乗務員(つまり、運転者)が各営業走行の履歴を手書きの日報等の記録に残し、この記録と上記総後続回数とを照らし合わせて後続運賃の額毎の後続回数を把握することが考えられるが、この場合、後続回数に基づく営業内容の管理及び解析に、人手による営業走行の履歴等の記録作業及び集計作業等が必要となり、後続回数に基づく営業内容の管理及び解析にかかる作業が繁雑となり効率が悪くなるとともに作業ミスが発生するおそれがあった。このように、従来のタクシーメータにおいては、後続回数に基づく営業内容の管理及び解析をより正確に行うことができない、即ち、後続回数に基づく営業内容の管理及び解析の精度が低いという問題があった。
本発明は、上記課題に係る問題を解決することを目的としている。即ち、本発明は、後続回数に基づく営業内容の管理及び解析の精度を高めることができるタクシーメータを提供することを目的としている。
請求項1に記載された発明は、上記目的を達成するために、図1の基本構成図に示すように、タクシー料金に加算される複数種類の後続運賃が予め記憶された後続運賃記憶手段12と、タクシーの営業走行時に、該タクシーの走行距離と走行時間とに基づいて前記後続運賃記憶手段12に記憶された前記複数種類の後続運賃の中から1つの前記後続運賃を選択して前記タクシー料金に加算する後続運賃加算手段11aと、を有するタクシーメータにおいて、前記後続運賃加算手段11aによって前記後続運賃記憶手段12に記憶された前記複数種類の後続運賃が前記タクシー料金に加算された回数を、前記後続運賃の額毎に分けて計数及び記憶する運賃額毎後続回数計数手段11bを有していることを特徴とするタクシーメータである。
請求項2に記載された発明は、請求項1に記載された発明において、図1の基本構成図に示すように、前記タクシーの直前の営業走行において前記運賃額毎後続回数計数手段11bによって前記後続運賃の額毎に分けて計数及び記憶された前記回数を、前記タクシーが空車時に前記後続運賃の額毎に分けて表示手段10に表示する後続回数表示制御手段11cを有していることを特徴とするものである。
請求項3に記載された発明は、請求項1又は2に記載された発明において、図1の基本構成図に示すように、前記運賃額毎後続回数計数手段11bによって前記後続運賃の額毎に分けて計数及び記憶された前記回数を、該回数を解析する装置に送るための出力媒体25に出力する後続回数出力制御手段11dを有していることを特徴とするものである。
請求項4に記載された発明は、請求項1に記載された発明において、図1の基本構成図に示すように、前記回数を、前記後続運賃の種類毎に分けて計数及び記憶する種類毎後続回数計数手段11eと、前記回数を、全ての種類の前記後続運賃について合算して計数及び記憶する総後続回数計数手段11fと、のうち少なくとも一方を、さらに有していることを特徴とするものである。
請求項5に記載された発明は、請求項4に記載された発明において、図1の基本構成図に示すように、前記回数を前記後続運賃の額毎に分けて表示する第1表示形式と、前記回数を前記後続運賃の種類毎に分けて表示する第2表示形式と、前記回数を全ての種類の前記後続運賃について合算して表示する第3表示形式と、のうちのいずれかを示す表示形式情報が記憶された表示形式情報記憶手段13と、前記表示形式情報記憶手段13に前記第1表示形式を示す前記表示形式情報が記憶されていたとき、前記タクシーの直前の営業走行において前記運賃額毎後続回数計数手段11bによって前記後続運賃の額毎に分けて計数及び記憶された前記回数を、前記タクシーが空車時に前記第1表示形式で前記表示手段に表示し、前記種類毎後続回数計数手段11eを有し且つ前記表示形式情報記憶手段13に前記第2表示形式を示す前記表示形式情報が記憶されていたとき、前記タクシーの直前の営業走行において前記種類毎後続回数計数手段11eによって前記後続運賃の種類毎に分けて計数及び記憶された前記回数を、前記タクシーが空車時に前記第2表示形式で前記表示手段に表示し、前記総後続回数計数手段11fを有し且つ前記表示形式情報記憶手段13に前記第3表示形式を示す前記表示形式情報が記憶されていたとき、前記タクシーの直前の営業走行において前記総後続回数計数手段11fによって全ての種類の前記後続運賃について合算して計数及び記憶された前記回数を、前記タクシーが空車時に前記第3表示形式で前記表示手段に表示する、後続回数選択表示制御手段11gと、を有していることを特徴とするものである。
請求項1に記載された発明によれば、運賃額毎後続回数計数手段11bが、複数種類の後続運賃がタクシー料金に加算された回数、即ち、後続回数を、後続運賃の額毎に分けて計数し、記憶する。
請求項2に記載された発明によれば、後続回数表示制御手段11cが、直前の営業走行において、後続運賃の額毎に分けて計数された後続回数を、空車時に後続運賃の額毎に分けて表示手段10に表示する。
請求項3に記載された発明によれば、後続回数出力制御手段11dが、後続運賃の額毎に分けて計数された後続回数を、それを解析する装置に送るための出力媒体25に出力する。
請求項4に記載された発明によれば、運賃額毎後続回数計数手段11bが、後続回数を、後続運賃の額毎に分けて計数及び記憶する。さらに、種類毎後続回数計数手段11eを有していると、それが後続回数を後続運賃の種類毎に分けて計数及び記憶し、総後続回数計数手段11fを有していると、それが後続回数を全ての種類の前記後続運賃について合算して計数及び記憶する。
請求項5に記載された発明によれば、表示形式情報記憶手段13が、後続回数を前記後続運賃の額毎に分けて表示する第1表示形式と、後続回数を前記後続運賃の種類毎に分けて表示する第2表示形式と、後続回数を全ての種類の前記後続運賃について合算して表示する第3表示形式と、のうちのいずれかを示す表示形式情報を記憶している。そして、後続回数選択表示制御手段11gが、(1)表示形式情報記憶手段13に第1表示形式を示す表示形式情報が記憶されていたとき、直前の営業走行において後続運賃の額毎に分けて計数された後続回数を、空車時に第1表示形式で表示手段10に表示し、(2)種類毎後続回数計数手段11eを有し且つ表示形式情報記憶手段13に第2表示形式を示す表示形式情報が記憶されていたとき、直前の営業走行において後続運賃の種類毎に分けて計数された後続回数を、空車時に第2表示形式で表示手段10に表示し、(3)総後続回数計数手段11fを有し且つ表示形式情報記憶手段13に第3表示形式を示す表示形式情報が記憶されていたとき、直前の営業走行において全ての種類の前記後続運賃について合算して計数された後続回数を、空車時に第3表示形式で表示手段10に表示する。
請求項1に記載された発明によれば、後続回数を後続運賃の額毎に分けて計数し記憶するので、後続運賃の額毎に分けて計数された後続回数を把握することができ、後続運賃に基づく営業内容の管理及び解析の精度を高めることができる。
請求項2に記載された発明によれば、直前の営業走行において後続運賃の額毎に分けて計数された後続回数を、後続運賃の額毎に分けてタクシーメータに備えられた表示手段に表示するので、タクシー乗務員等が営業走行における後続運賃の額毎の後続回数を容易に把握して、営業内容の管理及び解析が容易にでき且つその精度を高めることができる。そのため、営業内容の管理及び解析の結果をその後の営業走行の計画等に反映して、タクシー業務の効率を向上させることができる。
請求項3に記載された発明によれば、後続運賃の額毎に分けて計数された後続回数を、それを解析する装置に送る出力媒体に出力するので、メモリカードや無線(電波)等の出力媒体を介して、パソコン等で構成された後続回数を解析する装置に、各タクシーにおいて後続運賃の額毎に分けて計数した後続回数を取り込むことが可能になり、複数のタクシーの後続回数の集計や営業内容の比較(即ち、解析)などを容易に行うことができる。
請求項4に記載された発明によれば、後続回数を後続運賃の額毎に分けて計数及び記憶するのに加えて、後続回数を金額にかかわらず後続運賃の種類毎に別々に分けて計数し記憶する、又は/及び、後続回数を全ての種類の前記後続運賃について合算して計数及び記憶するので、例えば、タクシー事業者毎に料金制が異なる場合やタクシー事業者独自の解析方法で運行を分析する場合など、営業内容の管理及び解析の方法などによっては、後続運賃の額毎に分けて計数された後続回数以外にも、後続運賃の種類毎に分けて計数された後続回数や、全ての後続運賃の種類について合算して計数された後続回数が必要となることがあるが、このような後続回数の計数方法が異なる場合にも対応可能となり、そのため、タクシー事業者毎に異なる多様な営業内容の管理及び解析に柔軟に対応することができ、後続運賃に基づく営業内容の管理及び解析の精度をより高めることができる。
請求項5に記載された発明によれば、(1)表示形式情報記憶手段13に第1表示形式を示す表示形式情報が記憶されていたとき、直前の営業走行において後続運賃の額毎に分けて計数された後続回数を、空車時に第1表示形式で表示手段10に表示し、(2)種類毎後続回数計数手段11eを有し且つ表示形式情報記憶手段13に第2表示形式を示す表示形式情報が記憶されていたとき、直前の営業走行において後続運賃の種類毎に分けて計数された後続回数を、空車時に第2表示形式で表示手段10に表示し、(3)総後続回数計数手段11fを有し且つ表示形式情報記憶手段13に第3表示形式を示す表示形式情報が記憶されていたとき、直前の営業走行において全ての種類の前記後続運賃について合算して計数された後続回数を、空車時に第3表示形式で表示手段10に表示するので、表示形式情報記憶手段13に記憶される表示形式情報に応じて、後続回数の表示形式を変更することができ、そのため、例えば、営業走行の状況に応じて、表示形式情報を変更することにより、後続回数の表示形式を変更することができ、そのため、営業内容の管理及び解析の方法等を柔軟に変更することができ、状況に応じた営業走行の管理及び解析を行うことで、タクシー業務の効率を向上させることができる。
本発明に係るタクシーメータの基本構成の一例を示す構成図である。 本発明に係るタクシーメータの第1の実施形態(又は、第2の実施形態)の正面図である。 図2の第1の実施形態(又は、第2の実施形態)のタクシーメータの概略構成を示す構成図である。 料金制情報の一例を説明するための図である。 図3の第1の実施形態のタクシーメータのCPUが実行する本発明に係る処理概要の一例を示すフローチャートである。 図3の第1の実施形態のタクシーメータのCPUが実行する本発明に係る処理概要の一例を示すフローチャートである(図5の続き)。 図2の第1の実施形態のタクシーメータが後続運賃の額毎に分けて計数された後続回数を表示した一例を示す図である。 図2の第1の実施形態のタクシーメータが後続運賃の額毎に分けて計数された後続回数を印字した一例を示す図である。 図2の第1の実施形態のタクシーメータの後続運賃の設定及び動作結果の一例を説明するための図である。 図3の第2の実施形態のタクシーメータのCPUが実行する本発明に係る処理概要の一例を示すフローチャートである。 図3の第2の実施形態のタクシーメータのCPUが実行する本発明に係る処理概要の一例を示すフローチャートである(図10の続き)。 図3の第2の実施形態のタクシーメータのCPUが実行する本発明に係る処理概要の一例を示すフローチャートである(図11の続き)。 図3の第2の実施形態のタクシーメータのCPUが実行する本発明に係る処理概要の一例を示すフローチャートである(図12の続き)。 図2の第2の実施形態のタクシーメータにおける、後続回数の表示形式を選択する画面を表示した一例を示す図である。 図2の第2の実施形態のタクシーメータが後続運賃の額毎に分けて計数された後続回数を表示した一例を示す図である。 図2の第2の実施形態のタクシーメータが後続運賃の額毎に分けて計数された後続回数を印字した一例を示す図である。 図2の第2の実施形態のタクシーメータが後続運賃の種類毎に分けて計数された後続回数を表示した一例を示す図である。 図2の第2の実施形態のタクシーメータが後続運賃の種類毎に分けて計数された後続回数を印字した一例を示す図である。 図2の第2の実施形態のタクシーメータが全ての種類の後続運賃について合算して計数された後続回数を表示した一例を示す図である。 図2の第2の実施形態のタクシーメータが全ての種類の後続運賃について合算して計数された後続回数を印字した一例を示す図である。
(第1の実施形態)
以下、本発明に係るタクシーメータの第1の実施形態を、図2〜図9を参照して説明する。第1の実施形態のタクシーメータ(図中、符号1で示す)は、複数種類の後続運賃が設けられており、タクシーの走行距離及び走行時間に基づいて、複数種類の後続運賃から1つの後続運賃を選択してタクシー料金に加算するものである。
図2に示すタクシーメータ1は、その正面部2に設けられた表示部10が乗客、運転者等から視認可能なようにタクシーに搭載されている。この正面部2には、周知である操作部15を設けており、タクシーメータ1におけるタリフ状態の切り替え等を運転者が操作可能な構成となっている。
タクシーメータ1は、図3に示すように、表示部10と、中央演算処理装置(CPU)11と、ROM(read only memory)12と、RAM(random access memory)13と、時計IC14と、操作部15と、表示操作スイッチ16と、カード挿入部17と、を有している。
また、タクシーメータ1は、複数のインタフェース(I/F)を有し、印字装置20、GPS(global positioning system)受信器30、ETC(electronic toll collection)車載器40等の各々とCPU11との接続が可能な構成となっている。また、CPU11は、図示しない距離センサからトランスミッションの回転に応じた距離信号を入力している。
表示部10は、請求項中の表示手段に相当し、液晶表示装置等が用いられCPU11からの要求に応じて各種情報の表示を行う。表示部10は、例えば図2に示すように、料金表示エリアG11、タリフ状態表示エリアG12等を有する運行中画面G1を運行(即ち、営業走行)中は表示している。そして、料金表示エリアG11、タリフ状態表示エリアG12の各表示内容は、タクシー料金の変化、タリフ状態の変化等に応じたCPU11からの要求に応じて更新される。また、表示部10は、例えば図7に示すように、複数種類の後続運賃、及び、後続運賃の額毎に分けて計数された後続回数を有する後続回数画面G2を、後述する表示操作スイッチ16が押下されたときに表示する。
CPU11は、タクシーメータ1における各種制御を司り、ROM12に記憶されている各種制御プログラムにしたがって本実施形態に係る制御を含む各種の処理を実行する。ROM12は、前記制御プログラムやタクシーの料金制を示す料金制情報50などの各種情報を記憶している。この料金制情報50には、複数種類の後続運賃、即ち、後続運賃1、後続運賃2、後続運賃3が含まれている。ROM12は、請求項中の後続運賃記憶手段に相当する。RAM13は、CPU11が各種の処理を実行する上において必要なデータ、プログラム等が適宜記憶される。
RAM13には、後続運賃の額毎の後続回数を記憶する領域(後続回数1、後続回数2、後続回数3)、及び、後続運賃がタクシー料金に加算された回数を全ての種類の後続運賃について合算した値、を記憶する領域(総後続回数)、が設けられている。上述した後続回数1、後続回数2、後続回数3は、営業走行毎に初期化(即ち、0回に設定)された新たな領域が設けられ、タクシー業務終了までRAM13上に保持される。また、総後続回数は、営業走行毎に初期化(即ち、0回に設定)される。
時計IC14は、日時、時刻等の時計データをCPU11に出力する。操作部15は、空車、賃走、累計、迎車、迎車待、3割増、高速、支払等のタリフ状態の変更操作用の各種操作ボタンを有している。そして、操作部15は、各操作ボタンの操作に応じたタリフ状態データをCPU11に出力する。
表示操作スイッチ16は、プッシュスイッチ等が用いられている。表示操作スイッチ16は、タクシーメータ1の正面部2から操作可能なように設けられている。そして、表示操作スイッチ16は、CPU11の入力ポートに接続されており、押圧操作に応じてCPU11の入力ポートはHi状態からLow状態に変化する。つまり、CPU11は、入力ポートにおけるHi状態からLow状態への変化を検出する。表示操作スイッチ16は、図7に示すような後続回数画面G2を表示するとき、及び、図8に示すような後続回数情報P2を印字するときなどに、押圧操作される。
カード挿入部17は、CPU11に接続されている。カード挿入部17は、挿入されたメモリカード、ICカード等のカード25に指定されたデータ等の書き込み、読み込みを行う。カード25のカード挿入部17に対する挿入・抜去は手動又は自動で行う。また、カード25は、請求項中の出力媒体に相当し、売り上げなどの営業情報とともに、後続運賃の額毎に計数された後続回数が書き込まれ、その後、カード25は営業情報を解析する解析装置に取り付けられて、タクシーメータによって書き込まれた営業情報、後続回数等が該解析装置に取り込まれる。
印字装置20は、請求項中の表示手段に相当し、周知であるプリンタ等が用いられ、インタフェースを介してCPU11に接続されている。印字装置20は、CPU11の制御によってタクシー料金の支払い時に領収書や、例えば図8に示すような後続運賃の額毎に分けて計数された後続回数を示す後続回数情報P2等を出力する。印字装置20は、タクシーメータ本体に組み込まれる又は外部機器として接続される。
GPS受信器30は、搭載されたタクシーの現在位置を検出するために、GPSを構成する複数の人工衛星が発射する電波を受信して、このGPS受信器30の現在の位置情報を求め、この現在の位置情報を、インタフェースを介してCPU11に出力している。
ETC車載器40は、タクシーのダッシュボード等に、その進行方向に対して斜め上方を向くように搭載されている。ETC車載器40は、周知であるように、有料道路上のゲートに設置された無線式の料金処理装置との間で無線通信を行い、装着されたカードに記憶されている電子現金情報によって有料道路における通行料金の自動収受を行う自動料金収受システム(ETC)に用いられるものである。さらに、ETC車載器40は、路側器から電波信号を受信すると、該電波信号はA/D変換されて受信情報としてCPU11に出力する構成となっている。
次に、ROM12に記憶している料金制情報50の構成の一例を、図4を参照して以下に説明する。
料金制情報50は、図4に示すように、発行日、更新日、ROMコード、基本距離、基本運賃、後続運賃1、後続運賃2、後続運賃3、後続距離1、後続距離2、後続距離3、後続時間1、後続時間2、後続時間3、後続運賃1の加算上限回数、後続運賃2の加算上限回数、割増率、消費税率、賃走→割増切替時刻、割増→賃走切替時刻、迎車タイプ、迎車距離、外付更新日、外付ROMコード、Aボタン、Cボタン、割増率、端数処理、固定迎車割増料金、遠距離割増との重複、Dボタン、固定料金、Eボタン、基本待ち時間、後続待ち時間、待ち走行距離等の複数の料金制項目51に設定された料金制項目データ52を有している。
料金制情報50に含まれる基本距離は、基本運賃に設定された金額のみで走行できる距離である。後続運賃1は、タクシー料金に最初に加算される後続運賃であり、基本距離走行後に、後続距離1に設定された距離又は後続時間1に設定された時間に到達するとタクシー料金に加算される。後続運賃2は、後続運賃1がタクシー料金に加算された回数が後続運賃1の加算上限回数に到達したのちに加算される後続運賃であり、後続距離2に設定された距離又は後続時間2に設定された時間に到達するとタクシー料金に加算される。後続運賃3は、後続運賃2がタクシー料金に加算された回数が後続運賃2の加算上限回数に到達したのち加算される後続運賃であり、後続距離3に設定された距離又は後続時間3に設定された時間に到達するとタクシー料金に加算される。また、後続距離1、後続距離2、及び、後続距離3、並びに、後続時間1、後続時間2、及び、後続時間3は、それぞれ後続運賃1、後続運賃2、及び、後続運賃3に対応しており、各後続運賃を加算するために経過を要する走行距離及び走行時間が設定されている。
本実施形態においては、基本距離が1000m、基本運賃が360円、後続運賃1が80円、後続距離1が210m、後続時間1が設定なし(即ち、走行時間による加算なし)、後続運賃2が90円、後続距離2が290m、後続時間2が設定なし、後続運賃3が90円、後続距離3が290m、後続時間3が105秒、後続運賃1の加算上限回数が2回、後続運賃2の加算上限回数が2回、にそれぞれ設定されている。なお、これら値は、タクシー料金の体系等に合わせて、任意に設定可能である。また、後続運賃3の加算上限回数はなく、つまり、後続運賃3の加算回数は制限されない。
よって、本実施形態では、ROM12が後続運賃記憶手段として機能する場合について説明するが、本発明はこれに限定するものではなく、例えばCPU11が読み込み可能なEEPROM、外部メモリ、ハードディスク装置等を後続運賃記憶手段として機能させる実施形態とすることもできる。
ROM12は、CPU11を後続運賃加算手段11a、運賃額毎後続回数計数手段11b、後続回数表示制御手段11c、後続回数出力制御手段11d等の各種手段として機能させるためのプログラムを記憶している。そして、CPU11は、そのプログラムを実行することで、前述した各種手段として機能することになる。
CPU11は、ROM12に記憶している料金制情報50とタクシーの走行距離と走行時間とに基づいてタクシー料金を算出し、そのタクシー料金を図2に示すように表示する運行中画面G1を表示するための運行中画面情報を生成し、該運行中画面情報の表示を表示部10に要求することで、表示部10が運行中画面G1を表示する等の処理を行う。
次に、上述したCPU11が実行する本発明に係る処理概要の一例を、図5、図6に示すフローチャートを参照して以下に説明する。
タクシーメータ1に電源が投入されると、CPU11は所定の初期化処理を実行したのち、図5のフローチャートに示すステップS100に進む。
ステップS100では、例えば、賃走ボタン押下などの営業走行開始の操作が入力されるまで待ち(S100でN)、営業走行開始の操作が入力されると、タクシー料金に基本運賃を加算したのち、CPU11に入力される距離信号及び時計データに基づいて走行距離及び走行時間の計測を開始する。そして、走行距離が基本距離に到達したのち、ステップS110に進む(S100でY)。
ステップS110では、複数種類の後続運賃から1つの後続運賃を選択してタクシー料金に加算する処理を行う。具体的には、直前にタクシー料金に運賃を加算した時点からの走行距離及び走行時間のいずれか一方が、料金制情報50に含まれる各後続距離及び各後続時間に設定されている値に到達するまで比較を行い、到達したときに各後続運賃をタクシー料金に加算する。このとき、(1)RAM13に設けられた総後続回数が、料金制情報50に含まれる後続運賃1の加算上限回数未満のときは、上記走行距離及び走行時間と後続距離1及び後続時間1とが比較されたのち、後続運賃1がタクシー料金に加算され、(2)総後続回数が、後続運賃1の加算上限回数以上で且つ総後続回数が後続運賃1の加算上限回数と後続運賃2の加算上限回数とを合計した値未満のときは、上記走行距離及び走行時間と後続距離2及び後続時間2とが比較されたのち、後続運賃2がタクシー料金に加算され、(3)総後続回数が、後続運賃1の加算上限回数と後続運賃2の加算上限回数とを合計した値以上のときは、上記走行距離及び走行時間と後続距離3及び後続時間3とが比較されたのち、後続運賃3がタクシー料金に加算される。そして、RAM13に設けられた総後続回数を1増加する。そして、ステップS200に進む。
ステップS200は、後続回数計数処理を行うものであり、図6に示すように、ステップS210〜ステップS350のサブステップを有している。まず、ステップS210に進む。
ステップS210では、RAM13に設けられた総後続回数と、料金制情報50に含まれる後続運賃1の加算上限回数と、を比較して、後続運賃1の加算回数がその上限を超えたか否かを判定する。後続運賃1の加算回数がその上限を超えていない(即ち、総後続回数が後続運賃1の加算上限回数以下)と判定したとき、ステップS110において後続運賃1がタクシー料金に加算されたものとして、ステップS220に進み(S210でN)、後続運賃1の加算回数がその上限を超えた(即ち、総後続回数が後続運賃1の加算上限回数より大きい)と判定したとき、ステップS230に進む(S210でY)。また、料金制情報50に後続運賃1のみ設定されており、後続運賃2、後続運賃3が設定されていない場合には、無条件でステップS220に進む。
ステップS220では、RAM13に設けられた後続回数1を1増加する。そして、後続回数計数処理を終了してステップS400に進む。
ステップS230では、RAM13に設けられた総後続回数と、料金制情報50に含まれる後続運賃1の加算上限回数と後続運賃2の加算上限回数とを合計した値と、を比較して、後続運賃2の加算回数がその上限を超えたか否かを判定する。後続運賃2の加算回数がその上限を超えていない(即ち、総後続回数が、後続運賃1の加算上限回数と後続運賃2の加算上限回数とを合計した値以下)と判定したとき、ステップS110において後続運賃2が加算されたものとして、ステップS240に進み(S230でN)、後続運賃2の加算回数がその上限を超えた(即ち、総後続回数が、後続運賃1の加算上限回数と後続運賃2の加算上限回数とを合計した値より大きい)と判定したとき、ステップS110において後続運賃3が加算されたものとして、ステップS270に進む(S230でY)。また、料金制情報50に後続運賃1及び後続運賃2が設定されており、後続運賃3が設定されていない場合には、無条件でステップS240に進む。
ステップS240では、料金制情報50に含まれる後続運賃1と後続運賃2とが等しいか否かを判定する。後続運賃1と後続運賃2とが等しいと判定したとき、ステップS250に進み(S240でY)、等しくないと判定したとき、ステップS260に進む(S240でN)。
ステップS250では、RAM13に設けられた後続回数1を1増加する。そして、後続回数計数処理を終了してステップS400に進む。
ステップS260では、RAM13に設けられた後続回数2を1増加する。そして、後続回数計数処理を終了してステップS400に進む。
ステップS270では、料金制情報50に含まれる後続運賃1と後続運賃2とが等しいか否かを判定する。後続運賃1と後続運賃2とが等しいと判定したとき、ステップS280に進み(S270でY)、等しくないと判定したとき、ステップS310に進む(S270でN)。
ステップS280では、料金制情報50に含まれる後続運賃1と後続運賃3とが等しいか否かを判定する。後続運賃1と後続運賃3とが等しいと判定したとき、ステップS290に進み(S280でY)、等しくないと判定したとき、ステップS300に進む(S280でN)。
ステップS290では、RAM13に設けられた後続回数1を1増加する。そして、後続回数計数処理を終了してステップS400に進む。
ステップS300では、RAM13に設けられた後続回数2を1増加する。そして、後続回数計数処理を終了してステップS400に進む。
ステップS310では、料金制情報50に含まれる後続運賃1と後続運賃3とが等しいか否かを判定する。後続運賃1と後続運賃3とが等しいと判定したとき、ステップS320に進み(S310でY)、等しくないと判定したとき、ステップS330に進む(S310でN)。
ステップS320では、RAM13に設けられた後続回数1を1増加する。そして、後続回数計数処理を終了してステップS400に進む。
ステップS330では、料金制情報50に含まれる後続運賃2と後続運賃3とが等しいか否かを判定する。後続運賃2と後続運賃3とが等しいと判定したとき、ステップS340に進み(S330でY)、等しくないと判定したとき、ステップS350に進む(S330でN)。
ステップS340では、RAM13に設けられた後続運賃2を1増加する。そして、後続回数計数処理を終了してステップS400に進む。
ステップS350では、RAM13に設けられた後続運賃3を1増加する。そして、後続回数計数処理を終了してステップS400に進む。
ステップS400では、例えば、支払いボタン押下などの営業走行終了の操作が入力されたか否かを判定し、営業走行終了の操作が入力されていないと判定したときは、営業走行継続としてステップS110に進んで後続運賃加算処理を再度実行し(S400でN)、営業走行終了の操作が入力されたと判定したときは、営業走行終了としてステップS500に進む(S400でY)。
ステップS500では、直前の営業走行における後続回数を表示する。具体的には、営業走行終了後の空車状態において表示操作スイッチ16が押されたことを検出すると、RAM13に設けられた後続回数1、後続回数2、及び、後続回数3のそれぞれに格納された値に基づいて、表示部10に図7に示すような後続回数画面G2を表示するための後続回数画面情報を生成し、該後続回数画面情報の表示を表示部10に要求する。さらに、印字装置20に図8に示すような後続回数情報P2を印字するための後続回数印字情報を生成し、該後続回数印字情報の印字を印字装置20に要求する。これにより、表示部10及び印字装置20において、後続回数が後続運賃の額毎に分けて表示される。そして、ステップS600に進む。
ステップS600では、操作部15に所定のタクシー業務終了操作が入力されたか否かを判定し、タクシー業務終了操作が入力されていないと判定したとき、タクシー業務を継続するものとして、ステップS100に進んで再度営業走行の開始を待ち(S600でN)、タクシー業務終了操作が入力されたと判定したとき、ステップS700に進む(S600でY)。
ステップS700では、RAM13に記憶されたタクシー業務の各営業走行において後続運賃の額毎に分けて計数した後続回数(即ち、後続回数1、後続回数2、後続回数3)をカード挿入部17に挿入されているカード25に書き込む。そして、本フローチャートの処理を終了する。
なお、上述したステップS110が、請求項中の後続運賃加算手段に相当し、ステップS200が、請求項中の運賃額毎後続回数計数手段に相当し、ステップS500が、請求項中の後続回数表示制御手段に相当し、ステップS700が、請求項中の後続回数出力制御手段に相当する。
次に、上述したタクシーメータ1の本発明に係る動作(作用)の一例について、図8を参照して説明する。
(動作例1)
料金制情報50の後続運賃1が80円、後続運賃2が90円、後続運賃3が90円、後続運賃1の加算上限回数が2回、後続運賃2の加算上限回数が2回、に設定されているものとする(図9のD1上段)。
賃走ボタンの押下によって営業走行が開始されると、まずタクシー料金に基本運賃が加算される(S100)。そして、基本距離走行後に、所定の走行距離及び走行時間に到達する毎に上記複数種類の後続運賃から選択された1つの後続運賃がタクシー料金に加算され、そして総後続回数が計数される(S110)。
総後続回数から導かれる後続運賃1の加算回数が、その上限回数を超えていないとき(S210でN)は、後続運賃1がタクシー料金に加算されたものとして、後続回数1が、後続運賃1の額である80円が加算された回数を示す指数として1増加される(S220)。
総後続回数から導かれる後続運賃1の加算回数がその上限回数を超え(S210でY)且つ総後続回数から導かれる後続運賃2の加算回数がその上限回数を超えていないとき(S230でN)は、後続運賃2がタクシー料金に加算されたものとして、後続運賃1と後続運賃2との額を比較する(S240)。そして、後続運賃1と後続運賃2との額が異なるので、後続回数2が、後続運賃2の額である90円が加算された回数を示す指数として1増加される(S260)。
総後続回数から導かれる後続運賃1の加算回数がその上限回数を超え(S210でY)且つ総後続回数から導かれる後続運賃2の加算回数がその上限回数を超えたとき(S230でY)は、後続運賃3がタクシー料金に加算されたものとして、後続運賃1と後続運賃2と後続運賃3との額を比較する。そして、後続運賃1と後続運賃2との額が異なり(S270でN)且つ後続運賃1と後続運賃3との額が異なり(S310でN)且つ後続運賃2と後続運賃3との額が等しい(S330でY)ので、後続運賃3の額である90円が加算された回数を示す指数である後続回数2が1増加される(S340)。
そして、例えば、タクシー料金への後続運賃の加算が10回発生して営業走行が終了した場合、後続運賃80円の加算回数を示す指数である後続回数1は2回となり、後続運賃90円の加算回数を示す指数である後続回数2は8回となる。後続回数3は未使用(0回)である(図9のD1下段)。
そして、営業走行終了直後の空車状態で表示操作スイッチ16が押下されると、後続運賃の額毎に分けて計数された後続回数が表示部10に表示され、且つ、印字装置20によって印字される(S500)。そして、タクシー業務が終了し業務終了操作が入力されると、営業走行毎に格納されている後続運賃の額毎に分けて計数された後続回数がカード25に書き出される(S700)。
(動作例2)
料金制情報50の後続運賃1が80円、後続運賃2が90円、後続運賃3が80円、後続運賃1の加算上限回数が2回、後続運賃2の加算上限回数が2回、に設定されているものとする(図9のD2上段)。
賃走ボタンの押下によって営業走行が開始されると、まずタクシー料金に基本運賃が加算される(S100)。そして、基本距離走行後に、所定の走行距離及び走行時間に到達する毎に上記複数種類の後続運賃から選択された1つの後続運賃がタクシー料金に加算され、そして総後続回数が計数される(S110)。
総後続回数から導かれる後続運賃1の加算回数が、その上限回数を超えていないとき(S210でN)は、後続運賃1がタクシー料金に加算されたものとして、後続回数1が、後続運賃1の額である80円が加算された回数を示す指数として1増加される(S220)。
総後続回数から導かれる後続運賃1の加算回数がその上限回数を超え(S210でY)且つ総後続回数から導かれる後続運賃2の加算回数がその上限回数を超えていないとき(S230でN)は、後続運賃2がタクシー料金に加算されたものとして、後続運賃1と後続運賃2との額を比較する(S240)。そして、後続運賃1と後続運賃2との額が異なるので、後続回数2が、後続運賃2の額である90円が加算された回数を示す指数として1増加される(S260)。
総後続回数から導かれる後続運賃1の加算回数がその上限回数を超え(S210でY)且つ総後続回数から導かれる後続運賃2の加算回数がその上限回数を超えたとき(S230でY)は、後続運賃3がタクシー料金に加算されたものとして、後続運賃1と後続運賃2と後続運賃3との額を比較する。そして、後続運賃1と後続運賃2との額が異なり(S270でN)且つ後続運賃1と後続運賃3との額が等しい(S310でY)ので、後続運賃3の額である80円が加算された回数を示す指数である後続回数1が1増加される(S320)。
そして、例えば、タクシー料金への後続運賃の加算が10回発生して営業走行が終了した場合、後続運賃80円の加算回数を示す指数である後続回数1は8回となり、後続運賃90円の加算回数を示す指数である後続回数2は2回となる。後続回数3は未使用(0回)である(図9のD2下段)。
そして、営業走行終了直後の空車状態で表示操作スイッチ16が押下されると、後続運賃の額毎に分けて計数された後続回数が表示部10に表示され、且つ、印字装置20によって印字される(S500)。そして、タクシー業務が終了し業務終了操作が入力されると、営業走行毎に格納されている後続運賃の額毎に分けて計数された後続回数がカード25に書き出される(S700)。
(動作例3)
料金制情報50の後続運賃1が80円、後続運賃2が90円、後続運賃3が100円、後続運賃1の加算上限回数が2回、後続運賃2の加算上限回数が2回、に設定されているものとする(図9のD3上段)。
賃走ボタンの押下によって営業走行が開始されると、まずタクシー料金に基本運賃が加算される(S100)。そして、基本距離走行後に、所定の走行距離及び走行時間に到達する毎に上記複数種類の後続運賃から選択された1つの後続運賃がタクシー料金に加算され、そして総後続回数が計数される(S110)。
総後続回数から導かれる後続運賃1の加算回数が、その上限回数を超えていないとき(S210でN)は、後続運賃1がタクシー料金に加算されたものとして、後続回数1が、後続運賃1の額である80円が加算された回数を示す指数として1増加される(S220)。
総後続回数から導かれる後続運賃1の加算回数がその上限回数を超え(S210でY)且つ総後続回数から導かれる後続運賃2の加算回数がその上限回数を超えていないとき(S230でN)は、後続運賃2がタクシー料金に加算されたものとして、後続運賃1と後続運賃2との額を比較する(S240)。そして、後続運賃1と後続運賃2との額が異なるので、後続回数2が、後続運賃2の額である90円が加算された回数を示す指数として1増加される(S260)。
総後続回数から導かれる後続運賃1の加算回数がその上限回数を超え(S210でY)且つ総後続回数から導かれる後続運賃2の加算回数がその上限回数を超えたとき(S230でY)は、後続運賃3がタクシー料金に加算されたものとして、後続運賃1と後続運賃2と後続運賃3との額を比較する。そして、後続運賃1と後続運賃2との額が異なり(S270でN)且つ後続運賃1と後続運賃3との額が異なり(S310でN)且つ後続運賃2と後続運賃3との額が異なる(S330でN)ので、後続回数3が、後続運賃3の額である100円が加算された回数を示す指数として1増加される(S350)。
そして、例えば、タクシー料金への後続運賃の加算が10回発生して営業走行が終了した場合、後続運賃80円の加算回数を示す指数である後続回数1は2回となり、後続運賃90円の加算回数を示す指数である後続回数2は2回となる。後続運賃100円の加算回数を示す指数である後続回数3は6回となる。(図9のD3下段)。
そして、営業走行終了直後の空車状態で表示操作スイッチ16が押下されると、後続運賃の額毎に分けて計数された後続回数が表示部10に表示され、且つ、印字装置20によって印字される(S500)。そして、タクシー業務が終了し業務終了操作が入力されると、各営業走行毎に格納されている後続運賃の額毎に分けて計数された後続回数がカード25に書き出される(S700)。
本実施形態によれば、CPU11による運賃額毎後続回数計数手段11bが、複数種類の後続運賃がタクシー料金に加算された回数、即ち、後続回数を、後続運賃の額毎に分けて計数し、記憶する。
また、CPU11による後続回数表示制御手段11cが、直前の営業走行において、後続運賃の額毎に分けて計数した後続回数を、後続運賃の額毎に分けて表示部10に表示し、印字装置20で印字する。
また、CPU11による後続回数出力制御手段11dが、各営業走行において後続運賃の額毎に分けて計数した後続回数を、それを解析する装置に送るためのカード25に出力する。
以上より、本発明によれば、後続回数を後続運賃の額毎に分けて計数し記憶するので、後続運賃の額毎に分けて計数された後続回数を把握することができ、後続運賃に基づく営業内容の管理及び解析の精度を高めることができる。
また、直前の営業走行において後続運賃の額毎に分けて計数された後続回数を、後続運賃の額毎に分けてタクシーメータ1に備えられた表示部10に表示するので、タクシー乗務員等が営業走行における後続運賃の額毎の後続回数を容易に把握して、営業内容の管理及び解析が容易にでき且つその精度を高めることができる。そのため、営業内容の管理及び解析の結果をその後の営業走行の計画等に反映して、タクシー業務の効率を向上させることができる。
また、後続運賃の額毎に分けて計数された後続回数を、それを解析する装置に送るためのカード25に出力するので、このカード25を介して、パソコン等で構成された後続回数を解析する装置に、各タクシーにおいて後続運賃の額毎に分けて計数した後続回数を取り込むことが可能になり、複数のタクシーの後続回数の集計や営業内容の比較(即ち、解析)などを容易に行うことができる。
本実施形態においては、CPU11がカード挿入部17に挿入されたカード25に後続回数を書き込むことにより、カード25を介して、解析装置に後続回数を入力するものであったが、これに限らず、例えば、タクシーメータ1に無線送信部を設け、上述の解析装置に無線受信部を設け、無線送信部が、後続回数を示す情報を電波や赤外線などとして出力して(即ち、電波や赤外線などを介して)、解析装置の無線受信部に入力するようにしてもよい。このようにすることでカードの挿抜作業がなくなり利便性が向上する。この場合、電波や赤外線が請求項中の出力媒体に相当する。
また、本実施形態においては、後続運賃がタクシーメータに加算された回数に基づいて、複数種類の後続運賃からタクシー料金に加算する1つの後続運賃を選択するものであったが、これに限らず、例えば、走行距離が1000m〜1500mのときは後続運賃1、1501m〜2000mのときは後続運賃2、2001m以上のときは後続運賃3、とするなど、走行距離や走行時間から導かれる所定の条件によって上記選択を行うものであれば、上述したタクシー料金に加算する後続運賃の選択方法は任意である。
(第2の実施形態)
次に、本発明に係るタクシーメータの第2の実施形態を、図2、図3、図10〜図20を参照して説明する。第2の実施形態のタクシーメータを、図中、符号1Aで示す。
図2に示すタクシーメータ1Aは、第1の実施形態のタクシーメータ1と同様に、その正面部2に設けられた表示部10が乗客、運転者等から視認可能なようにタクシーに搭載されている。この正面部2には、周知である操作部15を設けており、タクシーメータ1におけるタリフ状態の切り替え等を運転者が操作可能な構成となっている。
タクシーメータ1Aは、図3に示すように、表示部10と、中央演算処理装置(CPU)11Aと、ROM12Aと、RAM13Aと、時計IC14と、操作部15と、表示操作スイッチ16と、カード挿入部17と、を有している。
また、タクシーメータ1Aは、複数のインタフェース(I/F)を有し、印字装置20、GPS受信器30、ETC車載器40等の各々とCPU11Aとの接続が可能な構成となっている。また、CPU11Aは、図示しない距離センサからトランスミッションの回転に応じた距離信号を入力している。なお、タクシーメータ1Aにおいて、上述した第1の実施形態のタクシーメータ1と同一の構成部分については、同一の符号を付してその説明を省略する。
CPU11Aは、タクシーメータ1Aにおける各種制御を司り、ROM12Aに記憶されている各種制御プログラムにしたがって本実施形態に係る制御を含む各種の処理を実行する。ROM12Aは、前記制御プログラムやタクシーの料金制を示す料金制情報50などの各種情報を記憶している。この料金制情報50には、複数種類の後続運賃、即ち、後続運賃1、後続運賃2、後続運賃3が含まれている。ROM12Aは、請求項中の後続運賃記憶手段に相当する。RAM13Aは、CPU11Aが各種の処理を実行する上において必要なデータ、プログラム等が適宜記憶される。
RAM13Aには、後続運賃の後続回数を、(1)後続運賃の額毎に分けて記憶する、(2)後続運賃の種類毎に分けて記憶する、(3)全ての種類の後続運賃について合算して記憶する、のに共通して用いられる領域(後続回数1、後続回数2、後続回数3)、及び、後続運賃がタクシー料金に加算された回数を全ての種類の後続運賃について合算した値、を記憶する領域(総後続回数)、が設けられている。上述した後続回数1、後続回数2、後続回数3は、営業走行毎に初期化(即ち、0回に設定)された新たな領域が設けられ、タクシー業務終了までRAM13A上に保持される。また、総後続回数は、営業走行毎に初期化(即ち、0回に設定)される。
また、RAM13Aには、後続回数の表示形式を示す情報を記憶する領域(表示形式情報)が設けられている。この表示形式情報には、後続回数を後続運賃の額毎に分けて表示する運賃額毎表示形式(以下、「第1表示形式」ともいう)、後続回数を後続運賃の種類毎に分けて表示する種類毎表示形式(以下、「第2表示形式」ともいう)、又は、後続回数を全ての種類の後続運賃について合算して表示する合算表示形式(以下、「第3表示形式」ともいう)、を示す情報が格納される。表示形式情報には、タクシーメータ1Aの起動時に、初期値として運賃額毎表示形式(第1表示形式)を示す情報が格納される。RAM13Aは、請求項中の表示形式情報記憶手段に相当する。
ROM12Aは、CPU11Aを後続運賃加算手段11a、運賃額毎後続回数計数手段11b、種類毎後続回数計数手段11e、総後続回数計数手段11f、後続回数選択表示制御手段11g、後続回数出力制御手段11d等の各種手段として機能させるためのプログラムを記憶している。そして、CPU11Aは、そのプログラムを実行することで、前述した各種手段として機能することになる。
CPU11Aは、ROM12Aに記憶している料金制情報50とタクシーの走行距離と走行時間とに基づいてタクシー料金を算出し、そのタクシー料金を図2に示すように表示する運行中画面G1を表示するための運行中画面情報を生成し、該運行中画面情報の表示を表示部10に要求することで、表示部10が運行中画面G1を表示する等の処理を行う。
次に、上述したCPU11Aが実行する本発明に係る処理概要の一例を、図10〜図13に示すフローチャートを参照して以下に説明する。
タクシーメータ1Aに電源が投入されると、CPU11Aは所定の初期化処理を実行したのち、図10のフローチャートに示すステップT50に進む。
ステップT50では、後続回数の表示形式の選択(即ち、設定)を行う。例えば、営業走行の開始前に表示操作スイッチ16が長押しされる(所定の秒数以上押し続けられる)など、後続回数の表示形式を設定する画面を表示するための操作が入力されると、図14に示すような後続回数表示形式設定画面G3を表示するための後続回数表示形式設定画面情報を生成して、該後続回数表示形式設定画面情報の表示を表示部10に要求する。そして、後続回数表示形式設定画面G3の表示中に、項目移動操作に対応した所定の操作ボタンが押下されると、現在選択されている項目を示す反転表示を「1.運賃額毎表示」→「2.種類毎表示」→「3.合算表示」→「1.運賃額毎表示」の順に移動させる。そして、項目決定操作に対応した所定の操作ボタンが押下されると、反転表示している項目が選択されたものとして、該項目に対応した表示形式を示す情報をRAM13Aに設けられた表示形式情報に格納する。即ち、「1.運賃額毎表示」が選択された場合は第1表示形式を示す情報、「2.種類毎表示」が選択された場合は第2表示形式を示す情報、「3.合算表示」が選択された場合は第3表示形式を示す情報、を表示形式情報に格納する。そして、表示形式選択処理を終了して、ステップT100に進む。また、後続回数の表示形式を設定する画面を表示するための操作が入力されない場合もステップT100に進む。
ステップT100では、例えば、賃走ボタン押下などの営業走行開始の操作が入力されるまで待ち(T100でN)、営業走行開始の操作が入力されると、タクシー料金に基本運賃を加算したのち、CPU11Aに入力される距離信号及び時計データに基づいて走行距離及び走行時間の計測を開始する。そして、走行距離が基本距離に到達したのち、ステップT110に進む(T100でY)。
ステップT110では、複数種類の後続運賃から1つの後続運賃を選択してタクシー料金に加算する処理を行う。具体的には、直前にタクシー料金に運賃を加算した時点からの走行距離及び走行時間のいずれか一方が、料金制情報50に含まれる各後続距離及び各後続時間に設定されている値に到達するまで比較を行い、到達したときに各後続運賃をタクシー料金に加算する。このとき、(1)RAM13Aに設けられた総後続回数が、料金制情報50に含まれる後続運賃1の加算上限回数未満のときは、上記走行距離及び走行時間と後続距離1及び後続時間1とが比較されたのち、後続運賃1がタクシー料金に加算され、(2)総後続回数が、後続運賃1の加算上限回数以上で且つ総後続回数が後続運賃1の加算上限回数と後続運賃2の加算上限回数とを合計した値未満のときは、上記走行距離及び走行時間と後続距離2及び後続時間2とが比較されたのち、後続運賃2がタクシー料金に加算され、(3)総後続回数が、後続運賃1の加算上限回数と後続運賃2の加算上限回数とを合計した値以上のときは、上記走行距離及び走行時間と後続距離3及び後続時間3とが比較されたのち、後続運賃3がタクシー料金に加算される。そして、RAM13Aに設けられた総後続回数を1増加する。そして、ステップT200に進む。
ステップT200は、後続回数計数処理を行うものであり、図11、図12に示すように、ステップT205〜ステップT385のサブステップを有している。まず、ステップT205に進む。
ステップT205では、RAM13Aに設けられた表示形式情報に格納された情報が、運賃額毎表示形式(第1表示形式)を示すか否かを判定する。そして、表示形式情報に格納された情報が第1表示形式を示すものであるとき、後続回数を、後続運賃の額毎に計数するものとしてステップT210に進み(T205でY)、第1表示形式を示すものでないとき、ステップT360に進む(T205でN)。
ステップT210〜T350は、それぞれ上述した第1の実施形態におけるステップS210〜S350と同じ処理を行う。
ステップT360では、RAM13Aに設けられた表示形式情報に格納された情報が、種類毎表示形式(第2表示形式)を示すか否かを判定する。そして、表示形式情報に格納された情報が第2表示形式を示すものであるとき、後続回数を、後続運賃の種類毎に計数するものとしてステップT365に進み(T360でY)、第2表示形式を示すものでないとき、後続回数を、全ての種類の後続運賃について合算して計数するものとしてステップT390に進む(T360でN)。
ステップT365では、RAM13Aに設けられた総後続回数と、料金制情報50に含まれる後続運賃1の加算上限回数と、を比較して、後続運賃1の加算回数がその上限を超えたか否かを判定する。後続運賃1の加算回数がその上限を超えていない(即ち、総後続回数が後続運賃1の加算上限回数以下)と判定したとき、ステップT110において後続運賃1がタクシー料金に加算されたものとして、ステップT370に進み(T365でN)、後続運賃1の加算回数がその上限を超えた(即ち、総後続回数が後続運賃1の加算上限回数より大きい)と判定したとき、ステップT375に進む(T365でY)。
ステップT370では、RAM13Aに設けられた後続回数1を1増加する。そして、後続回数計数処理を終了してステップT400に進む。
ステップT375では、RAM13Aに設けられた総後続回数と、料金制情報50に含まれる後続運賃1の加算上限回数と後続運賃2の加算上限回数とを合計した値と、を比較して、後続運賃2の加算回数がその上限を超えたか否かを判定する。後続運賃2の加算回数がその上限を超えていない(即ち、総後続回数が、後続運賃1の加算上限回数と後続運賃2の加算上限回数とを合計した値以下)と判定したとき、ステップT110において後続運賃2が加算されたものとして、ステップT380に進み(T375でN)、後続運賃2の加算回数がその上限を超えた(即ち、総後続回数が、後続運賃1の加算上限回数と後続運賃2の加算上限回数とを合計した値より大きい)と判定したとき、ステップT110において後続運賃3が加算されたものとして、ステップT385に進む(T375でY)。
ステップT380では、RAM13Aに設けられた後続回数2を1増加する。そして、後続回数計数処理を終了してステップT400に進む。
ステップT385では、RAM13Aに設けられた後続回数3を1増加する。そして、後続回数計数処理を終了してステップT400に進む。
ステップT390では、RAM13Aに設けられた後続回数1に、同じくRAM13Aの設けられた総後続回数を代入する。そして、後続回数計数処理を終了してステップT400に進む。
ステップT400では、例えば、支払いボタン押下などの営業走行終了の操作が入力されたか否かを判定し、営業走行終了の操作が入力されていないと判定したときは、営業走行継続としてステップT110に進んで後続運賃加算処理を再度実行し(T400でN)、営業走行終了の操作が入力されたと判定したときは、営業走行終了としてステップT500に進む(T400でY)。
ステップT500は、後続回数表示処理を行うものであり、図13に示すように、ステップT510〜ステップT560のサブステップを有している。まず、ステップT510に進む。
ステップT510では、例えば、営業走行終了後の空車状態において、表示操作スイッチ16が短押し(所定の秒数未満の押下)されるなど、後続回数を表示するための操作が入力されたか否かを判定し、後続回数を表示する操作が入力されたと判定したとき、ステップT520に進み(T510でY)、後続回数を表示する操作が入力されていないと判定したとき、後続回数表示処理を終了してステップT600に進む(T510でN)。
ステップT520では、RAM13Aに設けられた表示形式情報に格納された情報が、運賃額毎表示形式(第1表示形式)を示すか否かを判定する。そして、表示形式情報に格納された情報が第1表示形式を示すものであるとき、後続回数を、後続運賃の額毎に表示するものとしてステップT530に進み(T520でY)、第1表示形式を示すものでないとき、ステップT540に進む(T520でN)。
ステップT530では、RAM13Aに設けられた後続回数1、後続回数2、及び、後続回数3のそれぞれに格納された値に基づいて、表示部10に図15に示すような運賃額毎表示画面G4を表示するための運賃額毎表示画面情報を生成し、該運賃額毎表示画面情報の表示を表示部10に要求する。さらに印字装置20に図16に示すような運賃額毎表示情報P4を印字するための運賃額毎印字情報を生成し、該運賃額毎印字情報の印字を印字装置20に要求する。これにより、表示部10及び印字装置20において、後続回数が後続運賃の額毎に分けて表示される。そして、後続回数表示処理を終了してステップT600に進む。
ステップT540では、RAM13Aに設けられた表示形式情報に格納された情報が、種類毎表示形式(第2表示形式)を示すか否かを判定する。そして、表示形式情報に格納された情報が第2表示形式を示すものであるとき、後続回数を、後続運賃の種類毎に表示するものとしてステップT550に進み(T540でY)、第2表示形式を示すものでないとき、後続回数を、全ての種類の後続運賃について合算して表示(即ち、第3表示形式で表示)するものとしてステップT560に進む(T540でN)。
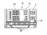
ステップT550では、RAM13Aに設けられた後続回数1、後続回数2、及び、後続回数3のそれぞれに格納された値に基づいて、表示部10に図17に示すような種類毎表示画面G5を表示するための種類毎表示画面情報を生成し、該種類毎表示画面情報の表示を表示部10に要求する。さらに印字装置20に図18に示すような種類毎表示情報P5を印字するための種類毎印字情報を生成し、該種類毎印字情報の印字を印字装置20に要求する。これにより、表示部10及び印字装置20において、後続回数が後続運賃の種類毎に分けて表示される。そして、後続回数表示処理を終了してステップT600に進む。
ステップT560では、RAM13Aに設けられた後続回数1に格納された値に基づいて、表示部10に図19に示すような合算表示画面G6を表示するための合算表示画面情報を生成し、該合算表示画面情報の表示を表示部10に要求する。さらに印字装置20に図20に示すような合算表示情報P6を印字するための合算印字情報を生成し、該合算印字情報の印字を印字装置20に要求する。これにより、表示部10及び印字装置20において、後続回数が全ての種類の後続運賃について合算されて表示される。そして、後続回数表示処理を終了してステップT600に進む。
ステップT600では、操作部15に所定のタクシー業務終了操作が入力されたか否かを判定し、タクシー業務終了操作が入力されていないと判定したとき、タクシー業務を継続するものとして、ステップT50に進んで再度営業走行の開始を待ち(T600でN)、タクシー業務終了操作が入力されたと判定したとき、ステップT700に進む(T600でY)。
ステップT700では、RAM13に記憶されたタクシー業務の各営業走行において計数した後続回数(即ち、後続回数1、後続回数2、後続回数3)をカード挿入部17に挿入されているカード25に書き込む。そして、本フローチャートの処理を終了する。
なお、上述したステップT110が、請求項中の後続運賃加算手段に相当し、ステップT200が、請求項中の運賃額毎後続回数計数手段、種類毎後続回数計数手段、及び、総後続回数計数手段に相当し、ステップT500が、請求項中の後続回数選択表示制御手段に相当し、ステップT700が、請求項中の後続回数出力制御手段に相当する。
次に、上述したタクシーメータ1Aの本発明に係る動作(作用)の一例について説明する。
(動作例4)
料金制情報50の後続運賃1が80円、後続運賃2が90円、後続運賃3が90円、後続運賃1の加算上限回数が2回、後続運賃2の加算上限回数が2回、に設定されているものとする。
まず、表示操作スイッチ16の長押しにより、後続回数表示形式設定画面G3が表示される。そして、項目移動操作を入力して「1.運賃額毎表示」を選択し、項目決定操作を入力して選択項目を決定する(T50)。
賃走ボタンの押下によって営業走行が開始されると、まずタクシー料金に基本運賃が加算される(T100)。そして、基本距離走行後に、所定の走行距離及び走行時間に到達する毎に上記複数種類の後続運賃から選択された1つの後続運賃がタクシー料金に加算され、そして総後続回数が計数される(T110)。
そして、後続回数の表示形式として「運賃額毎表示(第1表示形式)」が設定されているので、後続回数が後続運賃の額毎に分けて計数される(T205でY)。具体的には、総後続回数から導かれる後続運賃1の加算回数が、その上限回数を超えていないとき(T210でN)は、後続運賃1がタクシー料金に加算されたものとして、後続回数1が、後続運賃1の額である80円が加算された回数を示す指数として1増加される(T220)。
総後続回数から導かれる後続運賃1の加算回数がその上限回数を超え(T210でY)且つ総後続回数から導かれる後続運賃2の加算回数がその上限回数を超えていないとき(T230でN)は、後続運賃2がタクシー料金に加算されたものとして、後続運賃1と後続運賃2との額を比較する(T240)。そして、後続運賃1と後続運賃2との額が異なるので、後続回数2が、後続運賃2の額である90円が加算された回数を示す指数として1増加される(T260)。
総後続回数から導かれる後続運賃1の加算回数がその上限回数を超え(T210でY)且つ総後続回数から導かれる後続運賃2の加算回数がその上限回数を超えたとき(T230でY)は、後続運賃3がタクシー料金に加算されたものとして、後続運賃1と後続運賃2と後続運賃3との額を比較する。そして、後続運賃1と後続運賃2との額が異なり(T270でN)且つ後続運賃1と後続運賃3との額が異なり(T310でN)且つ後続運賃2と後続運賃3との額が等しい(T330でY)ので、後続運賃3の額である90円が加算された回数を示す指数である後続回数2が1増加される(T340)。
そして、例えば、タクシー料金への後続運賃の加算が32回発生して営業走行が終了した場合、後続運賃80円の加算回数を示す指数である後続回数1は2回となり、後続運賃90円の加算回数を示す指数である後続回数2は30回となる。後続回数3は未使用(0回)である。
そして、営業走行終了直後の空車状態で表示操作スイッチ16が短押しされると、後続回数の表示形式として「運賃額毎表示(第1表示形式)」が設定されているので、図15、図16に示すように、後続回数が後続運賃の額毎に分けて表示部10に表示され、且つ、印字装置20によって印字される(T500)。そして、タクシー業務が終了し業務終了操作が入力される(T600)と、営業走行毎に格納されている各後続回数がカード25に書き出される(T700)。
(動作例5)
料金制情報50の後続運賃1が80円、後続運賃2が90円、後続運賃3が90円、後続運賃1の加算上限回数が2回、後続運賃2の加算上限回数が2回、に設定されているものとする。
まず、表示操作スイッチ16の長押しにより、後続回数表示形式設定画面G3が表示される。そして、項目移動操作を入力して「2.種類毎表示」を選択し、項目決定操作を入力して選択項目を決定する(T50)。
賃走ボタンの押下によって営業走行が開始されると、まずタクシー料金に基本運賃が加算される(T100)。そして、基本距離走行後に、所定の走行距離及び走行時間に到達する毎に上記複数種類の後続運賃から選択された1つの後続運賃がタクシー料金に加算され、そして総後続回数が計数される(T110)。
そして、後続回数の表示形式として「種類毎表示(第2表示形式)」が設定されているので、後続回数が後続運賃の種類毎に分けて計数される(T360でY)。具体的には、総後続回数から導かれる後続運賃1の加算回数が、その上限回数を超えていないとき(T365でN)は、後続運賃1がタクシー料金に加算されたものとして、後続回数1が、後続運賃1の加算された回数を示す指数として1増加される(T370)。
総後続回数から導かれる後続運賃1の加算回数がその上限回数を超え(T365でY)且つ総後続回数から導かれる後続運賃2の加算回数がその上限回数を超えていないとき(T375でN)は、後続運賃2がタクシー料金に加算されたものとして、後続回数2が、後続運賃2の加算された回数を示す指数として1増加される(T380)。
総後続回数から導かれる後続運賃1の加算回数がその上限回数を超え(T365でY)且つ総後続回数から導かれる後続運賃2の加算回数がその上限回数を超えたとき(T375でY)は、後続運賃3がタクシー料金に加算されたものとして、後続回数3が、後続運賃3の加算された回数を示す指数として1増加される(T385)。
そして、例えば、タクシー料金への後続運賃の加算が32回発生して営業走行が終了した場合、後続運賃1の加算回数を示す指数である後続回数1は2回となり、後続運賃2の加算回数を示す指数である後続回数2は2回となり、後続運賃3の加算回数を示す指数である後続回数3は28回となる。
そして、営業走行終了直後の空車状態で表示操作スイッチ16が短押しされると、後続回数の表示形式として「種類毎表示(第2表示形式)」が設定されているので、図17、図18に示すように、後続回数が後続運賃の種類毎に分けて表示部10に表示され、且つ、印字装置20によって印字される(T500)。そして、タクシー業務が終了し業務終了操作が入力される(T600)と、営業走行毎に格納されている各後続回数がカード25に書き出される(T700)。
(動作例6)
料金制情報50の後続運賃1が80円、後続運賃2が90円、後続運賃3が90円、後続運賃1の加算上限回数が2回、後続運賃2の加算上限回数が2回、に設定されているものとする。
まず、表示操作スイッチ16の長押しにより、後続回数表示形式設定画面G3が表示される。そして、項目移動操作を入力して「3.合算表示」を選択し、項目決定操作を入力して選択項目を決定する(T50)。
賃走ボタンの押下によって営業走行が開始されると、まずタクシー料金に基本運賃が加算される(T100)。そして、基本距離走行後に、所定の走行距離及び走行時間に到達する毎に上記複数種類の後続運賃から選択された1つの後続運賃がタクシー料金に加算され、そして総後続回数が計数される(T110)。
そして、後続回数の表示形式として「合算表示(第3表示形式)」が設定されているので、後続回数が、全ての種類の後続運賃について合算して計数される(T360でN)。具体的には、上述した後続回数1が、後続回数を後続運賃1、後続運賃2、及び、後続運賃3それぞれについて合算した回数を示す指数として、上述した総後続回数が代入される(T390)。
そして、例えば、タクシー料金への後続運賃の加算が32回発生して営業走行が終了した場合、後続運賃1、後続運賃2、及び、後続運賃3のそれぞれについて合算した回数を示す指数である後続回数1は32回となる。後続回数2及び後続回数3は未使用(0回)である。
そして、営業走行終了直後の空車状態で表示操作スイッチ16が短押しされると、後続回数の表示形式として「合算表示(第3表示形式)」が設定されているので、図19、図20に示すように、後続回数が、全ての種類の後続運賃について合算されて表示部10に表示され、且つ、印字装置20によって印字される(T500)。そして、タクシー業務が終了し業務終了操作が入力される(T600)と、営業走行毎に格納されている各後続回数がカード25に書き出される(T700)。
本実施形態によれば、CPU11Aによる運賃額毎後続回数計数手段11bが、後続回数を、後続運賃の額毎に分けて計数及び記憶する。さらに、CPU11Aによる種類毎後続回数計数手段11eを有しており、それが後続回数を後続運賃の種類毎に分けて計数及び記憶し、CPU11Aによる総後続回数計数手段11fを有しており、それが後続回数を全ての種類の前記後続運賃について合算して計数及び記憶する。
また、ROM13Aによる表示形式情報記憶手段13が、後続回数を前記後続運賃の額毎に分けて表示する第1表示形式と、後続回数を前記後続運賃の種類毎に分けて表示する第2表示形式と、後続回数を全ての種類の前記後続運賃について合算して表示する第3表示形式と、のうちのいずれかを示す表示形式情報を記憶している。そして、CPU11Aによる後続回数選択表示制御手段11gが、(1)表示形式情報記憶手段13に第1表示形式を示す表示形式情報が記憶されていたとき、直前の営業走行において後続運賃の額毎に分けて計数された後続回数を、空車時に第1表示形式で表示手段10に表示し、(2)種類毎後続回数計数手段11eを有し且つ表示形式情報記憶手段13に第2表示形式を示す表示形式情報が記憶されていたとき、直前の営業走行において後続運賃の種類毎に分けて計数された後続回数を、空車時に第2表示形式で表示手段10に表示し、(3)総後続回数計数手段11fを有し且つ表示形式情報記憶手段13に第3表示形式を示す表示形式情報が記憶されていたとき、直前の営業走行において全ての種類の前記後続運賃について合算して計数された後続回数を、空車時に第3表示形式で表示手段10に表示する。
以上より、本発明によれば、後続回数を後続運賃の額毎に分けて計数し記憶するので、後続運賃の額毎に分けて計数された後続回数を把握することができ、後続運賃に基づく営業内容の管理及び解析の精度を高めることができる。
また、後続回数を後続運賃の額毎に分けて計数及び記憶するのに加えて、後続回数を金額にかかわらず後続運賃の種類毎に別々に分けて計数し記憶する、又は/及び、後続回数を全ての種類の前記後続運賃について合算して計数及び記憶するので、例えば、タクシー事業者毎に料金制が異なる場合やタクシー事業者独自の解析方法で運行を分析する場合など、営業内容の管理及び解析の方法などによっては、後続運賃の額毎に分けて計数された後続回数以外にも、後続運賃の種類毎に分けて計数された後続回数や、全ての後続運賃の種類について合算して計数された後続回数が必要となることがあるが、このような後続回数の計数方法が異なる場合にも対応可能となり、そのため、タクシー事業者毎に異なる多様な営業内容の管理及び解析に柔軟に対応することができ、後続運賃に基づく営業内容の管理及び解析の精度をより高めることができる。
また、(1)RAM13Aによる表示形式情報記憶手段13に第1表示形式を示す表示形式情報が記憶されていたとき、直前の営業走行において後続運賃の額毎に分けて計数された後続回数を、空車時に第1表示形式で表示手段10に表示し、(2)CPU11Aによる種類毎後続回数計数手段11eを有し且つRAM13Aによる表示形式情報記憶手段13に第2表示形式を示す表示形式情報が記憶されていたとき、直前の営業走行において後続運賃の種類毎に分けて計数された後続回数を、空車時に第2表示形式で表示手段10に表示し、(3)CPU11Aによる総後続回数計数手段11fを有し且つRAM13Aによる表示形式情報記憶手段13に第3表示形式を示す表示形式情報が記憶されていたとき、直前の営業走行において全ての種類の前記後続運賃について合算して計数された後続回数を、空車時に第3表示形式で表示手段10に表示するので、表示形式情報記憶手段13に記憶される表示形式情報に応じて、後続回数の表示形式を変更することができ、そのため、例えば、営業走行の状況に応じて、設定画面などを介して、表示形式情報を変更することにより、後続回数の表示形式を変更することができ、そのため、営業内容の管理及び解析の方法等を柔軟に変更することができ、状況に応じた営業走行の管理及び解析を行うことで、タクシー業務の効率を向上させることができる。
本実施形態においては、後続回数を後続運賃の種類毎に分けて計数及び記憶し(即ち、種類毎後続回数計数手段)且つ、後続回数を全ての種類の後続運賃について合算して計数及び記憶する(即ち、総後続回数計数手段)ものであったが、これに限らず、これらのうちの一方のみを行う構成であっても良い。
また、本実施形態においては、タクシーメータ1Aにおいて、後続回数表示形式設定画面G3を表示し、操作部15に所定の操作を入力することにより、RAM13Aに設けられた表示形式情報を変更するものであったが、これに限らず、例えば、タクシーメータ1Aに備えられたインタフェースに、メンテナンス用の外部端末を接続し、該外部端末からRAM13Aに設けられた表示形式情報を変更するものなど、表示形式情報の変更の方法については任意である。
また、上述した各実施形態においては、表示操作スイッチ16を押下することにより、後続回数を表示部10に表示し且つ印字装置20で印字するものであったが、これに限らず、どちらか一方に後続回数を出力(即ち、表示又は印字)するものであってもよい。
なお、前述した実施形態は本発明の代表的な形態を示したに過ぎず、本発明は、実施形態に限定されるものではない。即ち、本発明の骨子を逸脱しない範囲で種々変形して実施することができる。
1、1A タクシーメータ
10 表示部(表示手段)
11、11A CPU(後続運賃加算手段、運賃額毎後続回数計数手段、後続回数表示制御手段、後続回数出力制御手段、種類毎後続回数計数手段、総後続回数計数手段、後続回数選択表示制御手段)
12、12A ROM(後続運賃記憶手段)
13、13A RAM(表示形式情報記憶手段)
20 印字装置(表示手段)
25 カード(出力媒体)
50 料金制情報

Claims (5)

  1. タクシー料金に加算される複数種類の後続運賃が予め記憶された後続運賃記憶手段と、タクシーの営業走行時に、該タクシーの走行距離と走行時間とに基づいて前記後続運賃記憶手段に記憶された前記複数種類の後続運賃の中から1つの前記後続運賃を選択して前記タクシー料金に加算する後続運賃加算手段と、を有するタクシーメータにおいて、
    前記後続運賃加算手段によって前記後続運賃記憶手段に記憶された前記複数種類の後続運賃が前記タクシー料金に加算された回数を、前記後続運賃の額毎に分けて計数及び記憶する運賃額毎後続回数計数手段を有していることを特徴とするタクシーメータ。
  2. 前記タクシーの直前の営業走行において前記運賃額毎後続回数計数手段によって前記後続運賃の額毎に分けて計数及び記憶された前記回数を、前記タクシーが空車時に前記後続運賃の額毎に分けて表示手段に表示する後続回数表示制御手段を有していることを特徴とする請求項1に記載のタクシーメータ。
  3. 前記運賃額毎後続回数計数手段によって前記後続運賃の額毎に分けて計数及び記憶された前記回数を、該回数を解析する装置に送るための出力媒体に出力する後続回数出力制御手段を有していることを特徴とする請求項1又は2に記載のタクシーメータ。
  4. 前記回数を、前記後続運賃の種類毎に分けて計数及び記憶する種類毎後続回数計数手段と、前記回数を、全ての種類の前記後続運賃について合算して計数及び記憶する総後続回数計数手段と、のうち少なくとも一方を、さらに有していることを特徴とする請求項1に記載のタクシーメータ。
  5. 前記回数を前記後続運賃の額毎に分けて表示する第1表示形式と、前記回数を前記後続運賃の種類毎に分けて表示する第2表示形式と、前記回数を全ての種類の前記後続運賃について合算して表示する第3表示形式と、のうちのいずれかを示す表示形式情報が記憶された表示形式情報記憶手段と、
    前記表示形式情報記憶手段に前記第1表示形式を示す前記表示形式情報が記憶されていたとき、前記タクシーの直前の営業走行において前記運賃額毎後続回数計数手段によって前記後続運賃の額毎に分けて計数及び記憶された前記回数を、前記タクシーが空車時に前記第1表示形式で前記表示手段に表示し、前記種類毎後続回数計数手段を有し且つ前記表示形式情報記憶手段に前記第2表示形式を示す前記表示形式情報が記憶されていたとき、前記タクシーの直前の営業走行において前記種類毎後続回数計数手段によって前記後続運賃の種類毎に分けて計数及び記憶された前記回数を、前記タクシーが空車時に前記第2表示形式で前記表示手段に表示し、前記総後続回数計数手段を有し且つ前記表示形式情報記憶手段に前記第3表示形式を示す前記表示形式情報が記憶されていたとき、前記タクシーの直前の営業走行において前記総後続回数計数手段によって全ての種類の前記後続運賃について合算して計数及び記憶された前記回数を、前記タクシーが空車時に前記第3表示形式で前記表示手段に表示する、後続回数選択表示制御手段と、を有していることを特徴とする請求項4に記載のタクシーメータ。
JP2009048861A 2008-07-07 2009-03-03 タクシーメータ Active JP5426193B2 (ja)

Priority Applications (1)

Application Number Priority Date Filing Date Title
JP2009048861A JP5426193B2 (ja) 2008-07-07 2009-03-03 タクシーメータ

Applications Claiming Priority (3)

Application Number Priority Date Filing Date Title
JP2008176875 2008-07-07
JP2008176875 2008-07-07
JP2009048861A JP5426193B2 (ja) 2008-07-07 2009-03-03 タクシーメータ

Publications (2)

Publication Number Publication Date
JP2010040026A true JP2010040026A (ja) 2010-02-18
JP5426193B2 JP5426193B2 (ja) 2014-02-26

Family

ID=42012458

Family Applications (1)

Application Number Title Priority Date Filing Date
JP2009048861A Active JP5426193B2 (ja) 2008-07-07 2009-03-03 タクシーメータ

Country Status (1)

Country Link
JP (1) JP5426193B2 (ja)

Citations (3)

* Cited by examiner, † Cited by third party
Publication number Priority date Publication date Assignee Title
JPH0981806A (ja) * 1995-09-18 1997-03-28 Yazaki Corp タクシーの付加料金制適用料金算出方法及びタクシーメータ
JP2002092104A (ja) * 2000-09-14 2002-03-29 Akesesu:Kk 運賃算出提示方法
JP2007328553A (ja) * 2006-06-08 2007-12-20 Yazaki Corp タクシーメータ

Patent Citations (3)

* Cited by examiner, † Cited by third party
Publication number Priority date Publication date Assignee Title
JPH0981806A (ja) * 1995-09-18 1997-03-28 Yazaki Corp タクシーの付加料金制適用料金算出方法及びタクシーメータ
JP2002092104A (ja) * 2000-09-14 2002-03-29 Akesesu:Kk 運賃算出提示方法
JP2007328553A (ja) * 2006-06-08 2007-12-20 Yazaki Corp タクシーメータ

Also Published As

Publication number Publication date
JP5426193B2 (ja) 2014-02-26

Similar Documents

Publication Publication Date Title
JP4573907B1 (ja) 運賃料金算出方法及び運賃料金算出システム
KR101939722B1 (ko) 택시용 앱미터기
JP5426193B2 (ja) タクシーメータ
JP2006259864A (ja) タクシー料金を事前に決定するシステム及び方法
JP5234758B2 (ja) タクシーメータ
JP6431338B2 (ja) タクシーメータ及びタクシーメータシステム
JP2009048445A (ja) タクシーメータ
JP2012037943A (ja) 車載用業務支援装置およびこれを使用したタクシー業務支援システム
JP5854722B2 (ja) タクシーメータ
JP5666176B2 (ja) 付加サービス料金算出装置およびタクシー料金管理システム
JP2023119302A (ja) 料金算出システム
JP2006344001A (ja) 運行管理システム
JP5090670B2 (ja) タクシーメータ
JP2012033101A (ja) 車両用運賃通知装置
JP5815379B2 (ja) 賃走料金算出装置、タクシーメータ及びタクシーメータシステム
JP5697240B2 (ja) 走行記録装置、走行料金提示方法及び走行記録システム
JP6023555B2 (ja) 車載器、乗務時間算出方法、及びプログラム
JP6049249B2 (ja) 休憩時間記録装置及びタクシーメータ
JP5506340B2 (ja) 二酸化炭素排出量収集装置及びタクシーメータ
JP5627443B2 (ja) タクシーメータ
JP2000331199A (ja) タクシー乗車料金計算方法及びそのシステム
JP6034911B2 (ja) 車両用運賃通知装置
JP2700114B2 (ja) タクシー営業情報収集装置
JP2003346203A (ja) サーバ装置および料金端末装置および料金徴収処理システムおよび料金徴収処理方法およびコンピュータが読取り可能な記憶媒体およびプログラム
JPH0424787A (ja) 電子式タクシーメータ

Legal Events

Date Code Title Description
A621 Written request for application examination

Free format text: JAPANESE INTERMEDIATE CODE: A621

Effective date: 20120130

A711 Notification of change in applicant

Free format text: JAPANESE INTERMEDIATE CODE: A712

Effective date: 20120926

RD03 Notification of appointment of power of attorney

Free format text: JAPANESE INTERMEDIATE CODE: A7423

Effective date: 20120927

RD04 Notification of resignation of power of attorney

Free format text: JAPANESE INTERMEDIATE CODE: A7424

Effective date: 20121005

A131 Notification of reasons for refusal

Free format text: JAPANESE INTERMEDIATE CODE: A131

Effective date: 20130917

A521 Request for written amendment filed

Free format text: JAPANESE INTERMEDIATE CODE: A523

Effective date: 20131002

TRDD Decision of grant or rejection written
A01 Written decision to grant a patent or to grant a registration (utility model)

Free format text: JAPANESE INTERMEDIATE CODE: A01

Effective date: 20131105

A61 First payment of annual fees (during grant procedure)

Free format text: JAPANESE INTERMEDIATE CODE: A61

Effective date: 20131128

R150 Certificate of patent or registration of utility model

Free format text: JAPANESE INTERMEDIATE CODE: R150

Ref document number: 5426193

Country of ref document: JP

Free format text: JAPANESE INTERMEDIATE CODE: R150

R250 Receipt of annual fees

Free format text: JAPANESE INTERMEDIATE CODE: R250

R250 Receipt of annual fees

Free format text: JAPANESE INTERMEDIATE CODE: R250

R250 Receipt of annual fees

Free format text: JAPANESE INTERMEDIATE CODE: R250

R250 Receipt of annual fees

Free format text: JAPANESE INTERMEDIATE CODE: R250

R250 Receipt of annual fees

Free format text: JAPANESE INTERMEDIATE CODE: R250

R250 Receipt of annual fees

Free format text: JAPANESE INTERMEDIATE CODE: R250

R250 Receipt of annual fees

Free format text: JAPANESE INTERMEDIATE CODE: R250

S531 Written request for registration of change of domicile

Free format text: JAPANESE INTERMEDIATE CODE: R313531

R350 Written notification of registration of transfer

Free format text: JAPANESE INTERMEDIATE CODE: R350

R250 Receipt of annual fees

Free format text: JAPANESE INTERMEDIATE CODE: R250

R250 Receipt of annual fees

Free format text: JAPANESE INTERMEDIATE CODE: R250

R250 Receipt of annual fees

Free format text: JAPANESE INTERMEDIATE CODE: R250