JP2010038579A - 自動分析装置及びその試薬分注方法 - Google Patents

自動分析装置及びその試薬分注方法 Download PDF

Info

Publication number
JP2010038579A
JP2010038579A JP2008198748A JP2008198748A JP2010038579A JP 2010038579 A JP2010038579 A JP 2010038579A JP 2008198748 A JP2008198748 A JP 2008198748A JP 2008198748 A JP2008198748 A JP 2008198748A JP 2010038579 A JP2010038579 A JP 2010038579A
Authority
JP
Japan
Prior art keywords
reagent
dispensing
automatic analyzer
container
probe
Prior art date
Legal status (The legal status is an assumption and is not a legal conclusion. Google has not performed a legal analysis and makes no representation as to the accuracy of the status listed.)
Granted
Application number
JP2008198748A
Other languages
English (en)
Other versions
JP5167019B2 (ja
Inventor
Kunihiko Mazume
邦彦 馬詰
Current Assignee (The listed assignees may be inaccurate. Google has not performed a legal analysis and makes no representation or warranty as to the accuracy of the list.)
Olympus Corp
Original Assignee
Olympus Corp
Priority date (The priority date is an assumption and is not a legal conclusion. Google has not performed a legal analysis and makes no representation as to the accuracy of the date listed.)
Filing date
Publication date
Application filed by Olympus Corp filed Critical Olympus Corp
Priority to JP2008198748A priority Critical patent/JP5167019B2/ja
Publication of JP2010038579A publication Critical patent/JP2010038579A/ja
Application granted granted Critical
Publication of JP5167019B2 publication Critical patent/JP5167019B2/ja
Expired - Fee Related legal-status Critical Current
Anticipated expiration legal-status Critical

Links

Images

Landscapes

  • Automatic Analysis And Handling Materials Therefor (AREA)

Abstract

【課題】液面の誤検知を回避して試薬を分注することが可能な自動分析装置及びその試薬分注方法を提供すること。
【解決手段】試薬吸引孔8cが形成された保冷蓋8bを有する試薬保冷庫8に保持された試薬容器から吸引した試薬と検体とを反応させ、反応液の光学的特性を測定することによって検体を分析する自動分析装置及びその試薬分注方法。自動分析装置は、保冷蓋を回転させて試薬吸引孔を吸引対象の試薬容器の位置へ移動させるアクチュエータと、保冷蓋の回転に伴う試薬吸引孔の移動位置に合わせて移動し、保冷庫から試薬を分注する分注プローブ9cを有する試薬分注装置9とを備えている。
【選択図】 図3

Description

本発明は、自動分析装置及びその試薬分注方法に関するものである。
従来、自動分析装置は、試薬を収容した複数の試薬容器を試薬保冷庫に収納して低温に保持しており、試薬保冷庫を回転させて特定の試薬容器を分注プローブによる試薬吸引位置へと移動させて試薬容器から試薬を吸引し、分注ノズルを試薬保冷庫から反応槽の試薬吐出位置へ移動した後、反応槽に保持された反応容器に試薬を吐出して試薬の分注を行っている(例えば、特許文献1参照)。そして、自動分析装置は、試薬や検体等の液体試料を分注する際、分注プローブが液体試料へ過剰に侵入することに起因するいわゆるキャリーオーバーを回避するため、液体試料の液面を検知している。
特開2008−58216号公報
ところで、液体試料の液面を検知する手段としては、静電容量方式等、種々の方式が提案されているが、分注対象である試薬を分注位置へ搬送する際に液面が揺れ動き、液面を誤検知してしまうという問題あった。
本発明は、上記に鑑みてなされたものであって、液面の誤検知を回避して試薬を分注することが可能な自動分析装置及びその試薬分注方法を提供することを目的とする。
上述した課題を解決し、目的を達成するために、本発明の自動分析装置は、試薬吸引孔が形成された保冷蓋を有する試薬保冷庫に保持された試薬容器から吸引した試薬と検体とを反応させ、反応液の光学的特性を測定することによって前記検体を分析する自動分析装置であって、前記保冷蓋を回転させて前記試薬吸引孔を吸引対象の試薬容器の位置へ移動させる保冷蓋回転手段と、前記保冷蓋の回転に伴う前記試薬吸引孔の移動位置に合わせて移動し、前記保冷庫から試薬を分注する分注プローブを有する試薬分注手段と、を備えたことを特徴とする。
また、本発明の自動分析装置は、上記の発明において、前記試薬分注手段は、前記試薬保冷庫に配置され、昇降、かつ、軸廻りに回転する支柱と、前記支柱に支持され、前記分注プローブを保持する伸縮自在なアームとを備え、前記保冷蓋は、回転中心が前記支柱と同軸であることを特徴とする。
また、本発明の自動分析装置は、上記の発明において、前記試薬分注手段は、前記試薬保冷庫の近傍に配置され、昇降、かつ、軸廻りに回転する支柱と、前記支柱に支持され、前記分注プローブを保持する伸縮自在なアームとを備えることを特徴とする。
また、上述した課題を解決し、目的を達成するために、本発明の試薬分注方法は、試薬吸引孔が形成された保冷蓋を有する試薬保冷庫に保持された複数の試薬容器から分注プローブによって試薬を吸引し、吸引した試薬を反応容器に吐出して試薬を分注する試薬分注方法であって、前記保冷蓋を回転して前記試薬吸引孔を吸引対象の試薬容器の位置へ移動させる保冷蓋回転工程と、前記試薬吸引孔の移動位置に合わせて前記分注プローブを移動させるプローブ移動工程と、前記分注プローブによって前記吸引対象の試薬容器から試薬を吸引する吸引工程と、を含むことを特徴とする。
本発明の自動分析装置は、保冷蓋を回転させて試薬吸引孔を吸引対象の試薬容器の位置へ移動させる保冷蓋回転手段と、保冷蓋の回転に伴う試薬吸引孔の移動位置に合わせて移動し、保冷庫から試薬を分注する分注プローブを有する試薬分注手段とを備え、また、本発明の試薬分注方法は、保冷蓋を回転して試薬吸引孔を吸引対象の試薬容器の位置へ移動させる保冷蓋回転工程と、試薬吸引孔の移動位置に合わせて分注プローブを移動させるプローブ移動工程と、分注プローブによって吸引対象の試薬容器から試薬を吸引する吸引工程とを含んでいる。このため、本発明の自動分析装置及びその試薬分注方法は、液面の誤検知を回避して試薬を分注することができるという効果を奏する。
(実施の形態1)
以下、本発明の自動分析装置及びその試薬分注方法にかかる実施の形態1について、図面を参照して詳細に説明する。図1は、実施の形態1の自動分析装置の外観を示す斜視図である。図2は、検体搬送処理部、分析処理部及びデータ処理部と共に示す自動分析装置の概略構成図である。図3は、第1試薬保冷庫、第1試薬分注装置及び反応槽を制御部及び分注制御部等と共に示す概略構成図である。図4は、第1試薬保冷庫、第1試薬分注装置及び反応槽の概略構成を示す断面図である。
自動分析装置1は、図1に示すように、検体搬送処理部2、分析処理部5、データ処理部20を備えている。
検体搬送処理部2は、自動分析装置1に複数の検体容器3aを保持したラック3を供給する部分であり、図2に示すように、ラック供給コンベア2a、ラック搬送コンベア2b及びラック回収コンベア2cを有し、ラック3を分析処理部5に沿って搬送する。ラック3は、採血管等の検体を保持した検体容器3aを複数搭載し、ラック供給コンベア2a、ラック搬送コンベア2b及びラック回収コンベア2cを経て順次搬送され、ラック搬送コンベア2b上の検体吸引位置Psにおいて検体分注装置5によって検体容器3aから検体が吸引される。ここで、検体容器3aは、側面に検体を識別する、例えば、患者のコード番号等の検体情報を記録した識別コードラベル(図示せず)等の情報記録媒体が貼付されている。この情報記録媒体は、ラック搬送コンベア2bの搬送方向手前側に設置した読取装置4によって検体情報がられる。読取装置4は、読み取った検体情報をデータ処理部20へ出力する。
分析処理部5は、図2及び図3に示すように、反応槽6、第1試薬保冷庫8、第試薬保冷庫11、第1撹拌装置14、第2撹拌装置15及び洗浄ユニット16を備えている。
反応槽6は、図2及び図3に示すように、加温装置(図示せず)によって一定温度(=略37℃)に保持されるキュベットホイール6aと、キュベットホイール6aの上部を覆う恒温蓋6bを備えている。キュベットホイール6aは、周方向に沿って配列される複数の反応容器C(図4参照)を保持して回転し、第1試薬や第2試薬の吐出対象となる反応容器を試薬吐出孔6d,6eの位置へ移動させる。恒温蓋6bは、複数の反応容器Cに対応する半径方向外縁に検体吐出孔6cと試薬吐出孔6d,6eが形成されている。検体吐出孔6cは、検体分注装置7によって検体を反応容器Cへ吐出する際に使用される。試薬吐出孔6dは第1試薬分注装置9によって第1試薬を反応容器Cへ吐出する際に使用され、試薬吐出孔6eは第2試薬分注装置12によって第2試薬を反応容器Cへ吐出する際に使用される。なお、反応槽6は、温度センサ(図示せず)と、反応容器Cに分注された試薬と検体の反応液を測光する測定光学系とを備えている。自動分析装置1は、この測定光学系の測定値を基に制御部21の分析部21aが演算した反応液の吸光度から検体の特定成分の濃度等を分析する。
検体分注装置7は、図2に示すように、検体搬送処理部2と反応槽6との間に配置されており、第1試薬分注装置9と略同様に構成され、支柱7a、支柱7aに支持される分注アーム7b、分注アーム7bに保持される分注プローブ、洗浄槽7c、分注制御部及び液面検知装置を有している。検体分注装置7は、反応槽6の検体吐出孔6c、洗浄槽7c、ラック搬送コンベア2b上の検体吸引位置Psを通る円弧に沿った軌跡上を分注プローブが移動することにより、検体供給位置Psに移送された検体容器3aから分注プローブが検体を吸引して反応容器Cに吐出することにより検体を分注する。
第1試薬保冷庫8及び第2試薬保冷庫11は、収容する試薬が異なるだけで構成並びに付属する第1試薬分注装置9と第2試薬分注装置12及び第1洗浄槽10と第2洗浄槽13の構成が同一であり、反応槽6、第1試薬保冷庫8及び第2試薬保冷庫11は、同一平面上に配置されている。このため、第1試薬保冷庫8、第1試薬分注装置9及び第1洗浄槽10について説明し、第2試薬保冷庫11、第2試薬分注装置12及び第2洗浄槽13については対応する構成要素に対応する符号を使用して説明を省略する。
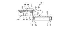
第1試薬保冷庫8は、図2及び図3に示すように、保冷庫本体8aと、保冷庫本体8aの上部を覆う保冷蓋8bとを有しており、保冷庫本体8aは回転しないが、保冷蓋8bが回転する。保冷庫本体8aは、放射状に仕切られた内部に複数の第1試薬容器Br1(図4参照)を保冷している。保冷蓋8bは、第1試薬分注装置9によって第1試薬容器Br1から試薬を吸引する試薬吸引孔8cが形成されている。第1試薬保冷庫8は、第1試薬分注装置9によって保冷庫本体8aに保冷された第1試薬容器Br1から第1試薬を吸引し、反応槽6に保持された反応容器Cに吐出することによって第1試薬を分注する。
第1試薬分注装置9は、分注制御部90の制御の下に駆動され、図3及び図4に示すように、第1試薬保冷庫8の中央に配置され、昇降、かつ、軸廻りに回転する支柱9a、支柱9aに支持される伸縮自在な分注アーム9b、分注アーム9bに保持される分注プローブ9c、アクチュエータ9d及び分注制御部90を有している。支柱9a及び分注アーム9bは、テレスコープ形構造とし、アクチュエータ9dによって駆動することにより、それぞれ昇降と伸縮が可能に構成されている。分注プローブ9cは、配管91によって押出水タンク92と接続され、配管91と共に押出水が満たされている。
このとき、第1試薬分注装置9は、分注プローブ9cが導電性金属から成形され、静電容量の変化によって第1試薬容器内の第1試薬の液面を検知する液面検知装置を有している。また、アクチュエータ9dは、支柱9aの下段側上部に設けたクラッチ機構9eを介して保冷蓋8bと接続され、保冷蓋8bを回転させる保冷蓋回転手段であり、制御部21から入力される自動分析装置1の制御信号をもとに試薬吸引孔8cを吸引対象の第1試薬容器Br1の位置へ移動させるように分注制御部90によって高精度に制御されている。但し、保冷蓋8bは、クラッチ機構9eとの接続を解除することにより、支柱9aに沿って上方へ移動させることができる。
分注制御部90は、制御部21を介して第1試薬の液面を検知する液面検知装置と接続されている。分注制御部90は、図3に示すように、制御部21を介して液面検知装置から入力される液面検知信号をもとに第1試薬の分注に際してシリンジポンプ96を駆動する駆動部96aの作動を制御し、分注プローブ9c内に押出水との間に空気層を介して第1試薬を吸引し、吸引した第1試薬を反応容器Cへ吐出させる分注制御手段であり、例えば、電子制御装置(ECU)が使用される。従って、分注制御部90は、制御部21との間で自動分析装置1の制御に関する情報を共有している。ここで、分注制御部90は、分注プローブ9cの洗浄に際し、制御部21からの制御信号の下に駆動部96aの作動を制御し、押出水を吐出させて分注プローブ9cの内部を洗浄する。
そして、第1試薬分注装置9は、図2に示すように、配管91に押出水タンク92側から順に加圧ポンプ93、エアトラップ94、三方弁からなる電磁弁95及びシリンジポンプ96が設けられている。また、電磁弁95には、加圧ポンプ93が圧送した押出水を押出水タンク92に戻す戻し配管91aが接続されている。シリンジポンプ96は、駆動部96aによって駆動され、第1試薬容器から第1試薬を吸引し、反応槽6に保持された反応容器Cに吐出することによって第1試薬を分注する。
第1洗浄槽10は、図2に示すように、反応槽6と第1試薬保冷庫8との間に配置され、制御部21の制御の下に作動し、第1試薬を分注した分注プローブ9cの外部を押出水によって洗浄する。第1洗浄槽10は、図3に示すように、加圧ポンプ93とエアトラップ94とを接続する配管91との間を三方弁からなる電磁弁102を設けた配管101によって接続されている。また、電磁弁102には、加圧ポンプ93が圧送した押出水を押出水タンク92に戻す戻し配管101aが接続されている。このとき、分注プローブ9cが吐出した押出水や第1洗浄槽10の内部へ吐出して分注プローブ9cの外部を洗浄した押出水は、第1洗浄槽10下部の図示しない配管を通って廃棄される。
第1撹拌装置14及び第2撹拌装置15は、試薬のみが分注された反応容器C又は試薬と検体が分注された反応容器C内の液体を撹拌棒によって撹拌する撹拌装置である。
洗浄ユニット16は、試薬と検体が分注され、反応液の測光が終了した反応容器Cを洗浄する複数のノズルを有している。洗浄ユニット16は、反応容器Cから反応液を吸引して廃棄する吸引ノズルと、押出水を反応容器Cに吐出する吐出ノズルと、吐出した押出水を吸引して反応容器Cを洗浄する吸引ノズルと、押出水吸引後の反応容器Cに圧縮空気を供給して乾燥させるエアノズル等を有している。
データ処理部20は、図2に示すように、制御部21、入力部22及び表示部23を有している。
制御部21は、例えば、分析結果を記憶する記憶機能を備えたマイクロコンピュータ等が使用され、検体搬送処理部2及び分析処理部5の各構成部並びに入力部22や表示部23と接続されて、自動分析装置1の各部の作動を制御する。制御部21は、図2に示すように、分析部21aを有している。分析部21aは、ホストコンピュータから入力される検体や試薬の識別番号、第1試薬保冷庫8及び第2試薬保冷庫11における第1試薬容器及び第2試薬容器の配置位置、分析項目、再検の要否等、分析に関連する情報を記憶する。また、分析部17aは、反応槽6が備える測定光学系が測光した光量に基づいて求められる反応容器C内の検体と試薬の反応液の吸光度(光学的特性)から検体の成分濃度等を分析し、分析結果を記憶する。この他、制御部21は、例えば、第1試薬分注装置9の液面検知装置が出力する検知信号をもとに液面か否かを判定し、液面と判定した場合には、所定位置を基準とする液面の鉛直方向の位置を求め、液面位置信号を液面検知装置から入力される検知信号と共に分注制御部90へ出力する。
入力部22は、制御部21へ検体数や検査項目等の入力操作を行う部分であり、例えば、キーボードやマウス等が使用される。表示部23は、分析結果を含む分析内容や前記液面検知装置検知した検体液面の鉛直方向の位置に基づく検体不足を含む警報等を表示するもので、ディスプレイパネル等が使用される。
以上のように構成される自動分析装置1は、回転するキュベットホイール6aによって周方向に沿って第1試薬の分注位置へ搬送されてくる反応容器Cに第1試薬分注装置9によって第1試薬容器から第1試薬が順次分注される。第1試薬が分注された反応容器Cは、キュベットホイール6aによって周方向に沿って搬送され、検体分注装置7によって検体供給位置Psに搬送されてくる検体容器3aから順次検体が分注される。
そして、検体が分注された反応容器Cは、キュベットホイール6aによって第2試薬の分注位置へ搬送され、反応容器Cに第2試薬分注装置11によって第2試薬容器から第2試薬が順次分注される。この間、反応容器Cは、分注された試薬や試薬と検体が第1撹拌装置14や第2撹拌装置15によって撹拌され試薬と検体が順次攪拌されて反応する。このようにして検体と試薬が反応した反応液は、キュベットホイール6aが再び回転したときに反応槽6が備える測定光学系を通過し、制御部21によって反応容器C内の検体と試薬の反応液の吸光度(光学的特性)から検体の成分濃度等が分析される。また、分析が終了した反応容器Cは、洗浄ユニット16において洗浄された後、再度検体の分析に使用される。
このとき、自動分析装置1の試薬保冷庫、例えば、第1試薬保冷庫8は、保冷庫本体8aは回転せず、制御部21による制御の下に、保冷蓋8bが分注プローブ9cと共に回転するように構成されている。そして、以下に説明する試薬分注方法に従い、分注プローブ9cを用いて第1試薬を分注する。ここで、例えば、第1試薬保冷庫8内の第1試薬容器Br1から第1試薬を分注する場合、制御部21は、先ず、保冷蓋8bを分注プローブ9cと共に図3に示す第1試薬容器Br1の位置に移動させる(保冷蓋回転工程,プローブ移動工程)。
次に、制御部21は、図5及び図6に示すように、支柱9aを収縮させて分注アーム9bを下降させ、試薬吸引孔8cを介して分注プローブ9cを第1試薬容器Br1上部の開口へ挿入する。次いで、制御部21は、分注プローブ9cを第1試薬容器Br1内へ挿入させ、分注プローブ9cに第1試薬を吸引させる(吸引工程)。このとき、分注プローブ9cは、前記液面検知装置が検知する第1試薬の液面位置を基準として分注制御部90によって第1試薬の分注動作が制御される。
第1試薬を分注プローブ9cに吸引後、制御部21は、第1試薬分注装置9の支柱9aを伸張させ、図4に示す元の位置まで分注アーム9bを上昇させる。次に、制御部21は、図7及び図8に示すように、アクチュエータ9dによって保冷蓋8bを回転させると共に、分注アーム9bを伸張させ、分注プローブ9cを恒温蓋6bの試薬吐出孔6dの直上へ移動させる。このとき、第1試薬保冷庫8は、保冷庫本体8aが回転することなく保冷蓋8bのみが回転する。また、自動分析装置1は、制御部21の制御の下にキュベットホイール6aを回転させ、試薬吐出孔6dの位置へ吐出対象の反応容器Cを移動させる。
次いで、制御部21は、図9及び図10に示すように、支柱9aを収縮させて分注アーム9bを下降し、分注プローブ9cを試薬吐出孔6dから反応槽6内に挿通し、分注プローブ9cが吸引した第1試薬を吐出対象の反応容器Cへ吐出させる。第1試薬R1を反応容器Cへ吐出させた後、制御部21は、支柱9aを伸張させ、図7及び図8に示す位置まで分注アーム9bを上昇させる。
その後、制御部21は、図11及び図12に示すように、アクチュエータ9dによって保冷蓋8bを回転させると共に、分注アーム9bを僅かに収縮させ、分注プローブ9cを第1洗浄槽10の直上へ移動させる。次に、制御部21は、図13及び図14に示すように、支柱9aを収縮させて分注アーム9bを下降し、分注プローブ9cを第1洗浄槽10内に挿通する。すると、分注制御部90及び制御部21の制御の下に吐出される押出水によって分注プローブ9cの内外が洗浄される。
このようにして分注プローブ9cの洗浄を終えた後、制御部21は、図11及び図12に示すように、第1洗浄槽10の上方へ分注アーム9bを上昇させる。その後、制御部21は、図15に示すように、アクチュエータ9dによって保冷蓋8bを分注プローブ9cと共に回転させ、試薬吸引孔8cを新たな吸引対象の第1試薬容器Br1の位置へ移動させると共に、分注アーム9bを収縮して分注プローブ9cを試薬吸引孔8cの直上へ移動させる。
そして、再度新たな第1試薬の分注作業に移行し、同様の分注作業を繰り返す。このとき、第2試薬分注装置12も、第1試薬分注装置9と同様にして分注プローブ12cによって第2試薬を分注する。
このように、自動分析装置1は、保冷庫本体8aは回転せず、第1試薬保冷庫8の保冷蓋8bが第1試薬分注装置9のアクチュエータ9dによって回転され、保冷蓋8bに形成した試薬吸引孔8cが吸引対象の第1試薬容器Br1の位置へ移動する。そして、第2試薬保冷庫11も第1試薬保冷庫8と同様に構成されている。また、第1試薬分注装置9は、第1試薬保冷庫8の中央に配置され、昇降、かつ、軸廻りに回転する支柱9aと、支柱9aに支持され、分注プローブ9cを保持した伸縮自在な分注アーム9bを有しており、第2試薬分注装置12も同様に構成されている。そして、制御部21は、反応槽6の試薬吐出孔6dの位置及び保冷蓋8bの回転に伴う試薬吸引孔8cの移動に合わせて分注プローブ9cを移動させ、吸引対象の第1試薬容器Br1から試薬を吸引し、吸引した試薬を吐出対象の反応容器Cへ吐出させて分注を行っており、第2試薬も同様にして分注される。
従って、自動分析装置1は、第1試薬保冷庫8及び第2試薬保冷庫11の保冷庫本体8a,11aが回転しないため、分注対象である第1試薬や第2試薬の液面が揺れ動くことがない。このため、自動分析装置1は、第1試薬や第2試薬の液面を誤検知することなく、第1試薬や第2試薬を分注することができる。また、自動分析装置1は、保冷庫本体8a,11aを保冷蓋8b,11bで覆っているため、第1試薬や第2試薬の温度を適切に保持すると共に、第1試薬や第2試薬の第1試薬容器Br1や第2試薬容器Br2からの蒸発も防ぐことができる。
(実施の形態2)
次に、本発明の自動分析装置及びその試薬分注方法にかかる実施の形態2について、図面を参照して詳細に説明する。実施の形態1の自動分析装置1は、反応槽6と第1試薬保冷庫8及び第2試薬保冷庫11との間に洗浄槽10,13が配置されていた。これに対し、実施の形態2の自動分析装置は、第1試薬保冷庫8の保冷庫本体8aが一部切り欠かれて反応槽6のキュベットホイール6aが保冷庫本体8a側へ入り込むと共に、恒温蓋6bも一部切り欠かれて保冷蓋8bが恒温蓋6b側へ入り込むように構成されている。
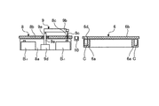
図16は、実施の形態2の自動分析装置における第1試薬保冷庫、第1試薬分注装置及び反応槽の概略構成図である。図17は、第1試薬保冷庫、第1試薬分注装置及び反応槽の概略構成を示す断面図である。ここで、以下に説明する各実施の形態の自動分析装置は、図1及び図2を参照して説明した実施の形態1の自動分析装置1と構成が同一であるので、図面を省略し、自動分析装置1と同一の構成部分には同一の符号を使用して説明する。
実施の形態2の自動分析装置30は、図16及び図17に示す反応槽6及び第1試薬保冷庫8を備えている。
反応槽6は、図16及び図17に示すように、恒温蓋6bの第1試薬保冷庫8側を保冷蓋8bの外縁形状に切り欠いて切欠部6fが形成されている。このため、恒温蓋6bは、検体吐出孔6c及び試薬吐出孔6eを有しているが、試薬吐出孔6dは有していない。そして、反応槽6は、単独の状態では、キュベットホイール6aに保持された複数の反応容器Cのうち恒温蓋6bの切欠部6fに位置する反応容器Cの上部が開放されている。
第1試薬保冷庫8は、実施の形態1の自動分析装置1と同様に、保冷庫本体8aは回転せず、保冷庫本体8aの反応槽6側を切欠部6fの形状に対応させて切り欠いて凹部8dが形成されている。第1試薬保冷庫8は、保冷蓋8bに形成した試薬吸引孔8cが吸引した第1試薬を反応容器Cに吐出する試薬吐出孔6dを兼ねると共に、反応槽6の切欠部6fの上を覆う保冷蓋8bが恒温蓋6bを兼ねている。
そして、自動分析装置30は、保冷庫本体8a外縁の凹部8dにキュベットホイール6aの外縁を配置すると共に、切欠部6fに保冷蓋8b外縁を配置して、切欠部6fに位置する反応容器Cの上部を保冷蓋8bによって覆っている。ここで、第1試薬を吐出するため第1試薬分注装置9の分注プローブ9cが反応槽6側へ移動した際、図17に示すように、キュベットホイール6aは、切欠部6fの下部に位置する反応容器Cが保冷蓋8bに形成した試薬吸引孔8cの直下に来るように制御部21によって回転が制御される。
この結果、自動分析装置30は、自動分析装置1と同様に、保冷庫本体8aが回転せず、第1試薬分注装置9によって保冷蓋8bを吸引対象の第1試薬容器Br1の位置へ回転させて第1試薬を吸引し、吸引した試薬を試薬吸引孔8c直下の反応容器Cへ吐出することによって第1試薬を分注することができる。このため、自動分析装置30は、自動分析装置1と同様に、第1試薬の液面を誤検知することなく、第1試薬を分注することができ、第1試薬の温度を適切に保持すると共に、第1試薬の第1試薬容器Br1からの蒸発を防ぐことができる。
従って、自動分析装置30は、反応槽6及び第2試薬保冷庫11を上記と同様に構成することにより、第2試薬についても液面を誤検知することなく分注することができ、第2試薬の温度を適切に保持すると共に、第2試薬の第2試薬容器Br2からの蒸発も防ぐことができる。
(実施の形態3)
次に、本発明の自動分析装置及びその試薬分注方法にかかる実施の形態3について、図面を参照して詳細に説明する。実施の形態1,2の自動分析装置1,30は、反応槽6、第1試薬保冷庫8及び第2試薬保冷庫11が同一平面上に配置されていた。これに対し、実施の形態3の自動分析装置は、第1試薬保冷庫8が反応槽6の上側に配置されている。
図18は、実施の形態3の自動分析装置における第1試薬保冷庫、第1試薬分注装置及び反応槽の概略構成図である。図19は、第1試薬保冷庫、第1試薬分注装置及び反応槽の概略構成を示す断面図である。
実施の形態3の自動分析装置40は、図18及び図19に示す反応槽6及び第1試薬保冷庫8を備えている。
反応槽6は、図18〜図20に示すように、周方向に沿って複数の反応容器Cが配列されるキュベットホイール6aと、複数の反応容器Cに対応する半径方向外縁に検体吐出孔6cと試薬吐出孔6d,6eが形成された恒温蓋6bとを有しており、実施の形態1の反応槽6と構成が同じである。但し、反応槽6は、支柱9aから試薬吐出孔6d迄の半径方向の距離が支柱9aから試薬吸引孔8c迄の半径方向の距離と等しくなるように配置する。これにより、反応槽6は、分注アーム9bを回動させて分注プローブ9cを反応槽6側へ移動させた際、試薬吐出孔6dが分注プローブ9cの直下に来る。
第1試薬保冷庫8は、図18及び図19に示すように、反応槽6に近接させて上側に配置され、反応槽6側の保冷庫本体8a及び保冷蓋8bが扇形に切り欠かれている。そして、第1試薬保冷庫8は、支柱9aからの半径方向の距離が支柱9aから試薬吸引孔8c迄の半径方向の距離に等しい第1試薬保冷庫8の扇形に切り欠いた位置に第1洗浄槽10が配置されている。
このように、自動分析装置40は、反応槽6の上側に第1試薬保冷庫8したので、図18及び図19に示すように、第1試薬分注装置9の支柱9aが3段のテレスコープ形構造に構成されている。但し、第1試薬分注装置9は、支柱9aから試薬吸引孔8c迄の半径方向の距離及び支柱9aから試薬吐出孔6d迄の半径方向の距離が等しいので、テレスコープ形構造でなくてもよい。
そして、自動分析装置40は、第1試薬分注装置9の分注プローブ9cが第1試薬容器Br1から吸引した第1試薬を吐出する際は、分注アーム9bを支柱9aの軸廻りに回転させて分注プローブ9cを反応槽6側へ移動させる。次に、自動分析装置40は、図21に示すように、支柱9aを収縮させて分注アーム9bを下降し、分注プローブ9cを試薬吐出孔6dから反応槽6内に挿通し、分注プローブ9cが吸引した第1試薬を吐出対象の反応容器Cへ吐出する。
この結果、自動分析装置40は、自動分析装置1と同様に、保冷庫本体8aが回転せず、第1試薬分注装置9によって保冷蓋8bを吸引対象の第1試薬容器Br1の位置へ回転させて第1試薬を吸引し、吸引した試薬を試薬吐出孔6d直下の反応容器Cへ吐出することによって第1試薬を分注することができる。このため、自動分析装置40は、自動分析装置1と同様に、第1試薬の液面を誤検知することなく、第1試薬を分注することができ、第1試薬の温度を適切に保持すると共に、第1試薬の第1試薬容器Br1からの蒸発を防ぐことができる。
従って、自動分析装置40は、反応槽6及び第2試薬保冷庫11を上記と同様に構成することにより、第2試薬についても液面を誤検知することなく分注することができ、第2試薬の温度を適切に保持すると共に、第2試薬の第2試薬容器Br2からの蒸発を防ぐこともできる。
(実施の形態4)
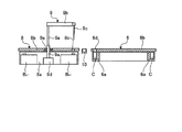
次に、本発明の自動分析装置及びその試薬分注方法にかかる実施の形態4について、図面を参照して詳細に説明する。実施の形態1〜3の自動分析装置1,3040は、第1試薬分注装置9や第2試薬分注装置12が第1試薬保冷庫8や第2試薬保冷庫11の中央に配置されていた。これに対し、実施の形態4の自動分析装置は、第1試薬分注装置9及び第2試薬分注装置12が第1試薬保冷庫8及び第2試薬保冷庫11の外部に配置されている。図22は、検体搬送処理部及び分析処理部と共に示す実施の形態4の自動分析装置の概略構成図である。
ここで、自動分析装置50は、第1試薬分注装置9及び第2試薬分注装置12が第1試薬保冷庫8及び第2試薬保冷庫11の外部に配置され、第1試薬分注装置9及び第2試薬分注装置12は共に構成が同一である。従って、第1試薬分注装置9について説明し、第2試薬分注装置12は、説明が必要な場合には、対応する構成要素に対応する符号を使用して説明する。
第1試薬分注装置9は、図22に示すように、分注アーム9bが3段のテレスコープ形構造に構成され、第1試薬保冷庫8近傍に配置されている。第1試薬分注装置9は、分注制御部90によって制御され、図23に示すように、昇降、かつ、軸廻りに回転する支柱9a、支柱9aに支持される伸縮自在な分注アーム9b、分注アーム9bに保持される分注プローブ9c及びアクチュエータ9dを有している。
また、第1試薬保冷庫8及び第2試薬保冷庫11は、保冷蓋8b,11bが制御部21の制御の下にアクチュエータによってそれぞれ回転され、試薬吸引孔を吸引対象の試薬容器の位置へ移動する。例えば、第1試薬保冷庫8は、図23に示すように、中央下部にモータ等のアクチュエータ8eが設けられ、アクチュエータ8eの回転軸8fにクラッチ8gを介して保冷蓋8bが取り付けられている。
このため、第1試薬分注装置9を第1試薬保冷庫8の外部に配置していても、自動分析装置50は、必要に応じて分注アーム9bを伸縮させることによって第1試薬保冷庫8の所望の第1試薬容器Br1から第1試薬を吸引し、反応槽6の試薬吐出孔6dを通して吐出対象の反応容器Cへ第1試薬を吐出することができる。これは、第2試薬分注装置12についても同様である。
従って、自動分析装置50は、自動分析装置1と同様に、第1試薬や第2試薬の液面を誤検知することなく、第1試薬や第2試薬を分注することができ、第1試薬や第2試薬の温度を適切に保持すると共に、第1試薬の第1試薬容器Br1や第2試薬の第2試薬容器Br2からの蒸発を防ぐことができる。
尚、本発明の自動分析装置は、自動分析装置の作動を制御する制御手段と試薬分注手段の分注動作を制御する分注制御手段とを設けたが、これらは1つの制御手段にまとめてもよい。
実施の形態1の自動分析装置の外観を示す斜視図である。 検体搬送処理部、分析処理部及びデータ処理部と共に示す自動分析装置の概略構成図である。 第1試薬保冷庫、第1試薬分注装置及び反応槽を制御部及び分注制御部等と共に示す概略構成図である。 第1試薬保冷庫、第1試薬分注装置及び反応槽の概略構成を示す断面図である。 第1試薬分注装置の分注プローブを第1試薬容器の開口へ挿入した状態の概略構成図である。 図5に示す状態おける第1試薬保冷庫、第1試薬分注装置及び反応槽の概略構成を示す断面図である。 第1試薬分注装置の分注プローブを恒温蓋の試薬吐出孔の直上へ移動させた状態の概略構成図である。 図7に示す状態おける第1試薬保冷庫、第1試薬分注装置及び反応槽の概略構成を示す断面図である。 第1試薬分注装置の分注プローブが吸引した第1試薬を吐出対象のキュベットへ吐出する状態の概略構成図である。 図9に示す状態おける第1試薬保冷庫、第1試薬分注装置及び反応槽の概略構成を示す断面図である。 第1試薬分注装置の分注プローブを洗浄槽の直上へ移動させた状態の概略構成図である。 図11に示す状態おける第1試薬保冷庫、第1試薬分注装置及び反応槽の概略構成を示す断面図である。 第1試薬分注装置の分注プローブを洗浄槽内に挿通した状態の概略構成図である。 図13に示す状態おける第1試薬保冷庫、第1試薬分注装置及び反応槽の概略構成を示す断面図である。 第1試薬分注装置の分注プローブを新たな吸引対象の第1試薬容器の位置へ移動させた状態の概略構成図である。 実施の形態2の自動分析装置における第1試薬保冷庫、第1試薬分注装置及び反応槽の概略構成図である。 第1試薬保冷庫、第1試薬分注装置及び反応槽の概略構成を示す断面図である。 実施の形態3の自動分析装置における第1試薬保冷庫、第1試薬分注装置及び反応槽の概略構成図である。 第1試薬保冷庫、第1試薬分注装置及び反応槽の概略構成を示す断面図である。 恒温蓋及び保冷蓋を除去した反応槽及び第1試薬保冷庫を第1試薬分注装置の分注アームと共に示す平面図である。 第1試薬分注装置の分注プローブが吸引した第1試薬を吐出対象のキュベットへ吐出する状態おける第1試薬保冷庫、第1試薬分注装置及び反応槽の概略構成を示す断面図である。 検体搬送処理部、分析処理部及びデータ処理部と共に示す実施の形態4の自動分析装置の概略構成図である。 第1試薬保冷庫及び第1試薬分注装置の概略構成を示す断面図である。
符号の説明
1 自動分析装置
2 検体搬送処理部
3a 検体容器
3 ラック
4 読取装置
5 分析処理部
6 反応槽
6d,6e 試薬吐出孔
6b 恒温蓋
6c 検体吐出孔
7 検体分注装置
8 第1試薬保冷庫
8a 保冷庫本体
8b 保冷蓋
8c 試薬吸引孔
9 第1試薬分注装置
9c 分注プローブ
9e クラッチ機構
90 分注制御部
91 配管
92 押出水タンク
93 加圧ポンプ
94 エアトラップ
95 電磁弁
96 シリンジポンプ
10 第1洗浄槽
101 配管
102 電磁弁
11 第2試薬保冷庫
12 第2試薬分注装置
13 第2洗浄槽
14 第1撹拌装置
15 第2撹拌装置
16 洗浄ユニット
20 データ処理部
21 制御部
22 入力部
23 表示部
Br1 第1試薬容器
C 反応容器
Ps 検体供給位置

Claims (4)

  1. 試薬吸引孔が形成された保冷蓋を有する試薬保冷庫に保持された試薬容器から吸引した試薬と検体とを反応させ、反応液の光学的特性を測定することによって前記検体を分析する自動分析装置であって、
    前記保冷蓋を回転させて前記試薬吸引孔を吸引対象の試薬容器の位置へ移動させる保冷蓋回転手段と、
    前記保冷蓋の回転に伴う前記試薬吸引孔の移動位置に合わせて移動し、前記保冷庫から試薬を分注する分注プローブを有する試薬分注手段と、
    を備えたことを特徴とする自動分析装置。
  2. 前記試薬分注手段は、前記試薬保冷庫に配置され、昇降、かつ、軸廻りに回転する支柱と、前記支柱に支持され、前記分注プローブを保持する伸縮自在なアームとを備え、
    前記保冷蓋は、回転中心が前記支柱と同軸であることを特徴とする請求項1に記載の自動分析装置。
  3. 前記試薬分注手段は、前記試薬保冷庫の近傍に配置され、昇降、かつ、軸廻りに回転する支柱と、前記支柱に支持され、前記分注プローブを保持する伸縮自在なアームとを備えることを特徴とする請求項1に記載の自動分析装置。
  4. 試薬吸引孔が形成された保冷蓋を有する試薬保冷庫に保持された複数の試薬容器から分注プローブによって試薬を吸引し、吸引した試薬を反応容器に吐出して試薬を分注する試薬分注方法であって、
    前記保冷蓋を回転して前記試薬吸引孔を吸引対象の試薬容器の位置へ移動させる保冷蓋回転工程と、
    前記試薬吸引孔の移動位置に合わせて前記分注プローブを移動させるプローブ移動工程と、
    前記分注プローブによって前記吸引対象の試薬容器から試薬を吸引する吸引工程と、
    を含むことを特徴とする試薬分注方法。
JP2008198748A 2008-07-31 2008-07-31 自動分析装置及びその試薬分注方法 Expired - Fee Related JP5167019B2 (ja)

Priority Applications (1)

Application Number Priority Date Filing Date Title
JP2008198748A JP5167019B2 (ja) 2008-07-31 2008-07-31 自動分析装置及びその試薬分注方法

Applications Claiming Priority (1)

Application Number Priority Date Filing Date Title
JP2008198748A JP5167019B2 (ja) 2008-07-31 2008-07-31 自動分析装置及びその試薬分注方法

Publications (2)

Publication Number Publication Date
JP2010038579A true JP2010038579A (ja) 2010-02-18
JP5167019B2 JP5167019B2 (ja) 2013-03-21

Family

ID=42011305

Family Applications (1)

Application Number Title Priority Date Filing Date
JP2008198748A Expired - Fee Related JP5167019B2 (ja) 2008-07-31 2008-07-31 自動分析装置及びその試薬分注方法

Country Status (1)

Country Link
JP (1) JP5167019B2 (ja)

Cited By (1)

* Cited by examiner, † Cited by third party
Publication number Priority date Publication date Assignee Title
CN105021836A (zh) * 2015-08-04 2015-11-04 北京迪迈医学诊断技术有限公司 旋转式自动取样及进样装置及其方法

Citations (5)

* Cited by examiner, † Cited by third party
Publication number Priority date Publication date Assignee Title
JPH0249165A (ja) * 1989-04-21 1990-02-19 Olympus Optical Co Ltd 自動分析装置の分注器
JPH04326063A (ja) * 1991-04-26 1992-11-16 Hitachi Ltd 自動分析装置およびそれに用いる試薬取扱方法
JP2005010115A (ja) * 2003-06-23 2005-01-13 Hitachi High-Technologies Corp 自動分析装置
JP2007303884A (ja) * 2006-05-09 2007-11-22 Olympus Corp 自動分析装置
JP2009036680A (ja) * 2007-08-02 2009-02-19 Olympus Corp 分析装置

Patent Citations (5)

* Cited by examiner, † Cited by third party
Publication number Priority date Publication date Assignee Title
JPH0249165A (ja) * 1989-04-21 1990-02-19 Olympus Optical Co Ltd 自動分析装置の分注器
JPH04326063A (ja) * 1991-04-26 1992-11-16 Hitachi Ltd 自動分析装置およびそれに用いる試薬取扱方法
JP2005010115A (ja) * 2003-06-23 2005-01-13 Hitachi High-Technologies Corp 自動分析装置
JP2007303884A (ja) * 2006-05-09 2007-11-22 Olympus Corp 自動分析装置
JP2009036680A (ja) * 2007-08-02 2009-02-19 Olympus Corp 分析装置

Cited By (1)

* Cited by examiner, † Cited by third party
Publication number Priority date Publication date Assignee Title
CN105021836A (zh) * 2015-08-04 2015-11-04 北京迪迈医学诊断技术有限公司 旋转式自动取样及进样装置及其方法

Also Published As

Publication number Publication date
JP5167019B2 (ja) 2013-03-21

Similar Documents

Publication Publication Date Title
JP5178830B2 (ja) 自動分析装置
US10908175B2 (en) Sample analyzer and liquid aspirating method
JP2010048695A (ja) 自動分析装置および恒温槽安定化方法
WO2010064457A1 (ja) 自動分析装置および自動分析装置における検体分注方法
JP2010071765A (ja) 分注プローブ洗浄方法および自動分析装置
JP7080391B2 (ja) 自動分析装置
WO2007129741A1 (ja) 自動分析装置
JP2010071766A (ja) 分注装置、自動分析装置および分注不良確認方法
JP7494375B2 (ja) 自動分析装置、および自動分析装置における検体の吸引方法
JP6886837B2 (ja) 自動分析装置
JP7461963B2 (ja) 自動分析装置および試薬の分注方法
WO2011004581A1 (ja) 自動分析装置とその液面検知の正否判定方法
JP2008224244A (ja) 洗浄装置および自動分析装置
JP5167019B2 (ja) 自動分析装置及びその試薬分注方法
JP2010217047A (ja) 自動分析装置とその検体搬送方法
WO2025197528A1 (ja) 自動分析装置
JP5883214B2 (ja) 自動分析装置
JP5258090B2 (ja) 自動分析装置
JP4110082B2 (ja) 自動分析装置
JP2009293939A (ja) 検体分注装置のプローブ洗浄方法、検体分注装置及び自動分析装置
JP5409564B2 (ja) 自動分析装置
JP2009250751A (ja) 液面検知装置及び自動分析装置
JP2010276547A (ja) 分注装置、分析装置及び分注装置の分注制御方法
JP6559951B2 (ja) 自動分析装置
JP2010071764A (ja) 恒温槽温度調整方法、分注プローブ洗浄機構および自動分析装置

Legal Events

Date Code Title Description
A711 Notification of change in applicant

Free format text: JAPANESE INTERMEDIATE CODE: A711

Effective date: 20100208

A621 Written request for application examination

Free format text: JAPANESE INTERMEDIATE CODE: A621

Effective date: 20110801

A977 Report on retrieval

Free format text: JAPANESE INTERMEDIATE CODE: A971007

Effective date: 20120821

A131 Notification of reasons for refusal

Free format text: JAPANESE INTERMEDIATE CODE: A131

Effective date: 20120828

A521 Written amendment

Free format text: JAPANESE INTERMEDIATE CODE: A523

Effective date: 20121121

TRDD Decision of grant or rejection written
A01 Written decision to grant a patent or to grant a registration (utility model)

Free format text: JAPANESE INTERMEDIATE CODE: A01

Effective date: 20121210

A61 First payment of annual fees (during grant procedure)

Free format text: JAPANESE INTERMEDIATE CODE: A61

Effective date: 20121221

FPAY Renewal fee payment (event date is renewal date of database)

Free format text: PAYMENT UNTIL: 20151228

Year of fee payment: 3

R150 Certificate of patent or registration of utility model

Ref document number: 5167019

Country of ref document: JP

Free format text: JAPANESE INTERMEDIATE CODE: R150

Free format text: JAPANESE INTERMEDIATE CODE: R150

R250 Receipt of annual fees

Free format text: JAPANESE INTERMEDIATE CODE: R250

R250 Receipt of annual fees

Free format text: JAPANESE INTERMEDIATE CODE: R250

R250 Receipt of annual fees

Free format text: JAPANESE INTERMEDIATE CODE: R250

R250 Receipt of annual fees

Free format text: JAPANESE INTERMEDIATE CODE: R250

R250 Receipt of annual fees

Free format text: JAPANESE INTERMEDIATE CODE: R250

LAPS Cancellation because of no payment of annual fees