JP2010038166A - トランジションダクト後方端部フレーム冷却及び関連方法 - Google Patents

トランジションダクト後方端部フレーム冷却及び関連方法 Download PDF

Info

Publication number
JP2010038166A
JP2010038166A JP2009181984A JP2009181984A JP2010038166A JP 2010038166 A JP2010038166 A JP 2010038166A JP 2009181984 A JP2009181984 A JP 2009181984A JP 2009181984 A JP2009181984 A JP 2009181984A JP 2010038166 A JP2010038166 A JP 2010038166A
Authority
JP
Japan
Prior art keywords
frame
transition duct
cooling channels
closure band
wall surface
Prior art date
Legal status (The legal status is an assumption and is not a legal conclusion. Google has not performed a legal analysis and makes no representation as to the accuracy of the status listed.)
Granted
Application number
JP2009181984A
Other languages
English (en)
Other versions
JP5491096B2 (ja
Inventor
Jr Lewis B Davis
ルイス・ビー・デイヴィス,ジュニア
Ronald J Chila
ロナルド・ジェイ・チラ
Kevin W Mcmahan
ケヴィン・ダブリュー・マクマハン
Current Assignee (The listed assignees may be inaccurate. Google has not performed a legal analysis and makes no representation or warranty as to the accuracy of the list.)
General Electric Co
Original Assignee
General Electric Co
Priority date (The priority date is an assumption and is not a legal conclusion. Google has not performed a legal analysis and makes no representation as to the accuracy of the date listed.)
Filing date
Publication date
Application filed by General Electric Co filed Critical General Electric Co
Publication of JP2010038166A publication Critical patent/JP2010038166A/ja
Application granted granted Critical
Publication of JP5491096B2 publication Critical patent/JP5491096B2/ja
Active legal-status Critical Current
Anticipated expiration legal-status Critical

Links

Images

Classifications

    • FMECHANICAL ENGINEERING; LIGHTING; HEATING; WEAPONS; BLASTING
    • F01MACHINES OR ENGINES IN GENERAL; ENGINE PLANTS IN GENERAL; STEAM ENGINES
    • F01DNON-POSITIVE DISPLACEMENT MACHINES OR ENGINES, e.g. STEAM TURBINES
    • F01D9/00Stators
    • F01D9/02Nozzles; Nozzle boxes; Stator blades; Guide conduits, e.g. individual nozzles
    • F01D9/023Transition ducts between combustor cans and first stage of the turbine in gas-turbine engines; their cooling or sealings

Landscapes

  • Engineering & Computer Science (AREA)
  • Mechanical Engineering (AREA)
  • General Engineering & Computer Science (AREA)
  • Turbine Rotor Nozzle Sealing (AREA)

Abstract

【課題】ガスタービン用のトランジションダクトを提供する。
【解決手段】本トランジションダクトは、前方端部及びフレーム構成要素で囲まれた後方端部を有する管状本体と、フレームの内面上壁表面、底壁表面及び側壁表面を覆う、該後方端部内の内面クロージャバンドと、その各々がそれぞれ前方及び後方端部に入口及び出口を有する、該フレーム及びクロージャバンド間の複数の冷却チャネルとを含む。
【選択図】 図3

Description

本発明は、総括的にはガスタービン燃焼器技術に関し、また燃焼器とタービンの第1段との間で延びるトランジションピース又はダクトの後方端部フレームを冷却するための装置及び関連する方法に関する。
一般的に、トランジションダクトは、該ダクトの後方端部に取付けられるか又は一体形に形成されて、該ダクトをタービン第1段の入口に取付けるのを可能にする後方フレームを有する。後方フレームは、多くの場合、圧縮機吐出空気が該フレームを通って流れるのを可能にする制御したシール漏洩及び/又は小径冷却孔によって冷却される。例えば米国特許第6769257号、米国特許第5414999号、米国特許第5724816号及び米国特許第4652284号を参照されたい。それにも拘わらず、トランジションダクト後方端部フレーム付近には、極度な高温及び温度勾配が生じる可能性がある。
米国特許第6769257号明細書 米国特許第5414999号明細書 米国特許第5724816号明細書 米国特許第4652284号明細書
従って、これらの区域におけるより有効な冷却方法の必要性が、依然として存在する。
1つの態様では、本発明は、ガスタービン用のトランジションダクトに関し、本トランジションダクトは、前方端部及びフレーム構成要素で囲まれた後方端部を有する管状本体と、フレームの内面上壁表面、底壁表面及び側壁表面を覆う、該フレーム内の内面クロージャバンドと、その各々がそれぞれ前方及び後方端部に入口及び出口を有する、該フレーム及びクロージャバンド間の複数の冷却チャネルとを含む。
別の態様では、本発明は、ガスタービントランジションダクトの後方端部フレームに冷却空気を供給する方法に関し、本方法は、後方フレームの内面表面と後方フレーム内に設置されたクロージャバンドの外面表面との間に複数の冷却チャネルを形成するステップと、トランジションダクトの後方端縁部に後方フレーム及びクロージャバンドを取付けるステップとを含む。
次に、以下に特定する図面と関連させて、本発明をより詳細に説明する。
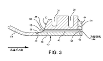
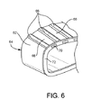
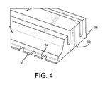
後方端部フレームが取付けられた従来型のタービントランジションピースの部分後方端部斜視図。 フレームを貫通して穿孔された冷却孔を示す、従来型のトランジションピース後方端部フレームの部分断面図。 本発明の例示的であるが非限定的な実施形態による、図2と同様であるがトランジションピース後方端部フレームを示す部分断面図。 図3に示すトランジションピース後方端部フレームと同様であるが冷却チャネルカバーバンドを取除いたトランジションピース後方端部フレームの部分斜視図。 図3に示すトランジションピース後方端部フレームと同様であるが冷却チャネルカバーバンドを取除いたトランジションピース後方端部フレームの部分斜視図。 本発明の別の例示的な実施形態による後方端部フレームクロージャバンドの部分斜視図。
ガスタービンにおける一般的な缶−アニュラ型燃焼器構成では、タービンロータを囲む燃焼器のアレイが、該燃焼器とタービン第1段入口との間で延びる対応するトランジションダクトのアレイを介してタービン第1段に高温燃焼ガスを供給する。図1を参照すると、1つのそのようなトランジションピース又はダクト10は、前方端部において燃焼器ライナ(図示せず)に連結される。この例示的な実施形態におけるトランジションダクトの後方端部12は、出口16を囲む一体形又は取付け形後方端部フレーム14を有し、従ってタービン第1段ノズル(図示せず)への取付けを可能にする。図2は、フレーム内に穿孔した又はその他の方法で加工した複数の冷却孔20を形成した別の公知のトランジションピース後方端部フレーム18を示している。フレーム18は参照符号24の位置においてトランジションダクト22に溶接される。一般的に後方フレーム内にシール空洞26、28を設けて、トランジションダクト−タービンノズル接合部におけるシールを受ける。
次に図3〜図5を参照すると、本発明の1つの例示的であるが非限定的な実施形態では、フレーム32の内表面30は、該フレームの前方端縁部36から後向き又は後方端縁部又は面38まで延びる複数の軸方向に配向した3面形開口冷却チャネル34を形成するように加工される(フライス加工、鋳造、レーザエッチングなどによって)。
冷却チャネル34は、後方フレームの内面上面表面、側面表面及び底面表面(その全体を内表面30と呼ぶ)の1つ、全て又はあらゆる組合せ上に設けることができ、またそれらの表面の各々内のチャネル又はグルーブ34の数もまた、必要に応じて変化させることができる。チャネル34は、図4〜図5に示すような矩形を含むが、さらに半円形、楕円形、V字形なども含むあらゆる好適な断面形状のものとすることができる。加えて、あらゆる単一フレーム内の様々なチャネルの断面積は、略均一とすることができ、或いはあらゆる状態で変化させることができる。
この第1の例示的な実施形態では、3面形チャネル34は、該チャネル34の内壁を形成した金属ラッパ又はクロージャバンド40(図3)によって実質的に閉じられ、従って閉鎖周辺通路42を形成する。クロージャバンド40は、トランジションピースを通る高温ガス流に曝されることに注目されたい。クロージャバンド40は、フレームの後方端縁部又は面38に係合しかつ該後方端縁部又は面38に溶接又はその他の方法で固定された後方の外向きに延びるフランジ44を有する(従って、クロージャバンド40はまた、「L字形ブラケット」と見なすことができる)。孔又はアパーチャ48は、チャネル34と整列するようにフランジ44内に穿孔又はその他の方法で加工され、従って通路42のための出口50を形成する。バンド40の前方端部52は、フレームの前方端縁部36を越えて(の上流に)延びかつ参照符号56の位置でトランジションピース54に溶接される。フレームの傾斜端縁部58は、通路42への拡大入口60を形成する。
別の例示的であるが非限定的な実施形態では、L字形ブラケットの外表面上に一体形に形成するか又はあらゆる好適な手段で該外表面に締結するかのいずれかにした一連の隆起リブによって冷却チャネルを形成し、その冷却チャネルを平滑な内面フレーム表面によって閉鎖して該チャネルの外壁を形成することができる。この構成は、図6に示しており、図6では、クロージャバンド64の外面表面62には、複数の略軸方向に延びるリブ66が一体形に又は取付けによって設けられ、従って複数の3面形開口チャネル68を形成している。チャネルの第4の又は開口面は、後方フレームの平滑な内面表面によって閉じられ、従って図3〜図5における通路42と同様な冷却通路が形成される。上記の実施形態におけるのと同様に、アパーチャ又は孔70は、クロージャバンドの垂直なステム又はフランジ72内に加工して通路の出口を形成するために必要である。上記の実施形態におけるのと同様に、フレームの上面表面、底面表面及び側面表面のいずれか1つ又は全て上には、あらゆる数のリブ66を形成することができる。
冷却通路自体の境界壁の1以上にはまた、例えばタービュレータ、フィン、ディンプル、クロスハッチ溝、シェブロン或いはそれらのあらゆる組合せのような幾つかの公知の熱伝達強化機構(図5参照)のいずれかを形成又は設けることができる。そのような強化機構の配置及び数は、様々なチャネルの間で必要に応じて変化させることができる。
冷却空気は、あらゆる多数の方法で通路42に送給することができる。例えば、通路は、その上流端部において(即ち、それらのそれぞれの入口において)圧縮機吐出流に曝すことができ、或いは通路は、別個の入口又はマニホルドから直接供給することができる。冷却流は、クロージャバンド又はL字形ブラケット内のあらゆる多くの出口から高温ガス流内に流出することができる。
上記の後方端部冷却構成は、後方端部の上流のダクトの領域をインピンジメント冷却するのに使用する従来型のインピンジメント冷却スリーブと共に或いは該インピンジメント冷却スリーブがない状態で使用することができる。
現在最も実用的かつ好ましい実施形態であると考えられるものに関して本発明を説明してきたが、本発明は、開示した実施形態に限定されるものではなく、逆に特許請求の範囲の技術思想及び技術的範囲内に含まれる様々な変更及び均等な構成を保護しようとするものであることを理解されたい。
10 トランジションピース又はダクト
12 後方端部
14 後方端部フレーム
16 出口
18 トランジションピース後方端部フレーム
20 冷却孔
22 トランジションダクト
24 溶接部
26 シール空洞
28 シール空洞
30 後方フレームの内表面
32 後方フレーム
34 冷却チャネル又はグルーブ
36 フレームの前方端縁部
38 フレームの後方端縁部又は面
40 クロージャバンド
42 通路
44 フランジ
48 孔又はアパーチャ
50 出口
52 クロージャバンドの前方端部
54 トランジションピース
56 溶接部
58 フレームの傾斜端縁部
60 拡大入口
62 クロージャバンドの外面表面
64 クロージャバンド
66 リブ
68 3面形開口チャネル
70 アパーチャ又は孔
72 垂直ステム又はフランジ

Claims (15)

  1. ガスタービン用のトランジションダクトであって、
    前方端部及びフレーム構成要素で囲まれた後方端部を有する管状本体と、
    前記フレームの内面上壁表面、底壁表面及び側壁表面を覆う、該フレーム内の内面クロージャバンドと、
    その各々がそれぞれ前記前方及び後方端部に入口及び出口を有する、前記フレーム及びクロージャバンド間の複数の冷却チャネルと
    を含むトランジションダクト。
  2. 前記クロージャバンドが、略垂直なステム部分が前記フレームの後方面に固定された状態の略L字形状を有する、請求項1記載のトランジションダクト。
  3. 前記クロージャバンドの前方端部が該トランジションダクトの後方端縁部に取付けられる、請求項2記載のトランジションダクト。
  4. 前記複数の冷却チャネルが前記フレームの内面上壁表面、底壁表面及び側壁表面の少なくともいずれかに形成される、請求項2記載のトランジションダクト。
  5. 前記略垂直なステム部分が前記複数の冷却チャネルと整列したアパーチャを形成されている、請求項2記載のトランジションダクト。
  6. 前記複数の冷却チャネルが略矩形の断面形状を有する、請求項1記載のトランジションダクト。
  7. 前記複数の冷却チャネルが、タービュレータ、フィン、ディンプル、クロスハッチ溝及びシェブロンを含む群から選択された熱伝達強化装置を備えて、熱伝達を強化する、請求項1記載のトランジションダクト。
  8. 前記複数の冷却チャネルの1以上が、前記フレームの上壁、底壁及び側壁の各々上に設けられる、請求項1記載のトランジションダクト。
  9. 前記複数の冷却チャネルが、前記クロージャバンドの1以上の外面上壁表面、底壁表面及び側壁表面上に設けられた複数のリブによって形成され、前記複数の冷却チャネルの各々の1つの壁が、前記フレームの内面壁表面によって形成される、請求項2記載のトランジションダクト。
  10. ガスタービントランジションダクトの後方端部フレームに冷却空気を供給する方法であって、
    前記後方フレームの内面表面と該後方フレーム内に設置されたクロージャバンドの外面表面との間に複数の冷却チャネルを形成するステップと、
    前記トランジションダクトの後方端縁部に前記後方フレーム及びクロージャバンドを取付けるステップと
    を含む方法。
  11. 前記後方フレームの内面表面内に3面形開口グルーブを形成するステップと、
    第4の面を前記クロージャバンドで閉鎖するステップと
    を含む、請求項10記載の方法。
  12. 前記クロージャバンドの外面表面に複数のリブを設けて3面形チャネルを形成するステップと、
    前記チャネルの第4の面を前記後方フレームの内面表面で閉鎖するステップと
    を含む、請求項10記載の方法。
  13. 前記3面形開口グルーブが、前記後方フレームの上面表面、底面表面及び側面表面上に形成される、請求項11記載の方法。
  14. 前記複数の冷却チャネルに、タービュレータ、フィン、ディンプル、クロスハッチ溝及びシェブロンを含む群から選択された熱伝達強化装置を形成するステップを含む、請求項10記載の方法。
  15. 前記トランジションダクトの出口を囲むアレイの形態で前記複数の冷却チャネルを設けるステップを含む、請求項10記載の方法。
JP2009181984A 2008-08-06 2009-08-05 トランジションダクト後方端部フレーム冷却及び関連方法 Active JP5491096B2 (ja)

Applications Claiming Priority (2)

Application Number Priority Date Filing Date Title
US12/222,298 2008-08-06
US12/222,298 US8245515B2 (en) 2008-08-06 2008-08-06 Transition duct aft end frame cooling and related method

Publications (2)

Publication Number Publication Date
JP2010038166A true JP2010038166A (ja) 2010-02-18
JP5491096B2 JP5491096B2 (ja) 2014-05-14

Family

ID=41566934

Family Applications (1)

Application Number Title Priority Date Filing Date
JP2009181984A Active JP5491096B2 (ja) 2008-08-06 2009-08-05 トランジションダクト後方端部フレーム冷却及び関連方法

Country Status (4)

Country Link
US (1) US8245515B2 (ja)
JP (1) JP5491096B2 (ja)
CN (1) CN101644191B (ja)
DE (1) DE102009026315B4 (ja)

Cited By (5)

* Cited by examiner, † Cited by third party
Publication number Priority date Publication date Assignee Title
WO2013046825A1 (ja) 2011-09-27 2013-04-04 三菱重工業株式会社 燃焼器の尾筒、これを備えているガスタービン、及び尾筒の製造方法
JP2013185814A (ja) * 2012-03-09 2013-09-19 General Electric Co <Ge> 高温ガスを案内する装置及びシステム
KR101850943B1 (ko) * 2015-06-25 2018-04-20 두산중공업 주식회사 트랜지션피스 연결부재 냉각홀 구조
JP2019105437A (ja) * 2017-10-13 2019-06-27 ゼネラル・エレクトリック・カンパニイ ガスタービンのつなぎピースのための後部フレームアセンブリ
JP2020060119A (ja) * 2018-10-09 2020-04-16 三菱日立パワーシステムズ株式会社 ガスタービン燃焼器及びガスタービン

Families Citing this family (25)

* Cited by examiner, † Cited by third party
Publication number Priority date Publication date Assignee Title
US9121279B2 (en) * 2010-10-08 2015-09-01 Alstom Technology Ltd Tunable transition duct side seals in a gas turbine engine
US8353165B2 (en) * 2011-02-18 2013-01-15 General Electric Company Combustor assembly for use in a turbine engine and methods of fabricating same
US10030872B2 (en) * 2011-02-28 2018-07-24 General Electric Company Combustor mixing joint with flow disruption surface
US9255484B2 (en) * 2011-03-16 2016-02-09 General Electric Company Aft frame and method for cooling aft frame
US8727714B2 (en) 2011-04-27 2014-05-20 Siemens Energy, Inc. Method of forming a multi-panel outer wall of a component for use in a gas turbine engine
US8915087B2 (en) * 2011-06-21 2014-12-23 General Electric Company Methods and systems for transferring heat from a transition nozzle
US9010127B2 (en) * 2012-03-02 2015-04-21 General Electric Company Transition piece aft frame assembly having a heat shield
US9127553B2 (en) * 2012-04-13 2015-09-08 General Electric Company Method, systems, and apparatuses for transition piece contouring
US9121613B2 (en) 2012-06-05 2015-09-01 General Electric Company Combustor with brief quench zone with slots
US20140000267A1 (en) * 2012-06-29 2014-01-02 General Electric Company Transition duct for a gas turbine
US9574498B2 (en) 2013-09-25 2017-02-21 General Electric Company Internally cooled transition duct aft frame with serpentine cooling passage and conduit
US9909432B2 (en) * 2013-11-26 2018-03-06 General Electric Company Gas turbine transition piece aft frame assemblies with cooling channels and methods for manufacturing the same
CN104235879A (zh) * 2014-08-08 2014-12-24 北京华清燃气轮机与煤气化联合循环工程技术有限公司 燃气轮机燃烧室过渡段结构
KR101842745B1 (ko) * 2015-07-14 2018-03-27 두산중공업 주식회사 가스터빈의 트랜지션피스와 터빈의 결합장치
KR101842746B1 (ko) * 2015-07-14 2018-03-27 두산중공업 주식회사 가스터빈의 트랜지션피스와 터빈의 연결장치
EP3390781B1 (en) * 2015-12-15 2020-08-12 Siemens Aktiengesellschaft Cooling features for a gas turbine engine transition duct and corresponding method for forming
US10830142B2 (en) * 2016-10-10 2020-11-10 General Electric Company Combustor aft frame cooling
CN107143385B (zh) * 2017-06-26 2019-02-15 中国科学院工程热物理研究所 一种燃气涡轮导向器前缘安装边结构及具有其的燃气轮机
US11215072B2 (en) 2017-10-13 2022-01-04 General Electric Company Aft frame assembly for gas turbine transition piece
US10718224B2 (en) 2017-10-13 2020-07-21 General Electric Company AFT frame assembly for gas turbine transition piece
US10577957B2 (en) 2017-10-13 2020-03-03 General Electric Company Aft frame assembly for gas turbine transition piece
US10801727B2 (en) * 2018-07-06 2020-10-13 Rolls-Royce North American Technologies Inc. System for combustor cooling and trim air profile control
US10890328B2 (en) * 2018-11-29 2021-01-12 DOOSAN Heavy Industries Construction Co., LTD Fin-pin flow guide for efficient transition piece cooling
US11859818B2 (en) * 2019-02-25 2024-01-02 General Electric Company Systems and methods for variable microchannel combustor liner cooling
JP7175298B2 (ja) * 2020-07-27 2022-11-18 三菱重工業株式会社 ガスタービン燃焼器

Citations (5)

* Cited by examiner, † Cited by third party
Publication number Priority date Publication date Assignee Title
JPH1038276A (ja) * 1996-04-10 1998-02-13 General Electric Co <Ge> ガスタービン用高温ガス制御構造
JP2001289061A (ja) * 2000-04-06 2001-10-19 General Electric Co <Ge> ガスタービン遷移ダクトエンドフレームと関連方法
JP2003065071A (ja) * 2001-08-27 2003-03-05 Mitsubishi Heavy Ind Ltd ガスタービン燃焼器
JP2004084601A (ja) * 2002-08-28 2004-03-18 Mitsubishi Heavy Ind Ltd 燃焼器およびガスタービン
JP2006105076A (ja) * 2004-10-08 2006-04-20 Mitsubishi Heavy Ind Ltd ガスタービン

Family Cites Families (17)

* Cited by examiner, † Cited by third party
Publication number Priority date Publication date Assignee Title
US4652284A (en) * 1985-08-23 1987-03-24 American Sterilizer Company Anti-splash drain fixture
CN1012444B (zh) * 1986-08-07 1991-04-24 通用电气公司 冲击冷却过渡进气道
US5363654A (en) * 1993-05-10 1994-11-15 General Electric Company Recuperative impingement cooling of jet engine components
US5414999A (en) * 1993-11-05 1995-05-16 General Electric Company Integral aft frame mount for a gas turbine combustor transition piece
US5724284A (en) * 1996-06-24 1998-03-03 Advanced Micro Devices, Inc. Multiple bits-per-cell flash shift register page buffer
US5906093A (en) * 1997-02-21 1999-05-25 Siemens Westinghouse Power Corporation Gas turbine combustor transition
EP1146289B1 (en) 2000-04-13 2008-12-24 Mitsubishi Heavy Industries, Ltd. Cooling structure of combustor tail tube
US6450762B1 (en) 2001-01-31 2002-09-17 General Electric Company Integral aft seal for turbine applications
JP2002243154A (ja) * 2001-02-16 2002-08-28 Mitsubishi Heavy Ind Ltd ガスタービン燃焼器尾筒出口構造及びガスタービン燃焼器
US6568187B1 (en) * 2001-12-10 2003-05-27 Power Systems Mfg, Llc Effusion cooled transition duct
US6834507B2 (en) * 2002-08-15 2004-12-28 Power Systems Mfg., Llc Convoluted seal with enhanced wear capability
US6761031B2 (en) * 2002-09-18 2004-07-13 General Electric Company Double wall combustor liner segment with enhanced cooling
US6644032B1 (en) * 2002-10-22 2003-11-11 Power Systems Mfg, Llc Transition duct with enhanced profile optimization
US7310938B2 (en) * 2004-12-16 2007-12-25 Siemens Power Generation, Inc. Cooled gas turbine transition duct
US8015818B2 (en) * 2005-02-22 2011-09-13 Siemens Energy, Inc. Cooled transition duct for a gas turbine engine
US7377117B2 (en) * 2005-08-09 2008-05-27 Turbine Services, Ltd. Transition piece for gas turbine
US7784264B2 (en) 2006-08-03 2010-08-31 Siemens Energy, Inc. Slidable spring-loaded transition-to-turbine seal apparatus and heat-shielding system, comprising the seal, at transition/turbine junction of a gas turbine engine

Patent Citations (5)

* Cited by examiner, † Cited by third party
Publication number Priority date Publication date Assignee Title
JPH1038276A (ja) * 1996-04-10 1998-02-13 General Electric Co <Ge> ガスタービン用高温ガス制御構造
JP2001289061A (ja) * 2000-04-06 2001-10-19 General Electric Co <Ge> ガスタービン遷移ダクトエンドフレームと関連方法
JP2003065071A (ja) * 2001-08-27 2003-03-05 Mitsubishi Heavy Ind Ltd ガスタービン燃焼器
JP2004084601A (ja) * 2002-08-28 2004-03-18 Mitsubishi Heavy Ind Ltd 燃焼器およびガスタービン
JP2006105076A (ja) * 2004-10-08 2006-04-20 Mitsubishi Heavy Ind Ltd ガスタービン

Cited By (9)

* Cited by examiner, † Cited by third party
Publication number Priority date Publication date Assignee Title
WO2013046825A1 (ja) 2011-09-27 2013-04-04 三菱重工業株式会社 燃焼器の尾筒、これを備えているガスタービン、及び尾筒の製造方法
JP2013072316A (ja) * 2011-09-27 2013-04-22 Mitsubishi Heavy Ind Ltd 燃焼器の尾筒、これを備えているガスタービン、及び尾筒の製造方法
US8769957B2 (en) 2011-09-27 2014-07-08 Mitsubishi Heavy Industries, Ltd. Transition piece of combustor, gas turbine having the same, and producing method for transition piece
JP2013185814A (ja) * 2012-03-09 2013-09-19 General Electric Co <Ge> 高温ガスを案内する装置及びシステム
KR101850943B1 (ko) * 2015-06-25 2018-04-20 두산중공업 주식회사 트랜지션피스 연결부재 냉각홀 구조
JP2019105437A (ja) * 2017-10-13 2019-06-27 ゼネラル・エレクトリック・カンパニイ ガスタービンのつなぎピースのための後部フレームアセンブリ
JP7242237B2 (ja) 2017-10-13 2023-03-20 ゼネラル・エレクトリック・カンパニイ ガスタービンのトランジションピースのための後部フレームアセンブリ
JP2020060119A (ja) * 2018-10-09 2020-04-16 三菱日立パワーシステムズ株式会社 ガスタービン燃焼器及びガスタービン
JP7149156B2 (ja) 2018-10-09 2022-10-06 三菱重工業株式会社 ガスタービン燃焼器及びガスタービン

Also Published As

Publication number Publication date
CN101644191B (zh) 2014-04-09
JP5491096B2 (ja) 2014-05-14
US8245515B2 (en) 2012-08-21
DE102009026315B4 (de) 2022-08-04
CN101644191A (zh) 2010-02-10
US20100034643A1 (en) 2010-02-11
DE102009026315A1 (de) 2010-02-25

Similar Documents

Publication Publication Date Title
JP5491096B2 (ja) トランジションダクト後方端部フレーム冷却及び関連方法
US8186167B2 (en) Combustor transition piece aft end cooling and related method
CN102242934B (zh) 用于涡轮机的燃烧器组件及其冷却方法
JP4879267B2 (ja) ガスタービンにおける冷却形タービン翼とそのタービン翼の利用
JP4513002B2 (ja) ノズルセグメントのプラットホーム端縁用の冷却システム
US20100098554A1 (en) Blade for a rotor
US8166764B2 (en) Flow sleeve impingement cooling using a plenum ring
JP5898902B2 (ja) タービン動翼のプラットフォーム区域を冷却するための装置及び方法
US6099244A (en) Cooled stationary blade for a gas turbine
US6416275B1 (en) Recessed impingement insert metering plate for gas turbine nozzles
JP2009275701A (ja) ガスタービン燃焼器ライナ及びトランジションピース接合部を冷却及び希釈調整するための方法及び装置
JP2011179495A (ja) ハイブリッドベンチュリ冷却システム
JPH1113405A (ja) 前縁衝突冷却回路を有するタービン静翼セグメント
KR20010098379A (ko) 고정자 베인 세그먼트 및 터빈 베인 세그먼트
US20090324387A1 (en) Aft frame with oval-shaped cooling slots and related method
WO2010052784A1 (ja) タービン用翼
JP2008274906A (ja) タービン用翼
EP1726811B1 (en) System and method for cooling lateral edge regions of a divergent seal of an axisymmetric nozzle
JP4545158B2 (ja) 燃焼器尾筒の冷却構造
JP2010249131A (ja) 複合対流/しみ出し冷却一体形缶型燃焼器
EP1094200A1 (en) Gas turbine cooled moving blade
US10648667B2 (en) Combustion chamber with double wall
JP2007107541A (ja) 燃焼器尾筒の冷却構造
US20160017714A1 (en) A technique for cooling a root side of a platform of a turbomachine part
JP2003065071A (ja) ガスタービン燃焼器

Legal Events

Date Code Title Description
A621 Written request for application examination

Free format text: JAPANESE INTERMEDIATE CODE: A621

Effective date: 20120802

A977 Report on retrieval

Free format text: JAPANESE INTERMEDIATE CODE: A971007

Effective date: 20130829

A131 Notification of reasons for refusal

Free format text: JAPANESE INTERMEDIATE CODE: A131

Effective date: 20130903

A521 Request for written amendment filed

Free format text: JAPANESE INTERMEDIATE CODE: A523

Effective date: 20131022

A131 Notification of reasons for refusal

Free format text: JAPANESE INTERMEDIATE CODE: A131

Effective date: 20131203

A521 Request for written amendment filed

Free format text: JAPANESE INTERMEDIATE CODE: A523

Effective date: 20140120

TRDD Decision of grant or rejection written
A01 Written decision to grant a patent or to grant a registration (utility model)

Free format text: JAPANESE INTERMEDIATE CODE: A01

Effective date: 20140204

A61 First payment of annual fees (during grant procedure)

Free format text: JAPANESE INTERMEDIATE CODE: A61

Effective date: 20140227

R150 Certificate of patent or registration of utility model

Ref document number: 5491096

Country of ref document: JP

Free format text: JAPANESE INTERMEDIATE CODE: R150

R250 Receipt of annual fees

Free format text: JAPANESE INTERMEDIATE CODE: R250

R250 Receipt of annual fees

Free format text: JAPANESE INTERMEDIATE CODE: R250

R250 Receipt of annual fees

Free format text: JAPANESE INTERMEDIATE CODE: R250

R250 Receipt of annual fees

Free format text: JAPANESE INTERMEDIATE CODE: R250

R250 Receipt of annual fees

Free format text: JAPANESE INTERMEDIATE CODE: R250

R250 Receipt of annual fees

Free format text: JAPANESE INTERMEDIATE CODE: R250

R250 Receipt of annual fees

Free format text: JAPANESE INTERMEDIATE CODE: R250

S111 Request for change of ownership or part of ownership

Free format text: JAPANESE INTERMEDIATE CODE: R313113

R350 Written notification of registration of transfer

Free format text: JAPANESE INTERMEDIATE CODE: R350

R250 Receipt of annual fees

Free format text: JAPANESE INTERMEDIATE CODE: R250

R250 Receipt of annual fees

Free format text: JAPANESE INTERMEDIATE CODE: R250