JP2010037969A - 航空機用ガスタービンエンジンのブレード先端間隙制御 - Google Patents

航空機用ガスタービンエンジンのブレード先端間隙制御 Download PDF

Info

Publication number
JP2010037969A
JP2010037969A JP2008199113A JP2008199113A JP2010037969A JP 2010037969 A JP2010037969 A JP 2010037969A JP 2008199113 A JP2008199113 A JP 2008199113A JP 2008199113 A JP2008199113 A JP 2008199113A JP 2010037969 A JP2010037969 A JP 2010037969A
Authority
JP
Japan
Prior art keywords
aircraft
engine
tip clearance
blade tip
clearance
Prior art date
Legal status (The legal status is an assumption and is not a legal conclusion. Google has not performed a legal analysis and makes no representation as to the accuracy of the status listed.)
Granted
Application number
JP2008199113A
Other languages
English (en)
Other versions
JP5220509B2 (ja
Inventor
John Erik Hershey
ジョン・エリック・ハーシー
Brock Estel Osborn
ブロック・エステル・オズボーン
Donald Lee Gardner
ドナルド・リー・ガードナー
Rafael Jose Ruiz
ラファエル・ホゼ・ルイズ
William Lee Herron
ウィリアム・リー・ヘロン
Current Assignee (The listed assignees may be inaccurate. Google has not performed a legal analysis and makes no representation or warranty as to the accuracy of the list.)
General Electric Co
Original Assignee
General Electric Co
Priority date (The priority date is an assumption and is not a legal conclusion. Google has not performed a legal analysis and makes no representation as to the accuracy of the date listed.)
Filing date
Publication date
Application filed by General Electric Co filed Critical General Electric Co
Priority to JP2008199113A priority Critical patent/JP5220509B2/ja
Publication of JP2010037969A publication Critical patent/JP2010037969A/ja
Application granted granted Critical
Publication of JP5220509B2 publication Critical patent/JP5220509B2/ja
Expired - Fee Related legal-status Critical Current
Anticipated expiration legal-status Critical

Links

Images

Landscapes

  • Turbine Rotor Nozzle Sealing (AREA)

Abstract

【課題】エンジン回転速度を変更するエンジンコマンドを予測してかつコマンド以前に航空機用ガスタービンエンジンのブレード先端間隙を調整する方法及びシステムを提供する。
【解決手段】エンジンコマンド以前にシュラウド72を膨張又は収縮させることによって先端間隙CLを調整し始める時点を決定するステップを含むことができ、またエンジンコマンドを暗示する監視航空機及び/又は航空機乗員データに基づくことができる。航空機及び/又は航空機乗員データは、航空機乗員と航空交通管制官又は航空交通管制代行装置との間の通信を含むことができる。先端間隙CLを調整し始める時点を決定するステップは、その航空機用ガスタービンエンジンの運転経験並びに或いはその航空機用ガスタービンエンジンを含む航空機の及び又は他の航空機の他のジェットエンジンの運転経験を用いることができる学習アルゴリズムを使用するステップを含むことができる。
【選択図】図2

Description

本発明は、ロータ及びステータ間の先端間隙を維持するための間隙制御に関し、より具体的には、航空機用ガスタービンエンジンにおけるブレード先端間隙を維持するために使用するそのような方法及びシステムに関する。
推力、燃料消費率(SFC)及び排気ガス温度(EGT)マージンのようなエンジン性能パラメータは、タービンブレード先端と該ブレード先端を囲む固定シール又はシュラウドとの間の先端間隙に強く依存している。タービンブレード先端及び固定シール又はシュラウド間の間隙は、該タービンブレード先端及び固定シール又はシュラウド間の摩擦を回避しながら最小にすべきである。これらの先端間隙を最小にすることにおける問題点は、ロータ中心つまりエンジン軸線からのブレード先端長さが、特に過渡運転の間に、シュラウドが膨張又は収縮してブレード長さの変化に適応することができるのよりも異なる速度で成長することである。このことは、ブレード先端がシュラウドに接触する摩擦として知られる状態又は過大な間隙を生じさせ、これが、エンジン性能を低下させまたブレード及びシュラウドの寿命を短縮させるおそれがある。
これらの間隙は、ロータ及びステータ構成要素の異なる量及び速度の熱的及び機械的成長によって影響を受ける。機械的成長は、速度に応じて発生する遠心力及び圧力変化によるものである。ブレード及びロータの成長は一般的に、ステータの成長よりも遙かに大きい。ステータの熱的成長は一般的に、ロータの熱的成長よりも大きく、また遙かにより迅速に発生する。ブレードの熱的成長は、三者のうちで最も迅速である。エンジンの過渡及び定常状態運転全体を通して間隙を実施可能な限り緊密に維持しながらこれらの異なる成長を整合させることが、大いに望ましい。
ロータ中心からブレード先端までのブレード長さは、ロータ角速度の二乗に比例して、また温度に線形比例して成長する。これら両作用は、上昇、降下/着陸シーケンスの特定の部分及び回避行動のような操縦に必要となる燃料流量の増大によって生じる。能動間隙制御下においては、シュラウドは、該シュラウド又は該シュラウドが取付けられているタービンケーシングを高温空気内に浸すことによって膨張させられ、或いは該シュラウド又はそのタービンケーシングを低温空気内に浸すことによって収縮させられる。高温又は低温空気は、ロータからのブレード先端長さを温度に線形比例して成長させるのと同じ物理的過程すなわち熱的成長又は収縮によって、シュラウドを線形比例状態で膨張又は収縮させる。
これらの異なる成長を整合させるための1つの方法である能動間隙制御は、よく知られた方法であり、この方法は、定常状態かつ高高度巡航条件下において、エンジンファン及び/又は圧縮機からの比較的低温又は高温の空気の流量を調整しかつそれを高圧及び/又は低圧タービンケーシング上に吹き付けて高圧及び低圧タービンブレード先端に対して該ケーシングを収縮させるものである。空気は、ブレード先端の周りにシュラウド又はシールを支持するために使用するフランジ又は擬似フランジのようなその他の固定構造体に向かって流すか又は該固定構造体上に吹き付けることができる。
米国特許第4,230,436号公報 米国特許第4,304,093号公報 米国特許第4,513,567号公報 米国特許第4,856,272号公報 米国特許第4,928,240号公報 米国特許第4,999,991号公報 米国特許第5,005,352号公報 米国特許第5,012,420号公報 米国特許第5,081,830号公報 米国特許第5,088,885号公報 米国特許第5,090,193号公報 米国特許第5,090,193号公報 米国特許第5,205,115号公報 米国特許第6,487,491号公報 米国特許第6,498,978号公報 米国特許第6,868,325号公報 米国特許第6,943,699号公報 米国特許第7,013,239号公報 米国特許第7,043,348号公報 米国特許出願公開第2005/0017876号公報 米国特許出願公開第2005/0144274号公報 米国特許出願公開第2005/0149274号公報 米国特許出願公開第2006/0212281号公報 米国特許出願公開第2007/0101178号公報 2002年10月8〜11日にケーマン諸島のグランドケーマンにおいて開催されたカリブ地域の民間航空管理者の国際民間航空機関第1回会合(CAR/DCA/1)の解説
飛行中に航空機用ガスタービンエンジンにおける回転ブレード先端と周囲シュラウドとの間のブレード先端間隙を調整する方法は、例えば上昇のようなエンジン回転速度を変更するエンジンコマンドを予測してかつ該コマンド以前に先端間隙を変更する。先端間隙を変更することは、エンジンコマンドの徴候を示す監視航空機及び/又は航空機乗員データに基づくことができる。航空機及び/又は航空機乗員データは、航空機乗員と航空交通管制官又は航空交通管制代行装置との間の通信を含むことができる。
本方法は、エンジン回転速度を変更するエンジンコマンド以前の期間にシュラウドを膨張又は収縮させることによって先端間隙を調整し始める時点を決定するステップを含むことができる。学習アルゴリズムを使用して、先端間隙を調整し始める時点を修正することができる。学習アルゴリズムのために、そのエンジンの運転経験及び/又は他のジェットエンジンの運転経験を使用することができる。その他のジェットエンジンは、その航空機用ガスタービンエンジンを含む航空機の及び/又は他の航空機のものとすることができる。
先端間隙を調整し始める時点を決定するために、統計的方法を使用することができる。この統計的方法は、統計的方法、相関法、多変量統計プロセス解析法、及びパターン認識法から成る群から選ぶことができる。この統計的方法、ベイズ決定理論、ニューラルネットワーク、ファジイ論理、パルゼンウインドウ、最近傍分類、隠れマルコフモデル、線形及び非線形判別解析、マルコフ確率場、ボルツマン学習、分類及び回帰ツリー、並びに多変量適応回帰から成る群から選ばれたパターン認識法とすることができる。
本方法は、所望のブレード先端間隙をスケジュールするために使用する能動間隙制御流れモデルに優先するものとして使用することができる。
本発明の上記の態様及びその他の特徴は、添付図面に関連して行う以下の記述において説明する。
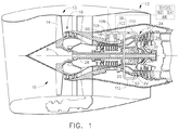
図1に断面で概略的に示すのは、能動間隙制御システム12を備えた、GE CFM56シリーズエンジンのような航空機用ガスタービンエンジン10の例示的な実施形態である。エンジン10は、下流方向直列流れ関係で、ファン14を含むファンセクション13、ブースタ又は低圧圧縮機(LPC)16、高圧圧縮機(HPC)18、燃焼セクション20、高圧タービン(HPT)22、並びに低圧タービン(LPT)24を有する。エンジン軸線8の周りに配置された高圧シャフト26は、HPT22をHPC18に対して駆動連結し、また低圧シャフト28は、LPT24をLPC16及びファン14に対して駆動連結する。HPT22は、HPTロータ30を含み、HPTロータ30は、その周辺部に取付けられたタービンブレード34を有する。ブレード34は、翼形部37を含み、翼形部37は、図2に示すようにブレードプラットフォーム39からブレード34及び翼形部37の半径方向外側ブレード先端82まで半径方向外向きに延びる。
中段空気供給源100及び高段空気供給源102(一般的に、CFM56型エンジンでは、HOC18のそれぞれ第4段及び第9段から空気を引き出す)が、熱制御用空気36のための供給源として使用され、熱制御用空気36は、それぞれ第1及び第2の熱制御用空気供給管110、112を通して、その全体を参照符号21で示したタービンブレード間隙制御装置に対して供給される。熱制御用空気36の温度は、中段空気供給源100及び高段空気供給源102から抽気される空気の量をそれぞれ中段及び高段空気弁106、108で調整することによって制御される。分配マニホルドシステム50が、高圧タービン22を囲む。マニホルドシステム50は、図1及び図2に示すようにエンジン軸線8の周りを囲む複数の環状スプレー管60に対して熱制御用空気36を分配する。
エンジン軸線8(ロータ中心)からブレード先端82まで測定した図2に示すブレード半径Rの成長速度を表した時定数及びシュラウド72の膨張又は収縮の成長速度を表した時定数は、ブレード半径Rが温度に対して一層速い応答性を示す場合に顕著に異なる。本明細書に開示するのは、エンジン過渡状態以前の期間DTにシュラウドの膨張又は収縮を開始させるためにエンジン過渡状態の開始を予測するための方法及びシステムであり、エンジン過渡状態は一般的に、燃料流量及びコアロータ速度N2の増大又は減少を伴う。本方法は、ブレードの伸長よりも速くシュラウドを膨張させるように設計され、それによってブレード先端と周囲シュラウドとの間の先端間隙を依然として可能な限り小さく維持しながら摩擦の発生可能性を減少させ、それによって高いエンジン燃料効率を得る。
図2に示すのは、前方及び後方ケースフック68、70によってHPT22の半径方向外側ケーシング66に取付けられた第1のタービンステータ組立体64である。ステータ組立体64は、環状分割形ステータシュラウド72を含み、このステータシュラウド72は、前方及び後方シュラウドフック74、76によって第1のタービンステータ組立体64の環状分割形シュラウド支持体80に対して取付けられたシュラウドセグメント77を有する。シュラウド72は、ロータ30のタービンブレード34のブレード先端82を囲み、流れがブレード先端82の周りで漏れるのを減少させる助けをする。特にエンジン10の巡航運転の間にブレード先端82及びシュラウド72間の半径方向ブレード先端間隙CLを最小にするために、能動間隙制御システム12が使用される。
熱制御用空気は、前方及び後方熱制御リング84、86に衝突しかつそれらの上を流れ、従ってタービンブレード先端間隙CLを制御する。シュラウドセグメント77は、前方及び後方熱制御リング84、86によって半径方向外側で支持され、従って熱制御リング84、86が冷却された時に半径方向内向きに移動し、また熱制御リング84、86が加熱された時に半径方向外向きに移動する。能動間隙制御はまた、ステータシュラウドを支持する外側又は内側タービンケーシング上に熱制御用空気すなわち一般的には冷却空気を吹き付けるか又は衝突させることによって行うことができる。
中段及び高段空気弁106、108並びに図2に示すタービンブレード先端間隙CLを制御するために衝突させる熱制御用空気36の量は、図1に示すコントローラ48によって制御される。本明細書に示す能動間隙制御システム12の例示的な実施形態では、熱制御用空気36は、加熱用空気又は冷却用空気のいずれかである。本明細書では、コントローラ48は、しばしば全自動デジタルエンジン制御装置(FADEC)と呼ばれるデジタル電子エンジン制御システムとして示している。コントローラ48は、所望に応じて前方及び後方熱制御リング84、86に衝突させる熱制御用空気36の量及び温度を制御して、タービンブレード先端間隙CLを制御する。
以下においてはACC流れモデル92と呼ぶアルゴリズム又は数理計算能動間隙制御流れモデルが、タービンブレード先端間隙CLを制御するために使用され、コントローラ48内に記憶されかつコントローラ48内で実行される。ACC流れモデル92は、エンジン運転パラメータ及びエンジンの様々な部品の物理特性に基づいている。コントローラ48は、計算ACC流れモデル92に基づいて中段及び高段空気弁106、108に弁位置信号を送信して、熱制御用空気36の総量を制御する。これらの空気弁は、弁位置信号に従って徐々に開放される。
本明細書に示す例示的な実施形態では、ACC流れモデル92は、リアルタイム又は瞬間ブレード先端間隙CLを計算又は測定する。このブレード先端間隙は、本明細書では瞬間間隙と呼ぶことにする。間隙モデルプログラムCLMは、エンジンが始動した後にFADECのバックグラウンドとして実行される。瞬間ブレード先端間隙CLを計算することは、しばしば合成と呼ばれ、一般的にエンジンの様々な部品の物理特性を含む第1のエンジン運転パラメータの組に基づいている。第1のエンジン運転パラメータの組には一般的に、それに限定されないがロータ及びステータ時定数、測定コアロータ速度N2、空気流量、温度及び圧力、スロットル操作後の時間、並びに高度が含まれる。瞬間ブレード先端間隙はまた、合成又は計算する代わりに測定することもでき、或いは測定及び計算方法の両方の組合せとすることもできる。
本明細書では要求間隙DCLと呼ぶ所望のブレード先端間隙のスケジュールは、システム内に記憶される。要求間隙DCLはまた、エンジンの様々な部品の物理特性を含む第2のエンジン運転パラメータの組に基づいて間隙モデルプログラムCLMによって計算又は決定することもできる。要求間隙DCLは、摩擦及び該摩擦の影響を回避しながら燃料消費量を最少にし、かつ摩擦の全体的及び累積的な悪影響を最少にするように設定される。本明細書では動的間隙知能システム(DYCIS)として示す例示的な動的ブレード先端間隙システムが、ブレード間隙CLの設定を向上させるために使用される。DYCISは、変化する運転条件下においてブレード先端間隙を最適に制御することによって、タービン高温セクションにおけるブレード先端82と該ブレードを囲むシュラウド72との間のブレード先端間隙CLを制御するのを助ける状態ベースの動的確率システムである。本明細書に開示したDYCISの例示的な実施形態は、コントローラ48内に記憶されかつ該コントローラ48内で実行される。それは、タービンブレード先端間隙CLを制御するために使用するACC流れモデル92の一部とすることができ、またそれは、ACC流れモデル92に優先する又は本明細書で要求間隙DCLと呼ぶ所望のブレード先端間隙のスケジュールに優先する形態のものとすることができる。
コントローラ48内に記憶されたものとして示した予測ブレード先端間隙制御方法94は、能動間隙制御システムのために使用することができる。予測ブレード先端間隙制御方法94は、周囲シュラウド72及びブレード先端間隙CLを上昇時の加速のようなエンジン過渡状態の間に摩擦を回避するか又は該摩擦の影響を最少にするように制御するのに十分な時間内に、エンジン過渡状態の開始を予測しかつ熱制御用空気36を調整する。予測ブレード先端間隙制御方法94は、DYCISの一部とすることができる。
DYCISは、周囲シュラウド72を調整しかつ摩擦を回避するか又は該摩擦の影響を最少にするのに十分な時間内に、ブレード先端間隙の変更を開始すべき時点を予測する。DYCISはまた、本明細書では要求間隙DCLとして示す必要な又は所望のブレード先端間隙を決定するために使用することもできる。図5に概略的に示すDYCIS116は、能動間隙制御のためにセンサからのデータを解析してエンジン及び航空機に関連する性能データを生成する統計的方法をデータ解析モジュール130内に含む。データを使用して能動間隙制御システムの作動についてエンジン及び航空機の運転状態の直接的洞察を行って、DYCISが結論を引き出し、また過渡及び非過渡エンジン運転の間に所望のブレード先端間隙を維持しかつ非過渡エンジン運転の間にエンジンの燃料効率を最大にしながら摩擦又は該摩擦の影響を最小にするための適正な措置を取ることを可能にする。
データ解析モジュール130は、エンジン過渡状態を予測してブレード先端間隙CLを調整するための実施可能な結論をデータから引き出す少なくとも1つの統計的手法又は方法を使用する。当技術分野においては、数多くの統計的解析方法が知られており、これら方法には、それに限定されないが、相関法、多変量統計プロセス解析法、及びパターン認識法が含まれる。当技術分野においては、幾つかのパターン認識法が知られており、データ解析のためにデータ解析モジュール130で使用するのに適している。これらの方法には、それに限定されないが、ベイズ決定理論、ニューラルネットワーク、ファジイ論理、パルゼンウインドウ、最近傍分類、隠れマルコフモデル、線形及び非線形判別解析、マルコフ確率場、ボルツマン学習、分類及び回帰ツリー、並びに多変量適応回帰が含まれる。本明細書に示すデータ解析モジュール130の例示的な実施形態は、必要な又は所望のブレード先端間隙を決定するためにマルコフ連鎖構造を採用している。
マルコフ連鎖構造は、複数の状態140を含む。モジュール130の出力は、間隙制御モジュール150に入力され、この間隙制御モジュール150は、間隙モデルプログラムCLM内に、本明細書では要求間隙DCLと呼ぶ所望のブレード先端間隙のスケジュールを含む。複数のエンジンセンサ120(1)〜120(M)が、モジュール130内のマルコフ連鎖構造への第2の監視エンジンパラメータの組の入力を提供する。DYCIS制御アルゴリズムは、可動部品の弾性的かつ熱力学的特性を組入れている。DYCISはまた、ベイズ学習アルゴリズムを利用しており、周囲シュラウド72及びブレード先端間隙CLを調整しかつ摩擦を回避するか又は該摩擦の影響を最少にするのに十分な時間内に、熱制御用空気36を調整すべき時点をそれ自体の経験及び他のエンジンの経験から動的に学習することができる。DYCISはまた、巡航のような定常状態エンジン運転の間及び上昇のような過渡エンジン運転の間の両方に対して如何なるブレード先端間隙CLを設定すべきかをそれ自体の経験及び他のエンジンの経験から動的に学習して、エンジン燃料効率を最大にしかつ摩擦を回避するか又は該摩擦の影響を最少にするように利用することもできる。
モジュール130内のマルコフ連鎖構造への監視エンジンパラメータ入力として使用する第2のエンジン運転パラメータ及び/又は物理特性の組には、それに限定されないが、測定コアロータ速度N2、周囲条件における総空気温度TAT、高度、圧縮機吐出静圧PS3、可変ステータベーン角度設定値(例えば、高圧圧縮機における)、ファン速度N1、排気ガス温度EGT、ファン入口総温度T12、ファン入口総圧力PT2、圧縮機入口温度T25、燃料流量、長手方向加速度、垂直方向加速度、EGT超過表示、及びリアルタイム又は瞬間ブレード先端間隙CLが含まれる。
複数の航空機センサ122(1)〜122(N)が、モジュール130内のマルコフ連鎖構造への監視航空機表示器パラメータの組の入力を提供する。監視航空機表示器パラメータの組には、必ずしもそれに限定されないが、操縦士又はその他の乗員が自分のマイクロフォンで話した時点を表示するプッシュツートーク(PPT)信号のような航空機乗員データを含むことができる。監視航空機表示器パラメータの組にはまた、航空機がその飛行中に経験しつつある環境条件、出発地及び目的地、飛行計画、機体及びエンジン識別名、乗員識別名のような個別飛行情報、湿度、大気浮遊塵埃、並びに乱気流表示のような他の航空機からのデータを含むことができる。DYCISは、マルコフ連鎖構造内でこれらのパラメータの1つ又はそれ以上を使用して、必要な又は所望のブレード先端間隙を決定することができる。
瞬間ブレード先端間隙CLは一般的に、現在の間隙として使用されかつ要求間隙DCLと絶えず比較され、またこれら2つの間隙が本質的に一致するまで、中段及び高段空気弁106、108が反復方式で調整される。ブレード先端間隙を設定しかつ本明細書に開示した能動間隙制御システム12を作動させるための予測ブレード先端間隙制御方法及びシステムは、エンジン及び/又は航空機の運転条件における変化を予測し、一過性エンジン運転を予測してかつ該一過性エンジン運転以前に間隙を調整する。予測ブレード先端間隙制御方法及びシステムは、DYCIS又は能動間隙制御システム内に含むことができる。
先端間隙にとって最も重要な一過性エンジン運転は、第1及び第2の巡航高度A1、A2間での航空機の上昇について図3及び図4に示すようにそれぞれ航空機の上昇及び降下の間におけるエンジンの加速及び減速である。エンジン加速及び航空機上昇を予測してかつ該エンジン加速及び航空機上昇以前に先端間隙を変更し始めることによって、巡航条件の間により小さな先端間隙を維持し、従ってエンジン効率を改善しかつエンジン燃料消費率(SFC)を向上させることができる。巡航先端間隙は、可能な限り小さいが、エンジン加速及び航空機上昇の間のような一過性エンジン運転の間における摩擦を回避するのに十分な大きさに設定される。現在の能動間隙制御システムは、該システムが上に列記したもののようなエンジン運転パラメータの変化を検出した時に先端間隙を変更し始める。エンジン加速及び航空機上昇を予測してかつ該エンジン加速及び航空機上昇以前に先端間隙を変更し始めることによって、依然として巡航条件の間により小さな先端間隙で運転しながら、なおも摩擦を回避するか又は最少にすることができる。
モジュール130内のマルコフ連鎖構造は、複数の状態に特徴がある。この複数の状態における各状態は、その状態に関連する推移確率の表を有する。従って、存在する状態の数と同様に多くの推移確率表が存在する。特定の状態に対応する推移表内の記入項目は、マルコフ連鎖が時間tにおいてその特定の状態にある場合には、マルコフ連鎖が時間t+Δtにおいてそれに移行することになる状態の確率を与える。移行表中の確率は、履歴データから決定され、また様々な飛行にわたって学習したデータを組入れることにより経時的に一層正確なものにすることができる。履歴データは、特定のマルコフ連鎖に関連するエンジンの飛行からのものとすることができ、或いは履歴データは、同一航空機上の及び/又は他の航空機上のエンジンからのものとすることができる。履歴データには、航空機及び/又はその乗員と地上又は他の航空機との間の通信のような航空機データを含むことができる。
図6に、2エンジン付き(双発)航空機の飛行をグラフ図で示しており、このグラフでは、秒で表した飛行時間に対して高度をフィートで表している。図6のグラフは、共通の特徴を示す時間セグメント又は隣合う期間に関して飛行を表すことができることを示している。グラフ210は、上昇、巡航及び降下として識別される少なくとも3つのそのようなセグメントを示しており、これら3つのセグメントの内で最も長いのは巡航である。グラフ220は、2エンジン付き航空機の左側エンジンについてのタービンコア速度N2を%の単位で示している。N2は、巡航セグメント全体にわたって比較的一定つまり不変であることに注目されたい。グラフ230は、2エンジン付き航空機の左側エンジンについての排気ガス温度EGTを℃で表している。EGTもまた、巡航セグメント全体にわたって比較的一定つまり不変であることに注目されたい。
タービンブレード先端間隙CLは、巡航セグメントの間にはEGT又はN2における過渡的挙動つまり比較的急激な変化がないので小さくすることができる。EGT又はN2における過渡的挙動つまり比較的急激な変化は、ロータに対するブレード先端成長の速度を示す時定数よりも急速には発生しないようである。従って、上昇セグメント以前に、比較的高温の熱制御用空気36を流してシュラウド72を加熱することによって該シュラウド72を膨張させて、エンジン軸線8からブレード先端82まで測定されるブレードの成長に適応しかつ摩擦を回避することができる。航空機が運転している飛行セグメントの認識及び航空機が1つの飛行セグメントから他の飛行区セグメントに移行することになる時点の予測可能性は、DYCIS内の能動間隙制御プロトコルを決定する上で重要である。マルコフ連鎖構造の状態及びそれらの推移確率は、移行のためにDYCISによって設定されるタービンブレード先端間隙CLを決定する。本明細書に示すACCシステムの場合のタービンブレード先端間隙CLは、要求間隙DCLである。
所定の飛行セグメントは、該飛行セグメントに関係した安定性の尺度を有する。安定性は、近未来予測可能性を意味すると解すべきである。特定のセグメント内で、エンジン軸線8(ロータ中心)からブレード先端82まで測定したブレード半径Rの最大値が正確に予測できる場合には、その特定のセグメントは、安定であると言われる。図6に示す飛行の巡航セグメントは、EGT及びコア速度N2に小さな変化しかないので、比較的安定であると思われる。上昇セグメントは、EGT及びN2が幾分かの変化を示しており、従って巡航セグメントと同じ程に安定であるとは思われない。しかし、EGT及びN2における変化は、セグメントを必ずしも不安定にするとは限らない。
安定性を決定することは、予測可能性に基づいており、また予測可能性は、以下の3つのデータの組に基づいている。第1の組は、履歴データであり、この履歴データは、特定のエンジン及び/又は特定のエンジンタイプのこれまでの飛行について蓄積されかつ解析されてきたデータである。第2の組は、キューイング(cueing)データであり、このキューイングデータは、EGT又はN2に影響を与えるか或いはエンジン軸線8(ロータ中心)からブレード先端82まで測定したブレード半径Rに対する要求を変更することになるあらゆるその他の変数又は変数の組に影響を与えることになる飛行運転における近未来の変化をおおまかに予示するデータである。キューイングデータの幾つかの実施例には、航空機の操縦士と地上の管制官との間の通信が含まれ、そのような通信は、おそらく(a)高度変更の要求又は要請、(b)現在の高度における劣悪な飛行条件を告げる他の航空機からのメッセージ、及び(c)乱気流による振動の加速度計表示に関するものである可能性がある。キューイングデータのこれら3つの実施例は、単なる例であって、その他のタイプのキューイングデータも使用することができる。第3の組は、プログラムデータであり、このプログラムデータは、航空交通管制官又は操縦士/副操縦士のような監視責任者によって入力されるデータである。そのようなデータには、それに限定されないが、飛行計画及びノータム(航空情報)が含まれ、このノータムは、あらゆる航空施設、サービス、手続き又は障害の設定、状態又は変更に関する情報を含んでおり、この情報を適時に知ることは、飛行操作に関わる者にとって不可欠である。
図7は、水平飛行301中のガスタービンエンジン動力型航空機を示している。水平飛行302において、航空機乗員がスロットル角を増大させると、ロータ速度が増大し、EGTが上昇し、また航空機は、位置303を通ってその新たな飛行高度304へと上昇し始める。302における過渡状態の開始は、301において予測され、ブレード先端が伸長し始める前にシュラウド7を開放し始めるために使用する期間DTが存在することになる。DYCISの1つの実施形態では、乗員は、航空機から航空交通管制(ATC)施設310への送信315を開始する。送信315は、例示的なエンジン過渡状態予測事象である。送信の開始は、航空機搭載モジュールによって検出され、このモジュールが次に、2つの機能を実行する。これらの機能のうちの第1の機能は、高温の熱制御用空気36をシュラウド72上に流すことによって可能な限り急速にシュラウド72の膨張を開始させ、かつブレード先端間隙CLの開放を開始させることである。これらの機能のうちの第2の機能は、ブレード先端間隙CLのあらゆるACC制御に優先しかつシュラウド72が膨張し続けることを要求するタイマを始動させることである。シュラウドが完全に膨張した場合に、システムは、ブレード先端間隙CLのACC制御を優先させ続け、かつ例示的なエンジン過渡状態予測事象である検出した乗員による航空機−ATC通信の開始から所定の時間間隔が経過するまで、シュラウドを完全に膨張した状態に保つ。
図8に示すDYCISの別の実施形態では、乗員410は、地上設置のATC通信施設450を介して、無線装置420及びアンテナ430によってATC管制官460に対して送信440又は打電を開始する。この送信開始は、航空機搭載の送信開始検出器モジュール470によって検出される。送信開始検出器モジュール470の出力475は、航空機搭載の能動間隙制御モジュール490に入力され、能動間隙制御モジュール490に命令して可能な限り急速にシュラウド72をその最大開口度まで開放させる。シュラウド72は、該シュラウド72上に高温の熱制御用空気36を流すことによって可能な限り急速にその最大開口度まで開放され、それにより、ブレード先端間隙CLを拡大又は増大させる。出力475はまた、航空機搭載のタイマモジュール480に対しても入力され、タイマモジュール480が能動間隙制御モジュール490に命令して、送信開始検出器モジュール470が送信開始を検出した後における所定の時間間隔の間にわたり、シュラウドをその最大膨張位置における開放状態に保つ。
図9に示すDYCISのさらに別の実施形態では、乗員510は、無線装置520及びアンテナ530によってATC管制官560に対して航空機通信540を開始するか、或いは地上設置のATC通信施設550を介してATC管制官560からの通信540を受信する。いずれの場合にも、通信は、ベースバンド信号として航空機搭載の信号調整器モジュール570に送信され、この信号調整器モジュール570は、ベースバンド信号がアナログ信号である場合には、該ベースバンド信号をデジタルストリームに変換する。ベースバンド信号は、初めからデジタルストリームとすることができる。信号調整器モジュール570は、デジタルストリームをデータストリームにフォーマットし、このデータストリームは、その後アナライザモジュール580によって解析される。アナライザモジュール580は、近未来の過渡活動の意図を発見しようとして、ATC通信に対する乗員の通信内容を解析する。例えば、乗員510がATC管制官560から高度変更を要求されたことをアナライザモジュール580が検出した場合或いはATC管制官560が高度変更を指図していることをアナライザモジュール580が検出した場合には、そのようなコマンドはエンジン過渡状態を予示しているので、アナライザモジュール580は、可能な限り急速にシュラウドをその最大開口度まで開放させるように能動間隙制御モジュール490に命令することになる。
図10に示すDYCISのさらに別の実施形態は、自由飛行条件下における飛行運転のために使用され、自動従属監視ブロードキャスト(ADS−B)機能を使用することによるなどのデジタル通信640が、航空機と航空交通管制代行装置との間で行われる。ADS−Bは、2002年10月8〜11日にケーマン諸島のグランドケーマンにおいて開催されたカリブ地域の民間航空管理者の国際民間航空機関第1回会合(CAR/DCA/1)で解説されている。ADS−Bは、操縦士及び管制官の双方が空域及び運航に関する共通の状況認識を有することになる使用法を可能にする監視技術として記述されている。ADS−B機上システムは、航空機の識別名、位置、速度、及び意図を他の航空機及び地上航空交通管制システムに送信する航空交通管制代行装置として働き、従って米国領空管制システム(NAS)の全ての適正装備ユーザに対して共通の状況認識を可能にする。図10に示すように、ADS−B610は、無線装置620及びアンテナ630を介して他の航空機と通信する。ADS−B通信は、航空機搭載のアナライザモジュール680によって監視され、アナライザモジュール680は、高度を変更しようとする意図を検出し、能動間隙制御モジュール690に命令してシュラウドを可能な限り急速にその最大開口度まで開放させる。
図11に示すのは、航空機上昇の間のようなエンジン過渡状態の予測を行う場合と行わない場合とにおける、最大ブレード先端間隙値CLMAX及び最小ブレード先端間隙値CLMIN間でのブレード先端間隙スケジュールの比較である。ブレード先端間隙スケジュールは、エンジン過渡状態の開始を予測する能動間隙制御システム(予測ありと表示)及びエンジン過渡状態の開始を予測しない能動間隙制御システム(予測なしと表示)についてブレード先端間隙CL対コアロータ速度N2として示している。本予測方法及びシステムは、それがエンジン過渡状態以前の期間DTにシュラウドの膨張を開始して摩擦の確率を減少させるので、より低いブレード先端間隙を使用しており、このことが、ブレード先端及び周囲シュラウド間に可能な限り小さい先端間隙を維持し、それによって高いエンジン燃料効率を得るのを可能にする。同一のエンジンにおいて、エンジン過渡状態の開始を予測する間隙制御システムの場合のブレード先端間隙スケジュールは、予測なしと表示したエンジン過渡状態の開始を予測しない間隙制御システムの場合よりも低い。本予測方法及びシステムは、古いエンジン内に改造取付けすることができる。本予測方法及びシステムでは、ブレード先端間隙CLのスケジュールに優先するものとして、エンジン過渡状態以前の期間DTにシュラウド膨張の予測を組入れることができ、その後にブレード先端間隙CLは、能動間隙制御システムACCによるものとすることができる。
本明細書では、本発明の好ましくかつ例示的な実施形態であると考えられるものについて説明してきたが、本明細書の教示から当業者には本発明のその他の変更形態が明らかになる筈であり、それ故に、全てのそのような変更形態は特許請求の範囲の技術思想及び技術的範囲内に属するものとして保護されることを切望する。従って、本特許出願によって保護されることを望むものは、提出した特許請求の範囲に記載しかつ特定した発明である。
予測ブレード先端間隙制御方法及びシステムを備えた航空機用ガスタービンエンジンの断面図。 図1に示すエンジンにおけるタービンロータブレード先端間隙及びその制御を示す、高圧タービン組立体の拡大断面図。 図1に示すエンジンのための予測ブレード先端間隙制御方法の1つの実施形態のグラフ図。 図3に示す予測制御方法の拡大図。 図1に示すエンジンのための予測ブレード先端間隙制御方法のためにデータを解析する統計的方法及びシステムの概略図。 図1に示すエンジンのための予測ブレード先端間隙制御方法の例示的な実施形態によって識別されたセグメントのグラフ図。 図1に示すエンジンのための予測ブレード先端間隙制御方法を用いた飛行の例示的な実施形態の概略図。 図1に示すエンジンのための予測ブレード先端間隙制御方法を用いた飛行の間に使用される通信の例示的な実施形態の概略図。 図1に示すエンジンのための予測ブレード先端間隙制御方法を用いた飛行の間に使用される通信の第2の例示的な実施形態の概略図。 図1に示すエンジンのための予測ブレード先端間隙制御方法を用いた飛行の間に使用される通信の第3の例示的な実施形態の概略図。 図1に示すエンジンのための予測ブレード先端間隙制御方法の例示的な実施形態のブレード先端間隙スケジュールを非予測ブレード先端間隙制御方法のブレード先端間隙スケジュールと比較したグラフ図。
符号の説明
8 エンジン軸線
10 航空機用ガスタービンエンジン
12 能動間隙制御システム
13 ファンセクション
14 ファン
16 ブースタ又は低圧圧縮機(LPC)
18 高圧圧縮機(HPC)
20 燃焼セクション
21 タービンブレード間隙制御装置
22 高圧タービン(HPT)
24 低圧タービン(LPT)
26 高圧シャフト
28 低圧シャフト
30 HPTロータ
34 タービンブレード
36 熱制御用空気
37 翼形部
39 ブレードプラットフォーム
48 コントローラ
50 分配マニホルドシステム
60 スプレー管
64 ステータ組立体
66 外側ケーシング
68 前方ケースフック
70 後方ケースフック
72 シュラウド
74 前方シュラウドフック
76 後方シュラウドフック
77 シュラウドセグメント
80 シュラウド支持体
82 ブレード先端
84 前方熱制御リング
86 後方熱制御リング
92 ACC(能動間隙制御)流れモデル
94 予測ブレード先端間隙制御方法
100 中段空気供給源
102 高段空気供給源
106 中段空気弁
108 高段空気弁
110 第1の熱制御用空気供給管
112 第2の熱制御用空気供給管
116 DYCIS(動的間隙知能システム)
120(1)〜120(M) 複数のエンジンセンサ
122(1)〜122(N) 複数の航空機センサ
130 データ解析モジュール
140 状態
150 間隙制御モジュール
210 グラフ
220 グラフ
230 グラフ
301 水平飛行
302 水平飛行
303 位置
304 飛行高度
310 ATC(航空交通管制)施設
315 送信
410 乗員
420 無線装置
430 アンテナ
440 送信
450 ATC(航空交通管制)通信施設
460 ATC管制官
470 送信開始検出器モジュール
475 出力
480 タイマモジュール
490 間隙制御モジュール
510 乗員
520 無線装置
530 アンテナ
540 通信
550 ATC通信施設
560 ATC管制官
570 信号調整器モジュール
580 アナライザモジュール
590 間隙制御モジュール
610 ADS−B(自動従属監視ブロードキャスト)
620 無線装置
630 アンテナ
640 デジタル通信
680 アナライザモジュール
690 間隙制御モジュール
A1 第1の巡航高度
A2 第2の巡航高度
CL ブレード先端間隙
CLM 間隙モデルプログラム
DT 期間
DCL 要求間隙
EGT 排気ガス温度
N2 コアロータ速度
R ブレード半径
SFC 燃料消費率

Claims (10)

  1. 飛行中に航空機用ガスタービンエンジン(10)における回転ブレード先端(82)と周囲シュラウド(72)との間のブレード先端間隙(CL)を調整する方法であって、
    エンジン回転速度を変更するエンジンコマンドを予測してかつ該コマンド以前に前記先端間隙(CL)を変更するステップ、を含む、
    方法。
  2. 前記エンジンコマンドの兆しを示す航空機及び/又は航空機乗員データを監視するステップと、
    前記監視航空機及び/又は航空機乗員データに基づいて前記先端間隙(CL)を変更するステップと、をさらに含む、
    請求項1記載の方法。
  3. 前記航空機及び/又は航空機乗員データが、航空機乗員と航空交通管制官又は航空交通管制代行装置との間の通信をさらに含む、請求項2記載の方法。
  4. 前記エンジン回転速度を変更するエンジンコマンド以前の期間(DT)に前記シュラウド(72)を膨張又は収縮させることによって前記先端間隙(CL)を調整し始める時点を決定するステップをさらに含む、請求項1乃至3のいずれか1項に記載の方法。
  5. 学習アルゴリズムを使用することによって前記先端間隙(CL)を調整し始める時点を修正するステップをさらに含む、請求項4記載の方法。
  6. 前記学習アルゴリズムのために前記航空機用ガスタービンエンジンの運転経験及び/又は他のジェットエンジンの運転経験を使用するステップをさらに含む、請求項5記載の方法。
  7. 前記先端間隙(CL)を調整し始める時点を決定する統計的方法を使用するステップをさらに含む、請求項4記載の方法。
  8. 前記先端間隙(CL)を調整し始める時点を決定する統計的方法が、統計的方法、相関法、多変量統計プロセス解析法、及びパターン認識法から成る群から選ばれる、請求項7記載の方法。
  9. 前記先端間隙(CL)を調整し始める時点を決定する統計的方法が、ベイズ決定理論、ニューラルネットワーク、ファジイ論理、パルゼンウインドウ、最近傍分類、隠れマルコフモデル、線形及び非線形判別解析、マルコフ確率場、ボルツマン学習、分類及び回帰ツリー、並びに多変量適応回帰から成る群から選ばれたパターン認識法をさらに含む、請求項7記載の方法
  10. 前記エンジン回転速度を変更するエンジンコマンドを予測してかつ該コマンド以前に先端間隙(CL)を変更することを、所望のブレード先端間隙をスケジュールするために使用する能動間隙制御流れモデル(92)に優先させるステップをさらに含む、請求項1乃至9のいずれか1項に記載の方法。
JP2008199113A 2008-08-01 2008-08-01 航空機用ガスタービンエンジンのブレード先端間隙制御 Expired - Fee Related JP5220509B2 (ja)

Priority Applications (1)

Application Number Priority Date Filing Date Title
JP2008199113A JP5220509B2 (ja) 2008-08-01 2008-08-01 航空機用ガスタービンエンジンのブレード先端間隙制御

Applications Claiming Priority (1)

Application Number Priority Date Filing Date Title
JP2008199113A JP5220509B2 (ja) 2008-08-01 2008-08-01 航空機用ガスタービンエンジンのブレード先端間隙制御

Related Child Applications (1)

Application Number Title Priority Date Filing Date
JP2013044919A Division JP5460902B2 (ja) 2013-03-07 2013-03-07 航空機用ガスタービンエンジンのブレード先端間隙制御

Publications (2)

Publication Number Publication Date
JP2010037969A true JP2010037969A (ja) 2010-02-18
JP5220509B2 JP5220509B2 (ja) 2013-06-26

Family

ID=42010783

Family Applications (1)

Application Number Title Priority Date Filing Date
JP2008199113A Expired - Fee Related JP5220509B2 (ja) 2008-08-01 2008-08-01 航空機用ガスタービンエンジンのブレード先端間隙制御

Country Status (1)

Country Link
JP (1) JP5220509B2 (ja)

Cited By (2)

* Cited by examiner, † Cited by third party
Publication number Priority date Publication date Assignee Title
WO2014123601A3 (en) * 2012-12-20 2014-10-23 United Technologies Corporation Variable outer air seal support
CN114719809A (zh) * 2021-01-05 2022-07-08 通用电气公司 使用压力测量进行实时间隙评估的方法和装置

Citations (12)

* Cited by examiner, † Cited by third party
Publication number Priority date Publication date Assignee Title
JPS5560626A (en) * 1978-07-17 1980-05-07 Gen Electric Method and device for feeding air
JPH01310130A (ja) * 1988-02-24 1989-12-14 General Electric Co <Ge> すき間を制御する方法と装置
JPH01315624A (ja) * 1988-03-31 1989-12-20 General Electric Co <Ge> すき間制御装置
US5005352A (en) * 1989-06-23 1991-04-09 United Technologies Corporation Clearance control method for gas turbine engine
JPH08128304A (ja) * 1994-11-04 1996-05-21 Hitachi Ltd 火力発電プラント自律適応制御システム
JPH08339204A (ja) * 1995-06-09 1996-12-24 Hitachi Ltd 火力発電プラント自律適応最適化制御システム
JPH10288006A (ja) * 1997-04-14 1998-10-27 Hitachi Ltd 複合サイクル発電プラントの出力制御手段
JP2001235016A (ja) * 2000-02-22 2001-08-31 Nissan Motor Co Ltd 自動車の駆動力制御装置
JP2005195020A (ja) * 2003-12-30 2005-07-21 General Electric Co <Ge> タービンにおける能動先端間隙制御のための方法及びシステム
JP2006213219A (ja) * 2005-02-04 2006-08-17 Oki Electric Ind Co Ltd 航空管制支援システム
US20070055392A1 (en) * 2005-09-06 2007-03-08 D Amato Fernando J Method and system for model predictive control of a power plant
JP2008121685A (ja) * 2006-11-15 2008-05-29 General Electric Co <Ge> 浸出間隙制御タービン

Patent Citations (12)

* Cited by examiner, † Cited by third party
Publication number Priority date Publication date Assignee Title
JPS5560626A (en) * 1978-07-17 1980-05-07 Gen Electric Method and device for feeding air
JPH01310130A (ja) * 1988-02-24 1989-12-14 General Electric Co <Ge> すき間を制御する方法と装置
JPH01315624A (ja) * 1988-03-31 1989-12-20 General Electric Co <Ge> すき間制御装置
US5005352A (en) * 1989-06-23 1991-04-09 United Technologies Corporation Clearance control method for gas turbine engine
JPH08128304A (ja) * 1994-11-04 1996-05-21 Hitachi Ltd 火力発電プラント自律適応制御システム
JPH08339204A (ja) * 1995-06-09 1996-12-24 Hitachi Ltd 火力発電プラント自律適応最適化制御システム
JPH10288006A (ja) * 1997-04-14 1998-10-27 Hitachi Ltd 複合サイクル発電プラントの出力制御手段
JP2001235016A (ja) * 2000-02-22 2001-08-31 Nissan Motor Co Ltd 自動車の駆動力制御装置
JP2005195020A (ja) * 2003-12-30 2005-07-21 General Electric Co <Ge> タービンにおける能動先端間隙制御のための方法及びシステム
JP2006213219A (ja) * 2005-02-04 2006-08-17 Oki Electric Ind Co Ltd 航空管制支援システム
US20070055392A1 (en) * 2005-09-06 2007-03-08 D Amato Fernando J Method and system for model predictive control of a power plant
JP2008121685A (ja) * 2006-11-15 2008-05-29 General Electric Co <Ge> 浸出間隙制御タービン

Cited By (3)

* Cited by examiner, † Cited by third party
Publication number Priority date Publication date Assignee Title
WO2014123601A3 (en) * 2012-12-20 2014-10-23 United Technologies Corporation Variable outer air seal support
US9371738B2 (en) 2012-12-20 2016-06-21 United Technologies Corporation Variable outer air seal support
CN114719809A (zh) * 2021-01-05 2022-07-08 通用电气公司 使用压力测量进行实时间隙评估的方法和装置

Also Published As

Publication number Publication date
JP5220509B2 (ja) 2013-06-26

Similar Documents

Publication Publication Date Title
US8126628B2 (en) Aircraft gas turbine engine blade tip clearance control
CN108571344B (zh) 自适应主动间隙控制逻辑
US9758252B2 (en) Method, system, and apparatus for reducing a turbine clearance
EP3705726B1 (en) Application of machine learning to process high-frequency sensor signals of a turbine engine
CN111594320B (zh) 用于发动机操作的方法和系统
US20140058644A1 (en) Method, system, and apparatus for reducing a turbine clearance
US10794286B2 (en) Method and system for modulated turbine cooling as a function of engine health
JP2010001890A (ja) タービンクリアランス縮小のための方法、システム、及び装置
EP3406881B1 (en) Controlling a compressor of a turbine engine
US20170107914A1 (en) Thrust scheduling method for variable pitch fan engines and turbo-shaft, turbo-propeller engines
JP5460902B2 (ja) 航空機用ガスタービンエンジンのブレード先端間隙制御
EP2843198A1 (en) Method and control system for active rotor tip control clearance
US10890083B2 (en) Turbine tip clearance
JP2003027961A (ja) エンジン性能をモニタする方法、そのシステム及びプログラム記録媒体
JP2015038348A (ja) Apuのタービンブレード断裂及び回転軸ブロッキング故障に対するモニタリング方法及び装置
CN108571346A (zh) 用于识别摩擦事件的方法及系统
US12516635B2 (en) Compressor stall mitigation
US20220163428A1 (en) Damper condition monitoring for a damper of a gas turbine engine
US5005352A (en) Clearance control method for gas turbine engine
US20210262399A1 (en) Autonomous safety mode for distributed conrtol of turbomachines
JP5220509B2 (ja) 航空機用ガスタービンエンジンのブレード先端間隙制御
US20250206454A1 (en) Gas turbine engine noise reduction
GB2552048A (en) Method, system, and apparatus for reducing a turbine clearance
CN110318823B (zh) 主动间隙控制方法及装置
US12286935B2 (en) Methods and systems for controlling an engine system of a vehicle

Legal Events

Date Code Title Description
RD04 Notification of resignation of power of attorney

Free format text: JAPANESE INTERMEDIATE CODE: A7424

Effective date: 20110209

A621 Written request for application examination

Free format text: JAPANESE INTERMEDIATE CODE: A621

Effective date: 20110729

A977 Report on retrieval

Free format text: JAPANESE INTERMEDIATE CODE: A971007

Effective date: 20120525

A131 Notification of reasons for refusal

Free format text: JAPANESE INTERMEDIATE CODE: A131

Effective date: 20120605

A521 Written amendment

Free format text: JAPANESE INTERMEDIATE CODE: A523

Effective date: 20120904

TRDD Decision of grant or rejection written
A01 Written decision to grant a patent or to grant a registration (utility model)

Free format text: JAPANESE INTERMEDIATE CODE: A01

Effective date: 20130205

A61 First payment of annual fees (during grant procedure)

Free format text: JAPANESE INTERMEDIATE CODE: A61

Effective date: 20130306

FPAY Renewal fee payment (event date is renewal date of database)

Free format text: PAYMENT UNTIL: 20160315

Year of fee payment: 3

R150 Certificate of patent or registration of utility model

Free format text: JAPANESE INTERMEDIATE CODE: R150

R250 Receipt of annual fees

Free format text: JAPANESE INTERMEDIATE CODE: R250

LAPS Cancellation because of no payment of annual fees