JP2010037812A - 地盤注入薬液の原位置ゲルタイム推定方法 - Google Patents

地盤注入薬液の原位置ゲルタイム推定方法 Download PDF

Info

Publication number
JP2010037812A
JP2010037812A JP2008201922A JP2008201922A JP2010037812A JP 2010037812 A JP2010037812 A JP 2010037812A JP 2008201922 A JP2008201922 A JP 2008201922A JP 2008201922 A JP2008201922 A JP 2008201922A JP 2010037812 A JP2010037812 A JP 2010037812A
Authority
JP
Japan
Prior art keywords
ground
wave
gel time
chemical
injected
Prior art date
Legal status (The legal status is an assumption and is not a legal conclusion. Google has not performed a legal analysis and makes no representation as to the accuracy of the status listed.)
Granted
Application number
JP2008201922A
Other languages
English (en)
Other versions
JP5062574B2 (ja
Inventor
Minoru Amari
実 天利
Yasuhiro Shamoto
康広 社本
Hiroshi Kazama
広志 風間
Masayuki Hasegawa
正幸 長谷川
Yoichi Taji
陽一 田地
Miharu Asaka
美治 浅香
Current Assignee (The listed assignees may be inaccurate. Google has not performed a legal analysis and makes no representation or warranty as to the accuracy of the list.)
Shimizu Construction Co Ltd
Shimizu Corp
Original Assignee
Shimizu Construction Co Ltd
Shimizu Corp
Priority date (The priority date is an assumption and is not a legal conclusion. Google has not performed a legal analysis and makes no representation as to the accuracy of the date listed.)
Filing date
Publication date
Application filed by Shimizu Construction Co Ltd, Shimizu Corp filed Critical Shimizu Construction Co Ltd
Priority to JP2008201922A priority Critical patent/JP5062574B2/ja
Publication of JP2010037812A publication Critical patent/JP2010037812A/ja
Application granted granted Critical
Publication of JP5062574B2 publication Critical patent/JP5062574B2/ja
Expired - Fee Related legal-status Critical Current
Anticipated expiration legal-status Critical

Links

Images

Landscapes

  • Consolidation Of Soil By Introduction Of Solidifying Substances Into Soil (AREA)
  • Investigation Of Foundation Soil And Reinforcement Of Foundation Soil By Compacting Or Drainage (AREA)
  • Investigating Or Analyzing Materials By The Use Of Ultrasonic Waves (AREA)
  • Geophysics And Detection Of Objects (AREA)

Abstract

【課題】 地盤の液状化対策のために地盤注入される薬液を、地盤内に注入した際にゲル化前に対象地盤範囲内に確実に注入させることができるように薬液の原位置ゲルタイムを推定する。
【解決手段】 薬液を地盤注入して地盤改良される地盤内に粗密波(P波)およびせん断波(S波)を発振受振可能な振動子センサユニットを設置する。振動子センサユニットで測定され、算出された弾性波速度のうち、粗密波速度(Vp)の経時変化から、注入された薬液の原位置でのゲルタイムを推定し、ゲル化開始時までに対象地盤内への確実な薬液注入を行えるようにした。
【選択図】 図1

Description

本発明は地盤注入薬液の原位置ゲルタイム推定方法に係り、特に地震時に液状化が予想される地盤の液状化対策のために地盤注入される薬液を、地盤内に注入した際にゲル化前に対象地盤範囲内に確実に注入させることができるようにする薬液の原位置ゲルタイムの推定方法に関する。
近年、昭和52年以前に旧消防法の基準に沿って建設された屋外貯蔵タンク等の構造物に対して、その基礎地盤の液状化防止の対策工としての各種の地盤改良が実施されてきている。その対策工法の一つとして、従来の水ガラスに代わり、活性複合シリカをベースとした薬剤(以下、活性シリカ系薬剤と記す。)を、液状化対象地盤に注入する対策工が施工数を増加している。
この活性シリカ系薬剤は当初の粘性が低く、浸透性が極めて良好な為、一注入孔から大量の薬液を注入することができ、注入された薬液は吐出口を中心点とした略球状に注入地盤内を浸透し、最終的に球形をなして固化することが確認されている。その改良された略球状の改良体は直径3.0m程度にすることができる。したがって、この程度の大きさの改良体を施工完了するまで間に、薬液が固まることを防止することが施工管理上、きわめて重要である。現在、一般的にはゲルタイム調整は現地の砂を使用して、試験室で薬剤を浸透させて直接測定する方法がとられている。なお、本明細書では、薬液混合後、時間経過に伴って薬液の粘性が増し、土粒子間の浸透が困難になる状態になる(ゲル化する、ゲルする)のに要する時間をゲルタイムと称し、以下の説明を進める。
これに関連して、出願人は、これまでに原地盤や改良地盤等の特性の把握のために弾性波測定手段を用いた地盤特性の把握に取り組んできた。具体的には、対象地盤内に所定のボーリング孔を削孔し、その内部に弾性波発振体と受振体とを一体化させた振動子センサを埋設し、振動子センサから地上まで導出させた信号線を用いて、地盤の所定深度における粗密波(P波)せん断波(S波)の速度(Vp,Vs)を計測することで、地盤の強度特性を把握する方法の検討を行っている。粗密波速度測定においては、たとえばチタン酸バリウム等を素材とする、ドーナッツ状や円板形状の基板面全体が太鼓のように往復振動して粗密波(縦波)を発生させる圧電素子センサを用い、せん断波速度測定においては、自由端が往復振動してせん断波(横波)を発生させる片持ち切片状の「ベンダーエレメント」と呼ばれる振動子センサを用いた現場測定を行っている。
特に、上述のベンダーエレメントの適用例としては、地盤改良の実施工に先立ち、固化材の設計添加量を事前に把握するために、ベンダーエレメントを配合割合で作製された対象試験体に取り付け、通電させて発振体を振動させ、受振体でそのせん断波速度Vsを求めることで、媒質としての各種の試験体における地盤改良効果をあらかじめ把握できるようにした提案も行っている(特許文献1参照。)
特開2004−53586公報参照。
上述のように、薬液注入の施工では、通常、地盤に注入された薬剤のゲルタイムが所定より短い(予定より早くゲルする)場合には、ゲル後の注入が困難となるため、所定の量が注入出来ない場合や、ゲルした改良地盤を割裂して薬剤が浸透するなど、不具合が起ることになる。また、逆にゲルタイムが所定より長い(予定より遅くゲルする)場合には、所定に位置でゲルせずに、地下水の流動により計画位置から他に流出し、所定の改良効果が得られない場合がある。このため、地盤改良においては、地盤中に注入される薬剤のゲルタイムを制御することがきわめて重要になってくる。
しかし、実施工においては、対象地盤中の金属塩の存在や、地盤、地下水のpH、地中温度等を要因として大きく変化するため、地盤中に注入された薬液のゲルタイムを定量的に把握することは困難となっている。そこで、本発明の目的は上述した従来の技術が有する問題点を解消し、薬液注入を行う対象地盤を想定した地盤状態において、弾性波測定手段による弾性波測定を行い、その経時変化の傾向をもとに、薬液のゲルタイムの推定を精度よく行える地盤注入薬液の原位置ゲルタイム推定方法を提供することにある。
上記目的を達成するために、本発明は薬液を地盤注入して地盤改良される地盤内に弾性波測定手段を設置し、該弾性波測定手段で得られた弾性波速度の経時変化から前記薬液の原位置でのゲルタイムを推定するようにしたことを特徴とする。
前記弾性波測定手段は、粗密波およびせん断波を発振受振可能な振動子センサを用いることが好ましい。また、前記弾性波測定手段で得られた粗密波速度の経時変化から、前記薬液のゲルタイムを推定することが好ましい。
このとき、粗密速度の経時変化における最小値点が、ゲル化開始時であると判断することが好ましい。
以上に説明したように、本発明によれば、改良対象地盤における薬液注入時のゲルタイムを精度良く推定できるため、適正なゲルタイムに設定された薬液を所定の対象地盤内に確実に注入することができ、その結果、改良範囲の地盤での確実な液状化対策を図ることができる。
以下、本発明の地盤注入薬液の原位置ゲルタイム推定方法の実施するための最良の形態として、以下の実施例について添付図面を参照して説明する。
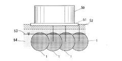
本実施例による地盤注入薬液の原位置ゲルタイム推定方法について、図6に例示した液状化地盤の改良工事を想定して、以下の説明を行う。図6は、既設の地上式貯蔵タンク(以下、タンク50と記す。)のタンク基礎51を支持する基礎地盤52に薬液注入を行い、液状化対策を行った状態を模式的に示した地盤断面図である。このタンク50の例では、同図に示したように、タンク基礎51より所定深度(約1.5m)に地下水位53が位置し、それ以深に飽和砂質地盤54が位置している。この飽和砂質地盤54は、間隙率が45%以上あり、ゆるい飽和砂質地盤として、地震時に液状化のおそれがある。そこで、本発明では、タンク50直下の飽和砂質地盤位置に、図示したような、直径3m程度の連続した略球体状の改良体(改良範囲、改良地盤)1を造成し、この改良範囲1における地震時の液状化防止を図ることとしている。
以下、図6に示した地盤改良体を造成する際に、地盤内に薬液を適正に注入するための薬液の適正なゲルタイムの調整を行うための指標として用いられる弾性波(粗密波(縦波):Vp,せん断波(横波):Vs)による注入された薬剤の状態変化の推定方法について、図1〜図4を参照して説明する。図1は、薬液が所定範囲にわたり注入された改良地盤1を部分的に示している。図1には、薬液注入された改良地盤1内の所定位置において、一対の計測パイプ10が対向した状態で埋設された状態が示されている。図1に示したように、各計測パイプ10の下端からは、後述する支持ロッド12下端に固着された振動子センサユニット11が突出している。
この弾性波測定手段としての振動子センサユニット11は、粗密波およびせん断波を発振受振可能な振動子センサで、本体となるドーナッツ板状の圧電素子センサ15と、その本体中心部の両側面に、それぞれ計測方向に向けて取り付けられた片持ち切片(短冊)状のベンダーエレメント16とで構成されている。ドーナッツ板状の圧電素子センサ15が、粗密波(縦波)発振体と受振体として、本体の両側面に取り付けられた短冊状のベンダーエレメント16がせん断波(横波)発振体と受振体として機能する。
各計測パイプ10は、図2(a)に示したように、改良地盤1内の各位置において、対向して埋設された各計測パイプ10の下端から突出した振動子センサユニット11の圧電素子センサ15とその両側面に取り付けられたベンダーエレメント16とが対向した一対となり、発振側センサ11Sおよびと受振側センサ11R(図1参照)となるように配置されている。図2(b)に示したように、計測パイプ10(図示せず)を所定位置に設けることにより、地盤改良範囲の各所に振動子センサユニット11を配置し、対向配置された振動子センサユニット11間での弾性波速度を計測できる。すなわち、対向した振動子センサユニット11の間には、砂質地盤の間隙に薬液が注入された状態の媒質が存在する。この媒質は、薬液が時間経過に伴い、地盤内で粘性や固化状態が変化する。そこで、本発明では、この媒質内を伝播する弾性波速度を測定し、その弾性波の変化の傾向を把握し、その変化状態から、薬液のゲルタイムを推定することができる。
図1に示した計測パイプ10の配置例は、図2に示した地盤改良範囲(薬液注入範囲)のうち、注入管2の吐出口2a近傍に配置された一対の計測パイプ10を拡大して示したものである。したがって、図2に示したように、注入管2の吐出口2aから地盤内の間隙に浸透する薬液が一対の計測パイプ10の下端の振動子センサユニット11間の地盤間(以下、計測区間と呼ぶ。)の間隙に完全に注入された状態を想定して計測を行っていく。この薬液は低粘性の液体状であるため、上述したように、吐出後、ごく短時間で計測区間に充填されるので、振動子センサユニット11の圧電素子センサ15とベンダエレメント16による弾性波の変化の測定は、地盤間隙に満たされた薬液が液体状からゲル化するまでの時間経過に伴う媒質全体の状態の変化として測定できる。なお、本明細書では、計測パイプ10は、単に支持部材として機能するケーシングパイプ4のみでなく、下端に設置された弾性波計測手段としての振動子センサユニット11、信号線ケーブル5等の計測機能を果たす部材全体をさすものとする。
図1の計測パイプ10の機器構成について説明する。各計測パイプ10は、あらかじめ削孔されていたボーリング孔(φ100mm程度)を利用して、孔壁保護用のケーシングパイプ4を挿入した計測孔3を設け、その中に、圧電素子センサ15とベンダーエレメント16とからなる振動子センサユニット11を埋設し、振動子センサユニット11の信号線ケーブル5を地上の計測ユニット6に接続することで、図1に示したような発振側10S、受振側10Rの一対から構成されるようになっている(詳細構成は図3を参照して後述する。)。なお、本明細書で、振動子センサユニット11及び圧電素子センサ15の各側面および各側面に取り付けられたベンダーエレメント16を示す場合において、発振(Send)側、受振(Receive)側を特定する場合には、これらの符号に添え字として発振側「S」、受振側「R」を付し、それ以外では単に各符号10,11,15,16を付して示す。本実施例では、一対の計測パイプ10S,10R(振動子センサユニット11S,11R)間の距離は約30cmを基準としている。その設置精度は弾性波速度の速度に影響するが、媒質内を伝播する弾性波速度の変化傾向には直接影響はないため、おおよその精度で設置すればよい。なお、振動子センサユニット11は、図1に示したように、ケーシングパイプ4の下端から露出した状態で、その周囲に原地盤と同様の相対密度となるように埋戻し砂を充填して位置保持させる。
一方、発振体かつ受振体として機能する振動子センサユニット11を操作する計測ユニット6は、地上に設置されている。振動子センサユニット11の圧電素子センサ15とその側面のベンダーエレメント16から導出された各信号線ケーブル5(各センサの送受信分の配線が確保されている)はケーシングパイプ4内を地上まで引き出され、この計測ユニット6に接続され、複数個の振動子センサユニット11の発振、受振を逐次制御することができるようになっている。図1では、一対の振動子センサユニット11の信号線ケーブル5のみが計測ユニット6に接続された状態が示されている。この状態では、計測ユニット6は、これら振動子センサユニット11のうち、発振側振動子センサユニット11Sへ印加して振動させ、弾性波としての粗密波(縦波:Vp)と、せん断波(横波:Vs)とを、所定間隔あるいは連続発振させ、対向位置にある受振側振動子センサユニット11Rで受振し、その受振情報を内部の記憶手段(図示せず)に記憶させることができる。なお、弾性波のうち、媒質を伝播させる粗密波あるいはせん断波のいずれを卓越させるかは、媒質を伝播させる波形に応じて振動子センサユニット11の振動子センサを適宜配置して決定すればよい。
図3各図は、計測パイプ10に装備される振動子センサユニット11と、振動子センサユニット11を下端で支持する支持ロッド12とを示している。図1に示したように、振動子センサユニット11は、圧電素子センサ15及びその側面に装着されたベンダーエレメント16の周囲が原地盤と同等の相対密度になるように埋め戻され、振動子センサユニット11に接続された信号線ケーブル5は地上まで導出され、図1に示したように、計測ユニット6に接続される。支持ロッド12の長さは、図1,図3に示したように、下端に取り付けられた振動子センサユニット11がケーシングパイプ4から露出し、頂部のT字形ハンドル13が地上から所定高さだけ突出する長さとすることが好ましい。このハンドル13の向きは振動子センサユニット11の圧電素子センサ15の板面及びベンダーエレメント16の指向方向と一致しているので、たとえば図1に示したように、地盤内に計測パイプ10(振動子センサユニット11)が埋設され、その周囲が埋め戻されるような場合でも、ハンドル13を回して振動子センサユニット11の向きを調整することで、一対の圧電素子センサ15S,15Rとベンダーエレメント16S,16Rを高精度に正対させることができる。
本実施例では、振動子センサユニット11は、外径60mm内径20mmのドーナッツ状をなすチタン酸バリウム振動子からなる圧電素子センサ15と、その両側面に片面の大きさが15×15mmの正方形状の短冊状をなす圧電セラミックス板からなるベンダーエレメント16が取り付けられている。振動子センサユニット11の上端に連結された支持ロッド12としては、曲げ剛性の高い金属棒が好ましい。圧電素子センサ15の形状は、ドーナッツ状に限定されることなく、面全体で往復振動できるような円板状としてもよい。ベンダーエレメント16の寸法、センサ精度等は、計測区間での所望感度等を考慮して適した仕様のセンサを選択することが好ましい。また、支持ロッド12の金属棒としては適当な直径の鉄筋棒等を利用しても良い。
図2(a)は、略球状体となる薬液注入範囲内に、計測パイプ10(以下、説明上、計測パイプ10の機能部材である「振動子センサユニット11」を併記して、弾性波計測手段としての意義を明確にする。)を配置した例を示した模式断面図、図2(b)は断面線IIb-IIbに沿って、振動子センサユニット11の配置例を示した模式平断面図である。同図において、同心状に示した仮想線(細線)は液状の薬液が地盤間隙内を浸透し、略球状体の改良範囲を造成する過程を模式的に示したもので、薬液が浸透する範囲内に配置された振動子センサユニット11が併せて示されている。ゲル化する前のシリカ系薬液は低粘性であるため、液体のように各振動子センサユニット11間の地盤内の間隙に浸透し、その後の時間経過によりゲル化が進行するので、各振動子センサユニット11での弾性波速度を測定することで、薬液注入のタイミング(ゲルタイム:混合後〜ゲル化の注入可能時間)を把握することができる。
図2各図には、説明のために、複数の好ましい計測パイプ10(振動子センサユニット11)の各種の配置例が例示されている。図2(a)の薬液注入範囲の右半分には、4本の計測パイプ10(振動子センサユニット11)が直列配置されている。各振動子センサユニット11は発振、受振機能を単独で備えているため、4個の振動子センサユニット11を直列配置することで、各振動子センサユニット11の圧電素子センサ15とその両側面に装着された6個のベンダエレメント16による直線状に配置された3箇所の計測区間での弾性波速度(Vp,Vs)を同時に計測できる。この場合、この間での弾性波速度の平均値を得ることで、上述した計測パイプ10(振動子センサユニット11)が設置された改良範囲における薬液のゲル化までの地盤の状態変化を把握することができる。図2(b)に示したように、各一対の振動子センサユニット11を薬液吐出口2a近くに方向を変えて複数配置することで、薬液が浸透する際の平面的な広がりのズレを把握できる。
図4各図は、上述した計測パイプ10(振動子センサユニット11)の設置手順を示した施工順序図である。以下、(a)〜(d)で施工順序を説明する。まず、(a)に示したように、振動子センサユニット11を設置する深さまで、ボーリング機械等で計測孔3を削孔する。この計測孔3に代えて、注入に先だって行われた土質調査用のボーリング調査孔を再利用しても良い。次いで、孔壁保護を目的として、計測孔3の孔径に応じたケーシングパイプ4を孔内に挿入する。このケーシングパイプ4は振動子センサユニット11を設置する底部空間の直上まで挿入し、振動子センサユニット11の設置箇所は素掘り状態として残しておく(図4(b))。なお、崩れやすい地盤ではケーシングパイプ4を押し込みながら、中掘り方式により、パイプ内部を削孔しながらパイプを圧入することも有効である。図3各図に示した支持ロッド12の下端に固着された振動子センサユニット11をケーシングパイプ4内に挿入し、振動子センサユニット11を底部の所定深さに設置する。このとき、支持ロッド12のハンドル13を利用して、一対の振動子センサユニット11に装着されたベンダエレメント16同士が精度良く対向できるように、振動子センサユニット11の向きを調整する(図4(c))。その後、振動子センサユニット11を固定した状態で、振動子センサユニット11の表面に突出したベンダーエレメント16の周囲から空間全体を砂で埋め戻す。この時、特に振動子センサユニット11の周囲において、埋め戻した砂の相対密度が周囲地盤と同等になるように埋め戻すことが重要である。支持ロッド12に沿って地上まで導出された信号線ケーブル5を図示しない計測ユニット6に接続し、薬液注入前に計測区間でのキャリブレーションを行っておく。その後、薬液注入開始後、連続的にゲル化が確認でき、固化が進行するまで振動子センサユニット11により弾性波速度の計測を行う。
[弾性波速度計測結果によるゲル化状態の評価]
図5は、モールド内で所定の相対密度とした砂質層(豊浦標準砂、目標相対密度Dr=65%)に薬液(活性シリカ系薬液:濃度4%)を注入し、振動子センサユニットを用いて薬液混合時からの弾性波速度(Vs,Vp)を計測した測定結果グラフである。図5(a)は、粗密波(Vp波)変化グラフ、(b)はせん断波(Vs波)変化グラフである。両図から明らかなように、測定結果のVp波は混合当初はほぼ一定の速度を示し、約10分後(図中、S点)から速度が低下し始め、約100分後(図中、T点)で最小値となり、その後増加に転じ、測定範囲において固化の進行とともに、増加している。弾性波速度測定と同時に行ったモールド内の改良体の状態変化の観察では、T点付近で改良体がゲル化し始めていた。このことから、粗密波Vp波が最小値になる時間が薬液のゲルタイムとなると推定された。これに対して、せん断波速度Vs波でも同様な傾向は確認されたが、その変化幅は粗密波Vp波の大きさに比べ、小さいため、T点の特定は困難であった。
以上の実験結果を原地盤における改良に反映させたところ、同様の傾向で、T点での粗密波速度の反転が確認でき、注入圧の変化等から、このT点において対象地盤でも注入薬剤のゲル化が確認できた。このように、薬液が注入された改良地盤において粗密波速度Vp波を測定し、その速度変化を確認することで、実際の地盤中のゲルタイムが正確に把握できるようになった。この結果を踏まえ、薬剤の配合を調整して注入速度に適したゲルタイムを設定することで、改良対象の地盤範囲を、この薬剤を用いて確実に改良することができるようになった。
なお、本発明では、注入薬液として活性シリカ系薬液を使用したが、実験室段階で弾性波速度Vp波のT点を把握できるような変化性状を示す薬液であれば、この粗密波速度Vpを測定してゲル化状態を把握する測定方法が適用できることはいうまでもない。
本発明による振動子センサユニットを地盤改良範囲に設置した例(図2に示した全体の一部)を示した説明図。 液状化地盤内に造成された地盤改良体と、その内部に設置された振動子センサユニットの配置例を示した断面図。 振動子センサユニットと支持部材の構成を示した正面図、側面図。 振動子センサユニットの設置手順を示した施工順序図。 振動子センサユニットによる弾性波速度測定結果グラフ。 既設タンク基礎の液状化発生砂質層に地盤改良体を造成した状態を示した状態説明図。
符号の説明
1 改良体(改良範囲、改良地盤)
5 信号線ケーブル
6 計測ユニット
10 計測パイプ
10S 発振側計測パイプ
10R 受振側計測パイプ
11 振動子センサユニット
11S 発振側振動子センサユニット
11R 受振側振動子センサユニット
12 支持ロッド
15 圧電素子センサ
15S 発振側圧電素子センサ
15R 受振側圧電素子センサ
16 ベンダエレメント
16S 発振側ベンダエレメント
16R 受振側ベンダエレメント

Claims (4)

  1. 薬液を地盤注入して地盤改良される地盤内に弾性波測定手段を設置し、該弾性波測定手段で得られた弾性波速度の経時変化から前記薬液の原位置でのゲルタイムを推定するようにしたことを特徴とする地盤注入薬液の原位置ゲルタイム推定方法。
  2. 前記弾性波測定手段は、粗密波およびせん断波を発振受振可能な振動子センサであることを特徴とする請求項1に記載の地盤注入薬液の原位置ゲルタイム推定方法。
  3. 前記弾性波測定手段で得られた粗密波速度の経時変化から、前記薬液のゲルタイムを推定することを特徴とする請求項1または請求項2に記載の地盤注入薬液の原位置ゲルタイム推定方法。
  4. 前記粗密速度の経時変化における最小値点が、ゲル化開始時であるとしたことを特徴とする請求項3に記載の地盤注入薬液の原位置ゲルタイム推定方法。
JP2008201922A 2008-08-05 2008-08-05 地盤注入薬液の原位置ゲルタイム推定方法 Expired - Fee Related JP5062574B2 (ja)

Priority Applications (1)

Application Number Priority Date Filing Date Title
JP2008201922A JP5062574B2 (ja) 2008-08-05 2008-08-05 地盤注入薬液の原位置ゲルタイム推定方法

Applications Claiming Priority (1)

Application Number Priority Date Filing Date Title
JP2008201922A JP5062574B2 (ja) 2008-08-05 2008-08-05 地盤注入薬液の原位置ゲルタイム推定方法

Publications (2)

Publication Number Publication Date
JP2010037812A true JP2010037812A (ja) 2010-02-18
JP5062574B2 JP5062574B2 (ja) 2012-10-31

Family

ID=42010644

Family Applications (1)

Application Number Title Priority Date Filing Date
JP2008201922A Expired - Fee Related JP5062574B2 (ja) 2008-08-05 2008-08-05 地盤注入薬液の原位置ゲルタイム推定方法

Country Status (1)

Country Link
JP (1) JP5062574B2 (ja)

Cited By (7)

* Cited by examiner, † Cited by third party
Publication number Priority date Publication date Assignee Title
CN102183584A (zh) * 2011-01-28 2011-09-14 上海隧道工程质量检测有限公司 后张法预应力混凝土梁管道压浆饱满度检测方法及装置
CN103015390A (zh) * 2013-01-06 2013-04-03 山东大学 地基压实度分层联合测定和长期监测的方法与装置
JP2016125926A (ja) * 2015-01-06 2016-07-11 大成建設株式会社 超音波探触子
JP2017115397A (ja) * 2015-12-24 2017-06-29 一般社団法人日本建設業経営協会 支持杭の支持層到達確認方法および支持杭の施工方法
JP2017538131A (ja) * 2014-12-17 2017-12-21 ベンタナ メディカル システムズ, インコーポレイテッド 真の拡散定数の取得
JP2020012295A (ja) * 2018-07-18 2020-01-23 清水建設株式会社 改良体測定装置及び改良体測定方法
CN111413217A (zh) * 2020-04-24 2020-07-14 山东大学 一种深层土体剪切波速测试装置及方法

Citations (3)

* Cited by examiner, † Cited by third party
Publication number Priority date Publication date Assignee Title
JP2003041253A (ja) * 2002-05-17 2003-02-13 Kyokado Eng Co Ltd 地盤注入用材
JP2003344368A (ja) * 2002-05-31 2003-12-03 Shimizu Corp ベンダーエレメント設置治具
JP2004053586A (ja) * 2002-05-31 2004-02-19 Shimizu Corp 地盤特性の評価方法

Patent Citations (3)

* Cited by examiner, † Cited by third party
Publication number Priority date Publication date Assignee Title
JP2003041253A (ja) * 2002-05-17 2003-02-13 Kyokado Eng Co Ltd 地盤注入用材
JP2003344368A (ja) * 2002-05-31 2003-12-03 Shimizu Corp ベンダーエレメント設置治具
JP2004053586A (ja) * 2002-05-31 2004-02-19 Shimizu Corp 地盤特性の評価方法

Cited By (10)

* Cited by examiner, † Cited by third party
Publication number Priority date Publication date Assignee Title
CN102183584A (zh) * 2011-01-28 2011-09-14 上海隧道工程质量检测有限公司 后张法预应力混凝土梁管道压浆饱满度检测方法及装置
CN103015390A (zh) * 2013-01-06 2013-04-03 山东大学 地基压实度分层联合测定和长期监测的方法与装置
JP2017538131A (ja) * 2014-12-17 2017-12-21 ベンタナ メディカル システムズ, インコーポレイテッド 真の拡散定数の取得
US10620037B2 (en) 2014-12-17 2020-04-14 Ventana Medical Systems, Inc. Obtaining true diffusivity constant
JP2016125926A (ja) * 2015-01-06 2016-07-11 大成建設株式会社 超音波探触子
JP2017115397A (ja) * 2015-12-24 2017-06-29 一般社団法人日本建設業経営協会 支持杭の支持層到達確認方法および支持杭の施工方法
JP2020012295A (ja) * 2018-07-18 2020-01-23 清水建設株式会社 改良体測定装置及び改良体測定方法
JP7145670B2 (ja) 2018-07-18 2022-10-03 清水建設株式会社 改良体測定装置
CN111413217A (zh) * 2020-04-24 2020-07-14 山东大学 一种深层土体剪切波速测试装置及方法
CN111413217B (zh) * 2020-04-24 2021-06-15 山东大学 一种深层土体剪切波速测试装置及方法

Also Published As

Publication number Publication date
JP5062574B2 (ja) 2012-10-31

Similar Documents

Publication Publication Date Title
JP5062574B2 (ja) 地盤注入薬液の原位置ゲルタイム推定方法
JP2011106843A (ja) 薬液注入改良地盤における地盤強度推定方法
US8690486B2 (en) Method and device for measuring underground pressure
EP3542190B1 (en) Soil probing device having built-in generators and detectors for compressional waves and shear waves
JP4449048B2 (ja) 地中構造物の測定装置
JP2010531429A (ja) ヘルムホルツ共鳴機によるダウンホール流体の音速の測定
KR101378732B1 (ko) 사각형상 조성의 고압분사 그라우팅기법을 활용한 흙막이벽체 조성공법
Finno et al. Non-destructive evaluation of a deep foundation test section at the Northwestern University national geotechnical experimentation site
JP6319895B2 (ja) 改良地盤の品質管理方法及び品質管理装置
JP2012172329A (ja) 未固結深層混合処理地盤改良体の形状測定方法、セメント系深層混合処理工法用の噴射ロッド、及び攪拌ロッド
CN102141544A (zh) 围岩松弛深度测试方法
KR101492117B1 (ko) 유도초음파를 이용한 강관보강다단 그라우팅 천공홀의 건전도 평가 방법 및 시스템
JP4113378B2 (ja) 鉄筋位置の測定方法
CN215105550U (zh) 灌注桩成桩质量监测装置
Chan A laboratory investigation of shear wave velocity in stabilised soft soils.
CN104460473B (zh) 混凝土振捣有效时间监控方法
JP2009102897A (ja) 地盤改良体の強度推定方法
JP2000178955A (ja) 地中構造物の調査方法及び調査装置
JPH05239826A (ja) ジェット噴流を利用した地盤改良工事の工程管理方法
JPH0546913B2 (ja)
CA2266451A1 (en) Method for generating seismic shearing waves in a subterranean formation
CN118011481A (zh) 一种压裂过程中微震事件检验方法
JP3007302B2 (ja) 地盤改良範囲の判定方法
JP3272261B2 (ja) 削孔時の孔曲がり測定方法
JP2675129B2 (ja) 噴射注入工法における破砕範囲の測定装置

Legal Events

Date Code Title Description
A621 Written request for application examination

Free format text: JAPANESE INTERMEDIATE CODE: A621

Effective date: 20110303

A977 Report on retrieval

Free format text: JAPANESE INTERMEDIATE CODE: A971007

Effective date: 20120705

TRDD Decision of grant or rejection written
A01 Written decision to grant a patent or to grant a registration (utility model)

Free format text: JAPANESE INTERMEDIATE CODE: A01

Effective date: 20120717

A01 Written decision to grant a patent or to grant a registration (utility model)

Free format text: JAPANESE INTERMEDIATE CODE: A01

A61 First payment of annual fees (during grant procedure)

Free format text: JAPANESE INTERMEDIATE CODE: A61

Effective date: 20120727

R150 Certificate of patent or registration of utility model

Free format text: JAPANESE INTERMEDIATE CODE: R150

FPAY Renewal fee payment (event date is renewal date of database)

Free format text: PAYMENT UNTIL: 20150817

Year of fee payment: 3

LAPS Cancellation because of no payment of annual fees