JP2010036952A - 破瓶防止機能を有するケース - Google Patents

破瓶防止機能を有するケース Download PDF

Info

Publication number
JP2010036952A
JP2010036952A JP2008201367A JP2008201367A JP2010036952A JP 2010036952 A JP2010036952 A JP 2010036952A JP 2008201367 A JP2008201367 A JP 2008201367A JP 2008201367 A JP2008201367 A JP 2008201367A JP 2010036952 A JP2010036952 A JP 2010036952A
Authority
JP
Japan
Prior art keywords
plate
case
protrusion
bottle
top plate
Prior art date
Legal status (The legal status is an assumption and is not a legal conclusion. Google has not performed a legal analysis and makes no representation as to the accuracy of the status listed.)
Granted
Application number
JP2008201367A
Other languages
English (en)
Other versions
JP2010036952A5 (ja
JP5163951B2 (ja
Inventor
Shingo Sakamoto
真吾 坂本
Ryoichi Nishikawa
良一 西川
Tadahiko Kitamura
忠彦 北村
Current Assignee (The listed assignees may be inaccurate. Google has not performed a legal analysis and makes no representation or warranty as to the accuracy of the list.)
Sogo Printing and Packaging Co Ltd
Original Assignee
Sogo Printing and Packaging Co Ltd
Priority date (The priority date is an assumption and is not a legal conclusion. Google has not performed a legal analysis and makes no representation as to the accuracy of the date listed.)
Filing date
Publication date
Application filed by Sogo Printing and Packaging Co Ltd filed Critical Sogo Printing and Packaging Co Ltd
Priority to JP2008201367A priority Critical patent/JP5163951B2/ja
Publication of JP2010036952A publication Critical patent/JP2010036952A/ja
Publication of JP2010036952A5 publication Critical patent/JP2010036952A5/ja
Application granted granted Critical
Publication of JP5163951B2 publication Critical patent/JP5163951B2/ja
Active legal-status Critical Current
Anticipated expiration legal-status Critical

Links

Images

Landscapes

  • Cartons (AREA)
  • Buffer Packaging (AREA)
  • Packaging Frangible Articles (AREA)

Abstract

【課題】これまでの自動包装ラインを基本的に変えることなく、底部分の緩衝部が形成でき且つ隣合う瓶相互の衝突による破瓶を防止する機能を有するケースを提供すること。
【解決手段】左・右の立上げ板及び天板のうち少なくとも一方側に、当該立上げ板から折り目を設けることなく先端が天板側までに至る突起部を切り込んで形成してあり、前記天板が水平となった状態では、突起部は立上げ板付近で上方に突出するようになっている
【選択図】図5

Description

この発明は、隣合う態様で二本の瓶(例えば、バイアル等)が収容されるケースであって、特に底部分に緩衝部を有している破瓶防止機能を有するケースに関するものである。
破瓶防止機能を有するケースとしては、例えば特許文献1に示されたものがある。
上記ケースは、左・右底フラップに延設された立上げ板、天板、固定板(糊代)によりそれぞれが、底部分における緩衝部を形成し、両方の緩衝部上にバイアル等の瓶が載せ置かれるようになっている。
したがって、上記ケースを使用した場合、緩衝部がないものと比較すると、バイアル等の瓶の破損が明らかに減少する。
しかしながら、上記形態であってケース内に二本の瓶を隣合わせに収容する場合、隣合う瓶相互の衝突(特に底部)により瓶が破損するという問題が発生する。
ところで、上記の如きケースは、平面に形成された紙片状のものをコンベアで搬送しながら、紙片を起して箱状のケースに形成していく(1分間に150ケース)ものであるが、二本の瓶をケース内に入れた直後に二本の瓶相互間に別部材であるクッション材を投入するようなことは困難であるし、そのような工程を増やすことは好ましくない。
したがって、これまでの自動包装ラインを基本的に変えることなく、緩衝部を形成することは勿論のこと、さらに隣合う瓶相互の衝突による破瓶を回避できるようにする破瓶機能を有するケースの開発に取りかかった。
特開平8−2521号公報
そこで、この発明では、これまでの自動包装ラインを基本的に変えることなく、底部分の緩衝部が形成でき且つ隣合う瓶相互の衝突による破瓶を防止する機能を有するケースを提供することを課題とする。
(請求項1記載の発明)
この発明は、紙片でできた箱状のケースの一部を構成する左・右底フラップに、それぞれ立上げ板、天板、貼着板の順序で延設してあり、左・右の各底フラップと立上げ板間を山折り、立上げ板と天板間を山折り、天板と貼着板間を谷折りしたものとし、前記各貼着板を、左・右側板の内面にそれぞれ貼り付けた状態において、左・右天板はケースの底付近で水平状態にある破瓶防止機能を有するケースにおいて、左・右の立上げ板及び天板のうち少なくとも一方側に、当該立上げ板から折り目を設けることなく先端が天板側までに至る突起部を切り込んで形成してあり、前記天板が水平となった状態では、突起部は立上げ板付近で上方に突出するようになっている。
(請求項2記載の発明)
この発明は、上記請求項1記載の発明に関し、突起部の先端部分付近に孔を明けて、突起部が立ち上がる抵抗を減少させるようにしてある。
(請求項3記載の発明)
この発明は、上記請求項1又は2記載の発明に関し、突起部を切り込む基端部位置は、僅かに立上げ板側にまで至るものとし、突起部の立ち上がりを円滑にするようにしてある。
(請求項4記載の発明)
この発明は、上記請求項1乃至3のいずれかに記載の発明に関し、突起部の長さ方向中央部に罫線を入れて剛性を高めるようにしてある。
(請求項5記載の発明)
この発明は、上記請求項1乃至4のいずれかに記載の発明に関し、底フラップにエンボス凹み加工を施して、底フラップの剛性を高めると共に突起部に隙間を設けて立ち上がりを円滑にするようにしてある。
(請求項6記載の発明)
この発明は、上記請求項1乃至5のいずれかに記載の発明に関し、一枚の紙片を折り込むことにより構成されている。
この発明は上記のような構成であり、次の効果を有する。
この発明の破瓶防止機能を有するケースによると、これまでの自動包装ラインを基本的に変えることなく、底部分の緩衝部が形成でき且つ隣合う瓶相互の衝突による破瓶を防止できることになる。
以下、この発明の破瓶機能を有するケースを実施するための最良の形態を、図面に基づいて詳細に説明する。
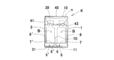
図1はこの発明の破瓶防止機能を有するケースにおける内面側から見た展開図、図2は前記ケースの緩衝部を構成する紙片の内面側から見た拡大展開図、図3は緩衝部を成形するための前段階を示す折り曲げ図、図4は破瓶防止機能を有するケースにおける胴回り部分、及び上蓋部分を製作するための工程図、図5はケースの底部分から能書に覆われた瓶を、挿入する状態を示す斜視図、
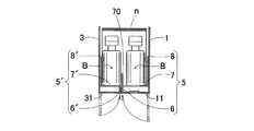
図6は緩衝部を完成させる状態を示す工程図、図7はケース内に二本のバイアル等を入れた状態を示す図である。
(破瓶防止機能を有するケースKを製作するための紙片の展開図について)
この破瓶防止機能を有するケースKは、図1に示すように、胴回り部分は、右側板1と、表板2と、左側板3と、裏板4、貼着板43を横方向に順に接続形成して成る。
右側板1は、図1に示すように、その上部側に右上内蓋10が接続形成されており、その下部側に右底フラップ11を接続形成してある。ここで、上記右底フラップ11は、図1や図2に示すように、エンボス凹み加工(エンボスの部分を符号11aで示す)を施して、右底フラップ11自体の剛性を高めている。
また、前記右底フラップ11には、図1や図2に示すように、立上げ板6、天板7、貼着板8の順序で構成され、これらにより一方側の緩衝部5を形成している。
立上げ板6及び貼着板8は、図6及び図7に示すように、右底フラップ11から所定の空間をもって天板7の位置を維持するものであり、前記天板7はバイアル等の瓶Bを載せ置くと共に二本の瓶B、Bの間に突起部70を自動挿入させるようにして、破瓶防止させるようにしている。
ここで、この実施例では、図1〜図3に示すように、緩衝部5を構成する立上げ板6、天板7及び貼着板8は以下の(1)〜(6)に示すような様々な工夫がなされている。
(1)貼着板8における糊80の位置を、リード罫81(天板7と貼着板8間を谷折りされる部分)に近づける。なお、リード罫81にすることにより、台座である緩衝部5をシャープに折ることができるようにしている。
(2)立上げ板6と天板7間における山折りを正確且つシャープに折ることができるようにするため、押罫+1mmの切刃をセンター(太線部)に入れてある。
(3)右底フラップ11と立上げ板6間の山折りを、ハーフカットとし、両端は2.0mmの止めし、歪みを防止させる。
(4)突起部70の付け根の切り刃を1mm伸ばし、突起部70の起き上がりを円滑且つ早くさせる。
(5)突起部70に剛性を持たせるため、長手方向の中央線上に罫線70aを入れる。
(6)突起部70の先端に孔71を開いて、突起部70の紙片の接触を減少させ、ほとんど抵抗なくスムーズに早く起き上がるようにする。
次に、表板2は、図1に示すように、その下部側に外板20を接続形成してある。なお、この表板2に、ケースKの開封を用意ならしめる開封用切り込み21を形成してある。
左側板3は、図1に示すように、その上部側に左上内蓋30が接続形成されており、また下部側に左底フラップ31を接続形成してある。また、前記左底フラップ31には、図1に示すように、立上げ板6’、天板7’、貼着板8’の順序で構成され、これらにより一方側の緩衝部5を’形成している。
立上げ板6’及び貼着板8’は、図5及び図6に示すように、右底フラップ11から所定の空間をもって天板7’を維持するものであり、前記天板7’はバイアル等の瓶Bを載せ置けるようにして、破瓶防止できるようにしてある。
裏板4は、図1に示すように、その上側に中板40を介して差込板41を、下側に中板42を、その横側に貼着板43を、それぞれ接続形成してある。
(破瓶防止機能を有するケースKを製作するための紙片の組み付けについて)
以下に、上記ケースKの一組み付け態様について説明する(一例)。
(1)図1〜図3の状態にある紙片について貼着板8に糊80を付着させ、図4に示すように、右底フラップ11に対して天板7を山折りし、貼着板8を糊80で右側板1に貼着する。
同様に、図1〜図3の状態にある紙片について貼着板8’に糊80’を付着させ、図3に示すように、左底フラップ31に対して天板7’を山折りし、貼着板8’を糊80’で左側板3に貼着する。
なお、図3に示した紙片は平面状ではなく少し折り込んでいるような状態となっているが、これは立上げ板6、天板7及び貼着板8/立上げ板6’、天板7’及び貼着板8’の折り曲げ状態が理解しやすくなるようにするためである。
(2)貼着板43の表側に糊44を付着させ、右側板1の側縁近傍部分を、前記貼着板43に貼着させる。これにより、左側板1、表板2、左側板3、裏板4及び貼着板43により角柱が形成される。
続いて、右・左上内蓋10、30を内側に折り曲げ、その状態において右上内蓋40を折り曲げるようにして上開放部を閉蓋したのち、右上内蓋40と表板2との間に差込板41を差し込んで前記閉蓋を維持する。
これにより、ケースKは、下方のみが開蓋状態(以下、この状態を半折り状態という)となっている。
(3)ここで、図5に示すように、コンベアの進行方向に対して、反折り状態のケースKは、横方向に開蓋した状態で、一定時間間隔で断続的に搬送される。
コンベアの停止時間において側方から、二本の瓶B(例えばバイアル等)を能書で断面コ字状に巻き付けた状態のものを、図示しないプッシャー等で図6に示す態様で差し込む。この際、図5に示すように、瓶Bを若干ハの字状(ハの字状部分をHで示す)にする。
(4)図6に示すように、右・左底フラップ11、31を矢印方向に押し付けるようにする。
図7に示すように、右側板1に対して右底フラップ11を90°分だけ矢印方向に山折りすると、天板7は右底フラップ11の上方に位置し、右底フラップ11と天板7相互間には空間が存在した状態、すなわち緩衝部5が構成される。同様に、図7の状態にある紙片について、図5に示す如き左側板3に対して左底フラップ31を90°分だけ矢印方向に山折りすると、天板7’は左底フラップ31よりも上方に位置し、左底フラップ31と天板7’相互間には空間が存在した状態、すなわち緩衝部5’が構成される。
(5)裏板42に対して中板42を山折りし、その後、表板2に対して外板2を山折りして、前記中板42上に表板2を糊付けする。これにより、破瓶防止機能を有するケースKの組み付けは完了する。
(破瓶防止機能を有するケースKの優れた効果)
この破瓶防止機能を有するケースKでは、図6や図7に示すような構造であるから、自動包装ラインでの高速化と、緩衝機能の確実性を持たせることが可能となり、自動包装ラインでの所謂チョコ停止も緩和され、スムーズな作用が可能となる。
(他の実施例について)
上記(破瓶防止機能を有するケースKを製作するための紙片の展開図について)の欄に記載した(1)〜(6)の全てを満足することが好ましいが、前記
(1)〜(6)のうちの一部の構成が欠如していても、満足できるケースKを形成させることも可能である。
この発明の破瓶防止機能を有するケースにおける内面側から見た展開図。 前記ケースの緩衝部を構成する紙片の内面側から見た拡大展開図。 緩衝部を成形するための前段階を示す折り曲げ図。 破瓶防止機能を有するケースにおける胴回り部分、及び上蓋部分を製作するための工程図。 ケースの底部分から能書に覆われた瓶を、挿入する状態を示す斜視図。 緩衝部を完成させる状態を示す工程図。 ケース内に二本のバイアル等を入れた状態を示す図。
符号の説明
K ケース
1 右側板
10 右上内蓋
11 右底フラップ
2 表板
20 外板
3 左側板
30 左上内蓋
31 左底フラップ
4 裏板
40 中板
41 差込板
42 中板
43 貼着板
5 緩衝部
6 立上げ板
7 天板
70 突起部
71 孔
8 貼着板
80 糊
81 リード罫














Claims (6)

  1. 紙片でできた箱状のケースの一部を構成する左・右底フラップに、それぞれ立上げ板、天板、貼着板の順序で延設してあり、左・右の各底フラップと立上げ板間を山折り、立上げ板と天板間を山折り、天板と貼着板間を谷折りしたものとし、前記各貼着板を、左・右側板の内面にそれぞれ貼り付けた状態において、左・右天板はケースの底付近で水平状態にある破瓶防止機能を有するケースにおいて、左・右の立上げ板及び天板のうち少なくとも一方側に、当該立上げ板から折り目を設けることなく先端が天板側までに至る突起部を切り込んで形成してあり、前記天板が水平となった状態では、突起部は立上げ板付近で上方に突出するようになっていることを特徴とする破瓶防止機能を有するケース。
  2. 突起部の先端部分付近に孔を明けて、突起部が立ち上がる抵抗を減少させるようにしてあることを特徴とする請求項1記載の破瓶防止機能を有するケース。
  3. 突起部を切り込む基端部位置は、僅かに立上げ板側にまで至るものとし、突起部の立ち上がりを円滑にするようにしてあることを特徴とする請求項1又は2記載の破瓶防止機能を有するケース。
  4. 突起部の長さ方向中央部に罫線を入れて剛性を高めるようにしてあることを特長とする請求項1乃至3のいずれかに記載の破瓶防止機能を有するケース。
  5. 底フラップにエンボス凹み加工を施して、底フラップの剛性を高めると共に突起部に隙間を設けて立ち上がりを円滑にするようにしてあることを特長とする請求項1乃至4のいずれかに記載の破瓶防止機能を有するケース。
  6. 一枚の紙片を折り込むことにより構成されていることを特長とする請求項1乃至5のいずれかに記載の破瓶防止機能を有するケース。










JP2008201367A 2008-08-05 2008-08-05 破瓶防止機能を有するケース Active JP5163951B2 (ja)

Priority Applications (1)

Application Number Priority Date Filing Date Title
JP2008201367A JP5163951B2 (ja) 2008-08-05 2008-08-05 破瓶防止機能を有するケース

Applications Claiming Priority (1)

Application Number Priority Date Filing Date Title
JP2008201367A JP5163951B2 (ja) 2008-08-05 2008-08-05 破瓶防止機能を有するケース

Publications (3)

Publication Number Publication Date
JP2010036952A true JP2010036952A (ja) 2010-02-18
JP2010036952A5 JP2010036952A5 (ja) 2011-08-18
JP5163951B2 JP5163951B2 (ja) 2013-03-13

Family

ID=42009908

Family Applications (1)

Application Number Title Priority Date Filing Date
JP2008201367A Active JP5163951B2 (ja) 2008-08-05 2008-08-05 破瓶防止機能を有するケース

Country Status (1)

Country Link
JP (1) JP5163951B2 (ja)

Cited By (4)

* Cited by examiner, † Cited by third party
Publication number Priority date Publication date Assignee Title
JP2013530889A (ja) * 2010-06-03 2013-08-01 ブリティッシュ アメリカン タバコ (インヴェストメンツ) リミテッド 喫煙品用パック
JP2016124580A (ja) * 2014-12-26 2016-07-11 花王株式会社 包装用箱
JP2020079093A (ja) * 2018-11-12 2020-05-28 朝日印刷株式会社 緩衝機能付包装用箱
JP2022132759A (ja) * 2021-03-01 2022-09-13 朝日印刷株式会社 緩衝機能付包装箱

Citations (5)

* Cited by examiner, † Cited by third party
Publication number Priority date Publication date Assignee Title
JPS49114031U (ja) * 1973-01-29 1974-09-28
JPS503933U (ja) * 1973-05-16 1975-01-16
JPH0416123U (ja) * 1990-05-31 1992-02-10
JPH0445217U (ja) * 1990-08-13 1992-04-16
JPH0465723U (ja) * 1990-10-15 1992-06-09

Patent Citations (5)

* Cited by examiner, † Cited by third party
Publication number Priority date Publication date Assignee Title
JPS49114031U (ja) * 1973-01-29 1974-09-28
JPS503933U (ja) * 1973-05-16 1975-01-16
JPH0416123U (ja) * 1990-05-31 1992-02-10
JPH0445217U (ja) * 1990-08-13 1992-04-16
JPH0465723U (ja) * 1990-10-15 1992-06-09

Cited By (5)

* Cited by examiner, † Cited by third party
Publication number Priority date Publication date Assignee Title
JP2013530889A (ja) * 2010-06-03 2013-08-01 ブリティッシュ アメリカン タバコ (インヴェストメンツ) リミテッド 喫煙品用パック
KR101802372B1 (ko) 2010-06-03 2017-11-28 브리티시 아메리칸 토바코 (인베스트먼츠) 리미티드 끽연류들을 위한 팩
JP2016124580A (ja) * 2014-12-26 2016-07-11 花王株式会社 包装用箱
JP2020079093A (ja) * 2018-11-12 2020-05-28 朝日印刷株式会社 緩衝機能付包装用箱
JP2022132759A (ja) * 2021-03-01 2022-09-13 朝日印刷株式会社 緩衝機能付包装箱

Also Published As

Publication number Publication date
JP5163951B2 (ja) 2013-03-13

Similar Documents

Publication Publication Date Title
JP2005523848A (ja) スライドとケースを含むシガレットパック
JP5955077B2 (ja) 包装用箱
JP6211592B2 (ja) シガレットパッケージおよびその製造方法
JP5163951B2 (ja) 破瓶防止機能を有するケース
JP3185841U (ja) 包装箱
JP5259754B2 (ja) 包装用箱
CN103608264B (zh) 香烟包装件以及裁剪件、材料幅面和其制造方法
JP2012140140A (ja) 包装用ケースのシート接続構造及び包装用ケース
JP2017047905A (ja) フラップ起立保持機能付き包装箱
JP2013209114A (ja) 包装用箱
JP6112998B2 (ja) 表示片付包装用箱
JP5420053B1 (ja) 梱包箱
JP2007537937A (ja) 曲折シガレットパケット
EP3181482B1 (en) Rigid pack for tobacco articles
JP2009029494A (ja) 紙製品のコーナー構造
JP3198545U (ja) 差込封緘箱
JP3881728B2 (ja) 仕切付包装用箱
JP3215260U (ja) 緩衝機能付き包装用箱
JP5935623B2 (ja) 展示機能付き包装箱
JP4303990B2 (ja) 開封補助機能付包装用箱
JP3143506U (ja) 紙製包装容器
JP2006240683A (ja) 紙箱
JP6895327B2 (ja) 包装箱
JP2008056262A (ja) 包装用箱
JP3161821U (ja) 包装用箱

Legal Events

Date Code Title Description
A621 Written request for application examination

Free format text: JAPANESE INTERMEDIATE CODE: A621

Effective date: 20110523

A521 Request for written amendment filed

Free format text: JAPANESE INTERMEDIATE CODE: A523

Effective date: 20110630

A977 Report on retrieval

Free format text: JAPANESE INTERMEDIATE CODE: A971007

Effective date: 20121107

TRDD Decision of grant or rejection written
A01 Written decision to grant a patent or to grant a registration (utility model)

Free format text: JAPANESE INTERMEDIATE CODE: A01

Effective date: 20121115

A61 First payment of annual fees (during grant procedure)

Free format text: JAPANESE INTERMEDIATE CODE: A61

Effective date: 20121205

FPAY Renewal fee payment (event date is renewal date of database)

Free format text: PAYMENT UNTIL: 20151228

Year of fee payment: 3

R150 Certificate of patent or registration of utility model

Ref document number: 5163951

Country of ref document: JP

Free format text: JAPANESE INTERMEDIATE CODE: R150

Free format text: JAPANESE INTERMEDIATE CODE: R150

R250 Receipt of annual fees

Free format text: JAPANESE INTERMEDIATE CODE: R250

R250 Receipt of annual fees

Free format text: JAPANESE INTERMEDIATE CODE: R250

R250 Receipt of annual fees

Free format text: JAPANESE INTERMEDIATE CODE: R250

R250 Receipt of annual fees

Free format text: JAPANESE INTERMEDIATE CODE: R250

R250 Receipt of annual fees

Free format text: JAPANESE INTERMEDIATE CODE: R250

R250 Receipt of annual fees

Free format text: JAPANESE INTERMEDIATE CODE: R250

R250 Receipt of annual fees

Free format text: JAPANESE INTERMEDIATE CODE: R250

R250 Receipt of annual fees

Free format text: JAPANESE INTERMEDIATE CODE: R250

R250 Receipt of annual fees

Free format text: JAPANESE INTERMEDIATE CODE: R250

R250 Receipt of annual fees

Free format text: JAPANESE INTERMEDIATE CODE: R250

R250 Receipt of annual fees

Free format text: JAPANESE INTERMEDIATE CODE: R250