JP2010036814A - インフレーター - Google Patents
インフレーター Download PDFInfo
- Publication number
- JP2010036814A JP2010036814A JP2008204650A JP2008204650A JP2010036814A JP 2010036814 A JP2010036814 A JP 2010036814A JP 2008204650 A JP2008204650 A JP 2008204650A JP 2008204650 A JP2008204650 A JP 2008204650A JP 2010036814 A JP2010036814 A JP 2010036814A
- Authority
- JP
- Japan
- Prior art keywords
- gas
- generating agent
- inflator
- combustion
- amount
- Prior art date
- Legal status (The legal status is an assumption and is not a legal conclusion. Google has not performed a legal analysis and makes no representation as to the accuracy of the status listed.)
- Granted
Links
- 239000007789 gas Substances 0.000 claims abstract description 153
- 238000002485 combustion reaction Methods 0.000 claims abstract description 30
- 239000000567 combustion gas Substances 0.000 claims abstract description 24
- 239000011261 inert gas Substances 0.000 claims abstract description 8
- 239000003795 chemical substances by application Substances 0.000 abstract description 62
- 239000003595 mist Substances 0.000 abstract description 16
- 230000000052 comparative effect Effects 0.000 description 15
- XKRFYHLGVUSROY-UHFFFAOYSA-N Argon Chemical compound [Ar] XKRFYHLGVUSROY-UHFFFAOYSA-N 0.000 description 8
- QVGXLLKOCUKJST-UHFFFAOYSA-N atomic oxygen Chemical compound [O] QVGXLLKOCUKJST-UHFFFAOYSA-N 0.000 description 7
- 239000001301 oxygen Substances 0.000 description 7
- 229910052760 oxygen Inorganic materials 0.000 description 7
- 229910052751 metal Inorganic materials 0.000 description 6
- 239000002184 metal Substances 0.000 description 6
- ZOXJGFHDIHLPTG-UHFFFAOYSA-N Boron Chemical compound [B] ZOXJGFHDIHLPTG-UHFFFAOYSA-N 0.000 description 4
- 229910052786 argon Inorganic materials 0.000 description 4
- 229910052796 boron Inorganic materials 0.000 description 4
- 239000001307 helium Substances 0.000 description 4
- 229910052734 helium Inorganic materials 0.000 description 4
- SWQJXJOGLNCZEY-UHFFFAOYSA-N helium atom Chemical compound [He] SWQJXJOGLNCZEY-UHFFFAOYSA-N 0.000 description 4
- 238000002156 mixing Methods 0.000 description 4
- 239000000843 powder Substances 0.000 description 4
- 239000000446 fuel Substances 0.000 description 3
- 230000020169 heat generation Effects 0.000 description 3
- WABPQHHGFIMREM-UHFFFAOYSA-N lead(0) Chemical compound [Pb] WABPQHHGFIMREM-UHFFFAOYSA-N 0.000 description 3
- 239000000203 mixture Substances 0.000 description 3
- 239000007800 oxidant agent Substances 0.000 description 3
- UQSXHKLRYXJYBZ-UHFFFAOYSA-N Iron oxide Chemical compound [Fe]=O UQSXHKLRYXJYBZ-UHFFFAOYSA-N 0.000 description 2
- 239000011230 binding agent Substances 0.000 description 2
- 230000003247 decreasing effect Effects 0.000 description 2
- 239000003814 drug Substances 0.000 description 2
- 230000001590 oxidative effect Effects 0.000 description 2
- FGIUAXJPYTZDNR-UHFFFAOYSA-N potassium nitrate Chemical compound [K+].[O-][N+]([O-])=O FGIUAXJPYTZDNR-UHFFFAOYSA-N 0.000 description 2
- 239000002893 slag Substances 0.000 description 2
- DHEQXMRUPNDRPG-UHFFFAOYSA-N strontium nitrate Chemical compound [Sr+2].[O-][N+]([O-])=O.[O-][N+]([O-])=O DHEQXMRUPNDRPG-UHFFFAOYSA-N 0.000 description 2
- 238000003466 welding Methods 0.000 description 2
- PAWQVTBBRAZDMG-UHFFFAOYSA-N 2-(3-bromo-2-fluorophenyl)acetic acid Chemical compound OC(=O)CC1=CC=CC(Br)=C1F PAWQVTBBRAZDMG-UHFFFAOYSA-N 0.000 description 1
- IJGRMHOSHXDMSA-UHFFFAOYSA-N Atomic nitrogen Chemical compound N#N IJGRMHOSHXDMSA-UHFFFAOYSA-N 0.000 description 1
- QPLDLSVMHZLSFG-UHFFFAOYSA-N Copper oxide Chemical compound [Cu]=O QPLDLSVMHZLSFG-UHFFFAOYSA-N 0.000 description 1
- 239000005751 Copper oxide Substances 0.000 description 1
- 229920002907 Guar gum Polymers 0.000 description 1
- 229920000663 Hydroxyethyl cellulose Polymers 0.000 description 1
- 239000004354 Hydroxyethyl cellulose Substances 0.000 description 1
- 229920002153 Hydroxypropyl cellulose Polymers 0.000 description 1
- 229920000168 Microcrystalline cellulose Polymers 0.000 description 1
- 239000004372 Polyvinyl alcohol Substances 0.000 description 1
- 229910052581 Si3N4 Inorganic materials 0.000 description 1
- 229920002472 Starch Polymers 0.000 description 1
- 229910000831 Steel Inorganic materials 0.000 description 1
- DPXJVFZANSGRMM-UHFFFAOYSA-N acetic acid;2,3,4,5,6-pentahydroxyhexanal;sodium Chemical compound [Na].CC(O)=O.OCC(O)C(O)C(O)C(O)C=O DPXJVFZANSGRMM-UHFFFAOYSA-N 0.000 description 1
- XOZUGNYVDXMRKW-AATRIKPKSA-N azodicarbonamide Chemical class NC(=O)\N=N\C(N)=O XOZUGNYVDXMRKW-AATRIKPKSA-N 0.000 description 1
- CJZGTCYPCWQAJB-UHFFFAOYSA-L calcium stearate Chemical compound [Ca+2].CCCCCCCCCCCCCCCCCC([O-])=O.CCCCCCCCCCCCCCCCCC([O-])=O CJZGTCYPCWQAJB-UHFFFAOYSA-L 0.000 description 1
- 235000013539 calcium stearate Nutrition 0.000 description 1
- 239000008116 calcium stearate Substances 0.000 description 1
- 238000013329 compounding Methods 0.000 description 1
- 229910000431 copper oxide Inorganic materials 0.000 description 1
- XTVVROIMIGLXTD-UHFFFAOYSA-N copper(II) nitrate Chemical compound [Cu+2].[O-][N+]([O-])=O.[O-][N+]([O-])=O XTVVROIMIGLXTD-UHFFFAOYSA-N 0.000 description 1
- 229910001873 dinitrogen Inorganic materials 0.000 description 1
- AXZAYXJCENRGIM-UHFFFAOYSA-J dipotassium;tetrabromoplatinum(2-) Chemical compound [K+].[K+].[Br-].[Br-].[Br-].[Br-].[Pt+2] AXZAYXJCENRGIM-UHFFFAOYSA-J 0.000 description 1
- 150000002357 guanidines Chemical class 0.000 description 1
- 239000000665 guar gum Substances 0.000 description 1
- 235000010417 guar gum Nutrition 0.000 description 1
- 229960002154 guar gum Drugs 0.000 description 1
- 150000002429 hydrazines Chemical class 0.000 description 1
- 235000019447 hydroxyethyl cellulose Nutrition 0.000 description 1
- 239000001863 hydroxypropyl cellulose Substances 0.000 description 1
- 235000010977 hydroxypropyl cellulose Nutrition 0.000 description 1
- 238000004519 manufacturing process Methods 0.000 description 1
- 150000002739 metals Chemical class 0.000 description 1
- 239000008108 microcrystalline cellulose Substances 0.000 description 1
- 235000019813 microcrystalline cellulose Nutrition 0.000 description 1
- 229940016286 microcrystalline cellulose Drugs 0.000 description 1
- 229920002401 polyacrylamide Polymers 0.000 description 1
- 229920002451 polyvinyl alcohol Polymers 0.000 description 1
- 235000019422 polyvinyl alcohol Nutrition 0.000 description 1
- 235000010333 potassium nitrate Nutrition 0.000 description 1
- 239000004323 potassium nitrate Substances 0.000 description 1
- 229910001487 potassium perchlorate Inorganic materials 0.000 description 1
- 230000035939 shock Effects 0.000 description 1
- HQVNEWCFYHHQES-UHFFFAOYSA-N silicon nitride Chemical compound N12[Si]34N5[Si]62N3[Si]51N64 HQVNEWCFYHHQES-UHFFFAOYSA-N 0.000 description 1
- 235000019812 sodium carboxymethyl cellulose Nutrition 0.000 description 1
- 229910001220 stainless steel Inorganic materials 0.000 description 1
- 239000010935 stainless steel Substances 0.000 description 1
- 239000008107 starch Substances 0.000 description 1
- 235000019698 starch Nutrition 0.000 description 1
- 239000010959 steel Substances 0.000 description 1
- 150000003536 tetrazoles Chemical class 0.000 description 1
- 150000003918 triazines Chemical class 0.000 description 1
- 150000003852 triazoles Chemical class 0.000 description 1
Images
Classifications
-
- C—CHEMISTRY; METALLURGY
- C06—EXPLOSIVES; MATCHES
- C06D—MEANS FOR GENERATING SMOKE OR MIST; GAS-ATTACK COMPOSITIONS; GENERATION OF GAS FOR BLASTING OR PROPULSION (CHEMICAL PART)
- C06D5/00—Generation of pressure gas, e.g. for blasting cartridges, starting cartridges, rockets
- C06D5/06—Generation of pressure gas, e.g. for blasting cartridges, starting cartridges, rockets by reaction of two or more solids
-
- B—PERFORMING OPERATIONS; TRANSPORTING
- B60—VEHICLES IN GENERAL
- B60R—VEHICLES, VEHICLE FITTINGS, OR VEHICLE PARTS, NOT OTHERWISE PROVIDED FOR
- B60R21/00—Arrangements or fittings on vehicles for protecting or preventing injuries to occupants or pedestrians in case of accidents or other traffic risks
- B60R21/02—Occupant safety arrangements or fittings, e.g. crash pads
- B60R21/16—Inflatable occupant restraints or confinements designed to inflate upon impact or impending impact, e.g. air bags
- B60R21/26—Inflatable occupant restraints or confinements designed to inflate upon impact or impending impact, e.g. air bags characterised by the inflation fluid source or means to control inflation fluid flow
- B60R21/268—Inflatable occupant restraints or confinements designed to inflate upon impact or impending impact, e.g. air bags characterised by the inflation fluid source or means to control inflation fluid flow using instantaneous release of stored pressurised gas
- B60R21/272—Inflatable occupant restraints or confinements designed to inflate upon impact or impending impact, e.g. air bags characterised by the inflation fluid source or means to control inflation fluid flow using instantaneous release of stored pressurised gas with means for increasing the pressure of the gas just before or during liberation, e.g. hybrid inflators
Landscapes
- Chemical & Material Sciences (AREA)
- Engineering & Computer Science (AREA)
- Chemical Kinetics & Catalysis (AREA)
- Combustion & Propulsion (AREA)
- Organic Chemistry (AREA)
- Physics & Mathematics (AREA)
- Fluid Mechanics (AREA)
- Mechanical Engineering (AREA)
- Air Bags (AREA)
Abstract
【解決手段】本発明のインフレーターは、ハウジングの内部に、加圧ガスと、燃焼時にガスを発生可能なガス発生剤と、を充填させて構成されるハイブリッドタイプとされている。加圧ガスが、不活性ガスのみから構成される。ガス発生剤が、燃焼時に発生する熱量を、6000〜10000J/gの範囲内に設定される。加圧ガスと、ガス発生剤が燃焼して発生する燃焼ガスと、のモル比が、20〜40の範囲内に設定されている。
【選択図】なし
Description
加圧ガスが、不活性ガスのみから構成され、
ガス発生剤が、燃焼時に発生する熱量を、6000〜10000J/gの範囲内に設定され、
加圧ガスと、ガス発生剤が燃焼して発生する燃焼ガスと、のモル比が、20〜40の範囲内に設定されていることを特徴とする。
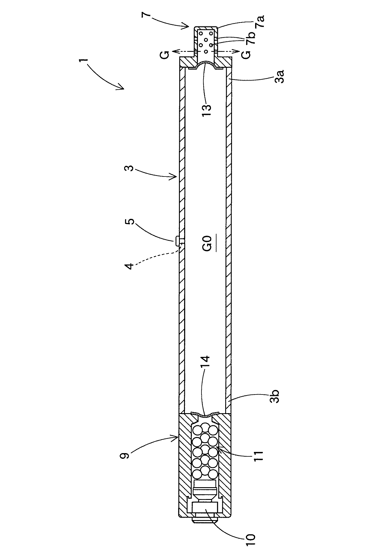
3…ハウジング、
10…スクイブ、
11…ガス発生剤、
G0…加圧ガス、
G…膨張用ガス。
Claims (1)
- ハウジングの内部に、加圧ガスと、燃焼時にガスを発生可能なガス発生剤と、を充填させて構成されるハイブリッドタイプのインフレーターであって、
前記加圧ガスが、不活性ガスのみから構成され、
前記ガス発生剤が、燃焼時に発生する熱量を、6000〜10000J/gの範囲内に設定され、
前記加圧ガスと、前記ガス発生剤が燃焼して発生する燃焼ガスと、のモル比が、20〜40の範囲内に設定されていることを特徴とするインフレーター。
Priority Applications (2)
| Application Number | Priority Date | Filing Date | Title |
|---|---|---|---|
| JP2008204650A JP5292983B2 (ja) | 2008-08-07 | 2008-08-07 | インフレーター |
| US12/461,305 US8025012B2 (en) | 2008-08-07 | 2009-08-06 | Inflator |
Applications Claiming Priority (1)
| Application Number | Priority Date | Filing Date | Title |
|---|---|---|---|
| JP2008204650A JP5292983B2 (ja) | 2008-08-07 | 2008-08-07 | インフレーター |
Publications (2)
| Publication Number | Publication Date |
|---|---|
| JP2010036814A true JP2010036814A (ja) | 2010-02-18 |
| JP5292983B2 JP5292983B2 (ja) | 2013-09-18 |
Family
ID=41651721
Family Applications (1)
| Application Number | Title | Priority Date | Filing Date |
|---|---|---|---|
| JP2008204650A Active JP5292983B2 (ja) | 2008-08-07 | 2008-08-07 | インフレーター |
Country Status (2)
| Country | Link |
|---|---|
| US (1) | US8025012B2 (ja) |
| JP (1) | JP5292983B2 (ja) |
Cited By (1)
| Publication number | Priority date | Publication date | Assignee | Title |
|---|---|---|---|---|
| JP2014069628A (ja) * | 2012-09-28 | 2014-04-21 | Toyoda Gosei Co Ltd | インフレーター |
Families Citing this family (3)
| Publication number | Priority date | Publication date | Assignee | Title |
|---|---|---|---|---|
| DE102012220061A1 (de) * | 2012-11-05 | 2014-05-08 | Robert Bosch Gmbh | Vorrichtung zum Öffnen eines Gasdruckbehälters, Kaltgasgenerator und Verfahren zum Herstellen eines Kaltgasgenerators |
| JP6251662B2 (ja) * | 2014-09-29 | 2017-12-20 | 株式会社ダイセル | ガス発生器 |
| CN115286476B (zh) * | 2022-06-30 | 2024-03-29 | 湖北航鹏化学动力科技有限责任公司 | 用于气体发生器的自动点火药组合物及其制备方法和应用 |
Citations (4)
| Publication number | Priority date | Publication date | Assignee | Title |
|---|---|---|---|---|
| JPH01122987A (ja) * | 1987-10-01 | 1989-05-16 | Bayern Chem Ges Flugchem Anteriebe Mbh | ガス発生組成物 |
| JPH10158086A (ja) * | 1996-11-26 | 1998-06-16 | Nederland Centr Org Toegepast Natuur Onder | ガス発生調製物及びエアーバツグにおけるその使用 |
| JP2004149097A (ja) * | 2001-11-30 | 2004-05-27 | Daicel Chem Ind Ltd | インフレータ |
| JP2008174215A (ja) * | 2006-12-18 | 2008-07-31 | Daicel Chem Ind Ltd | ハイブリッドインフレータ |
Family Cites Families (12)
| Publication number | Priority date | Publication date | Assignee | Title |
|---|---|---|---|---|
| US5553889A (en) * | 1994-03-18 | 1996-09-10 | Oea, Inc. | Hybrid inflator with rapid pressurization-based flow initiation assembly |
| US5788275A (en) * | 1994-03-18 | 1998-08-04 | Oea, Inc. | Hybrid inflator |
| US5821448A (en) * | 1994-03-18 | 1998-10-13 | Oea, Inc. | Compact hybrid inflator |
| US5711546A (en) * | 1994-03-18 | 1998-01-27 | Oea, Inc. | Hybrid inflator with coaxial chamber |
| US5602361A (en) * | 1994-03-18 | 1997-02-11 | Oea, Inc. | Hybrid inflator |
| US5616883A (en) * | 1994-03-18 | 1997-04-01 | Oea, Inc. | Hybrid inflator and related propellants |
| US5630618A (en) * | 1994-03-18 | 1997-05-20 | Oea, Inc. | Hybrid inflator with a valve |
| US5778509A (en) * | 1994-03-18 | 1998-07-14 | Oea, Inc. | Method for manufacturing hybrid inflator having toroidal-like stored gas housing |
| JP2002166817A (ja) * | 1999-10-01 | 2002-06-11 | Daicel Chem Ind Ltd | ハイブリッドインフレータ |
| JP4587584B2 (ja) * | 2000-03-28 | 2010-11-24 | ダイセル化学工業株式会社 | ハイブリッドインフレータ |
| US7134689B2 (en) * | 2001-11-30 | 2006-11-14 | Daicel Chemical Industries, Ltd. | Inflator |
| US7044501B2 (en) * | 2002-06-17 | 2006-05-16 | Daicel Chemical Industries, Ltd. | Inflator |
-
2008
- 2008-08-07 JP JP2008204650A patent/JP5292983B2/ja active Active
-
2009
- 2009-08-06 US US12/461,305 patent/US8025012B2/en active Active
Patent Citations (4)
| Publication number | Priority date | Publication date | Assignee | Title |
|---|---|---|---|---|
| JPH01122987A (ja) * | 1987-10-01 | 1989-05-16 | Bayern Chem Ges Flugchem Anteriebe Mbh | ガス発生組成物 |
| JPH10158086A (ja) * | 1996-11-26 | 1998-06-16 | Nederland Centr Org Toegepast Natuur Onder | ガス発生調製物及びエアーバツグにおけるその使用 |
| JP2004149097A (ja) * | 2001-11-30 | 2004-05-27 | Daicel Chem Ind Ltd | インフレータ |
| JP2008174215A (ja) * | 2006-12-18 | 2008-07-31 | Daicel Chem Ind Ltd | ハイブリッドインフレータ |
Cited By (1)
| Publication number | Priority date | Publication date | Assignee | Title |
|---|---|---|---|---|
| JP2014069628A (ja) * | 2012-09-28 | 2014-04-21 | Toyoda Gosei Co Ltd | インフレーター |
Also Published As
| Publication number | Publication date |
|---|---|
| US20100031844A1 (en) | 2010-02-11 |
| US8025012B2 (en) | 2011-09-27 |
| JP5292983B2 (ja) | 2013-09-18 |
Similar Documents
| Publication | Publication Date | Title |
|---|---|---|
| JP4823907B2 (ja) | 火薬貯蔵ガスインフレータ | |
| JP3817233B2 (ja) | 低強度二段式ハイブリッドインフレータ | |
| US20120048137A1 (en) | Gas generator | |
| CN105777460B (zh) | 气体发生剂组合物 | |
| JP2009530226A (ja) | 銅錯体イミダゾール及び誘導体を用いたガス発生 | |
| JP5292983B2 (ja) | インフレーター | |
| WO2010103811A1 (ja) | ガス発生剤組成物及びその成形体、並びにそれを用いたガス発生器 | |
| EP2380786A1 (en) | Gas generator for airbag device | |
| JP2012180259A (ja) | 発熱組成物、及びその製造方法 | |
| JP4271570B2 (ja) | エアバッグ用インフレータ | |
| JP2002166817A (ja) | ハイブリッドインフレータ | |
| JP4782485B2 (ja) | エアバッグ用ガス発生器 | |
| JP2014069628A (ja) | インフレーター | |
| US20060202455A1 (en) | Gas generator | |
| US20100001497A1 (en) | Inflator | |
| JP5179825B2 (ja) | ハイブリッドインフレータ | |
| JP2003226219A (ja) | インフレータ | |
| JP2011143777A (ja) | ガス発生器 | |
| JP4994787B2 (ja) | ガス発生器 | |
| CN115503646A (zh) | 混合式气体发生器 | |
| JP2002308040A (ja) | ガス発生器 | |
| JP2006027291A (ja) | エアバッグ用ガス発生器 | |
| JP2004149097A (ja) | インフレータ | |
| JP2006168669A (ja) | エアバッグ用ガス発生器 | |
| JP3953300B2 (ja) | エアバッグ用ガス発生器のリテーナー及びこれを用いたエアバッグ用ガス発生器 |
Legal Events
| Date | Code | Title | Description |
|---|---|---|---|
| A621 | Written request for application examination |
Free format text: JAPANESE INTERMEDIATE CODE: A621 Effective date: 20100927 |
|
| A977 | Report on retrieval |
Free format text: JAPANESE INTERMEDIATE CODE: A971007 Effective date: 20120228 |
|
| A131 | Notification of reasons for refusal |
Free format text: JAPANESE INTERMEDIATE CODE: A131 Effective date: 20120403 |
|
| A521 | Request for written amendment filed |
Free format text: JAPANESE INTERMEDIATE CODE: A523 Effective date: 20120601 |
|
| A02 | Decision of refusal |
Free format text: JAPANESE INTERMEDIATE CODE: A02 Effective date: 20121218 |
|
| A521 | Request for written amendment filed |
Free format text: JAPANESE INTERMEDIATE CODE: A523 Effective date: 20130313 |
|
| A521 | Request for written amendment filed |
Free format text: JAPANESE INTERMEDIATE CODE: A821 Effective date: 20130314 |
|
| A911 | Transfer to examiner for re-examination before appeal (zenchi) |
Free format text: JAPANESE INTERMEDIATE CODE: A911 Effective date: 20130409 |
|
| TRDD | Decision of grant or rejection written | ||
| A01 | Written decision to grant a patent or to grant a registration (utility model) |
Free format text: JAPANESE INTERMEDIATE CODE: A01 Effective date: 20130514 |
|
| A61 | First payment of annual fees (during grant procedure) |
Free format text: JAPANESE INTERMEDIATE CODE: A61 Effective date: 20130527 |
|
| R150 | Certificate of patent or registration of utility model |
Ref document number: 5292983 Country of ref document: JP Free format text: JAPANESE INTERMEDIATE CODE: R150 Free format text: JAPANESE INTERMEDIATE CODE: R150 |
