JP2010036299A - 研磨方法および装置 - Google Patents

研磨方法および装置 Download PDF

Info

Publication number
JP2010036299A
JP2010036299A JP2008201915A JP2008201915A JP2010036299A JP 2010036299 A JP2010036299 A JP 2010036299A JP 2008201915 A JP2008201915 A JP 2008201915A JP 2008201915 A JP2008201915 A JP 2008201915A JP 2010036299 A JP2010036299 A JP 2010036299A
Authority
JP
Japan
Prior art keywords
polishing
substrate
eddy current
current sensor
polished
Prior art date
Legal status (The legal status is an assumption and is not a legal conclusion. Google has not performed a legal analysis and makes no representation as to the accuracy of the status listed.)
Granted
Application number
JP2008201915A
Other languages
English (en)
Other versions
JP5210083B2 (ja
Inventor
Taro Takahashi
太郎 高橋
Motohiro Niijima
元博 新島
Akihiko Ogawa
彰彦 小川
Current Assignee (The listed assignees may be inaccurate. Google has not performed a legal analysis and makes no representation or warranty as to the accuracy of the list.)
Ebara Corp
Original Assignee
Ebara Corp
Priority date (The priority date is an assumption and is not a legal conclusion. Google has not performed a legal analysis and makes no representation as to the accuracy of the date listed.)
Filing date
Publication date
Application filed by Ebara Corp filed Critical Ebara Corp
Priority to JP2008201915A priority Critical patent/JP5210083B2/ja
Priority to TW098125487A priority patent/TWI450792B/zh
Priority to US12/511,344 priority patent/US8454407B2/en
Priority to TW103125639A priority patent/TWI572441B/zh
Publication of JP2010036299A publication Critical patent/JP2010036299A/ja
Application granted granted Critical
Publication of JP5210083B2 publication Critical patent/JP5210083B2/ja
Active legal-status Critical Current
Anticipated expiration legal-status Critical

Links

Images

Landscapes

  • Finish Polishing, Edge Sharpening, And Grinding By Specific Grinding Devices (AREA)
  • Mechanical Treatment Of Semiconductor (AREA)
  • Constituent Portions Of Griding Lathes, Driving, Sensing And Control (AREA)

Abstract

【課題】研磨中に半導体ウエハ等の基板が破損した場合に、この破損を直ちに検出することができるとともに、研磨中に基板がトップリングから飛び出した場合に、この基板の飛び出しを直ちに検出することができる研磨方法および研磨装置を提供する。
【解決手段】回転する研磨テーブル100上の研磨面101aに研磨対象の基板を押圧して研磨する研磨方法において、基板の研磨中に、研磨テーブル100の回転に伴い、該研磨テーブル100に設置された渦電流センサ50により基板の被研磨面を走査し、基板の被研磨面の走査により得られた渦電流センサ50の出力を監視し、該渦電流センサ50の出力の変化から基板の破損を検出する。
【選択図】図8

Description

本発明は、研磨方法および装置に係り、特に半導体ウエハなどの研磨対象物(基板)を研磨して平坦化する研磨方法および装置に関するものである。
近年、半導体デバイスの高集積化・高密度化に伴い、回路の配線がますます微細化し、多層配線の層数も増加している。回路の微細化を図りながら多層配線を実現しようとすると、下側の層の表面凹凸を踏襲しながら段差がより大きくなるので、配線層数が増加するに従って、薄膜形成における段差形状に対する膜被覆性(ステップカバレッジ)が悪くなる。したがって、多層配線するためには、このステップカバレッジを改善し、然るべき過程で平坦化処理しなければならない。また光リソグラフィの微細化とともに焦点深度が浅くなるため、半導体デバイスの表面の凹凸段差が焦点深度以下に収まるように半導体デバイス表面を平坦化処理する必要がある。
従って、半導体デバイスの製造工程においては、半導体デバイス表面の平坦化技術がますます重要になっている。この平坦化技術のうち、最も重要な技術は、化学的機械研磨(CMP(Chemical Mechanical Polishing))である。この化学的機械的研磨は、研磨装置を用いて、シリカ(SiO)等の砥粒を含んだ研磨液を研磨パッド等の研磨面上に供給しつつ半導体ウエハなどの基板を研磨面に摺接させて研磨を行うものである。
この種の研磨装置は、研磨パッドからなる研磨面を有する研磨テーブルと、半導体ウエハを保持するためのトップリング又は研磨ヘッド等と称される基板保持装置とを備えている。このような研磨装置を用いて半導体ウエハの研磨を行う場合には、基板保持装置により半導体ウエハを保持しつつ、この半導体ウエハを研磨面に対して所定の圧力で押圧する。このとき、研磨テーブルと基板保持装置とを相対運動させることにより半導体ウエハが研磨面に摺接し、半導体ウエハの表面が平坦かつ鏡面に研磨される。
このような研磨装置には、基板保持装置の下部に弾性膜から形成される圧力室を設け、この圧力室に空気などの流体を供給することで弾性膜を介して流体圧により半導体ウエハを研磨面に押圧するタイプの研磨装置や、基板保持装置の下部にセラミックス等からなる剛性のある保持面を設け、エアシリンダ等により保持面に力を加えることにより半導体ウエハを研磨面に押圧するタイプの研磨装置などがある。
特開2006−255851号公報
上述した従来の研磨装置においては、基板保持装置により半導体ウエハを保持して研磨パッドの研磨面に接地(接触)した後に、圧力室に圧縮空気などの圧力流体を供給することで弾性膜を介して流体圧により半導体ウエハを研磨面に押圧して又はエアシリンダ等により保持面に力を加えることより半導体ウエハを研磨面に押圧して研磨を開始するが、研磨中に半導体ウエハが割れたり破損したりすることがある。
このように、半導体ウエハの研磨中に、半導体ウエハが割れたり破損したりすると、研磨パッド上に破片が散らばるため、この研磨パッドを再使用した場合に、次に研磨される半導体ウエハの表面に傷をつけてしまうので、半導体ウエハが割れたり破損したりする毎に研磨パッドを交換しなければならない。すなわち、半導体ウエハが割れたり破損したりした場合、研磨パッド等の消耗品の交換を含むメンテナンス作業が発生する。
この場合、半導体ウエハが割れたり破損したりした状態のまま研磨を続行すると、ウエハの破片が飛散するため、メンテナンスを実施する範囲が拡大し、メンテナンスの作業時間および装置のダウンタイム(downtime)が増加するという問題がある。
一方、トップリング又は研磨ヘッド等と称される基板保持装置は、半導体ウエハの外周縁を保持するリテーナリングを有しており、リテーナリングにより、半導体ウエハと研磨パッドの研磨面との間の摩擦力により発生する横方向(水平方向)の力を受けるようにしている。リテーナリングは、トップリング本体(又は研磨ヘッド本体)に対して上下動可能になっていて、研磨パッドの研磨面のうねりに追従して上下動して半導体ウエハの外周縁を保持するようになっている。しかしながら、研磨中に、半導体ウエハがリテーナリングを乗り越えて、トップリングから飛び出してしまう現象(スリップアウト)が発生することがある。
トップリングは、スリップアウト検出用センサを具備しており、半導体ウエハのトップリングからの飛び出し(スリップアウト)を検出するようにしている。しかしながら、飛び出した半導体ウエハがスリップアウト検出用センサの下を通過しないと検出できないため、半導体ウエハの飛び出し(スリップアウト)の方向によっては、スリップアウトを検出できない場合がある。
本発明は、上述の事情に鑑みてなされたもので、研磨中に半導体ウエハ等の基板が破損した場合に、この破損を直ちに検出することができるとともに、研磨中に基板がトップリングから飛び出した場合に、この基板の飛び出しを直ちに検出することができる研磨方法および研磨装置を提供することを目的とする。
上記目的を達成するため、本発明の第1の態様によれば、回転する研磨テーブル上の研磨面に研磨対象の基板を押圧して研磨する研磨方法において、前記基板の研磨中に、前記研磨テーブルの回転に伴い、該研磨テーブルに設置された渦電流センサにより基板の被研磨面を走査し、前記基板の被研磨面の走査により得られた渦電流センサの出力を監視し、該渦電流センサの出力の変化から基板の破損を検出することを特徴とする。
本発明によれば、渦電流センサは、研磨テーブルの回転に伴い基板の下方を通過している間、基板の金属膜(または導電性膜)に反応して所定の電圧値等を出力するので、この渦電流センサの出力を監視し、出力の変化が予め設定された設定範囲等を超える程度の変化であれば、基板に割れなどの破損が生じたと判定する。
本発明の好ましい態様によれば、前記研磨テーブルがN回転目(Nは1以上の整数)における前記渦電流センサの出力より有効基板幅を求め、前記研磨テーブルのN回転目以降における前記渦電流センサの出力から基板幅を求め、求めた基板幅が前記有効基板幅より狭くなった場合に、基板の破損が生じたと判定することを特徴とする。
本発明によれば、研磨テーブルのN回転目(Nは1以上の整数)における渦電流センサの最大出力値および最小出力値等から有効基板幅を計算し、研磨中に基板のエッジが破損した場合には、渦電流センサの最大出力値および最小出力値等から求めた基板幅が小さくなるため、この求めた基板幅と有効基板幅とを比較して基板幅が狭くなっているか否かを判定し、基板の破損を検出する。
本発明の好ましい態様によれば、前記研磨テーブルがN回転目(Nは1以上の整数)における前記渦電流センサの出力を監視し、該渦電流センサの出力値を予め設定された閾値と比較して基板の破損を検出することを特徴とする。
本発明の好ましい態様によれば、前記渦電流センサの出力値が予め設定された閾値以下の場合をカウントし、前記出力値が前記閾値以下になっているカウンタ値が設定範囲内の場合に、基板の破損が生じたと判定することを特徴とする。
本発明によれば、研磨テーブルのN回転目(Nは1以上の整数)の渦電流センサの出力値を監視し、この出力値が減少を開始したか否かを判定し、渦電流センサの出力値が減少を開始した場合には、減少した出力値が予め設定された閾値(しきい値)以下か否かを判定する。そして、渦電流センサの出力値の減少が終了したと判定した場合に、出力が閾値以下になっているカウンタ値(Cnt)が設定範囲内か否かを判定し、設定範囲内であれば、基板の破損が発生したと判定する。
本発明の第2の態様によれば、研磨対象の基板をトップリングにより保持し、回転する研磨テーブル上の研磨面に基板を押圧して研磨する研磨方法において、前記基板の研磨中に、前記研磨テーブルの回転に伴い、該研磨テーブルに設置された渦電流センサにより基板の被研磨面を走査し、前記基板の被研磨面の走査により得られた渦電流センサの出力を監視し、該渦電流センサの出力の変化から前記トップリングからの基板の離脱を検出することを特徴とする。
本発明によれば、研磨開始時に基板がトップリングに保持されている場合には、渦電流センサの出力は高いが、基板がトップリングから飛び出し(スリップアウト)た場合には、渦電流センサの出力は急激に低下する。このように渦電流センサの出力値の低下を監視することにより、研磨中に基板がトップリングから飛び出し(スリップアウト)た場合を検出することができる。
本発明の好ましい態様によれば、前記渦電流センサの出力値を設定値と比較して、前記トップリングからの基板の離脱を検出することを特徴とする。
本発明によれば、渦電流センサの出力値が設定値より低いか否かを判定し、渦電流センサの出力値が設定値より低い場合には、基板がトップリングから飛び出し(スリップアウト)たと判定する。
本発明の第3の態様によれば、回転する研磨テーブル上の研磨面に研磨対象の基板を押圧して研磨する研磨方法において、前記基板の研磨中に、前記研磨テーブルの回転に伴い、該研磨テーブルに設置された渦電流センサにより基板の被研磨面を走査し、前記基板の被研磨面の走査により得られた渦電流センサの出力を監視し、正常な基板の場合の渦電流センサの出力と比較して基板の破損を検出することを特徴とする。
本発明によれば、渦電流センサが基板の表面(被研磨面)を走査(スキャン)する際における渦電流センサの出力を監視し、正常な基板の場合の渦電流センサの出力と比較することにより、基板の破損を検出することができる。正常な基板の場合の渦電流センサの出力は、対象の基板の研磨前に予め正常な基板から取得しておいてもよい。
本発明の好ましい態様によれば、前記基板をトップリングで保持しつつ回転させ、所定時間内に前記渦電流センサが前記基板の被研磨面を走査する軌跡が前記被研磨面の全周にわたって略均等に分布するように前記トップリングと前記研磨テーブルの回転速度を設定することを特徴とする。
本発明の好ましい態様によれば、前記所定時間内に前記渦電流センサが前記基板の被研磨面を走査する軌跡が前記被研磨面を約0.5×N回(Nは自然数)回転するように前記トップリングと前記研磨テーブルの回転速度を設定することを特徴とする。
本発明の第4の態様によれば、研磨面を有する研磨テーブルと、研磨対象の基板を保持するトップリングとを有し、回転する研磨テーブル上の研磨面に基板を押圧して研磨する研磨装置において、前記研磨テーブルに設置され、該研磨テーブルの回転に伴って基板の被研磨面を走査する渦電流センサと、前記基板の被研磨面の走査により得られた渦電流センサの出力を監視し、該渦電流センサの出力の変化から基板の破損を検出する制御装置とを備えたことを特徴とする。
本発明の好ましい態様によれば、前記制御装置は、前記研磨テーブルがN回転目(Nは1以上の整数)における前記渦電流センサの出力より有効基板幅を求め、前記研磨テーブルのN回転目以降における前記渦電流センサの出力から基板幅を求め、求めた基板幅が前記有効基板幅より狭くなった場合に、基板の破損が生じたと判定することを特徴とする。
本発明の好ましい態様によれば、前記制御装置は、前記研磨テーブルがN回転目(Nは1以上の整数)における前記渦電流センサの出力を監視し、該渦電流センサの出力値を予め設定された閾値と比較して基板の破損を検出することを特徴とする。
本発明の好ましい態様によれば、前記制御装置は、前記渦電流センサの出力値が予め設定された閾値以下の場合をカウントし、前記出力値が前記閾値以下になっているカウンタ値が設定範囲内の場合に、基板の破損が生じたと判定することを特徴とする。
本発明の第5の態様によれば、研磨面を有する研磨テーブルと、研磨対象の基板を保持するトップリングとを有し、回転する研磨テーブル上の研磨面に基板を押圧して研磨する研磨装置において、前記研磨テーブルに設置され、前記研磨テーブルの回転に伴って基板の被研磨面を走査する渦電流センサと、前記基板の被研磨面の走査により得られた渦電流センサの出力を監視し、該渦電流センサの出力の変化から前記トップリングからの基板の離脱を検出する制御装置とを備えたことを特徴とする。
本発明の好ましい態様によれば、前記制御装置は、前記渦電流センサの出力値を設定値と比較して、前記トップリングからの基板の離脱を検出することを特徴とする。
本発明の第6の態様によれば、研磨面を有する研磨テーブルと、研磨対象の基板を保持するトップリングとを有し、回転する研磨テーブル上の研磨面に基板を押圧して研磨する研磨装置において、前記研磨テーブルに設置され、前記研磨テーブルの回転に伴って基板の被研磨面を走査する渦電流センサと、前記基板の被研磨面の走査により得られた渦電流センサの出力を監視し、正常な基板の場合の渦電流センサの出力と比較して基板の破損を検出する制御装置とを備えたことを特徴とする。
本発明の好ましい態様によれば、前記基板をトップリングで保持しつつ回転させ、所定時間内に前記渦電流センサが前記基板の被研磨面を走査する軌跡が前記被研磨面の全周にわたって略均等に分布するように前記トップリングと前記研磨テーブルの回転速度を設定することを特徴とする。
本発明の好ましい態様によれば、前記所定時間内に前記渦電流センサが前記基板の被研磨面を走査する軌跡が前記被研磨面を約0.5×N回(Nは自然数)回転するように前記トップリングと前記研磨テーブルの回転速度を設定することを特徴とする。
本発明によれば、研磨テーブルに設置された渦電流センサにより基板の表面を走査し、渦電流センサの出力を監視することにより、研磨中に基板が破損した場合に、この破損を直ちに検出することができる。
また本発明によれば、研磨テーブルに設置された渦電流センサにより基板の表面を走査し、渦電流センサの出力を監視することにより、研磨中に基板がトップリングから飛び出した場合に、この基板の飛び出しを直ちに検出することができる。
以下、本発明に係る研磨装置の実施形態について図1乃至図21を参照して詳細に説明する。なお、図1から図21において、同一または相当する構成要素には、同一の符号を付して重複した説明を省略する。
図1は、本発明に係る研磨装置の全体構成を示す概略図である。図1に示すように、研磨装置は、研磨テーブル100と、研磨対象物である半導体ウエハ等の基板を保持して研磨テーブル上の研磨面に押圧するトップリング1とを備えている。
研磨テーブル100は、テーブル軸100aを介してその下方に配置されるモータ(図示せず)に連結されており、そのテーブル軸100a周りに回転可能になっている。研磨テーブル100の上面には研磨パッド101が貼付されており、研磨パッド101の表面101aが半導体ウエハWを研磨する研磨面を構成している。研磨テーブル100の上方には研磨液供給ノズル102が設置されており、この研磨液供給ノズル102によって研磨テーブル100上の研磨パッド101上に研磨液Qが供給されるようになっている。図1に示すように、研磨テーブル100の内部には、渦電流センサ50が埋設されている。
トップリング1は、半導体ウエハWを研磨面101aに対して押圧するトップリング本体2と、半導体ウエハWの外周縁を保持して半導体ウエハWがトップリングから飛び出さないようにするリテーナリング3とから基本的に構成されている。
トップリング1は、トップリングシャフト111に接続されており、このトップリングシャフト111は、上下動機構124によりトップリングヘッド110に対して上下動するようになっている。このトップリングシャフト111の上下動により、トップリングヘッド110に対してトップリング1の全体を昇降させ位置決めするようになっている。なお、トップリングシャフト111の上端にはロータリージョイント125が取り付けられている。
トップリングシャフト111およびトップリング1を上下動させる上下動機構124は、軸受126を介してトップリングシャフト111を回転可能に支持するブリッジ128と、ブリッジ128に取り付けられたボールねじ132と、支柱130により支持された支持台129と、支持台129上に設けられたACサーボモータ138とを備えている。サーボモータ138を支持する支持台129は、支柱130を介してトップリングヘッド110に固定されている。
ボールねじ132は、サーボモータ138に連結されたねじ軸132aと、このねじ軸132aが螺合するナット132bとを備えている。トップリングシャフト111は、ブリッジ128と一体となって上下動するようになっている。したがって、サーボモータ138を駆動すると、ボールねじ132を介してブリッジ128が上下動し、これによりトップリングシャフト111およびトップリング1が上下動する。
また、トップリングシャフト111はキー(図示せず)を介して回転筒112に連結されている。この回転筒112はその外周部にタイミングプーリ113を備えている。トップリングヘッド110にはトップリング用モータ114が固定されており、上記タイミングプーリ113は、タイミングベルト115を介してトップリング用モータ114に設けられたタイミングプーリ116に接続されている。したがって、トップリング用モータ114を回転駆動することによってタイミングプーリ116、タイミングベルト115、およびタイミングプーリ113を介して回転筒112およびトップリングシャフト111が一体に回転し、トップリング1が回転する。なお、トップリングヘッド110は、フレーム(図示せず)に回転可能に支持されたトップリングヘッドシャフト117によって支持されている。
図1に示すように構成された研磨装置において、トップリング1は、その下面に半導体ウエハWなどの基板を保持できるようになっている。トップリングヘッド110はトップリングシャフト117を中心として旋回可能に構成されており、下面に半導体ウエハWを保持したトップリング1は、トップリングヘッド110の旋回により半導体ウエハWの受取位置から研磨テーブル100の上方に移動される。そして、トップリング1を下降させて半導体ウエハWを研磨パッド101の表面(研磨面)101aに押圧する。このとき、トップリング1および研磨テーブル100をそれぞれ回転させ、研磨テーブル100の上方に設けられた研磨液供給ノズル102から研磨パッド101上に研磨液を供給する。このように、半導体ウエハWを研磨パッド101の研磨面101aに摺接させて半導体ウエハWの表面を研磨する。
図2は、研磨テーブル100と渦電流センサ50と半導体ウエハWとの関係を示す平面図である。図2に示すように、渦電流センサ50は、トップリング1に保持された研磨中の半導体ウエハWの中心Cwを通過する位置に設置されている。符号Cは研磨テーブル100の回転中心である。例えば、渦電流センサ50は、半導体ウエハWの下方を通過している間、通過軌跡(走査線)上で連続的に半導体ウエハWのCu層等の金属膜(導電性膜)を検出できるようになっている。
次に、本発明に係る研磨装置が備える渦電流センサ50について、図3から図7を用いてより詳細に説明する。
図3は、渦電流センサ50の構成を示す図であり、図3(a)は渦電流センサ50の構成を示すブロック図であり、図3(b)は渦電流センサ50の等価回路図である。
図3(a)に示すように、渦電流センサ50は、検出対象の金属膜(または導電性膜)mfの近傍にセンサコイル51を配置し、そのコイルに交流信号源52が接続されている。ここで、検出対象の金属膜(または導電性膜)mfは、例えば半導体ウエハW上に形成されたCu,Al,Au,Wなどの薄膜である。センサコイル51は、検出用のコイルであり、検出対象の金属膜(または導電性膜)に対して、例えば1.0〜4.0mm程度の近傍に配置される。
渦電流センサには、金属膜(または導電性膜)mfに渦電流が生じることにより、発振周波数が変化し、この周波数変化から金属膜(または導電性膜)を検出する周波数タイプと、インピーダンスが変化し、このインピーダンス変化から金属膜(または導電性膜)を検出するインピーダンスタイプとがある。即ち、周波数タイプでは、図3(b)に示す等価回路において、渦電流Iが変化することで、インピーダンスZが変化し、信号源(可変周波数発振器)52の発振周波数が変化すると、検波回路54でこの発振周波数の変化を検出し、金属膜(または導電性膜)の変化を検出することができる。インピーダンスタイプでは、図3(b)に示す等価回路において、渦電流Iが変化することで、インピーダンスZが変化し、信号源(固定周波数発振器)52から見たインピーダンスZが変化すると、検波回路54でこのインピーダンスZの変化を検出し、金属膜(または導電性膜)の変化を検出することができる。
インピーダンスタイプの渦電流センサでは、信号出力X、Y、位相、合成インピーダンスZ、が後述するように取り出される。周波数F、またはインピーダンスX、Y等から、金属膜(または導電性膜)Cu,Al,Au,Wの測定情報が得られる。渦電流センサ50は、研磨テーブル100の内部の表面付近の位置に内蔵することができ、研磨対象の半導体ウエハに対して研磨パッドを介して対面するように位置し、半導体ウエハ上の金属膜(または導電性膜)に流れる渦電流から金属膜(または導電性膜)の変化を検出することができる。
渦電流センサの周波数は、単一電波、混合電波、AM変調電波、FM変調電波、関数発生器の掃引出力または複数の発振周波数源を用いることができ、金属膜の膜種に適合させて、感度の良い発振周波数や変調方式を選択することが好ましい。
以下に、インピーダンスタイプの渦電流センサについて具体的に説明する。交流信号源52は、2〜8MHz程度の固定周波数の発振器であり、例えば水晶発振器が用いられる。そして、交流信号源52により供給される交流電圧により、センサコイル51に電流Iが流れる。金属膜(または導電性膜)mfの近傍に配置されたコイル51に電流が流れることで、この磁束が金属膜(または導電性膜)mfと鎖交することでその間に相互インダクタンスMが形成され、金属膜(または導電性膜)mf中に渦電流Iが流れる。ここでR1はセンサコイルを含む一次側の等価抵抗であり、Lは同様にセンサコイルを含む一次側の自己インダクタンスである。金属膜(または導電性膜)mf側では、R2は渦電流損に相当する等価抵抗であり、Lはその自己インダクタンスである。交流信号源52の端子a,bからセンサコイル側を見たインピーダンスZは、金属膜(または導電性膜)mf中に形成される渦電流損の大きさによって変化する。
図4は、本実施形態の渦電流センサにおけるセンサコイルの構成例を示す概略図である。図4に示すように、センサコイル51は、金属膜(または導電性膜)に渦電流を形成するためのコイルと、金属膜(または導電性膜)の渦電流を検出するためのコイルとを分離したもので、ボビン71に巻回された3層のコイル72,73,74により構成されている。ここで中央のコイル72は、交流信号源52に接続される発振コイルである。この発振コイル72は、交流信号源52より供給される電圧の形成する磁界により、近傍に配置される半導体ウエハW上の金属膜(または導電性膜)mfに渦電流を形成する。ボビン71の上側(金属膜(または導電性膜)側)には、検出コイル73が配置され、金属膜(または導電性膜)に形成される渦電流により発生する磁界を検出する。そして、発振コイル72の検出コイル73と反対側にはバランスコイル74が配置されている。
図5は、センサコイルにおける各コイルの接続例を示す概略図である。図5(a)に示すように、コイル72,73,74は、同じターン数(1〜20t)のコイルにより形成され、検出コイル73とバランスコイル74とは互いに正相に接続されている。
検出コイル73とバランスコイル74とは、上述したように正相の直列回路を構成し、その両端は可変抵抗76を含む抵抗ブリッジ回路77に接続されている。コイル72は交流信号源52に接続され、交番磁束を生成することで、近傍に配置される金属膜(または導電性膜)mfに渦電流を形成する。可変抵抗76の抵抗値を調整することで、コイル73,74からなる直列回路の出力電圧が、金属膜(または導電性膜)が存在しないときにはゼロとなるように調整可能としている。コイル73,74のそれぞれに並列に入る可変抵抗76(VR,VR)でL,Lの信号を同位相にするように調整する。即ち、図5(b)の等価回路において、
VR1-1×(VR2-2+jωL3)=VR1-2×(VR2-1+jωL1) (1)
となるように、可変抵抗VR1(=VR1-1+VR1-2)およびVR2(=VR2-1+VR2-2)を調整する。これにより、図5(c)に示すように、調整前のL,Lの信号(図中点線で示す)を、同位相・同振幅の信号(図中実線で示す)とする。
そして、金属膜(または導電性膜)が検出コイル73の近傍に存在する時には、金属膜(または導電性膜)中に形成される渦電流によって生じる磁束が検出コイル73とバランスコイル74とに鎖交するが、検出コイル73のほうが金属膜(または導電性膜)に近い位置に配置されているので、両コイル73,74に生じる誘起電圧のバランスが崩れ、これにより金属膜(または導電性膜)の渦電流によって形成される鎖交磁束を検出することができる。即ち、交流信号源に接続された発振コイル72から、検出コイル73とバランスコイル74との直列回路を分離して、抵抗ブリッジ回路でバランスの調整を行うことで、ゼロ点の調整が可能である。従って、金属膜(または導電性膜)に流れる渦電流をゼロの状態から検出することが可能になるので、金属膜(または導電性膜)中の渦電流の検出感度が高められる。これにより、広いダイナミックレンジで金属膜(または導電性膜)に形成される渦電流の大きさの検出が可能となる。
図6は、渦電流センサの同期検波回路を示すブロック図である。
図6は、交流信号源52側からセンサコイル51側を見たインピーダンスZの計測回路例を示している。図6に示すインピーダンスZの計測回路においては、膜厚の変化に伴う抵抗成分(R)、リアクタンス成分(X)、振幅出力(Z)および位相出力(tan−1R/X)を取り出すことができる。
上述したように、検出対象の金属膜(または導電性膜)mfが成膜された半導体ウエハW近傍に配置されたセンサコイル51に、交流信号を供給する信号源52は、水晶発振器からなる固定周波数の発振器であり、例えば、2MHz,8MHzの固定周波数の電圧を供給する。信号源52で形成される交流電圧は、バンドパスフィルタ82を介してセンサコイル51に供給される。センサコイル51の端子で検出された信号は、高周波アンプ83および位相シフト回路84を経て、cos同期検波回路85およびsin同期検波回路86からなる同期検波部により検出信号のcos成分とsin成分とが取り出される。ここで、信号源52で形成される発振信号は、位相シフト回路84により信号源52の同相成分(0゜)と直交成分(90゜)の2つの信号が形成され、それぞれcos同期検波回路85とsin同期検波回路86とに導入され、上述の同期検波が行われる。
同期検波された信号は、ローパスフィルタ87,88により、信号成分以上の不要な高周波成分が除去され、cos同期検波出力である抵抗成分(R)出力と、sin同期検波出力であるリアクタンス成分(X)出力とがそれぞれ取り出される。また、ベクトル演算回路89により、抵抗成分(R)出力とリアクタンス成分(X)出力とから振幅出力(R+X1/2が得られる。また、ベクトル演算回路90により、同様に抵抗成分出力とリアクタンス成分出力とから位相出力(tan−1R/X)が得られる。ここで、測定装置本体には、各種フィルタがセンサ信号の雑音成分を除去するために設けられている。各種フィルタは、それぞれに応じたカットオフ周波数が設定されており、例えば、ローパスフィルタのカットオフ周波数を0.1〜10Hzの範囲で設定することにより、研磨中のセンサ信号に混在する雑音成分を除去して測定対象の金属膜(または導電性膜)を高精度に測定することができる。
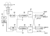
図7は、渦電流センサを備えた研磨装置の要部構成を示す図であり、図7(a)は渦電流センサの制御部を含む全体構成を示す図であり、図7(b)は渦電流センサ部分の拡大断面図である。図7(a)に示すように、研磨装置の研磨テーブル100は矢印で示すようにその軸心まわりに回転可能になっている。この研磨テーブル100内には、交流信号源および同期検波回路を含むプリアンプ一体型のセンサコイル51が埋め込まれている。センサコイル51の接続ケーブルは、研磨テーブル100のテーブル軸100a内を通り、テーブル軸100aの軸端に設けられたロータリジョイント150を経由して、ケーブルによりメインアンプ55を介して制御装置(コントローラ)56に接続されている。
ここで、制御装置56には、各種フィルタがセンサ信号の雑音成分を除去するために設けられている。各種フィルタは、それぞれに応じたカットオフ周波数が設定されており、例えば、ローパスフィルタのカットオフ周波数を0.1〜10Hzの範囲で設定することにより、研磨中のセンサ信号に混在する雑音成分を除去して測定対象の金属膜(または導電性膜)を高精度に測定することができる。
図7(b)に示すように、研磨テーブル100に埋め込まれた渦電流センサ50の研磨パッド側の端面には4フッ化エチレン樹脂などのフッ素系樹脂のコーティングCを有することで研磨パッドをはがす場合に、研磨パッドと渦電流センサが共にはがれてこないようにできる。また渦電流センサの研磨パッド側の端面は研磨パッド101近傍のSiCなどの材料で構成された研磨テーブル100の面(研磨パッド側の面)からは0〜0.05mm凹んだ位置に設置され、研磨時にウエハに接触することを防止している。この研磨テーブル面と渦電流センサ面の位置の差はできる限り小さい方が良いが実際の装置では0.02mm前後に設定することが多い。またこの位置調整にはシム(薄板)151nによる調整やネジによる調整手段が取られる。
ここで、センサコイル51と制御装置56を接続するロータリジョイント150は、回転部においても信号を伝送することはできるが、伝送する信号線数に制限がある。このことから、接続する信号線は、8本に制限され、DC電圧源、出力信号線、および各種制御信号の伝送線のみに限られる。なお、このセンサコイル51は、発振周波数が、2から8MHzで切り替え可能となっていて、プリアンプのゲインも研磨対象の膜質に応じて切り替え可能となっている。
次に、図1乃至図7に示すように構成された渦電流センサを備えた研磨装置において、研磨中の半導体ウエハの破損および半導体ウエハのトップリングからの飛び出し(スリップアウト)を検出する検出方法について説明する。
図8(a)乃至図8(f)は、渦電流センサにより、研磨中の半導体ウエハの破損および半導体ウエハのトップリングからの飛び出し(スリップアウト)を検出する方法を説明する模式図である。
図8(a)は、渦電流センサ50が半導体ウエハWの表面(被研磨面)を走査(スキャン)するときの軌跡と渦電流センサ50の出力との関係を示す。図8(a)に示すように、渦電流センサ50は、研磨テーブル100の回転に伴い半導体ウエハWの下方を通過している間、半導体ウエハWの金属膜(または導電性膜)mfに反応して所定の電圧値(V)を出力するようになっている。
図8(b)乃至図8(f)は、半導体ウエハWの破損等の状態に応じて渦電流センサ50の出力が変化することを示す模式図である。図8(b)乃至図8(f)において、横軸は研磨時間(t)であり、縦軸は渦電流センサ50の出力値(電圧値)(V)である。
図8(b)は、正常な半導体ウエハWの場合の渦電流センサ50の出力を示す図である。図8(b)に示すように、正常な半導体ウエハWの場合には、渦電流センサ50は、半導体ウエハ上の金属膜(または導電性膜)mfに反応した概略方形パルス状の出力(電圧値)を得ることができる。
図8(c)は、半導体ウエハWのエッジが破損している場合の渦電流センサ50の出力を示す図である。図8(c)において、破線は正常な半導体ウエハの場合の出力を示し、実線はエッジの両側が破損した半導体ウエハの場合の出力を示す。図8(c)に示すように、半導体ウエハWのエッジが破損している場合(モデル1)には、渦電流センサ50の出力は、正常な半導体ウエハの場合の出力に比べて略方形パルス状の出力の両側が欠損した出力になっている。
図8(d)は、半導体ウエハWの内部が破損している場合の渦電流センサ50の出力を示す図である。図8(d)に示すように、半導体ウエハWの内部が破損している場合(モデル2)には、渦電流センサ50の出力は、半導体ウエハWの破損部分においてV字状に低下した出力になっている。
図8(e)は、半導体ウエハWのエッジ付近が破損している場合の渦電流センサ50の出力を示す図である。図8(e)に示すように、半導体ウエハWのエッジ付近(エッジのやや内側)が破損している場合(モデル3)には、渦電流センサ50の出力は、半導体ウエハWのエッジで、一旦、立ち上がるが、エッジのやや内側の破損部分においてV字状に低下し、破損部分の更に内側では正常な略方形パルス状の出力になっている。
図8(f)は、半導体ウエハWがトップリングから飛び出し(スリップアウト)た場合の渦電流センサ50の出力を示す図である。図8(f)に示すように、トップリングから半導体ウエハWが離脱した場合(モデル4)には、渦電流センサ50の出力は全く無くなる。図8(f)において、破線は正常な半導体ウエハの場合の出力を示し、実線は半導体ウエハWがトップリングから飛び出し(スリップアウト)た場合に出力が無くなることを示している。
図8(b)乃至図8(f)に示すように、渦電流センサ50が半導体ウエハWの表面(被研磨面)を走査(スキャン)する際における渦電流センサ50の出力を監視し、正常な半導体ウエハWの場合の渦電流センサ50の出力と比較することにより、半導体ウエハWの破損および半導体ウエハWのトップリング1からの飛び出し(スリップアウト)を検出することができる。
図9(a)は、半導体ウエハWの研磨を開始してから半導体ウエハW上の金属膜(または導電性膜)mfがクリアされる(無くなる)までの研磨工程と渦電流センサ50の出力との関係を示す図である。図9(a)に示すように、半導体ウエハWの研磨開始直後は、金属膜(または導電性膜)mfが厚いため、渦電流センサ50の出力は高くなるが、研磨が進行するにつれて金属膜mfが薄くなるため、渦電流センサ50の出力が低下していく。そして、金属膜mfがクリアされる(無くなる)と、渦電流センサ50の出力はゼロになる。そのため、半導体ウエハWの破損について精度の高い検出を行うためには、金属膜mfが薄くなった時点で検出を終了することが好ましい。
図9(b)は、半導体ウエハWの破損を検出する監視工程の手順を示すフローチャートである。図9(b)に示すように、研磨テーブル100が1回転して、渦電流センサ50が半導体ウエハWの表面(被研磨面)を走査(スキャン)すると、渦電流センサ50は略方形パルス状の出力を出す。制御装置56(図7参照)は、1回転目の渦電流センサ50の最大出力値を監視する。そして、制御装置56は、研磨テーブル100が1回転する毎に渦電流センサ50の最大出力値を監視し、研磨テーブル100のN回転目(N>1)の最大出力値を監視し、N回転目の最大出力値を1回転目の最大出力値で除した値が設定値より小さくなったか否かを判定する。
すなわち、(N回転目の最大出力値)/(1回転目の最大出力値)<設定値
を判定し、そして、制御装置56は、この値が設定値より小さければ、監視工程を終了し、設定値より大きければ、監視工程を続行し、研磨テーブル100の次の回転(N=N+1)における渦電流センサ50の最大出力値を監視する。図9(b)に示すフローチャートに従って監視工程を行うことにより、半導体ウエハWの金属膜mfが薄くなった時点で金属膜mfの検出を終了することにより、半導体ウエハWの破損について精度の高い検出を行うことができる。この監視工程の終了方式は、図10(a)内の検出終了、図11(a)内の検出終了に適用される。
なお、上記設定値は、金属膜が残っている状態の範囲で所望の値に設定可能である。
図10(a)は、研磨中に半導体ウエハWのエッジが破損した場合(モデル1)および半導体ウエハWのエッジ付近が破損した場合(モデル3)を検出する監視工程の手順を示すフローチャートである。図10(b)は、監視工程における半導体ウエハWと渦電流センサ50の出力との関係を示す図である。
図10(a)に示すように、制御装置56(図7参照)は、半導体ウエハWの実ウエハ幅と研磨テーブル100の回転数(rpm)から渦電流センサ50の監視範囲を算出する。例えば、検出システムのサンプリングを1msecで実施した場合には、研磨テーブルの回転数(rpm)によって監視範囲が変化する。研磨テーブルの回転数が60rpm=1秒/テーブル1回転の場合、約200msec(=300mm)が監視範囲となり、研磨テーブルの回転数が120rpm=0.5秒/テーブル1回転の場合、約100msec(=300mm)が監視範囲となる。
そして、制御装置56(図7参照)は、研磨テーブル100のN回転目(Nは1以上の整数)における渦電流センサ50の最大出力値および最小出力値から有効ウエハ幅を計算する。図10(b)の左側の図は、渦電流センサ50の最大出力値および最小出力値から計算により求めた有効ウエハ幅を示す。
研磨中に半導体ウエハWのエッジが破損した場合には、渦電流センサ50の最大出力値および最小出力値から求めたウエハ幅が小さくなるため、制御装置56は、この求めたウエハ幅と有効ウエハ幅とを比較してウエハ幅が狭くなっているか否かを判定し、ウエハの破損を検出する。図10(b)の右側の図は、渦電流センサ50の最大出力値および最小出力値から先に計算により求めた有効ウエハ幅(破線で示す)より、出力幅が減少している(ウエハ幅が狭くなっている)状態を示す。図10(a)および図10(b)に示す監視工程は、ウエハのエッジ部の破損を検出する監視工程であるため、ウエハ幅が重要である。そのため、渦電流センサ50の最大出力値および最小出力値から有効ウエハ幅を計算により求め、この有効ウエハ幅と、研磨中に渦電流センサ50の最大出力値および最小出力値から求めたウエハ幅とを比較することにより、ウエハのエッジ部の破損を確実に検出できるようにしたものである。このように渦電流センサ50の出力値からウエハ幅の変化を監視することにより、研磨中に半導体ウエハWのエッジが破損した場合(モデル1)および半導体ウエハWのエッジ付近が破損した場合(モデル3)を確実に検出することができる。
図11(a)は、研磨中に半導体ウエハWの内部が破損した場合(モデル2)を検出する監視工程の手順を示すフローチャートである。図11(b)は、監視工程における半導体ウエハWと渦電流センサ50の出力との関係を示す図である。
図11(a)に示すように、制御装置56(図7参照)は、ウエハ破損を監視するためのカウンタを初期化(Cnt=0)する。そして、制御装置56は、研磨テーブル100のN回転目(Nは1以上の整数)の渦電流センサ50の出力値を監視し、この出力値が減少を開始したか否かを判定する。図11(b)の(1)で図示されている状態のように、渦電流センサ50の出力値が減少を開始した場合には、カウンタを1つアップする。
すなわち、Cnt=Cnt+1とする。
次に、制御装置56は、減少した出力値が予め設定された閾値(しきい値)以下か否かを判定する。この場合、閾値は、例えば、最大出力値(最大電圧値)に設定比率(%)を乗算した値である(閾値=最大電圧値×設定比率(%))。そして、図11(b)の(2)で図示されている状態のように、渦電流センサ50の出力値が予め設定された閾値以下の場合には、閾値フラグをON(閾値フラグ=ON)とする。このステップを渦電流センサ50の出力値が減少している間は続行する。
次に、制御装置56は、図11(b)の(3)で図示されている状態のように、渦電流センサ50の出力値の減少が終了したと判定した場合に、出力が閾値以下になっているカウンタ値(Cnt)が設定範囲内か否かを判定し、設定範囲内であれば、更に、閾値フラグがON(閾値フラグ=ON)か否かを判定する。そして、閾値フラグがONであれば、ウエハの破損が発生したと判定する。このように渦電流センサ50の出力値の減少を監視することにより、研磨中に半導体ウエハWの内部が破損した場合(モデル2)を検出することができる。
図11(a)および図11(b)に示す監視工程によれば、渦電流センサ50の出力値が予め設定された閾値以下の場合をカウントし、前記出力値が前記閾値以下になっているカウンタ値が設定範囲内の場合に、半導体ウエハの破損が生じたと判定するようにしているため、半導体ウエハの破損の誤検知を防ぐとともに精度良く半導体ウエハの破損を検出できる。
誤検知を避けるために閾値やカウンタ値の設定範囲を設けている理由は、研磨プロファイルが崩れたときに対応可能とするためである。例えば、ウエハのエッジ部全体に大きく金属膜の残膜が発生した場合、図11(b)において(1)と(3)の位置が半導体ウエハの両端部に対応することになる。研磨プロファイルに高低差が大きい異常があれば、図11(b)の(2)の閾値以下になってしまうことがある。そのため、図11(b)の(1)と(3)には、ある程度の距離(時間)の制約を設け、エッジ部に大きく金属膜の残膜が発生した場合を半導体ウエハの破損であると誤検知することがないようにする。
図12(a)は、研磨中に半導体ウエハWがトップリングから飛び出し(スリップアウト)た場合(モデル4)を検出する監視工程の手順を示すフローチャートである。図12(b)は、監視工程における半導体ウエハWと渦電流センサ50の出力との関係を示す図である。
図12(a)に示すように、制御装置56(図7参照)は、渦電流センサ50の出力値(電圧値)を監視する。そして、制御装置56は、渦電流センサ50の出力を監視する監視時間内か否かを判定し、監視時間内であれば、渦電流センサ50の出力値が設定値より低いか否かを判定する。制御装置56は、渦電流センサ50の出力値が設定値より低い場合には、半導体ウエハWがトップリングから飛び出し(スリップアウト)たと判定する。図12(b)に示すように、研磨開始時に半導体ウエハWはトップリングに保持されている場合には、渦電流センサ50の出力は高いが、半導体ウエハWがトップリングから飛び出し(スリップアウト)た場合には、渦電流センサ50の出力は急激に低下する。このように渦電流センサ50の出力値の急激な低下を監視することにより、研磨中に半導体ウエハWがトップリングから飛び出し(スリップアウト)た場合(モデル4)を検出することができる。
次に、渦電流センサ50が半導体ウエハの表面を走査するときの軌跡(走査線)について説明する。
半導体ウエハWのエッジ破損(モデル1)、エッジ付近の破損(モデル3)、半導体ウエハWの内部破損(モデル2)の場合に、半導体ウエハのどの箇所に破損が生ずるかわからない。
そこで、本発明では、所定の時間内(例えば、移動平均時間内)に渦電流センサ50が半導体ウエハW上に描く軌跡が半導体ウエハWの表面の全周にわたってほぼ均等に分布するようにトップリング1と研磨テーブル100の回転速度比を調整する。
図13は、渦電流センサ50が半導体ウエハW上を走査する軌跡を示す模式図である。図13に示すように、渦電流センサ50は、研磨テーブル100が1回転するごとに半導体ウエハWの表面(被研磨面)を走査するが、研磨テーブル100が回転すると、渦電流センサ50は概ね半導体ウエハWの中心Cw(トップリングシャフト111の中心)を通る軌跡を描いて半導体ウエハWの被研磨面上を走査することになる。トップリング1の回転速度と研磨テーブル100の回転速度とを異ならせることにより、半導体ウエハWの表面における渦電流センサ50の軌跡は、図13に示すように、研磨テーブル100の回転に伴って走査線SL,SL,SL,…と変化する。この場合でも、上述したように、渦電流センサ50は、半導体ウエハWの中心Cwを通る位置に配置されているので、渦電流センサ50が描く軌跡は、毎回半導体ウエハWの中心Cwを通過する。
図14は、研磨テーブル100の回転速度を70min−1、トップリング1の回転速度を77min−1として、移動平均時間(この例では5秒)内に渦電流センサ50が描く半導体ウエハ上の軌跡を示す図である。図14に示すように、この条件下では、研磨テーブル100が1回転するごとに渦電流センサ50の軌跡が36度回転するので、5回走査するごとにセンサ軌跡が半導体ウエハW上を半周だけ回転することになる。センサ軌跡の湾曲も考慮すると、移動平均時間内に渦電流センサ50が半導体ウエハWを6回走査することにより、渦電流センサ50は半導体ウエハW上をほぼ均等に全面スキャンすることになる。
上述した例では、トップリング1の回転速度が研磨テーブル100の回転速度よりも速い場合を示したが、トップリング1の回転速度が研磨テーブル100の回転速度よりも遅い場合(例えば、研磨テーブル100の回転速度が70min−1、トップリング1の回転速度が63min−1)も、センサ軌跡が逆方向に回転するだけであり、所定の時間内に渦電流センサ50が半導体ウエハWの表面に描く軌跡を半導体ウエハWの表面の全周にわたって分布させる点では上述の例と同じである。
また、上述の例では、トップリング1と研磨テーブル100の回転速度比が1に近い場合を述べたが、回転速度比が0.5や1.5、2など(0.5の倍数)に近い場合も同様である。即ち、トップリング1と研磨テーブル100の回転速度比が0.5の場合、研磨テーブル100が1回転するごとにセンサ軌跡が180度回転し、半導体ウエハWから見れば渦電流センサ50が一回転ごとに逆方向から同一軌跡上を移動することになる。
そこで、トップリング1と研磨テーブル100の回転速度比を0.5から少しずらして(例えば、トップリング1の回転速度を36min−1、研磨テーブル100の回転速度を70min−1とする)、研磨テーブル100が1回転するごとにセンサ軌跡が(180+α)度回転するようにすれば、センサ軌跡が見かけ上α度ずれるようにできる。したがって、移動平均時間内にセンサ軌跡が半導体ウエハWの表面上を約0.5回、または約N回、または約0.5+N回(言い換えれば、0.5の倍数、すなわち0.5×N回(Nは自然数))だけ回転するようにαを設定(即ち、トップリング1と研磨テーブル100の回転速度比を設定)すればよい。
移動平均時間内に渦電流センサ50が半導体ウエハWの表面に描く軌跡が全周にわたって略均等に分布するようにすることは、移動平均時間の調整も考慮すると広い範囲において回転速度比の選択を可能とする。したがって、研磨液(スラリ)の特性などによりトップリング1と研磨テーブル100の回転速度比を大きく変える必要がある研磨プロセスにも対応できる。
ところで、一般に、トップリング1の回転速度が研磨テーブル100の回転速度の丁度半分である場合を除いて、渦電流センサ50が半導体ウエハW上に描く軌跡は図14に示すように湾曲する。したがって、所定の時間内(例えば移動平均時間内)に渦電流センサ50が半導体ウエハW上に描く軌跡が半導体ウエハWの全周にわたって分布したとしても、センサ軌跡が必ずしも厳密な意味で周方向に均等に分布する訳ではない。センサ軌跡を半導体ウエハWの周方向に厳密に均等に分布させるには、所定時間毎にセンサ軌跡が半導体ウエハWの周上をちょうどN回(Nは自然数)だけ回転するようにする必要がある。この間に、渦電流センサ50は、半導体ウエハWの表面を全周にわたり周方向に均等な方向・向きに走査する。これを実現するためには、例えば研磨テーブル100が所定の回数(自然数)だけ回転する間に、トップリング1がちょうど研磨テーブル100の回転回数とは異なる回数(自然数)だけ回転するように、研磨テーブル100とトップリング1の回転速度を定めればよい。この場合においても、上述のようにセンサ軌跡は湾曲するため、センサ軌跡が周方向に等間隔に分布するとはいえないが、センサ軌跡を2本ずつ対にして考えれば、センサ軌跡は任意の半径位置において周方向に均等に分布しているものと見なすことができる。図15はこれを示す例であり、図14と同一の条件で研磨テーブル100が10回回転する間の半導体ウエハW上のセンサ軌跡を示した図である。以上より、渦電流センサ50は、上述の例に比べて半導体ウエハWの全面をより平均的に反映したデータを取得することができる。
次に、本発明の研磨装置において好適に使用できるトップリング1についてより詳細に説明する。
図16乃至図20は、トップリング1を示す図であり、複数の半径方向に沿って切断した断面図である。
図16に示すように、トップリング1は、半導体ウエハWを研磨面101aに対して押圧するトップリング本体2と、研磨面101aを直接押圧するリテーナリング3とから基本的に構成されている。トップリング本体2は、円盤状の上部材300と、上部材300の下面に取り付けられた中間部材304と、中間部材304の下面に取り付けられた下部材306とを備えている。リテーナリング3は、トップリング本体2の上部材300の外周部に取り付けられている。上部材300は、図17に示すように、ボルト308によりトップリングシャフト111に連結されている。また、中間部材304は、ボルト309を介して上部材300に固定されており、下部材306はボルト310を介して上部材300に固定されている。上部材300、中間部材304、および下部材306から構成されるトップリング本体2は、エンジニアリングプラスティック(例えば、PEEK)などの樹脂により形成されている。
図16に示すように、下部材306の下面には、半導体半導体ウエハの裏面に当接する弾性膜314が取り付けられている。この弾性膜314は、外周側に配置された環状のエッジホルダ316と、エッジホルダ316の内方に配置された環状のリプルホルダ318,319とによって下部材306の下面に取り付けられている。弾性膜314は、エチレンプロピレンゴム(EPDM)、ポリウレタンゴム、シリコンゴム等の強度および耐久性に優れたゴム材によって形成されている。
エッジホルダ316はリプルホルダ318により保持され、リプルホルダ318は複数のストッパ320により下部材306の下面に取り付けられている。リプルホルダ319は、図17に示すように、複数のストッパ322により下部材306の下面に取り付けられている。ストッパ320およびストッパ322はトップリング1の円周方向に均等に設けられている。
図16に示すように、弾性膜314の中央部にはセンター室360が形成されている。リプルホルダ319には、このセンター室360に連通する流路324が形成されており、下部材306には、この流路324に連通する流路325が形成されている。リプルホルダ319の流路324および下部材306の流路325は、図示しない流体供給源に接続されており、加圧された流体が流路325および流路324を通ってセンター室360に供給されるようになっている。
リプルホルダ318は、弾性膜314のリプル314bおよびエッジ314cをそれぞれ爪部318b,318cで下部材306の下面に押さえつけるようになっており、リプルホルダ319は、弾性膜314のリプル314aを爪部319aで下部材306の下面に押さえつけるようになっている。
図18に示すように、弾性膜314のリプル314aとリプル314bとの間には環状のリプル室361が形成されている。弾性膜314のリプルホルダ318とリプルホルダ319との間には隙間314fが形成されており、下部材306にはこの隙間314fに連通する流路342が形成されている。また、図16に示すように、中間部材304には、下部材306の流路342に連通する流路344が形成されている。下部材306の流路342と中間部材304の流路344との接続部分には、環状溝347が形成されている。この下部材306の流路342は、環状溝347および中間部材304の流路344を介して図示しない流体供給源に接続されており、加圧された流体がこれらの流路を通ってリプル室361に供給されるようになっている。また、この流路342は、図示しない真空ポンプにも切替可能に接続されており、真空ポンプの作動により弾性膜314の下面に半導体ウエハを吸着できるようになっている。
図19に示すように、リプルホルダ318には、弾性膜314のリプル314bおよびエッジ314cによって形成される環状のアウター室362に連通する流路326が形成されている。また、下部材306には、リプルホルダ318の流路326にコネクタ327を介して連通する流路328が、中間部材304には、下部材306の流路328に連通する流路329がそれぞれ形成されている。このリプルホルダ318の流路326は、下部材306の流路328および中間部材304の流路329を介して図示しない流体供給源に接続されており、加圧された流体がこれらの流路を通ってアウター室362に供給されるようになっている。
図20に示すように、エッジホルダ316は、弾性膜314のエッジ314dを押さえて下部材306の下面に保持するようになっている。このエッジホルダ316には、弾性膜314のエッジ314cおよびエッジ314dによって形成される環状のエッジ室363に連通する流路334が形成されている。また、下部材306には、エッジホルダ316の流路334に連通する流路336が、中間部材304には、下部材306の流路336に連通する流路338がそれぞれ形成されている。このエッジホルダ316の流路334は、下部材306の流路336および中間部材304の流路338を介して図示しない流体供給源に接続されており、加圧された流体がこれらの流路を通ってエッジ室363に供給されるようになっている。
このように、本実施形態におけるトップリング1においては、弾性膜314と下部材306との間に形成される圧力室、すなわち、センター室360、リプル室361、アウター室362、およびエッジ室363に供給する流体の圧力を調整することにより、半導体ウエハを研磨パッド101に押圧する押圧力を半導体ウエハの部分ごとに調整できるようになっている。
図21は、図18に示すリテーナリングのA部拡大図である。リテーナリング3は半導体ウエハの外周縁を保持するものであり、図21に示すように、上部が閉塞された円筒状のシリンダ400と、シリンダ400の上部に取り付けられた保持部材402と、保持部材402によりシリンダ400内に保持される弾性膜404と、弾性膜404の下端部に接続されたピストン406と、ピストン406により下方に押圧されるリング部材408とを備えている。
リング部材408は、ピストン406に連結される上リング部材408aと、研磨面101に接触する下リング部材408bとから構成されており、上リング部材408aと下リング部材408bとは、複数のボルト409によって結合されている。上リング部材408aはSUSなどの金属材料やセラミックス等の材料からなり、下リング部材408bはPEEKやPPS等の樹脂材料からなる。
図21に示すように、保持部材402には、弾性膜404によって形成される室413に連通する流路412が形成されている。また、上部材300には、保持部材402の流路412に連通する流路414が形成されている。この保持部材402の流路412は、上部材300の流路414を介して図示しない流体供給源に接続されており、加圧された流体がこれらの流路を通って室413に供給されるようになっている。したがって、室413に供給する流体の圧力を調整することにより、弾性膜404を伸縮させてピストン406を上下動させ、リテーナリング3のリング部材408を所望の圧力で研磨パッド101に押圧することができる。
図示した例では、弾性膜404としてローリングダイヤフラムを用いている。ローリングダイヤフラムは、屈曲した部分をもつ弾性膜からなるもので、ローリングダイヤフラムで仕切る室の内部圧力の変化等により、その屈曲部が転動することにより室の空間を広げることができるものである。室が広がる際にダイヤフラムが外側の部材と摺動せず、ほとんど伸縮しないため、摺動摩擦が極めて少なくてすみ、ダイヤフラムを長寿命化することができ、また、リテーナリング3が研磨パッド101に与える押圧力を精度よく調整することができるという利点がある。
このような構成により、リテーナリング3のリング部材408だけを下降させることができる。したがって、リテーナリング3のリング部材408が摩耗しても、下部材306と研磨パッド101との距離を一定に維持することが可能となる。また、研磨パッド101に接触するリング部材408とシリンダ400とは変形自在な弾性膜404で接続されているため、荷重点のオフセットによる曲げモーメントが発生しない。このため、リテーナリング3による面圧を均一にすることができ、研磨パッド101に対する追従性も向上する。
また、図21に示すように、リテーナリング3は、リング部材408の上下動を案内するためのリング状のリテーナリングガイド410を備えている。リング状のリテーナリングガイド410は、リング部材408の上部側全周を囲むようにリング部材408の外周側に位置する外周側部410aと、リング部材408の内周側に位置する内周側部410bと、外周側部410aと内周側部410bとを接続している中間部410cとから構成されている。リテーナリングガイド410の内周側部410bは、ボルト411により、下部材306に固定されている。外周側部410aと内周側部410bとを接続する中間部410cには、円周方向に所定間隔毎に複数の開口410hが形成されている。
これまで本発明の実施形態について説明したが、本発明は上述の実施形態に限定されず、その技術的思想の範囲内において種々異なる形態にて実施されてよいことは言うまでもない。
図1は、本発明に係る研磨装置の全体構成を示す概略図である。 図2は、研磨テーブルと渦電流センサと半導体ウエハとの関係を示す平面図である。 図3は、渦電流センサの構成を示す図であり、図3(a)は渦電流センサの構成を示すブロック図であり、図3(b)は渦電流センサの等価回路図である。 図4は、本実施形態の渦電流センサにおけるセンサコイルの構成例を示す概略図である。 図5は、センサコイルにおける各コイルの接続例を示す概略図である。 図6は、渦電流センサの同期検波回路を示すブロック図である。 図7は、渦電流センサを備えた研磨装置の要部構成を示す図であり、図7(a)は渦電流センサの制御部を含む全体構成を示す図であり、図7(b)は渦電流センサ部分の拡大断面図である。 図8(a)乃至図8(f)は、渦電流センサにより、研磨中の半導体ウエハの破損および半導体ウエハのトップリングからの飛び出し(スリップアウト)を検出する方法を説明する模式図である。 図9(a)は、半導体ウエハの研磨を開始してから半導体ウエハ上の金属膜(または導電性膜)がクリアされる(無くなる)までの研磨工程と渦電流センサの出力との関係を示す図であり、図9(b)は、半導体ウエハの破損を検出する監視工程の手順を示すフローチャートである。 図10(a)は、研磨中に半導体ウエハのエッジが破損した場合(モデル1)および半導体ウエハWのエッジ付近が破損した場合(モデル3)を検出する監視工程の手順を示すフローチャートであり、図10(b)は、監視工程における半導体ウエハと渦電流センサの出力との関係を示す図である。 図11(a)は、研磨中に半導体ウエハの内部が破損した場合(モデル2)を検出する監視工程の手順を示すフローチャートであり、図11(b)は、監視工程における半導体ウエハと渦電流センサの出力との関係を示す図である。 図12(a)は、研磨中に半導体ウエハWがトップリングから飛び出し(スリップアウト)した場合(モデル4)を検出する監視工程の手順を示すフローチャートであり、図12(b)は、監視工程における半導体ウエハWと渦電流センサ50の出力との関係を示す図である。 図13は、渦電流センサが半導体ウエハ上を走査する軌跡を示す模式図である。 図14は、渦電流センサが半導体ウエハ上を走査する軌跡を示す模式図である。 図15は、渦電流センサが半導体ウエハ上を走査する軌跡を示す模式図である。 図16は、図1に示すトップリングの構成例を示す断面図である。 図17は、図1に示すトップリングの構成例を示す断面図である。 図18は、図1に示すトップリングの構成例を示す断面図である。 図19は、図1に示すトップリングの構成例を示す断面図である。 図20は、図1に示すトップリングの構成例を示す断面図である。 図21は、図18に示すリテーナリングのA部拡大図である。
符号の説明
1 トップリング
2 トップリング本体
3 リテーナリング
50 渦電流センサ
51 センサコイル
52 交流信号源
54 検波回路
55 メインアンプ
56 制御装置(コントローラ)
71 ボビン
72,73,74 コイル
73 検出コイル
74 バランスコイル
76 可変抵抗
77 抵抗ブリッジ回路
82 バンドパスフィルタ
83 高周波アンプ
84 位相シフト回路
85 cos同期検波回路
86 sin同期検波回路
87,88 ローパスフィルタ
89 ベクトル演算回路
100 研磨テーブル
100a テーブル軸
101 研磨パッド
101a 研磨面
102 研磨液供給ノズル
110 トップリングヘッド
111 トップリングシャフト
112 回転筒
113 タイミングプーリ
114 トップリング用モータ
115 タイミングベルト
116 タイミングプーリ
117 トップリングヘッドシャフト
124 上下動機構
125 ロータリージョイント
126 軸受
128 ブリッジ
129 支持台
130 支柱
132 ボールねじ
138 ACサーボモータ
132a ねじ軸
132b ナット
150 ロータリジョイント
151n シム(薄板)
300 上部材
304 中間部材
306 下部材
308 ボルト
314 弾性膜
314a,314b リプル
314c エッジ
314d エッジ(外周縁)
314f 隙間
316 エッジホルダ
318,319 リプルホルダ
318b,318c 爪部
320,322 ストッパ
324,325,326,328,334,336,338 流路
327 コネクタ
342,344 流路
347 環状溝
349 駆動ピン
350 ゴムクッション
351 カラー
360 センター室
361 リプル室
362 アウター室
363 エッジ室
400 シリンダ
402 保持部材
404 弾性膜
406 ピストン
408 リング部材
408a 上リング部材
408b 下リング部材
408a1 下部リング状部
408a2 上部円弧状部
409 ボルト
410 リテーナリングガイド
410a 外周側部
410b 内周側部
410c 中間部
410h 複数の開口
410g ガイド面
411 ボルト
412,414 流路
413 室
418 長円形状溝
420 接続シート
421 バンド
422 シール部材
W 半導体ウエハ
mf 金属膜(または導電性膜)

Claims (18)

  1. 回転する研磨テーブル上の研磨面に研磨対象の基板を押圧して研磨する研磨方法において、
    前記基板の研磨中に、前記研磨テーブルの回転に伴い、該研磨テーブルに設置された渦電流センサにより基板の被研磨面を走査し、
    前記基板の被研磨面の走査により得られた渦電流センサの出力を監視し、該渦電流センサの出力の変化から基板の破損を検出することを特徴とする研磨方法。
  2. 前記研磨テーブルがN回転目(Nは1以上の整数)における前記渦電流センサの出力より有効基板幅を求め、前記研磨テーブルのN回転目以降における前記渦電流センサの出力から基板幅を求め、求めた基板幅が前記有効基板幅より狭くなった場合に、基板の破損が生じたと判定することを特徴とする請求項1記載の研磨方法。
  3. 前記研磨テーブルがN回転目(Nは1以上の整数)における前記渦電流センサの出力を監視し、該渦電流センサの出力値を予め設定された閾値と比較して基板の破損を検出することを特徴とする請求項1記載の研磨方法。
  4. 前記渦電流センサの出力値が予め設定された閾値以下の場合をカウントし、前記出力値が前記閾値以下になっているカウンタ値が設定範囲内の場合に、基板の破損が生じたと判定することを特徴とする請求項3記載の研磨方法。
  5. 研磨対象の基板をトップリングにより保持し、回転する研磨テーブル上の研磨面に基板を押圧して研磨する研磨方法において、
    前記基板の研磨中に、前記研磨テーブルの回転に伴い、該研磨テーブルに設置された渦電流センサにより基板の被研磨面を走査し、
    前記基板の被研磨面の走査により得られた渦電流センサの出力を監視し、該渦電流センサの出力の変化から前記トップリングからの基板の離脱を検出することを特徴とする研磨方法。
  6. 前記渦電流センサの出力値を設定値と比較して、前記トップリングからの基板の離脱を検出することを特徴とする請求項5記載の研磨方法。
  7. 回転する研磨テーブル上の研磨面に研磨対象の基板を押圧して研磨する研磨方法において、
    前記基板の研磨中に、前記研磨テーブルの回転に伴い、該研磨テーブルに設置された渦電流センサにより基板の被研磨面を走査し、
    前記基板の被研磨面の走査により得られた渦電流センサの出力を監視し、正常な基板の場合の渦電流センサの出力と比較して基板の破損を検出することを特徴とする研磨方法。
  8. 前記基板をトップリングで保持しつつ回転させ、所定時間内に前記渦電流センサが前記基板の被研磨面を走査する軌跡が前記被研磨面の全周にわたって略均等に分布するように前記トップリングと前記研磨テーブルの回転速度を設定することを特徴とする請求項1乃至7のいずれか1項に記載の研磨方法。
  9. 前記所定時間内に前記渦電流センサが前記基板の被研磨面を走査する軌跡が前記被研磨面を約0.5×N回(Nは自然数)回転するように前記トップリングと前記研磨テーブルの回転速度を設定することを特徴とする請求項8記載の研磨方法。
  10. 研磨面を有する研磨テーブルと、研磨対象の基板を保持するトップリングとを有し、回転する研磨テーブル上の研磨面に基板を押圧して研磨する研磨装置において、
    前記研磨テーブルに設置され、該研磨テーブルの回転に伴って基板の被研磨面を走査する渦電流センサと、
    前記基板の被研磨面の走査により得られた渦電流センサの出力を監視し、該渦電流センサの出力の変化から基板の破損を検出する制御装置とを備えたことを特徴とする研磨装置。
  11. 前記制御装置は、前記研磨テーブルがN回転目(Nは1以上の整数)における前記渦電流センサの出力より有効基板幅を求め、前記研磨テーブルのN回転目以降における前記渦電流センサの出力から基板幅を求め、求めた基板幅が前記有効基板幅より狭くなった場合に、基板の破損が生じたと判定することを特徴とする請求項10記載の研磨装置。
  12. 前記制御装置は、前記研磨テーブルがN回転目(Nは1以上の整数)における前記渦電流センサの出力を監視し、該渦電流センサの出力値を予め設定された閾値と比較して基板の破損を検出することを特徴とする請求項10記載の研磨装置。
  13. 前記制御装置は、前記渦電流センサの出力値が予め設定された閾値以下の場合をカウントし、前記出力値が前記閾値以下になっているカウンタ値が設定範囲内の場合に、基板の破損が生じたと判定することを特徴とする請求項12記載の研磨装置。
  14. 研磨面を有する研磨テーブルと、研磨対象の基板を保持するトップリングとを有し、回転する研磨テーブル上の研磨面に基板を押圧して研磨する研磨装置において、
    前記研磨テーブルに設置され、前記研磨テーブルの回転に伴って基板の被研磨面を走査する渦電流センサと、
    前記基板の被研磨面の走査により得られた渦電流センサの出力を監視し、該渦電流センサの出力の変化から前記トップリングからの基板の離脱を検出する制御装置とを備えたことを特徴とする研磨装置。
  15. 前記制御装置は、前記渦電流センサの出力値を設定値と比較して、前記トップリングからの基板の離脱を検出することを特徴とする請求項14記載の研磨装置。
  16. 研磨面を有する研磨テーブルと、研磨対象の基板を保持するトップリングとを有し、回転する研磨テーブル上の研磨面に基板を押圧して研磨する研磨装置において、
    前記研磨テーブルに設置され、前記研磨テーブルの回転に伴って基板の被研磨面を走査する渦電流センサと、
    前記基板の被研磨面の走査により得られた渦電流センサの出力を監視し、正常な基板の場合の渦電流センサの出力と比較して基板の破損を検出する制御装置とを備えたことを特徴とする研磨装置。
  17. 前記基板をトップリングで保持しつつ回転させ、所定時間内に前記渦電流センサが前記基板の被研磨面を走査する軌跡が前記被研磨面の全周にわたって略均等に分布するように前記トップリングと前記研磨テーブルの回転速度を設定することを特徴とする請求項10乃至16のいずれか1項に記載の研磨装置。
  18. 前記所定時間内に前記渦電流センサが前記基板の被研磨面を走査する軌跡が前記被研磨面を約0.5×N回(Nは自然数)回転するように前記トップリングと前記研磨テーブルの回転速度を設定することを特徴とする請求項17記載の研磨装置。
JP2008201915A 2008-08-05 2008-08-05 研磨方法および装置 Active JP5210083B2 (ja)

Priority Applications (4)

Application Number Priority Date Filing Date Title
JP2008201915A JP5210083B2 (ja) 2008-08-05 2008-08-05 研磨方法および装置
TW098125487A TWI450792B (zh) 2008-08-05 2009-07-29 研磨方法及裝置
US12/511,344 US8454407B2 (en) 2008-08-05 2009-07-29 Polishing method and apparatus
TW103125639A TWI572441B (zh) 2008-08-05 2009-07-29 硏磨方法及裝置

Applications Claiming Priority (1)

Application Number Priority Date Filing Date Title
JP2008201915A JP5210083B2 (ja) 2008-08-05 2008-08-05 研磨方法および装置

Publications (2)

Publication Number Publication Date
JP2010036299A true JP2010036299A (ja) 2010-02-18
JP5210083B2 JP5210083B2 (ja) 2013-06-12

Family

ID=42009373

Family Applications (1)

Application Number Title Priority Date Filing Date
JP2008201915A Active JP5210083B2 (ja) 2008-08-05 2008-08-05 研磨方法および装置

Country Status (1)

Country Link
JP (1) JP5210083B2 (ja)

Cited By (6)

* Cited by examiner, † Cited by third party
Publication number Priority date Publication date Assignee Title
JP2012152859A (ja) * 2011-01-26 2012-08-16 Disco Corp 研削装置
CN107728042A (zh) * 2017-11-13 2018-02-23 睿力集成电路有限公司 具有保护测试的集成电路及其测试方法
JP2022542219A (ja) * 2019-08-02 2022-09-30 アクス テクノロジー エルエルシー ワークピースの研磨中のウェーハスリップ検出の現場調整方法及び装置
WO2023172336A1 (en) * 2022-03-09 2023-09-14 Applied Materials, Inc. Eddy current monitoring to detect vibration in polishing
JP2023143988A (ja) * 2019-11-19 2023-10-06 株式会社荏原製作所 基板を保持するためのトップリングおよび基板処理装置
WO2024196556A1 (en) * 2023-03-17 2024-09-26 Applied Materials, Inc. Method for detection of wafer slippage

Citations (5)

* Cited by examiner, † Cited by third party
Publication number Priority date Publication date Assignee Title
JPH11860A (ja) * 1997-06-12 1999-01-06 Mitsubishi Materials Corp ウェーハ研磨装置
JP2004195629A (ja) * 2002-12-20 2004-07-15 Ebara Corp 研磨装置
JP2006263876A (ja) * 2005-03-24 2006-10-05 Renesas Technology Corp 研磨装置、研磨方法および半導体装置の製造方法
JP2007311503A (ja) * 2006-05-17 2007-11-29 Tokyo Seimitsu Co Ltd 静電結合分布インダクタンス型センサを用いたウェーハ異常発生検出装置
WO2008044786A1 (fr) * 2006-10-06 2008-04-17 Ebara Corporation Procédé de detection de point de fin d'usinage, procédé de rectification, et rectifieuse

Patent Citations (5)

* Cited by examiner, † Cited by third party
Publication number Priority date Publication date Assignee Title
JPH11860A (ja) * 1997-06-12 1999-01-06 Mitsubishi Materials Corp ウェーハ研磨装置
JP2004195629A (ja) * 2002-12-20 2004-07-15 Ebara Corp 研磨装置
JP2006263876A (ja) * 2005-03-24 2006-10-05 Renesas Technology Corp 研磨装置、研磨方法および半導体装置の製造方法
JP2007311503A (ja) * 2006-05-17 2007-11-29 Tokyo Seimitsu Co Ltd 静電結合分布インダクタンス型センサを用いたウェーハ異常発生検出装置
WO2008044786A1 (fr) * 2006-10-06 2008-04-17 Ebara Corporation Procédé de detection de point de fin d'usinage, procédé de rectification, et rectifieuse

Cited By (10)

* Cited by examiner, † Cited by third party
Publication number Priority date Publication date Assignee Title
JP2012152859A (ja) * 2011-01-26 2012-08-16 Disco Corp 研削装置
CN107728042A (zh) * 2017-11-13 2018-02-23 睿力集成电路有限公司 具有保护测试的集成电路及其测试方法
CN107728042B (zh) * 2017-11-13 2023-08-22 长鑫存储技术有限公司 具有保护测试的集成电路及其测试方法
JP2022542219A (ja) * 2019-08-02 2022-09-30 アクス テクノロジー エルエルシー ワークピースの研磨中のウェーハスリップ検出の現場調整方法及び装置
JP7592036B2 (ja) 2019-08-02 2024-11-29 アクス テクノロジー エルエルシー ワークピースの研磨中のウェーハスリップ検出の現場調整方法及び装置
JP2025024123A (ja) * 2019-08-02 2025-02-19 アクス テクノロジー エルエルシー ワークピースの研磨中のウェーハスリップ検出の現場調整方法及び装置
JP2023143988A (ja) * 2019-11-19 2023-10-06 株式会社荏原製作所 基板を保持するためのトップリングおよび基板処理装置
WO2023172336A1 (en) * 2022-03-09 2023-09-14 Applied Materials, Inc. Eddy current monitoring to detect vibration in polishing
US12403561B2 (en) 2022-03-09 2025-09-02 Applied Materials, Inc. Eddy current monitoring to detect vibration in polishing
WO2024196556A1 (en) * 2023-03-17 2024-09-26 Applied Materials, Inc. Method for detection of wafer slippage

Also Published As

Publication number Publication date
JP5210083B2 (ja) 2013-06-12

Similar Documents

Publication Publication Date Title
JP5513795B2 (ja) 研磨方法および装置
TWI572441B (zh) 硏磨方法及裝置
KR101090951B1 (ko) 기판폴리싱장치 및 기판폴리싱방법
US9632061B2 (en) Eddy current sensor and polishing method
JP5210083B2 (ja) 研磨方法および装置
US6957998B2 (en) Polishing apparatus
TWI598948B (zh) 研磨監視方法、研磨終點檢測方法及研磨裝置
US20110124269A1 (en) Eddy current sensor and polishing method and apparatus
JP5730747B2 (ja) 渦電流センサ並びに研磨方法および装置
US9068814B2 (en) Polishing monitoring method, polishing apparatus and monitoring apparatus
CN207120114U (zh) 基板处理装置
US8657644B2 (en) Eddy current sensor and polishing method and apparatus
JP2007331108A (ja) 基板研磨装置および基板研磨方法
JP4996331B2 (ja) 基板研磨装置および基板研磨方法
WO2024196556A1 (en) Method for detection of wafer slippage

Legal Events

Date Code Title Description
A621 Written request for application examination

Free format text: JAPANESE INTERMEDIATE CODE: A621

Effective date: 20100812

A131 Notification of reasons for refusal

Free format text: JAPANESE INTERMEDIATE CODE: A131

Effective date: 20120619

A977 Report on retrieval

Free format text: JAPANESE INTERMEDIATE CODE: A971007

Effective date: 20120621

A521 Request for written amendment filed

Free format text: JAPANESE INTERMEDIATE CODE: A523

Effective date: 20120816

TRDD Decision of grant or rejection written
A01 Written decision to grant a patent or to grant a registration (utility model)

Free format text: JAPANESE INTERMEDIATE CODE: A01

Effective date: 20130205

A61 First payment of annual fees (during grant procedure)

Free format text: JAPANESE INTERMEDIATE CODE: A61

Effective date: 20130222

FPAY Renewal fee payment (event date is renewal date of database)

Free format text: PAYMENT UNTIL: 20160301

Year of fee payment: 3

R150 Certificate of patent or registration of utility model

Ref document number: 5210083

Country of ref document: JP

Free format text: JAPANESE INTERMEDIATE CODE: R150

Free format text: JAPANESE INTERMEDIATE CODE: R150

R250 Receipt of annual fees

Free format text: JAPANESE INTERMEDIATE CODE: R250

R250 Receipt of annual fees

Free format text: JAPANESE INTERMEDIATE CODE: R250

R250 Receipt of annual fees

Free format text: JAPANESE INTERMEDIATE CODE: R250

R250 Receipt of annual fees

Free format text: JAPANESE INTERMEDIATE CODE: R250

R250 Receipt of annual fees

Free format text: JAPANESE INTERMEDIATE CODE: R250

R250 Receipt of annual fees

Free format text: JAPANESE INTERMEDIATE CODE: R250

R250 Receipt of annual fees

Free format text: JAPANESE INTERMEDIATE CODE: R250

R250 Receipt of annual fees

Free format text: JAPANESE INTERMEDIATE CODE: R250

R250 Receipt of annual fees

Free format text: JAPANESE INTERMEDIATE CODE: R250

R250 Receipt of annual fees

Free format text: JAPANESE INTERMEDIATE CODE: R250