JP2010035103A - ドハティ合成回路及びドハティ増幅器 - Google Patents

ドハティ合成回路及びドハティ増幅器 Download PDF

Info

Publication number
JP2010035103A
JP2010035103A JP2008197579A JP2008197579A JP2010035103A JP 2010035103 A JP2010035103 A JP 2010035103A JP 2008197579 A JP2008197579 A JP 2008197579A JP 2008197579 A JP2008197579 A JP 2008197579A JP 2010035103 A JP2010035103 A JP 2010035103A
Authority
JP
Japan
Prior art keywords
amplifier
switch
input
line
doherty
Prior art date
Legal status (The legal status is an assumption and is not a legal conclusion. Google has not performed a legal analysis and makes no representation as to the accuracy of the status listed.)
Granted
Application number
JP2008197579A
Other languages
English (en)
Other versions
JP5099908B2 (ja
Inventor
Kazuhiro Uchiyama
和弘 内山
Current Assignee (The listed assignees may be inaccurate. Google has not performed a legal analysis and makes no representation or warranty as to the accuracy of the list.)
Panasonic Corp
Original Assignee
Panasonic Corp
Priority date (The priority date is an assumption and is not a legal conclusion. Google has not performed a legal analysis and makes no representation as to the accuracy of the date listed.)
Filing date
Publication date
Application filed by Panasonic Corp filed Critical Panasonic Corp
Priority to JP2008197579A priority Critical patent/JP5099908B2/ja
Publication of JP2010035103A publication Critical patent/JP2010035103A/ja
Application granted granted Critical
Publication of JP5099908B2 publication Critical patent/JP5099908B2/ja
Expired - Fee Related legal-status Critical Current
Anticipated expiration legal-status Critical

Links

Images

Landscapes

  • Microwave Amplifiers (AREA)
  • Amplifiers (AREA)
  • Transmitters (AREA)

Abstract

【課題】簡単に最適な状態へ調整することができるドハティ増幅器を提供する。
【解決手段】メインアンプから出力されるRF信号を入力するRF入力Aと、ピークアンプから出力されるRF信号を入力するRF入力Bと、ドハティ増幅器を構成する二つの高周波アンプの出力信号を90度の位相差を加えて合成するλ/4ラインと、λ/4ラインの合成部のインピーダンスを出力負荷インピーダンスへ変換するインピーダンス変換回路と、インピーダンス変換回路に接続された電源ラインと、RF入力Aからλ/4ラインとの間に挿入されたコントロール電圧VcontAで動作をOPENとSHORTに切り替え可能なDCスイッチAと、RF入力Bからλ/4とインピーダンス変換回路の合成部との間に挿入されたコントロール電圧VcontBで動作をOPENとSHORTに切り替え可能なDCスイッチBと、電源ラインに接続した歪みを抑圧する高調波制御回路とから構成されることを特徴とする。
【選択図】図1

Description

本発明は、高周波増幅器の分野におけるドハティ増幅器の出力合成器に関するものである。
ドハティ増幅器は、当業者の間では既知の技術であり、1936年にドハティ氏によって最初に提案された。図3に、ドハティ増幅器の基本構成を示す。
基本となるドハティ増幅器は、入力分配器12と、A級またはAB級でバイアスされたメインアンプ8と、B級またはC級でバイアスされたピークアンプ9と、λ/4線路10と、λ/4線路9のインピーダンスを出力負荷インピーダンスへ変換するインピーダンス変換回路11とで構成される(非特許文献1参照)。
図3に示すように、ドハティ増幅器はバイアス級の異なる二つ以上の高周波増幅器から構成されるため、それぞれの高周波トランジスタに対応する個別の電源供給用の電源線路が装置の小型化への障害となっていた。
また、ドハティ増幅器を最適な状態で製造するには、メインアンプとピークアンプのそれぞれを最適な特性に調整する必要があり、例えばメインアンプを単体で調整するときには、ピークアンプとの高周波的な干渉を防ぐために高周波ラインを切り離し、さらには、メインアンプ単体の効率を測定するために電源回路を物理的に切り離すことが必要である。しかし、高周波ラインを切り離して調整する場合には、ドハティ合成器を接続した場合と負荷インピーダンスがずれるため、単体アンプでの調整時とドハティ増幅器としての総合調整を繰り返し行うことになる。さらには、マイクロ波増幅器における電源回路は、マイクロ波トランジスタで発生する歪み成分を抑圧するといったDC電源の供給以外に重要な役割があり、その歪みを抑圧する動作を最良に調整するには、周辺回路の条件を厳しく管理する必要がある。特に、電源回路に接続されるコンデンサの容量や、そのコンデンサの実装位置の影響は非常に大きく、物理的に電源回路を切り離して単体アンプを調整した時と、ドハティ増幅器として構成させた時では電源回路の物理的な条件が異なるので、単体アンプ調整時と比べて歪み等のRF特性は変化してしまう。
これらの解決策の一つとしては、例えば非特許文献2にドハティ合成器のλ/4ライン部に電源回路を接続した構成が提案されている。
この構成によれば、メインアンプとピークアンプの電源回路を一つに集約できるため、回路の小型化が可能となる。
また、例えば特許文献1(特表2006−500883号公報)には、ドハティ合成部にメインアンプとピークアンプの電源回路を一つにまとめた電源回路を備え、更に、マイクロ波トランジスタのバイアスを制御するBIAS CONTROL部とを備えた構成が示されている。
この構成によれば、メインアンプとピークアンプのバイアスを制御することで、それぞれのマイクロ波トランジスタのONとOFFの状態を個別に動作設定することが可能となる。
特表2006−500883号公報 "A New High Efficiency Power Amplifier for Modulaed Waves"、Proceedings of the Institute of Radio Engineers、Vol.24、No.9、pp.1163−1182 September 1936 Hyun−chul Park、Ju−ho Van、Sung−chan Jung、Min−su Kim、Hajin Cho、Sung−wook Kwon、Jong−hyuk Jeong、Kyung−hoon Lim、Cheon−seok Park、Youngoo Yang、"A New Compact Load Network for Doherty Amplifier Using an Imperfect Quarter−Wave Line,"Microwave Theory and Techniques,IEEE Transactions on Volume 55、 Issue 11、 Nov.2007 Page(s):2313−2319
しかしながら、非特許文献2に開示された公知技術によれば、メインアンプとピークアンプに供給する電源ラインはドハティ合成回路で共通化されているため、ドハティ増幅器の小型化は実現するが、メインアンプとピークアンプのドレイン電圧が、常にそれぞれに対して供給され続けるため、メインアンプとピークアンプをそれぞれ独立した状態で、個別の動作効率を確認しながら最適に調整することが出来ない。
また、図5に、特許文献1に開示された公知技術の代表図を示す。特許文献1に開示された公知技術によれば、ドハティ合成部100にメインアンプとピークアンプの電源回路を一つにまとめた電源回路101を備え、更に、マイクロ波トランジスタのバイアスを制御するBIAS CONTROL部102とを備えた構成が示されている。しかしながら、メインアンプとピークアンプのバイアスを制御してRFデバイスを直流動作としてOFFできたとしても、両者のアンプが接続されるRF伝送線路は物理的につながっているため、やはりメインアンプとピークアンプのRF特性を、完全に独立して最適な状態に調整することはできないといった課題がある。
本発明は上記従来の課題を解決するもので、メインアンプとピークアンプ電源回路が一つに集約され、かつ、それぞれのアンプを完全に独立して最適に調整することができるドハティ合成回路及びドハティ増幅器を提供することを目的とする。
本発明は、二つのアンプの出力信号を90度の位相差を加えて合成するλ/4ラインと、λ/4ラインの合成部のインピーダンスを出力負荷インピーダンスへ変換するインピーダンス変換回路と、インピーダンス変換回路に接続された電源ラインと、メインアンプの伝送ラインを開放するDCスイッチAと、ピークアンプの伝送ラインを開放するDCスイッチBとを有して構成されることを特徴とする。
本発明の第1の態様として、ドハティ増幅器を構成する二つの高周波アンプのうちのメインアンプから出力されるRF信号を入力するRF入力Aと、前記二つの高周波アンプのうちのピークアンプから出力されるRF信号を入力するRF入力Bと、前記二つの高周波アンプの出力信号を90度の位相差を加えて合成するλ/4ラインと、前記λ/4ラインの合成部のインピーダンスを出力負荷インピーダンスへ変換するインピーダンス変換回路と、前記インピーダンス変換回路に接続された電源ラインと、前記RF入力Aからλ/4ラインとの間に挿入されたコントロール電圧VcontAで動作をOPENとSHORTに切り替え可能なDCスイッチAと、前記RF入力Bからλ/4とインピーダンス変換回路の合成部との間に挿入されたコントロール電圧VcontBで動作をOPENとSHORTに切り替え可能なDCスイッチBと、前記電源ラインに接続した歪みを抑圧する高調波制御回路と、を有して構成されるドハティ合成回路を提供する。
本発明の第2の態様として、上記のドハティ合成回路に加え、入力信号を90度の位相差を加えて分離する入力分配器と、A級またはAB級にバイアスされたメインアンプと、B級またはC級にバイアスされたピークアンプと、前記DCスイッチAと前記DCスイッチBをRF入力信号のレベルに応じて切り替え制御するRFレベル検出部と、を有して構成されるドハティ増幅器を提供する。
本発明の第3の態様として、入力信号を90度の位相差を加えて分離する入力分配器と、A級またはAB級にバイアスされたメインアンプと、B級またはC級にバイアスされたピークアンプと、前記メインアンプと前記ピークアンプの出力信号を90度の位相差を加えて合成するλ/4ラインと、前記λ/4ラインの合成部のインピーダンスを出力負荷インピーダンスへ変換するインピーダンス変換回路と、前記インピーダンス変換回路に接続された電源ラインと、高周波を短絡する高周波短絡回路と、前記メインアンプから出力されるRF信号を入力するRF入力Aから前記λ/4ラインとの間に挿入されたコントロール電圧VcontCで動作をSHORTと前記高周波短絡回路への接続とに切り替え可能なDCスイッチCと、前記ピークアンプから出力されるRF信号を入力するRF入力Bから前記λ/4とインピーダンス変換回路の合成部との間に挿入されたコントロール電圧VcontBで動作をOPENとSHORTに切り替え可能なDCスイッチBと、前記電源ラインに接続した歪みを抑圧する高調波制御回路と、を有して構成されるドハティ増幅器を提供する。
本発明のドハティ合成回路によれば、メインアンプとピークアンプが共に高周波増幅動作をさせる出力領域においてのみ、DCスイッチAとDCスイッチBを同時にONさせるため、両アンプのDC成分が不必要に干渉することがないという理由から、メインアンプとピークアンプの電源回路が一つに集約されて回路が小型化できる。
また、本発明のドハティ合成回路は、メインアンプとピークアンプの電源回路が一つに集約されているため、単体アンプ調整時と、ドハティアンプ構成時とで電源回路は全く同じものであり、いずれのアンプの調整時でも電源回路による高周波特性への影響は不変であるという理由から、単体アンプの調整とドハティ増復器としての調整の繰り返しが不要である。
さらに、本発明のドハティ合成回路は、機械的なDCスイッチを動作させることで、物理的に伝送線路が切断されるのでDC成分とともに、高周波信号も同時に切り離すことができるという理由から、メインアンプとピークアンプを完全に独立して最適に調整することができる。
本実施の形態では、ドハティ増幅器において電源回路を小型化し、さらには、メインアンプとピークアンプをドハティ増幅器として構成した時にRF特性が変化することなく、それぞれ独立して、個別に最適な状態に調整するという目的を最小の部品点数で実現した。
ドハティ増幅器は、メインアンプとピークアンプと呼ばれる2個の増幅器としてのFETを並列に接続して構成される。通常の並列増幅器は、2個のFETのゲートバイアス条件を同じにして使用するが、ドハティ増幅器では、メインアンプはAB級またはB級にバイアス設定し、ピークアンプはC級にバイアス設定する。
入力レベルが低いとき、ピークアンプはC級にバイアス設定しているのでオフ状態で電力を消費せず、メインアンプにより入力信号が増幅される。入力レベルが一定値以上になると、メインアンプは飽和し始めるが、ピークアンプがオン状態となり、メインアンプの飽和による利得低下分を補うように動作する。このように、ドハティ増幅器は平均電力とピーク電力の比が大きな信号に対して、信号レベルが高くなったときだけピークアンプが動作するので、高効率に動作することができる。
(実施の形態1)
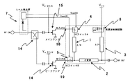
図1は、本発明の実施の形態1におけるドハティ合成器を示す図である。メインアンプから出力されるRF信号を入力するRF入力A18と、ピークアンプから出力されるRF信号を入力するRF入力B19と、ドハティ増幅器を構成する二つの高周波アンプの出力信号を90度の位相差を加えて合成するλ/4ライン1と、λ/4ラインの合成部のインピーダンスを出力負荷インピーダンスへ変換するインピーダンス変換回路2と、インピーダンス変換回路に接続された電源ライン3と、コントロール電圧VcontAで動作をOPENとSHORTに切り替え可能なDCスイッチA4と、コントロール電圧VcontBで動作をOPENとSHORTに切り替え可能なDCスイッチB5と、電源ラインに接続した歪みを抑圧する高調波制御回路6から構成されている。
以上のように構成されたドハティ合成器において、その動作原理を図1を用いて説明する。例えばメインアンプを調整するときには、DCスイッチB5をOPENにして、DCスイッチA4をSHORTに設定する。そうすることで、電源ライン3からメインアンプへは電源電圧が供給されるが、ピークアンプへは電源が供給されない。さらに、DCスイッチに機械的なスイッチを使用することでRF伝送ラインは物理的に切断されるため、ピークアンプへのRF伝送ラインは高周波的にも切り離され、メインアンプはピークアンプとはDC成分と高周波成分の共に干渉することなく、完全に独立して調整することができる。
反対に、ピークアンプを単体で調整するときには、DCスイッチB5をSHORTにして、DCスイッチA4をOPENにすることで、メインアンプと同様にピークアンプを完全に独立して調整することができる。
また、マイクロ波増幅器における電源回路は、マイクロ波トランジスタで発生する歪み成分を抑圧するといったDC電源の供給以外に高周波特性に対しても非常に重要な役割がある。その歪みを抑圧する動作を最良に調整するには、電源の周辺回路の条件を厳しく管理する必要がある。特に、電源回路に接続されるコンデンサの容量や、そのコンデンサの物理的な実装位置の影響は非常に大きい。そのため、メインアンプまたはピークアンプに接続される電源ラインを物理的に切り離して片側の単体アンプを調整した時と、両者の電源ラインを同時にON接続してドハティ増幅器として構成させた時とでは、電源回路の物理的な条件が異なるので、単体アンプの調整時と比べて歪み等のRF特性が変化してしまうという課題に対して、上記したドハティ合成器の構成とすれば、DCスイッチA4、またはDCスイッチB5を切り替えたとしても、マイクロ波トランジスタで発生する歪みの抑圧に重要となる電源ライン3と高調波制御回路6の物理的な配置や回路インピーダンスは不変であるため、マイクロ波トランジスタで発生する歪み成分の抑圧に関わる電源ラインの条件は変化しない動作が実現できる。
また、ドハティ増幅器として動作させるときには、DCスイッチA4とDCスイッチB5を同時にSHORTに設定すれば良い。その時にも、電源ライン3と高調波制御回路6の状態は不変であるため、歪みの抑圧に関わる電源ラインの条件は単体アンプ調整時から変化することはない。そのため、単体アンプの調整時と、ドハティ増幅器を構成したときの電源回路の影響は全く同じであることから、単体アンプの調整とドハティ増幅器としての調整において後戻りや繰り返し調整は発生しない。
また、図1では、DCスイッチA4、およびDCスイッチB5の制御は、コントロール電圧Vcontで表現したが、機械的な手動切り替え手段でも良い。
また、図1の例では、DCスイッチA4、およびDCスイッチB5は、機械的なスイッチを模しているが、当然のことながら、同様な効果を有するダイオードやFET、MEMS等で構成されたスイッチを用いても同様の効果を得ることができる。
(実施の形態2)
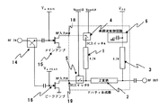
図2は、本発明の実施の形態2におけるドハティ増幅器を示す図である。入力信号を90度の位相差を加えて分離する入力分配器14と、A級またはAB級にバイアスされたメインアンプ15と、B級またはC級にバイアスされたピークアンプ16と、メインアンプ15とピークアンプ16の出力信号を90度の位相差を加えて合成するλ/4ライン1と、λ/4ラインの合成部のインピーダンスを出力負荷インピーダンスへ変換するインピーダンス変換回路2と、インピーダンス変換回路に接続された電源ライン3と、コントロール電圧VcontAで動作をOPENとSHORTに切り替え可能なDCスイッチA4と、コントロール電圧VcontBで動作をOPENとSHORTに切り替え可能なDCスイッチB5と、電源ラインに接続した歪みを抑圧する高調波制御回路6と、DCスイッチAとDCスイッチBをRF入力信号のレベルに応じて切り替え制御するRFレベル検出部7とから構成されている。
次に、図2を用いて上記のように構成されたドハティ増幅器の動作を説明する。ドハティ増幅器の基本動作は、RF入力信号のレベルが小さいときにはメインアンプ15のみが動作して、ピークアンプ16の動作をOFFすることで、RFアンプとしての過剰な出力マージンを確保することがなくなり、高効率で動作させることができるというものである。この動作の理想は、ピークアンプがOFFであるときに、メインアンプ15のRF出力電力が全てRF_OUTに現れることである。すなわち、λ/4ライン1とインピーダンス変換回路2の合成部から見た、ピークアンプ16のインピーダンスが無限大(OPEN)となり、RF出力電力のピークアンプ16の出力部への流入を無視できることである。図2の構成によれば、RF入力信号のレベルに応じてRFレベル検出部7がDCスイッチA4を切り替えることができるので、メインアンプ15だけをONさせるRF入力信号のレベルでは、ピークアンプ16が強制的に切り離され、λ/4ライン1とインピーダンス変換回路2の合成部から見たピークアンプ16のインピーダンスは無限大となり、低入力レベル領域における理想の動作状態が実現する。さらに、RF入力信号のレベル高くなったときには両方のDCスイッチをSHORTにすることで、通常のドハティ増幅器として動作させることが可能となる。スイッチを切り替えるためのRF入力レベルは、所望のドハティ増幅器の特性を得るように任意に設定すれば良い。
また、DCスイッチをONとOFFのみの単純な機械スイッチではなく、例えばON抵抗を可変できるFETで形成された半導体スイッチを使用し、RFレベル検出部7からの制御信号をRF入力レベルに応じて段階的に変化させることで、λ/4ライン1とインピーダンス変換回路2の合成部から見たピークアンプのインピーダンスの変化を、ピークアンプがONしてから飽和動作に至るまでの間で細かく制御できるため、ドハティ増幅器としての線形性や効率といった所望の特性を調整することが可能となる。
RFレベル検出部7は、例えばダイオードを用いた検波回路で簡単に構成できるが、当然のことながら、熱的な検出回路や、その他のパワー検出手段を用いても構わない。
また、RFレベル検出部7からの制御信号とRFレベルの関係は、所望の特性が得られるように、比例、反比例、対数比例、逆対数比例といったあらゆる関係を適応して構わない。
(実施の形態3)
図4は、本発明の実施の形態3におけるドハティ増幅器を示す図である。入力信号を90度の位相差を加えて分離する入力分配器14と、A級またはAB級にバイアスされたメインアンプ15と、B級またはC級にバイアスされたピークアンプ16と、メインアンプ15とピークアンプ16の出力信号を90度の位相差を加えて合成するλ/4ライン1と、λ/4ラインの合成部のインピーダンスを出力負荷インピーダンスへ変換するインピーダンス変換回路2と、インピーダンス変換回路に接続された電源ライン3と、高周波を短絡する高周波短絡回路13と、コントロール電圧VcontCで動作をSHORTと高周波短絡回路に切り替え可能なDCスイッチC17と、コントロール電圧VcontBで動作をOPENとSHORTに切り替え可能なDCスイッチB5と、電源ラインに接続した歪みを抑圧する高調波制御回路6と、DCスイッチC17とDCスイッチB5をRF入力信号のレベルに応じて切り替えを制御するRFレベル検出部7とから構成されている。
次に、図4を用いて上記のように構成されたドハティ増幅器の動作を説明する。図4の構成によれば、実施の形態2で説明したと同様に、RF入力信号のレベルの小さい領域ではRFレベル検出部7がDCスイッチB5を切り替えて、メインアンプ15だけをONさせるので、低入力レベル領域におけるドハティ増幅器の理想の動作状態が実現する。
さらに、RF入力信号のレベルが高くなったときには、両方のDCスイッチをSHORTにすることで、通常のドハティ増幅器として動作させることが可能となる。
また、ピークアンプ16をシングルアンプとして単体で動作させるには、DCスイッチB5をSHORTにし、DCスイッチC17を高周波短絡回路13に切り替える。このようにすることで、ピークアンプ16の出力とインピーダンス変換回路2の合成部から見たλ/4ライン1は、λ/4のショートスタブとなり、RF主信号の周波数に対するインピーダンスが開放に見える。そのため、ピークアンプ16の出力とインピーダンス変換回路2の合成部から見たλ/4ライン1が高周波特性に影響を与えることはない。図4では、高周波短絡回路13を片側の電極がGNDに接地されたコンデンサで簡易的に表現しているが、λ/4のオープンスタブを用いても同様な効果を得ることができる。
また、ドハティ増幅器として動作させるときには、DCスイッチC12とDCスイッチB5を同時にSHORTに設定すれば良い。
また、使用するDCスイッチをONとOFFのみの単純な機械スイッチではなく、例えばON抵抗を可変できるFETで形成された半導体スイッチを使用し、RFレベル検出部7からの制御信号をRFレベルに応じて段階的に変化させることで、λ/4ライン1とインピーダンス変換回路2の合成部から見たピークアンプ16のインピーダンスの変化を、ピークアンプ16がONしてから飽和動作に至るまでの間で細かく制御できるため、ドハティ増幅器としての線形性や効率といった所望の特性を調整することが可能となる。
また、この構成によれば、メインアンプ15とピークアンプ16の単体調整時に効果を得ることのみならず、メインアンプ15とピークアンプ16のどちらか一方をシングルアンプとして動作させて用いる場合にも、高周波電力の損失を受けることなく使用することが可能となる。
また、RFレベル検出部7は、例えばダイオードによる検波回路で構成できるが、当然のことながら、熱検出回路や、その他の検出手段を用いても構わない。
また、RFレベル検出部7からの制御信号とRFレベルの関係は、所望の特性が得られるように、比例、反比例、対数比例、逆対数比例といったあらゆる関係を適応して構わない。
本発明のドハティ合成回路は、DCスイッチAとDCスイッチBを設けて、メインアンプとピークアンプの電源回路を一つに集約しているので、回路を小型化できる。また、メインアンプとピークアンプが共に電源供給が必要な高周波増幅動作をさせる出力領域においてのみ、DCスイッチAとDCスイッチBを同時にONさせるため、両アンプ間に加えられるDC成分が干渉するのを抑制できる。
本発明のドハティ合成回路は、機械的なDCスイッチA(またはDCスイッチB)を動作させることで、DC成分とともに、高周波信号も同時に切り離すことができるので、メインアンプとピークアンプを完全に独立して最適に調整することができる。
高周波増幅器の分野以外にも、トランジスタを複数個並列して動作させる電力増幅システムにも適用できる。
本発明の実施の形態1を示した説明図 本発明の実施の形態2を示した説明図 ドハティ増幅器の基本構成を示した図 本発明の実施の形態3を示した説明図 特表2006−500883に示す従来例の図
符号の説明
1 λ/4ライン
2 インピーダンス変換回路
3 電源ライン
4 DCスイッチA
5 DCスイッチB
6 高調波制御回路
7 RF入力レベル検出部
8 メインアンプ
9 ピークアンプ
10 λ/4ライン
11 インピーダンプ変換回路
12 入力分配器
13 高周波短絡回路
14 入力分配回路
15 メインアンプ
16 ピークアンプ
17 DCスイッチC
18 RF入力A
19 RF入力B
100 90度位相変換回路
101 電源回路を備えたインピーダンス変換回路
102 バイアス制御回路

Claims (3)

  1. ドハティ増幅器を構成する二つの高周波アンプのうちのメインアンプから出力されるRF信号を入力するRF入力Aと、
    前記二つの高周波アンプのうちのピークアンプから出力されるRF信号を入力するRF入力Bと、
    前記二つの高周波アンプの出力信号を90度の位相差を加えて合成するλ/4ラインと、
    前記λ/4ラインの合成部のインピーダンスを出力負荷インピーダンスへ変換するインピーダンス変換回路と、
    前記インピーダンス変換回路に接続された電源ラインと、
    前記RF入力Aからλ/4ラインとの間に挿入されたコントロール電圧VcontAで動作をOPENとSHORTに切り替え可能なDCスイッチAと、
    前記RF入力Bからλ/4とインピーダンス変換回路の合成部との間に挿入されたコントロール電圧VcontBで動作をOPENとSHORTに切り替え可能なDCスイッチBと、
    前記電源ラインに接続した歪みを抑圧する高調波制御回路と、
    を有して構成されるドハティ合成回路。
  2. 請求項1に記載されるドハティ合成回路に加え、
    入力信号を90度の位相差を加えて分離する入力分配器と、
    A級またはAB級にバイアスされたメインアンプと、
    B級またはC級にバイアスされたピークアンプと、
    前記DCスイッチAと前記DCスイッチBをRF入力信号のレベルに応じて切り替え制御するRFレベル検出部と、
    を有して構成されるドハティ増幅器。
  3. 入力信号を90度の位相差を加えて分離する入力分配器と、
    A級またはAB級にバイアスされたメインアンプと、
    B級またはC級にバイアスされたピークアンプと、
    前記メインアンプと前記ピークアンプの出力信号を90度の位相差を加えて合成するλ/4ラインと、
    前記λ/4ラインの合成部のインピーダンスを出力負荷インピーダンスへ変換するインピーダンス変換回路と、
    前記インピーダンス変換回路に接続された電源ラインと、
    高周波を短絡する高周波短絡回路と、
    前記メインアンプから出力されるRF信号を入力するRF入力Aから前記λ/4ラインとの間に挿入されたコントロール電圧VcontCで動作をSHORTと前記高周波短絡回路への接続とに切り替え可能なDCスイッチCと、
    前記ピークアンプから出力されるRF信号を入力するRF入力Bから前記λ/4とインピーダンス変換回路の合成部との間に挿入されたコントロール電圧VcontBで動作をOPENとSHORTに切り替え可能なDCスイッチBと、
    前記電源ラインに接続した歪みを抑圧する高調波制御回路と、
    を有して構成されるドハティ増幅器。
JP2008197579A 2008-07-31 2008-07-31 ドハティ合成回路及びドハティ増幅器 Expired - Fee Related JP5099908B2 (ja)

Priority Applications (1)

Application Number Priority Date Filing Date Title
JP2008197579A JP5099908B2 (ja) 2008-07-31 2008-07-31 ドハティ合成回路及びドハティ増幅器

Applications Claiming Priority (1)

Application Number Priority Date Filing Date Title
JP2008197579A JP5099908B2 (ja) 2008-07-31 2008-07-31 ドハティ合成回路及びドハティ増幅器

Publications (2)

Publication Number Publication Date
JP2010035103A true JP2010035103A (ja) 2010-02-12
JP5099908B2 JP5099908B2 (ja) 2012-12-19

Family

ID=41739027

Family Applications (1)

Application Number Title Priority Date Filing Date
JP2008197579A Expired - Fee Related JP5099908B2 (ja) 2008-07-31 2008-07-31 ドハティ合成回路及びドハティ増幅器

Country Status (1)

Country Link
JP (1) JP5099908B2 (ja)

Cited By (2)

* Cited by examiner, † Cited by third party
Publication number Priority date Publication date Assignee Title
WO2012146002A1 (zh) * 2011-04-29 2012-11-01 中兴通讯股份有限公司 一种多合体功率放大器及其实现方法
EP2541759A4 (en) * 2011-04-29 2014-10-29 Zte Corp DOHERTY POWER AMPLIFIER AND METHOD FOR ITS USE

Families Citing this family (1)

* Cited by examiner, † Cited by third party
Publication number Priority date Publication date Assignee Title
EP4325720A4 (en) * 2021-12-22 2024-11-13 Suzhou Watech Electronics Co., Ltd. DOHERTY AMPLIFIER AND OUTPUT NETWORK THEREFOR AND DESIGN METHODS FOR DOHERTY AMPLIFIER

Citations (5)

* Cited by examiner, † Cited by third party
Publication number Priority date Publication date Assignee Title
JPS6320906A (ja) * 1986-07-14 1988-01-28 Nec Corp 並列運転増幅器の出力レベル低下防止回路
JP2002217657A (ja) * 2000-11-14 2002-08-02 Japan Radio Co Ltd 電力増幅器の並列運転システム
JP2003008452A (ja) * 2001-06-22 2003-01-10 Nec Saitama Ltd 電力分配合成方法及び電力分配合成回路
JP2006500883A (ja) * 2002-09-20 2006-01-05 トライクウィント セミコンダクター,インコーポレーテッド 複数の出力電力レベルを有する線形電力増幅器
JP2008061124A (ja) * 2006-09-01 2008-03-13 Sony Ericsson Mobilecommunications Japan Inc 電力増幅装置および携帯電話端末

Patent Citations (5)

* Cited by examiner, † Cited by third party
Publication number Priority date Publication date Assignee Title
JPS6320906A (ja) * 1986-07-14 1988-01-28 Nec Corp 並列運転増幅器の出力レベル低下防止回路
JP2002217657A (ja) * 2000-11-14 2002-08-02 Japan Radio Co Ltd 電力増幅器の並列運転システム
JP2003008452A (ja) * 2001-06-22 2003-01-10 Nec Saitama Ltd 電力分配合成方法及び電力分配合成回路
JP2006500883A (ja) * 2002-09-20 2006-01-05 トライクウィント セミコンダクター,インコーポレーテッド 複数の出力電力レベルを有する線形電力増幅器
JP2008061124A (ja) * 2006-09-01 2008-03-13 Sony Ericsson Mobilecommunications Japan Inc 電力増幅装置および携帯電話端末

Cited By (3)

* Cited by examiner, † Cited by third party
Publication number Priority date Publication date Assignee Title
WO2012146002A1 (zh) * 2011-04-29 2012-11-01 中兴通讯股份有限公司 一种多合体功率放大器及其实现方法
US8754709B2 (en) 2011-04-29 2014-06-17 Zte Corporation Doherty power amplifier and implementation method thereof
EP2541759A4 (en) * 2011-04-29 2014-10-29 Zte Corp DOHERTY POWER AMPLIFIER AND METHOD FOR ITS USE

Also Published As

Publication number Publication date
JP5099908B2 (ja) 2012-12-19

Similar Documents

Publication Publication Date Title
JP6612910B2 (ja) スイッチト増幅器
US20140015603A1 (en) Multi-Band/Multi-Mode Power Amplifier with Signal Path Hardware Sharing
KR102133926B1 (ko) 낮은 위상 변화를 갖는 광대역 가변 이득 증폭기
JP2010021719A (ja) ドハティ増幅器
JPH1056340A (ja) 高周波増幅器
JP2011030069A (ja) 高周波増幅器
JP2018085635A (ja) 電力増幅器
JP2011097638A (ja) 可変利得増幅器
JP5099908B2 (ja) ドハティ合成回路及びドハティ増幅器
JPWO2020166196A1 (ja) 双方向増幅器
JP2006332829A (ja) 増幅器
CN118074635A (zh) 一种基于电流复用技术的频段可重构低噪声放大器
US8970445B2 (en) Radio device
JP5425316B2 (ja) 出力モード切替え増幅器
JP4838572B2 (ja) 安定化回路、マルチバンド増幅回路
WO2019221175A1 (ja) 増幅回路
JP2014068120A (ja) マイクロ波増幅器
JP2005260703A (ja) 電力合成型増幅器
JP2007006164A (ja) 増幅器
JP2005341447A (ja) 高周波電力増幅器
TWI683533B (zh) 放大電路
KR102900235B1 (ko) 저소음 증폭기 및 대응하는 rf 프론트엔드 모듈, 방법 및 이동 단말기
JP2009118254A (ja) 高周波信号出力回路
JP2011023841A (ja) 広帯域利得可変型増幅器
JPWO2020208813A1 (ja) ドハティ増幅回路

Legal Events

Date Code Title Description
A621 Written request for application examination

Free format text: JAPANESE INTERMEDIATE CODE: A621

Effective date: 20110610

A977 Report on retrieval

Free format text: JAPANESE INTERMEDIATE CODE: A971007

Effective date: 20120509

A131 Notification of reasons for refusal

Free format text: JAPANESE INTERMEDIATE CODE: A131

Effective date: 20120515

A521 Written amendment

Free format text: JAPANESE INTERMEDIATE CODE: A523

Effective date: 20120530

TRDD Decision of grant or rejection written
A01 Written decision to grant a patent or to grant a registration (utility model)

Free format text: JAPANESE INTERMEDIATE CODE: A01

Effective date: 20120828

A01 Written decision to grant a patent or to grant a registration (utility model)

Free format text: JAPANESE INTERMEDIATE CODE: A01

A61 First payment of annual fees (during grant procedure)

Free format text: JAPANESE INTERMEDIATE CODE: A61

Effective date: 20120924

FPAY Renewal fee payment (event date is renewal date of database)

Free format text: PAYMENT UNTIL: 20151005

Year of fee payment: 3

R150 Certificate of patent or registration of utility model

Free format text: JAPANESE INTERMEDIATE CODE: R150

LAPS Cancellation because of no payment of annual fees