JP2010032045A - 真空バルブと真空バルブのための閉鎖板 - Google Patents

真空バルブと真空バルブのための閉鎖板 Download PDF

Info

Publication number
JP2010032045A
JP2010032045A JP2009168462A JP2009168462A JP2010032045A JP 2010032045 A JP2010032045 A JP 2010032045A JP 2009168462 A JP2009168462 A JP 2009168462A JP 2009168462 A JP2009168462 A JP 2009168462A JP 2010032045 A JP2010032045 A JP 2010032045A
Authority
JP
Japan
Prior art keywords
rod
closing plate
valve
propulsion
closing
Prior art date
Legal status (The legal status is an assumption and is not a legal conclusion. Google has not performed a legal analysis and makes no representation as to the accuracy of the status listed.)
Granted
Application number
JP2009168462A
Other languages
English (en)
Other versions
JP5433330B2 (ja
Inventor
Bernhard Duelli
ドゥエリ ベルンハルト
Current Assignee (The listed assignees may be inaccurate. Google has not performed a legal analysis and makes no representation or warranty as to the accuracy of the list.)
VAT Holding AG
Original Assignee
VAT Holding AG
Priority date (The priority date is an assumption and is not a legal conclusion. Google has not performed a legal analysis and makes no representation as to the accuracy of the date listed.)
Filing date
Publication date
Application filed by VAT Holding AG filed Critical VAT Holding AG
Publication of JP2010032045A publication Critical patent/JP2010032045A/ja
Application granted granted Critical
Publication of JP5433330B2 publication Critical patent/JP5433330B2/ja
Expired - Fee Related legal-status Critical Current
Anticipated expiration legal-status Critical

Links

Images

Classifications

    • FMECHANICAL ENGINEERING; LIGHTING; HEATING; WEAPONS; BLASTING
    • F16ENGINEERING ELEMENTS AND UNITS; GENERAL MEASURES FOR PRODUCING AND MAINTAINING EFFECTIVE FUNCTIONING OF MACHINES OR INSTALLATIONS; THERMAL INSULATION IN GENERAL
    • F16KVALVES; TAPS; COCKS; ACTUATING-FLOATS; DEVICES FOR VENTING OR AERATING
    • F16K51/00Other details not peculiar to particular types of valves or cut-off apparatus
    • F16K51/02Other details not peculiar to particular types of valves or cut-off apparatus specially adapted for high-vacuum installations
    • FMECHANICAL ENGINEERING; LIGHTING; HEATING; WEAPONS; BLASTING
    • F16ENGINEERING ELEMENTS AND UNITS; GENERAL MEASURES FOR PRODUCING AND MAINTAINING EFFECTIVE FUNCTIONING OF MACHINES OR INSTALLATIONS; THERMAL INSULATION IN GENERAL
    • F16KVALVES; TAPS; COCKS; ACTUATING-FLOATS; DEVICES FOR VENTING OR AERATING
    • F16K3/00Gate valves or sliding valves, i.e. cut-off apparatus with closing members having a sliding movement along the seat for opening and closing
    • F16K3/30Details
    • F16K3/314Forms or constructions of slides; Attachment of the slide to the spindle

Landscapes

  • Engineering & Computer Science (AREA)
  • General Engineering & Computer Science (AREA)
  • Mechanical Engineering (AREA)
  • Sliding Valves (AREA)
  • Details Of Valves (AREA)

Abstract

【課題】できる限り正確にバルブ駆動部の少なくとも1つの推進ロッドに取付けることが可能で、自己整合ができ、短時間で手間無く再び取り外すことが可能で、真空バルブの動作中に真空空間内で発生する自由材料粒子の存在を低く抑えることのできる、真空バルブの閉鎖板を提供する。
【解決手段】流路Fの気密封止のための真空バルブ1に関し、前記真空バルブ1は、円筒形接続部を有する少なくとも一つの推進ロッド7と、前記推進ロッド7に脱着自在に設けられ、前記接続部に対応した少なくとも一つの第一ロッド凹部を有する閉鎖板11と、を備える。
【選択図】図1

Description

本発明は、請求項1の序文に従う、少なくとも1つの推進ロッドに着脱自在に設けられた閉鎖板を備えた流路の気密シールのための真空バルブに関し、請求項12の序文に従う閉鎖板に関する。
バルブハウジングに形成された開口につながる流路を実質的に気密シールするための真空バルブは、先行技術の種々の実施例によって知られている。真空ゲートバルブは、特にICと半導体の製造分野において用いられており、汚染粒子の存在しない出来る限り保護された雰囲気の中で用いる必要がある。例えば、半導体ウエハや液晶基板の製造プラントにおいて、敏感な半導体又は液晶素子が複数のプロセスチャンバを順に通過して、夫々のチャンバにおいて、チャンバ内にある半導体素子が、加工装置によって処理されている。プロセスチャンバ内で処理されている間も、プロセスチャンバからプロセスチャンバへ移動する間も、敏感な半導体素子は、常に保護された雰囲気、特に真空中に保たれなければならない。プロセスチャンバは、例えば連絡路によって、互いに接続されており、1つのプロセスチャンバから次へ部品を移動させるために、真空ゲートバルブによってプロセスチャンバは開くことができ、各製造段階を実行するために、その間も気密シールが保たれるようになっている。上記利用分野において、このようなバルブは真空切替バルブとも呼ばれており、また、矩形の開口横セクションのために、矩形ゲートとも呼ばれている。
特にシールと駆動技術の分野において、真空バルブの種々の実施例が、先行技術によって知られている。各駆動技術に応じて、特にゲートバルブ間で区別がされて、バルブゲート又は矩形ゲートやシャトルバルブと呼ばれ、その先行技術におけるゲートの開閉は、一般的に2段階で行なわれる。第一段階において、特に閉鎖板のバルブが閉じることに関し、例えば米国特許第6,416,037号(Geiser)又は米国特許第6,056,266号(Blecha)に開示されたゲートバルブの場合において、バルブシートと略平行に開口部に向かって直線的に移動し、又は、例えば米国特許第6,089,537号(Olmsted)で開示されたシャトルバルブの場合には、結果的に閉鎖板とバルブハウジングのバルブシートとが接触することなく枢軸まわりに回転する。第二段階において、閉鎖板は、その閉じた側からバルブハウジングのバルブシートに押圧され、開口部は気密シールされる。例えば、バルブプレートの閉じた側に設けられ、開口部周りのバルブシートに向かって押圧されるシールリングか、又は、バルブプレートの閉じた側が押圧されるバルブシート上のシールリングによって、シールは実行可能である。シールリングは、溝に保持される及び/又は加硫によって取付けられる。
閉鎖とシールプロセスが単一の直線運動によって行なわれるゲートバルブも知られている。このようなバルブは、例えばスイス国のハーグにあるVAT Vakuumventile株式会社製の製品名MONOVATシリーズ02と03の切替バルブで、矩形挿入バルブとして設計されている。このバルブの設計と動作モードは、例えば米国特許第4,809,950号(Geiser)や米国特許第4,881,717号(Geiser)に記載されている。そこに記載されたバルブは、そのハウジングにおいて、バルブ経路の軸方向から見た場合、一方が他方の後方に来るようなセクションを有しており、連続曲線を経て水平方向外側を走る平坦なシールセクションとなるようなシール面を有しており、一部であるこのシール面の仮想発生器は、バルブ経路の軸と平行な複数のセクションを有している。このシール面は、機械加工によるものである。閉鎖部材は、周辺閉鎖シールのための閉鎖部材に対応した接触面を有している。より詳細には、いわゆるバルブゲートは、ゲートハウジングと、平面上置換可能な閉鎖部材によって閉鎖可能なゲート経路とを有している。閉鎖部材の閉鎖位置に置かれた閉鎖部材に設けられた周辺閉鎖シールに対抗するシール面が、ゲート経路に設けられており、このシール面の仮想の直線発生器が、ゲート経路の軸と平行に設けられている。ワンピースの周辺閉鎖シールは、異なる平面に設けられた、異なる長さ及び/又は形状のセクションを有しており、周辺閉鎖シールの2つの主セクションは、ゲート経路の軸と直角な面に設けられ、距離を隔てている。この周辺閉鎖シールの2つの主セクションは、横方向のセクションによって接続されている。閉鎖部材は、ハウジングのシール面の形状に対応した面を有しており、周辺封鎖シールをキャリーしている。周辺封鎖シールの横方向セクションはU 字状である。いずれの場合にも、これらのU字状横方向セクションの周縁部は、平面上に設けられている。軸に平行な共通の直線的な発生器を有している領域においてシールの主セクションと接触するために、ゲート経路の軸方向から見た場合に一方が他方の後方に設けられたシール面のそれらセクションは、横方向外側を走る平坦なシール面セクションになる。これらの平坦なシール面セクションは、互いに平行で、ゲート経路と平行な平面上に設けられている。閉鎖部材がワンパートを備えているので、大きな加速力に晒すことができ、このバルブは高速で緊急の封鎖にも用いることができる。閉鎖とシールを、単一の直線運動によって行なうことができるので、バルブの非常に高速の開閉が可能である。
直線運動によって閉じることのできるこのような切替バルブのための適切な駆動部が、特開平6−241344号公報(Buriida Fuuberuto)に記載されている。そこに記載された駆動部は、閉鎖部材が設けられた推進ロッドの直線変位のための偏心して設けられたレバーを有する。
切替バルブが用いられているので、とりわけ敏感な半導体素子の製造において、特にバルブの動作によって生じる粒子の生成や、バルブ空間における自由粒子の数が、可能な限り低く保たれる必要がある。粒子の生成は、主として例えば金属−金属間接触による摩擦の結果であり、特に、バルブクロージャとバルブハウジング又はバルブシート間、そしてバルブクロージャとバルブクロージャが固定され、駆動部と接続される推進ロッドとの間の摩擦による。
粒子生成を回避するための特別な試みは、バルブ駆動部の推進ロッドとバルブクロージャ、特に閉鎖板との間の接続にある。
一方で、バルブハウジングにおける精密なガイドや閉鎖板のバルブシートへの正確な押し付けが、バルブの閉じた状態における閉鎖板の高い負荷容量に関連した望まれない材料の接触無しで可能なように、閉鎖板は推進ロッドとしっかりと接続されている必要がある。推進ロッド上の閉鎖板の望まれない相対的移動は、それによって生じる材料の摩擦のせいで、バルブ空間内の高純度雰囲気を汚染する粒子の生成につながる。従って、先行技術においては、推進ロッドと閉鎖板間の堅固な接触が一般的に要求されてきた。その目的は、閉鎖板を押圧する際に、均一なシール接触を許容し、特にシール部材の過度の磨耗を避けるために、閉鎖板の閉鎖面をバルブシートに可能な限り平行に位置合わせすることである。推進ロッドと閉鎖板間の堅固な位置合わせされた接続の代わりに、限られた範囲で移動可能な接続も同様に可能であって、押圧時に閉鎖板は自分の位置を調整する。しかし、押圧時のこの自己整合は、常に推進ロッドと閉鎖板間の相対的移動をもたらし、結果的に、摩擦による汚染粒子が発生する。
他方で、メンテナンス及び/又は部品交換のために、閉鎖板は、解体に困難を伴うことなく、推進ロッドから取り外すことができ、再び取付けることができる必要がある。従って、困難なく脱着自在であるという接続に必要な条件は、しかし、推進ロッドからの閉鎖板の取り外しと取り付け時に、非常な努力を払うことによってのみ、摩擦材料の接触と粒子の発生を回避することが可能であることから、粒子発生を避けるという所望の目的との矛盾が生じる。閉鎖板と推進ロッド間の望まない相対的な移動の危険性は、もちろん、着脱自在の接続の方が、非着脱自在の、特に連結接続に較べて大きい。
閉鎖板の背面に2つの推進ロッドのための2つの開放半円凹部を提供することと、推進ロッドの横断穴を通り、凹部に形成されたネジ穴と係合するネジによって推進ロッドが取り付けられることが、先行技術で開示されている。推進ロッドの軸方向の接続は、ネジによって加えられ、推進ロッドと凹部の間の閉鎖板に垂直に働く力による摩擦接続と、閉じる方向にのみ作用する推進ロッドの肩状ステップによる連結接続の両方である。直線移動による閉鎖板の閉鎖の間と、閉鎖板をバルブシートに押圧する間、このステップは、推進ロッドを半円凹部の上縁で支持する。
このような固定方法は、例えば製品名MONOVATシリーズ02と03で知られ、矩形挿入バルブとして設計されているスイス国のハーグにあるVAT Vakuumventile株式会社製の切替バルブで用いられている。バルブシートに対する閉鎖板の正確な位置合わせを可能にするために、閉鎖板を取付けた後、ネジは初期的には緩めておいて、バルブ閉鎖時の摩擦を乗り越えることによって、推進ロッドと閉鎖板間の相対的な変位が可能であるようにする。次に、バルブは閉じられる。推進ロッドと閉鎖板間がまだ完全に固定されていないので、バルブプレート自体をバルブシートに対して正確に位置合わせする。さらに、肩状ステップが半円凹部の上縁にしっかりと置かれて、連結作用によって閉じる力が発生するまで、推進ロッドは初め、閉鎖板に対して動く直線調整経路に沿って摩擦結合によって保持されている。次のステップにおいて、ネジが締められて、推進ロッドに対する閉鎖板の移動はできなくなる。ネジを締めた結果として、2本の推進ロッドの2つの肩状ステップは、半円凹部の上縁にしっかりと置かれて、摩擦接触によってそこに固定される。大きな力が、推進ロッドと閉鎖板間の接続に対して、直線閉鎖方向にのみ働き、この大きな力は、肩状ステップによって、連動態様で吸収されるので、推進ロッドと閉鎖板間の実質的な変位は生じず、通常の真空バルブの動作中、摩擦による物質粒子の発生は相対的に低く抑えられている。ネジ締め前の位置合わせの結果として推進ロッド上に発生した粒子は、クリーニングによって除去される。閉鎖板を推進ロッドに固定するおかげで、ネジを再び緩めるまで、追加の粒子はほとんど発生しない。
閉鎖板と推進ロッド間の既知の接続の欠点は、閉鎖板を推進ロッドから取り外したり、閉鎖板を推進ロッドに取付けたりする際に、ネジを緩めたり締めたりするために、比較的多くの時間を要することである。ネジの挿入無しには、閉鎖板は推進ロッドに保持されない。推進ロッドが2本の場合、両方のネジがネジ穴に挿入されるまでは、閉鎖板は手動で保持される。取り外しの際には、逆のことが起きる。閉鎖板の正確な位置合わせのための上述の2段階のネジ締めが、今までに知られている接続方法では十分に解決することのできない問題である。より高速で、より便利に使用できて、閉鎖板を取付けた後に推進ロッドに対して相対的に正確に位置合わせができる、できる限り簡単な構造の接続部材が、
閉鎖板を推進ロッドに取付けるや否や、材料摩擦と粒子の発生を防止することを可能とするために、望ましい。
従って、本発明の目的は、できる限り正確にバルブ駆動部の少なくとも1つの推進ロッドに取付けることが可能で、自己整合ができ、短時間で手間無く再び取り外すことが可能で、真空バルブの動作中に真空空間内で発生する自由材料粒子の存在を低く抑えることのできる、真空バルブの閉鎖板を提供することである。
この目的は、独立請求項に定義された特徴を実現することによって達成される。代替的な方法又は有利な方法で発明をさらに発展させた特徴は、従属請求項に記載されている。
本発明が関係する真空バルブは、流路の気密シールに用いられ、この流路は一般的に2つの領域間の閉鎖可能な開放経路、特に半導体製造のプロセスチャンバと別のプロセスチャンバ又は外部との間の経路を意味する。この流路は、例えば、互いに接続された2つのプロセスチャンバ間の接続経路であって、プロセスチャンバは半導体部品を1つのプロセスチャンバから次へと移動させるために真空バルブによって開放可能なようになっており、次に、個別の製造段階を実行するために気密に封止されるようになっている。このような使用分野のために、これらのバルブは、真空切替バルブとも称され、その全体的に矩形の開放部断面のために、矩形ゲートとも称される。しかし、あらゆる所望の流路の実質的に気密シールするための真空バルブの他の用途も、もちろん、本発明の範囲である。この真空バルブは、流路のための開口部を有するバルブハウジングを備える。この開口部は、例えば矩形であって、流路の中間部にある開口領域まで延在する中央軸を有し、流路に対して平行である。この開口部軸は、例えば、開口部で定義される領域に対して垂直である。この開口部は、開口部周りに延在するバルブシート面で囲まれている。
さらに、真空バルブは少なくとも1本、好ましくは2本の推進ロッドを有している。閉鎖板は、少なくとも1つの推進ロッドに脱着自在に取り付けられている。この少なくとも1本の推進ロッドは、バルブ駆動部を経由して、実質的に開放軸を横断する、即ち閉鎖板平面上の開放軸に垂直に延在する仮想平面上の推進ロッド軸に沿って、直線的に調整可能である。推進ロッド軸は、好ましくは真直ぐな推進ロッドの中心軸と平行か、又は同一直線上にある。閉鎖板によって画定される閉鎖板の平面は、好ましくは実質的に開口部によって画定される領域と平行である。前記バルブ駆動部は、例えば先行技術から既知のバルブ駆動部によって形成される。単一の直線的動作によって閉鎖可能な真空バルブのための適切な駆動部は、特開平6-241344号公報(Buriida Fuuberuto)に記載されている。そこに記載されたバルブ駆動部は、推進ロッドの直線変位のための偏心して設けられたレバーを有している。このような駆動部や閉鎖板の場合に、閉じようとする力は実質的に推進ロッドの軸方向に作用するので、真空バルブの閉鎖は、推進ロッドに横方向に働く力を導かない。流路の圧力差のみが、横方向の力を生み出し、バルブハウジング上の閉鎖板を支持することによって推進ロッドが曲がるのを避けることができる。
代替的に、バルブ駆動部は、閉鎖と開放が2ステップで起きるような方法で形成される。第一のステップにおいて、閉鎖板は推進ロッド軸に沿って直線的にバルブシートと実質的に平行な開口部を動く。第二のステップにおいて、閉鎖板はその閉鎖側をバルブハウジングのバルブシートに押圧されて、開口部は気密封止される。駆動部の設計に依存して、これは推進ロッドの横方向に働く相当の力をもたらし、このために、推進ロッドは過度の曲がりを避けるために、適切に剛直な外形を有する必要がある。
推進ロッドの端部には、即ち、推進ロッド端には、円筒形接続部が形成されている。この接続部は、推進ロッド軸に垂直な面において、有効な接続部の辺りで推進ロッド軸に沿って実質的に一定の円形断面を有する。
少なくとも一つの推進ロッドに脱着自在に設けられた閉鎖板は、閉鎖側と、それに対向し実質的に平行な後部側とを有しており、閉鎖側と後部側は、反対方向を向いている。一つの実施例において、閉鎖板の平面は、中央を走り、閉鎖側と後部側とに対して平行である。
加えて、閉鎖板はバルブシート面に対応した閉鎖面を有している。「対応した」とは、開口部周りで閉鎖面とバルブシート面とが緊密に接触できるように、閉鎖板がその閉鎖面をバルブシート上に押圧可能なように、閉鎖面とバルブシート面とが形成されているという意味として理解される。駆動部によって閉鎖面とバルブシート面との間が封止接触されることによって、流路と開口部とは気密に閉じられ、閉鎖板の閉鎖側は開口部の方を向き、後部側は開口部から遠い方を向く。バルブシートの設計とバルブタイプに依存して、閉鎖面は推進ロッド軸が向いているのと同じサイドか、又は閉鎖側を向くことができる。閉鎖面の設計は、以下でより詳細に議論する。
推進ロッドの数に依存して、少なくとも一つの凹部を有する半円の第一ロッド凹部が、閉鎖面の、閉鎖側又は後部側に形成されている。第一ロッド凹部が形成された閉鎖板の側を、以下では固定サイドと称す。第一ロッド凹部は、推進ロッドの接続部に対応しており、接続部を第一ロッド凹部と結合できるようになっている。第一ロッド凹部は、特に半円チャネル形状、即ち、半円筒形シェル形状を有しており、チャネル形状、特に円筒形接続部に適合した接続部を設けることができる。
特に、閉鎖板平面において平行な2つの推進ロッドと2つの第一ロッド凹部とが設けられている。
少なくとも一つの推進ロッドの個別の接続部が、固定手段によって脱着自在に第一ロッド凹部に固定されている。
固定手段は、クランプ部品と機械的な固定部材、例えば少なくとも一つのネジの形状を有している。クランプ部品は、接続部に対応した半円第二ロッド凹部を有している。第二ロッド凹部も同様に、特に半円のチャネル形状、即ち、半円筒形シェル形状を有している。
半円形第一ロッド凹部と対向する半円形第二ロッド凹部とが、幅方向に調整可能な円筒形凹部領域を画定するように、機械的な固定部材によって、クランプ部品が閉鎖板の固定側に調整可能に設けられている。閉鎖ディスクを推進ロッドに設けた場合に、円筒形接続部は脱着自在にこの保持領域に保持される。推進ロッドは、その接続部を推進ロッド方向で保持領域内に導入することができ、反対方向に再び取り外すこともできる。
言い換えれば、閉鎖板の半円形第一ロッド凹部と、クランプ部品の半円形第二ロッド凹部とは互いに対向している。従って、ロッド凹部は実質的におよそ2つの完全な円筒形保持領域の半円形シェルを形成している。幅方向の調整機能は、クランプ部品と第二ロッド凹部とが、固定側と閉鎖板の平面と実質的に垂直な、閉鎖板の固定側と、第一ロッド凹部とに対して調整可能であるという事実によって、達成されている。従って、第一ロッド凹部と第二ロッド凹部との間の距離は、機械的固定部材によって、閉鎖板の平面と垂直な方向に可変である。保持領域の形状は、クランプ部品とロッド凹部の間隔との瞬間的な設定にある程度まで依存しているので、保持領域の形状は、厳密に円筒形ではなく、一定の距離まで円筒状であって、クランプ部品と閉鎖板のジョイントによって中断されている。同様に、半円形ロッド凹部の形状も、半円形や半円筒状シェルの形状と異なる場合がある。従って、第一ロッド凹部と第二ロッド凹部の形状は、全般的に、画定された保持領域が推進ロッドの円筒状接続部を保持するために適切であって、2つのロッド凹部間の間隔を狭めることによって、閉鎖板に対する推進ロッド軸上へのこの接続部の固定を可能にするという意味で理解される。もちろん、ロッド凹部の半円形状、即ち、半円筒状外形に対して、段差や溝やビーズによって、推進ロッド軸方向とそれを横断する方向の両方に割り込ませることが可能である。
推進ロッド軸の横方向に、即ち、推進ロッド軸と垂直な平面上に延在する空洞があり、その空洞内で、弾性ピンが、推進ロッド軸の横方向に、即ち、推進ロッド軸と垂直な平面上に延在しており、かつ、円筒状保持領域の接線方向に延在する空洞が、第一ロッド凹部又は第二ロッド凹部に形成され、弾性ピンはその外側面が円筒状保持領域に突出している。言い換えると、ピンは、保持領域の実質的に円形断面の割線を形成している。
好ましくは、ピンの両端は空洞内に固定されており、ピンの中央の非固定領域は、2つの端部の間にあって、部分的に空洞と、部分的に円筒状保持領域に延在している。ピンの中央領域が自由に延在し、固定されていないので、その長手方向と垂直な方向に弾力性を有し、円筒状保持領域の半径方向であって、ピンの外側面の外側で、ピンの中央領域に作用する力によって、ピンはその両端部を支点として曲がる。この曲げが、ピンの弾力性を生み出す。引き伸ばされたピンは、円形断面を有する円筒形状であったり、又は、楕円形、矩形、正方形、多角形、その他の断面を有する場合がある。一般的な円筒形の外側面は、ピンの外側面を形成する。
代替的に、ピンの一端部に対してのみ空洞に固定することができて、他端部は自由に動くことができて、その結果として、ピンの弾力性が向上する。
推進ロッドの接続部は、推進ロッド軸に対して垂直で、ピンに対応したジョイントを有している。ジョイントは、推進ロッドの接続部全体の周り又は接続部の周りを部分的に延在するか、又は、切り欠きの形状で横方向に形成されている。好ましくは、ジョイントは推進ロッド軸に対して垂直な平面上に延在している。
閉鎖板が推進ロッド上に設けられた状態で、接続部が保持領域に挿入されていて、クランプ部品と固定部材によって、ピンがその外側面をジョイントにクランプされるように、ジョイントは延在している。従って、ピンが推進ロッドを推進ロッド軸に沿って固定している。もしジョイントが、接続部周りを部分的にのみ延在している場合は、ジョイントは、接続部のピンと対向している側に形成される。
ジョイントは、ジョイント内側に傾いた略V字状の断面、又は、半円状断面、又は他の断面を有する。
ピンが接線方向に保持領域に向かって突出しているので、弾性収縮が保持領域内に形成されている。閉鎖板を取り付けるために、接続部が保持領域に一定の半径方向の遊び、即ち、間隔を空けた遊びを伴って挿入可能なように、保持領域の幅、即ち、ロッド凹部の間隔が調整される。閉鎖板を少なくとも一つの推進ロッドに取付けて、接続部を保持領域に挿入する際に、収縮を形成するピンが、最初に弾性的に変形して曲がって、空洞に押し込まれる。ひとたび閉鎖板が完全に取付けられて、接続部が完全に保持領域に挿入されると、ピンとジョイントは、同じ高さになって、曲げられたピンは部分的に緩和し、空洞から現れて、ジョイントと密に嵌合する。このピンがジョイントにクランプされることによって、閉鎖板は、部分的にかみ合った態様で、推進ロッド軸の軸方向に固定され、特に推進ロッドが下を向いた場合に、保持領域の幅の調整を必要とせずに、閉鎖板が下向きに滑るのを避けるように、軸方向に保持される。このように、閉鎖板は固定部材の機械的調整無しに、部分的に固定されている。
この固定状態で、閉鎖板の推進ロッドに対する精密な位置合わせが、バルブを閉じて、閉鎖板をバルブシートに押圧することによって達成される。結果的に、閉鎖板はバルブシート表面に対して正確に自己整合し、そして、閉鎖板は少なくとも一つの推進ロッド上の所望の位置に設けられる。この高度に精密に位置合わせされた状態において、クランプ部品は固定部材によって調整可能であり、そして、2つの対向するロッド凹部が推進ロッドの接続部をクランプするように、保持領域の開口幅を小さくすることができ、接続部は摩擦接続によって固定されている。結果的に、曲げられたピンは、さらに変形して、ジョイントによりしっかりとクランプされ、その結果、閉鎖板の推進ロッド上への軸方向の固定度合が増す。
閉鎖板が容易に推進ロッドに対して位置合わせできるので、固定部材の調整は、最後の固定段階でのみ必要であって、軸方向の固定には、かみ合わせと摩擦の両方が用いられ、閉鎖板の少なくとも一つの推進ロッド上への取り付けと取り外しが、迅速かつ容易に可能である。また、固定部材の多重調整と、予備的な軸方向のかみ合わせ固定と、追加の最終的な軸方向のかみ合わせ固定とを避けたおかげで、粒子の発生は低いレベルで保たれる。
閉鎖板を閉じた位置に有する真空バルブとバルブ駆動部の斜視図である。 閉鎖板が開いた位置の真空バルブの正面図である。 (a)閉鎖板の横断面と推進ロッドの斜視図である。(b)閉鎖板と推進ロッドの断面図である。 クランプ部品の詳細図である。 クランプ部品の断面図である。 (a)閉じた位置での閉鎖板とクランプ部品の正面図である。(b)開いた位置での閉鎖板とクランプ部品の正面図である。 閉じた位置での閉鎖板とクランプ部品の別の実施例の正面図である。
図1から図6(b)は、本発明に係る一つの実施例を異なる視点、状態及び詳細さで示しており、従って、これらの図に関してはある程度一緒に説明される。図7は真空バルブの別の実施例の詳細図である。共通の参照番号が、各図に対して用いられており、詳細な実施例において部分的に異なるものに対し、すでに説明した部品番号は、再度の説明を省略する。
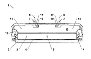
図1と図2は、それぞれ斜視図と正面図で、流路を矢印Fで示した気密封止のための矩形ゲートを有する真空バルブ1を示している。図3(a)、3(b)、6(a)、6(b)は、図1と図2の真空バルブ1の推進ロッド7の端部を含む、閉鎖板11とそのコンポーネントを示している。
真空バルブ1は、流路Fに対する開口部3を備えたバルブハウジング2を有している。開口部3は、丸みのある角を備えた矩形断面を有している。図1は、閉じた位置Cにおける真空バルブ1を示しており、そのため、開口部3は隠されていて見えない。一方で、図2において真空バルブ1の開放位置Oにおいて、開口部3は明示されている。開口部3は、流路F中にあって、流路Fと平行な、開口部3の領域に延在する中央開放軸5を有している。この開放軸5は、開放部によって画定される仮想の領域に対し、垂直に延在している。開放軸5が垂直に通過する多数の仮想平面の内側で、開口部3の周りを曲がっているバルブシート面4によって、開口部3は囲まれている。バルブシート面4は、バルブ駆動部6の方向に向かって上を向いている。
加えて、真空バルブ1は、平坦な閉鎖板11を有している。閉鎖板11は、バルブシート面4と対応し、バルブシート面方向に下を向き、同様に開放軸5が垂直に通過する多数の虚の面の内側で曲がっている閉鎖面13を有している。
真空バルブ1は、開放軸5と略垂直な推進ロッド軸8に沿ってバルブ駆動部6によって直線的に調整可能な2本の推進ロッド7を有している。言い換えると、推進ロッド軸8は、開放軸5と垂直な面に対して平行に走っている。
図3(a)、3(b)に示すように、推進ロッド7は、それぞれの推進ロッド端部9に、円筒型接続部10を有している。面12を画定する閉鎖板11は、脱着自在に2本の推進ロッド7上に取り付けられている。閉鎖板の仮想平面12は、図1に矩形で示している。閉鎖板11は、閉鎖側26とそれと略平行で対向する背面側15とを有している。加えて、閉鎖板11は、バルブシート面4に対応し、バルブシート面との気密接触によって流路Fを気密封止する閉鎖面13を有している。この接触は、閉鎖板11が推進ロッド軸8に沿って直線的に動き、この閉鎖板の閉鎖面13が、バルブハウジング2のバルブシート4に押圧されるように、バルブ駆動部6が働くことによって生み出される。閉鎖板11の閉鎖側26は開口部3を向き、背面側15は、開口部3を背にしている。
バルブ駆動部6は、推進ロッド7が推進ロッド軸8に沿ってバルブ駆動部6によって直線的に調整可能となるように形成されている。バルブシート面4は、曲がって閉じた態様で、開口部3を囲んでいる。少なくとも部分的に曲がったバルブシート面4及び閉鎖面13の垂線は、閉鎖板の平面12と略平行である。従って、閉鎖面11は、バルブ駆動部6によって、2本の推進ロッド7の直線調整経路に沿って直線的に移動可能であり、2本の推進ロッド7は、推進ロッド軸8と平行である。閉鎖板11は、開放部3が開放された開放位置Oと、この開放部が気密に閉じられて、閉鎖板が開放部3まで直線的に移動して、閉鎖面13を直線調整経路の閉じる方向にバルブシート面4に向かって押圧する位置Cと、の間を移動する。
面に対する幾何学的垂線は、バルブシート面4と閉鎖面13とに垂直な線という意味で理解され、真空バルブ1が閉じた状態の時に、接触領域が開口部3の回りを延在している。この接触領域は、例えば、閉鎖面13とバルブシート面4の封止テープの接触面によって形成される。この定義は、一般的に、直線的に閉じる方向に真空バルブ1を閉じた時に、押圧は、即ち、閉鎖面13のバルブシート面4への圧力方向は、閉鎖板の面12に略平行な面上にあって、開放軸5と平行な方向のせん断力が、完全に又は実質的に回避されるように、バルブシート面4と閉鎖面13とが形成されていることを意味するものと理解される。直線調整経路は、好ましくは推進ロッド軸18と平行な、閉鎖板11の開いた位置Oと閉じた位置Cとの間の直線である。この態様で設計されたバルブシート面4と閉鎖面13とを有する真空バルブは、先行技術によって知られており、例えば、スイス国のハーグにあるVAT Vakuumventile株式会社製の製品名MONOVATシリーズ02と03の矩形挿入バルブである。このバルブの設計と動作モードは、例えば米国特許第4,809,950号(Geiser)や米国特許第4,881,717号(Geiser)に記載されているので、設計に関し、より詳細に議論することはここではしない。
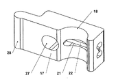
閉鎖板11は、接続部10に対応した(図6(a)、6(b)参照)2つの半円の第一ロッド凹部14を有しており、それらは閉鎖板11上の締め付け側に形成されている。締め付け側は、図1ないし図6(b)の実施例において、背面側15に形成されており、図7の実施例において、閉鎖側26に形成されている。
推進ロッド7の各接続部10は、クランプ部品17と機械的固定部材19とによって、脱着自在に2つの第一ロッド凹部14に固定されている。
図6(a)、6(b)に示すように、クランプ部品17は、接続部10に対応した半円形の第二ロッド凹部18を有している。図3(a)、3(b)、6(a)、6(b)に示すように、機械的固定部材19によって、クランプ部品17は調整自在に閉鎖板11の締め付け側15に取り付けられており、第一ロッド凹部14と第二ロッド凹部18が、幅方向に調整可能な円形保持領域20を形成し、この保持領域に円形接続部10が脱着自在に保持されるようになっている。図4、5に詳細を示すように、空洞21が推進ロッド軸8を横断して延在し、その中で弾性円形ピン22が推進ロッド軸8を横断し、円形保持領域20の接線方向に延在しており、この空洞21は第二ロッド凹部18に形成され、又は代替的に、第一ロッド凹部14に形成される。弾性ピン22は、その外側面23と共に、円形保持領域20に突出している。ピン22は、2つの端部が空洞21内で固定されており、ピン22の中間部は固定されておらず、円形保持領域に突出している。
図3(a)、3(b)に示すように、推進ロッド7の接続部10は、推進ロッド軸18を横断するジョイント16を有しており、ジョイント16はピン22と対応しており、ピン22はその横側面23がジョイント16内でクランプ部品17によってクランプされ、そして、推進ロッド7は推進ロッド軸8に沿って固定されている。ジョイント16は、推進ロッド軸8と垂直な平面上で、推進ロッド7の接続部10の周りに延在している。しかし、接続部10を囲むように延在するのではなく、ピン22を向いた推進ロッド7の接続部の片側に形成されるようにすることも、代替的に可能である。ジョイント16は、略V字状にジョイント16の内側を向いて傾いた断面、又は半円形断面、又は他の所望の断面を有している。
図示した実施例において、空洞21は第二ロッド凹部18に形成され、ピン22はクランプ部品17に設けられている。代替的に、空洞21とピン22とを、第一ロッド凹部14と閉鎖板11とにそれぞれ設けることもできる。
図1ないし6(b)において、どの場合にも、少なくとも一つのネジとしての機械的固定部材19が、閉鎖板の平面12と略垂直に延在するように形成されている。クランプ部品17が第一ロッド凹部14の側部に挿入されて、先端部28が閉鎖板11の締め付け側に形成されたアンダーカット25に挿入される。アンダーカット25は、クランプ部品17が閉鎖板11から遠ざかる方向に、閉鎖板の平面12と垂直になるように固定されるように形成されている。ネジ19は、第一穴24に設けられており、第一穴24は、閉鎖板11の締め付け側15から第一ロッド凹部14の方向に形成され、閉鎖板の平面12と略垂直になるように延在しており、そして、クランプ部品17の対応する第二穴27が、閉鎖板の平面12と略垂直になるように延在している。結果的に、アンダーカット25、第一穴24、第二穴27と、クランプ部品17の先端部28は、ネジ19がクランプ部品17を、てこの要領で押さえて、第二ロッド凹部18が推進ロッド7の接続部10に押圧されるように、設けられ形成されている。図6(a)は、ネジ19を締め付けた状態を示しており、そこでは推進ロッド7はしっかりと保持領域20に固定されている。一方、図6(b)では、推進ロッド7を保持領域20に出し入れできる状態を示しており、ピン22は推進ロッド軸7上の閉鎖板11を軸方向に固定する前の予備的状態を示している。
図1ないし図6(b)に示した第一実施例において、閉鎖板の第一穴24は、ネジ19が係合するネジ穴であって、ネジ19は第二穴27を遊びをもって通過する。
図7に示す第二実施例において、クランプ部品17の第二穴27は、ネジ19が係合するネジ穴であって、ネジ19は第一穴24を遊びをもって通過する。どちらの場合においても、ネジ19の頭は、閉鎖板11の背面側15に容易に近づけるようになっているが、第一実施例の場合には、クランプ部品17は背面側15に設けられており、第二実施例の場合には閉鎖側26に設けられており、第一実施例の場合には背面側15が、第二実施例の場合には閉鎖側26が、締め付け側となる。従って、第二実施例は閉鎖板11にネジ穴を必要としない。ネジ穴はクランプ部品17に形成されるからである。これは、閉鎖板11をアルミから製造する場合に、特に有利に働く。
単一の直線移動によって閉じることができる真空バルブ1を実施例に示したが、本発明には、実質的に推進ロッド8に沿って閉鎖板11が移動し、そして閉鎖板11がその閉鎖面13でバルブシート4を閉鎖板の平面12と垂直な方向に押圧することによって、開口部3が閉じることができるように形成されたバルブ駆動部6とバルブシート4と閉鎖面13を有する真空バルブが含まれる。
1 真空バルブ
2 バルブハウジング
3 開口部
4 バルブシート面
5 開放軸
6 バルブ駆動部
7 推進ロッド
8 推進ロッド軸
9 推進ロッド端
10 (推進ロッド7の)(円筒形)接続部
11 閉鎖板
12 閉鎖板平面
13 閉鎖面
14 (閉鎖板11上の)第一ロッド凹部
15 背面側(=締め付け側)
16 ジョイント
17 クランプ部品
18 (クランプ部品17上の)第二ロッド凹部
19 (機械的)固定部材=ネジ
20 (幅方向に調整可能な、円筒状の)保持領域
21 空洞
22 (弾性)ピン
23 (ピン22の)外側面
24 (閉鎖板の)第一穴
25 アンダーカット
26 閉鎖側(=締め付け側)
27 (クランプ部品17の)第二穴
28 (アンダーカット25におけるクランプ部品17の)先端部
F 流路
O 開いた位置
C 閉じた位置

Claims (15)

  1. 流路の気密封止のための真空バルブ(1)であって、
    前記真空バルブ(1)は、
    イ)流路(F)に沿った開放軸(5)を有する前記流路(F)のための開口部(3)と、前記開口部(3)が囲まれるバルブシート面(4)と、を有するバルブハウジング(2)と、
    ロ)バルブ駆動部(6)と、
    ハ)前記バルブ駆動部(6)によって、前記開放軸(5)に対して垂直な推進ロッド軸(8)に沿って直線的に移動可能であって、推進ロッド端(9)において円筒形の接続部(10)を有する、少なくとも一つの推進ロッド(7)と、
    二)少なくとも一つの前記推進ロッド(7)に脱着自在に設けられ、閉鎖板平面(12)を画定する閉鎖板(11)であって、
    閉鎖側(26)と、前記閉鎖側(26)に対して略平行で対向する背面側(15)と、
    前記バルブシート面(4)に対応し、前記バルブ駆動部(6)によって前記バルブシート面(4)と封止接触することによって、前記流路(F)を気密封止する閉鎖面(13)と、
    前記接続部(10)に対応し、前記閉鎖板(11)の前記閉鎖側(26)又は背面側(15)に形成された締め付け側(26;15)に設けられた少なくとも一つの半円形の第一ロッド凹部(14)と、
    を有し、
    前記閉鎖側(26)は前記開口部(3)を向き、前記背面側(15)は前記開口部(3)を背にした前記閉鎖板(11)と、
    ホ)前記推進ロッド(7)の前記接続部(10)を脱着自在に前記第一ロッド凹部(14)に固定するための締め付け手段と、
    を備えたものであり、
    前記締め付け手段は、
    前記半円形第一ロッド凹部(14)と対向する半円形第二ロッド凹部(18)とによって、幅方向に調整可能で、円筒形の前記接続部(10)を脱着自在に保持する円筒形保持領域(20)が形成されるように、前記接続部(10)に対応した半円形の第二ロッド凹部(18)を有するクランプ部品(17)と、前記クランプ部品(17)を前記閉鎖板(11)の前記締め付け側(26;15)に調整自在に取付けるための機械的固定手段(19)と、で構成されており、
    前記推進ロッド軸(8)を横断して延在する空洞(21)が、前記第一ロッド凹部(14)又は前記第二ロッド凹部(18)に形成され、前記空洞21内部で、弾性ピン(22)が前記推進ロッド軸(8)を横断して延在し、かつ、前記円筒形保持領域(20)の接線方向に延在し、前記弾性ピン(22)は、その横側面(23)が前記円筒形保持領域(20)に突出し、
    前記推進ロッド(7)の前記接続部(10)は、前記ピン(22)に対応したジョイント(16)を有し、そして、前記ピン(22)が、その横側面(23)を、前記推進ロッド軸(8)を横断する前記ジョイント(16)内のクランプ部品(17)によってクランプされ、前記推進ロッド(7)は、前記推進ロッド軸(8)に沿って固定されるように延在していることを特徴とする流路の気密封止のための真空バルブ。
  2. 前記ピン(22)は、その両端部を前記空洞(21)内で固定されて、固定されていない前記ピン(22)の中間部が、前記円筒形保持領域(20)に突出していることを特徴とする請求項1に記載の流路の気密封止のための真空バルブ。
  3. 前記ジョイント(16)が、前記推進ロッド軸(18)に対し垂直な面上で、前記推進ロッド(7)の前記接続部(10)の周りに延在していることを特徴とする請求項1又は2に記載の流路の気密封止のための真空バルブ。
  4. 前記ジョイント(16)が、前記推進ロッド(7)の前記接続部(10)の一側面上に形成され、この側面が前記ピン(22)に向いており、前記推進ロッド軸(18)に対し垂直な面上に延在していることを特徴とする請求項1又は2に記載の流路の気密封止のための真空バルブ。
  5. 前記ジョイント(16)が、先細の略V字状断面又は半円状断面を有していることを特徴とする請求項1ないし4のいずれか1項に記載の流路の気密封止のための真空バルブ。
  6. 前記空洞(21)が前記第二ロッド凹部(18)に形成され、前記ピン(22)が前記クランプ部品(17)に設けられていることを特徴とする請求項1ないし5のいずれか1項に記載の流路の気密封止のための真空バルブ。
  7. 前記機械的固定部材が、前記閉鎖板平面(12)に対し略垂直に延在する少なくとも一つのネジ(19)であって、
    前記クランプ部品(17)が前記第一ロッド凹部(14)の一側面に挿入されると共に、前記クランプ部品(17)の先端部(28)が前記閉鎖板(11)の前記締め付け側(26;15)に、前記クランプ部品(17)が前記閉鎖板(11)から遠い方向で、かつ、前記閉鎖板平面(12)と垂直な方向で固定されるように、形成されたアンダーカット(25)に挿入され、
    前記ネジ(19)が、前記閉鎖板(11)の前記締め付け側(26;15)上の前記第一ロッド凹部(14)の一側面に形成され、前記閉鎖板平面(12)に対し略垂直に延在する第一穴(24)と、前記クランプ部品(17)内に設けられ、前記閉鎖板平面(12)に対し略垂直に延在する第二穴(27)と、に挿入され、
    前記ネジ(19)によって、てこの原理で前記クランプ部品(17)の前記第二ロッド凹部(18)が、前記推進ロッド(7)の前記接続部(10)に押圧されるように、前記アンダーカット(25)、前記第一穴(24)、前記第二穴(27)、及び、前記クランプ部品(17)の前記先端部(28)が設けられていること
    を特徴とする請求項1ないし6のいずれか1項に記載の流路の気密封止のための真空バルブ。
  8. 前記第一穴(24)が、前記ネジ(19)が係合するネジ穴であって、前記ネジ(19)は前記第二穴(27)を通過することを特徴とする請求項7に記載の流路の気密封止のための真空バルブ。
  9. 前記第二穴(27)が、前記ネジ(19)が係合するネジ穴であって、前記ネジ(19)は前記第一穴(24)を通過することを特徴とする請求項7に記載の流路の気密封止のための真空バルブ。
  10. 前記バルブ駆動部(6)によって、前記推進ロッド軸(8)に沿って、前記推進ロッド(7)が直線的に調整可能であって、
    前記バルブシート面(4)が、前記開口部(3)の周りを閉じるように囲み、
    前記バルブシート面(4)の少なくとも一部と、前記閉鎖面(13)との垂線が、前記閉鎖板平面(12)に対し、略平行であり、
    前記閉鎖板(11)が、前記バルブ駆動部(6)によって、前記推進ロッド(7)の直線調整経路に沿って直線的に移動可能であり、
    前記調整経路が、前記推進ロッド軸(8)に平行で、前記開口部(3)を開放する開放位置(O)と、前記閉鎖板(11)が前記開口部上に移動して、前記閉鎖面(13)を直線調整経路上を前記バルブシート面(4)に向かって押圧して前記開口部(3)を気密封止する閉鎖位置(C)と、の間の経路である
    ことを特徴とする請求項1ないし9のいずれか1項に記載の流路の気密封止のための真空バルブ。
  11. 前記閉鎖板(11)が前記推進ロッド軸(8)に沿って前記開口部(3)上に動かされ、
    前記閉鎖板(11)の前記閉鎖面(13)が、前記バルブシート面(4)に対して、前記閉鎖板平面(12)と垂直な方向に押圧されることによって、
    前記開口部(3)が、閉鎖することができるように、
    前記バルブ駆動部(6)と、前記バルブシート面(4)と、前記閉鎖面(13)とが設けられていることを特徴とする請求項1ないし9のいずれか1項に記載の流路の気密封止のための真空バルブ。
  12. 請求項1ないし11のいずれか1項に記載の真空バルブのための閉鎖板であって、
    前記真空バルブ(1)が、流路(F)の気密封止のための、開口部(3)を備えたバルブハウジング(2)と、前記開口部(3)周りを閉じるように囲むバルブシート面(4)とを有し、
    前記閉鎖板(11)は、
    イ)閉鎖側(26)とそれに対し略平行で対向する背面側(15)と、
    ロ)前記真空バルブ(1)の前記バルブシート面(4)に対応する閉鎖面(13)と、
    ハ)前記閉鎖板(11)上の前記閉鎖側(26)又は背面側(15)に設けられた締め付け側(26;15)に形成され、
    前記閉鎖板(11)によって画定される閉鎖板平面(12)と略平行で、開放軸(5)を横断する推進ロッド軸(8)に沿ってバルブ駆動部(6)によって直線的に移動可能な、少なくとも一つの推進ロッド(7)の推進ロッド端(9)の円筒形接続部(10)に対応する、
    少なくとも一つの第一ロッド凹部(14)と、
    二)前記推進ロッド(7)の前記接続部(10)が前記第一ロッド凹部(14)に脱着自在に固定されるための、締め付け手段と、
    を備えており、
    少なくとも部分的にカーブした前記閉鎖面(13)と前記バルブシート面(4)との垂線が、前記閉鎖板平面(12)と略平行であって、
    前記閉鎖面(13)は、前記推進ロッド軸(8)と平行な調整経路の閉じる方向に、前記バルブシート面(4)に対して、前記遮蔽板(11)が前記開口部(3)上に直線的に移動して前記開口部が気密封止される閉鎖位置(C)まで押圧されることができ、
    前記締め付け手段は、
    前記接続部(10)に対応した半円形の第二ロッド凹部(18)を有するクランプ部品(17)と、前記クランプ部品(17)を調整可能に前記閉鎖板(11)の前記締め付け側(26;15)に取付けて、半円形の第一ロッド凹部(14)と対向する半円形の第二ロッド凹部(18)が、幅方向に調整可能で、前記接続部(10)を脱着自在に保持可能な円筒形保持領域(20)を形成するための、機械的固定部材(19)と、で構成され、
    前記推進ロッド軸(18)を横断するように延在する空洞(21)が、前記第一ロッド凹部(14)又は前記第二ロッド凹部(18)に形成され、
    前記空洞(21)の中で、弾性ピン22が前記推進ロッド軸(18)を横断するように延在し、前記円筒形保持領域(20)の接線方向に延在し、
    前記弾性ピン(22)の横側面(23)が前記円筒形保持領域(20)に突出して、前記ピン(22)の横側面(23)が前記クランプ部品(17)によってジョイント(16)内においてクランプ可能となり、
    前記ジョイント(16)は、前記推進ロッド(7)の前記接続部(10)内で、前記推進ロッド軸(8)を横断するように延在し、かつ、前記ピン(22)に対応し、
    前記推進ロッド(7)は、前記推進ロッド軸(8)に沿って固定することができる
    ことを特徴とする真空バルブのための閉鎖板。
  13. 前記ピン(22)は、その両端部を前記空洞(21)内で固定されて、固定されていない前記ピン(22)の中間部が、前記円筒形保持領域(20)に突出していることを特徴とする請求項12に記載の真空バルブのための閉鎖板。
  14. 前記空洞(21)が前記第二ロッド凹部(18)に形成され、前記ピン(22)が前記クランプ部品(17)に設けられていることを特徴とする請求項12又は13に記載の真空バルブのための閉鎖板。
  15. 前記機械的固定部材が、前記閉鎖板平面(12)に対し略垂直に延在する少なくとも一つのネジ(19)であって、
    前記クランプ部品(17)が前記第一ロッド凹部(14)の一側面に挿入されると共に、前記クランプ部品(17)の先端部(28)が前記閉鎖板(11)の前記締め付け側(26;15)に形成されたアンダーカット(25)に挿入され、前記クランプ部品(17)が前記閉鎖板(11)から遠ざかる方向に、かつ、前記閉鎖板平面(12)と垂直な方向に固定され、
    前記ネジ(19)が、前記閉鎖板(11)の前記締め付け側(26;15)上の前記第一ロッド凹部(14)の一側面に形成され、前記閉鎖板平面(12)に対し略垂直に延在する第一穴(24)と、前記クランプ部品(17)内に設けられ、前記閉鎖板平面(12)に対し略垂直に延在する第二穴(27)と、に挿入され、
    前記ネジ(19)によって、てこの原理で前記クランプ部品(17)の前記第二ロッド凹部(18)が、前記推進ロッド(7)の前記接続部(10)に押圧されるように、前記アンダーカット(25)、前記第一穴(24)、前記第二穴(27)、及び、前記クランプ部品(17)の前記先端部(28)が設けられていること
    を特徴とする請求項12ないし14のいずれか1項に記載の真空バルブのための閉鎖板。
JP2009168462A 2008-07-18 2009-07-17 真空バルブと真空バルブのための閉鎖板 Expired - Fee Related JP5433330B2 (ja)

Applications Claiming Priority (2)

Application Number Priority Date Filing Date Title
EP08012989.3 2008-07-18
EP08012989A EP2146122A1 (de) 2008-07-18 2008-07-18 Vakuumventil und Verschlussteller für ein Vakuumventil

Publications (2)

Publication Number Publication Date
JP2010032045A true JP2010032045A (ja) 2010-02-12
JP5433330B2 JP5433330B2 (ja) 2014-03-05

Family

ID=40139369

Family Applications (1)

Application Number Title Priority Date Filing Date
JP2009168462A Expired - Fee Related JP5433330B2 (ja) 2008-07-18 2009-07-17 真空バルブと真空バルブのための閉鎖板

Country Status (7)

Country Link
US (1) US7959130B2 (ja)
EP (1) EP2146122A1 (ja)
JP (1) JP5433330B2 (ja)
KR (1) KR101620966B1 (ja)
CN (1) CN101629650B (ja)
SG (1) SG158810A1 (ja)
TW (1) TWI468610B (ja)

Families Citing this family (11)

* Cited by examiner, † Cited by third party
Publication number Priority date Publication date Assignee Title
US8833383B2 (en) 2011-07-20 2014-09-16 Ferrotec (Usa) Corporation Multi-vane throttle valve
TWI656293B (zh) * 2014-04-25 2019-04-11 瑞士商Vat控股股份有限公司
KR101725250B1 (ko) * 2015-05-04 2017-04-11 프리시스 주식회사 진공밸브용 블레이드
KR20170029676A (ko) 2015-09-07 2017-03-16 주식회사 엠앤이 차폐 디스크 유동 억제 장치 및 이를 포함하는 진공 게이트 밸브
US11215296B2 (en) 2017-03-31 2022-01-04 Vat Holding Ag Valve, in particular vacuum valve
DE102019123563A1 (de) 2019-09-03 2021-03-04 Vat Holding Ag Vakuumventil für das Be- und/oder Entladen einer Vakuumkammer
US11520243B2 (en) * 2020-08-31 2022-12-06 Taiwan Semiconductor Manufacturing Company, Ltd. Lithography system and method thereof
DE102021102283A1 (de) 2021-02-01 2022-08-04 Vat Holding Ag Verschlussvorrichtung zum vakuumdichten Verschließen einer Öffnung in einer Wand
DE102021102284A1 (de) * 2021-02-01 2022-08-04 Vat Holding Ag Ventilplatte für eine Verschlusseinrichtung zum vakuumdichten Verschließen einer Öffnung in einer Wand
TWI867753B (zh) * 2022-09-23 2024-12-21 瑞士商Vat控股股份有限公司 真空閥的關閉組件
CN116816961B (zh) * 2023-08-23 2023-11-21 成都中科唯实仪器有限责任公司 一种常闭式真空阀门

Citations (14)

* Cited by examiner, † Cited by third party
Publication number Priority date Publication date Assignee Title
JPS5514120U (ja) * 1978-07-13 1980-01-29
JPS5754709U (ja) * 1980-09-16 1982-03-30
JPS60107417U (ja) * 1983-12-26 1985-07-22 日本航空電子工業株式会社 枢着装置のロック機構
JPS6446070A (en) * 1987-05-26 1989-02-20 Jiikufuriito Shierutoraa Valve slider with slider casing
JPH01111807U (ja) * 1988-01-20 1989-07-27
JPH01120404U (ja) * 1988-02-09 1989-08-15
JPH01218628A (ja) * 1988-01-23 1989-08-31 Schertler Siegried 真空設備の隔室
JPH02116069U (ja) * 1989-03-03 1990-09-17
JPH06241344A (ja) * 1993-02-16 1994-08-30 Vat Holding Ag アクチュエータ
US6056266A (en) * 1997-10-20 2000-05-02 Vat Holding Ag Device for closing an opening of a tank or a tubular conduit
US6089537A (en) * 1999-06-23 2000-07-18 Mks Instruments, Inc. Pendulum valve assembly
JP2002188757A (ja) * 2000-12-20 2002-07-05 West Japan Railway Co ケーブル類架設具
US6416037B1 (en) * 2001-01-11 2002-07-09 Vat Holding Ag Vacuum pipe
JP2008025835A (ja) * 2006-07-18 2008-02-07 Vat Holding Ag 真空弁、及び連結棒に取り付け可能な閉鎖ディスク

Family Cites Families (8)

* Cited by examiner, † Cited by third party
Publication number Priority date Publication date Assignee Title
US3367625A (en) * 1965-06-22 1968-02-06 Fortune Ronald Slide gate valves
US4524950A (en) * 1983-07-18 1985-06-25 Plasti-Fab, Inc. Open channel gate valve
US4964432A (en) * 1990-03-19 1990-10-23 Keystone International, Inc. Method and means for mounting valve member on valve stem
KR100960030B1 (ko) * 2004-03-12 2010-05-28 배트 홀딩 아게 진공 게이트 밸브
US20060124886A1 (en) * 2004-07-08 2006-06-15 Brenes Arthur J Gate valve
US7422653B2 (en) * 2004-07-13 2008-09-09 Applied Materials, Inc. Single-sided inflatable vertical slit valve
KR101474786B1 (ko) * 2006-05-05 2014-12-22 배트 홀딩 아게 진공밸브 구동장치
DE202006015675U1 (de) * 2006-10-12 2006-12-14 Hawle Armaturen Gmbh Bolzenverbindung zwischen Absperrscheibe und Spindelmutter einer Absperrarmatur

Patent Citations (16)

* Cited by examiner, † Cited by third party
Publication number Priority date Publication date Assignee Title
JPS5514120U (ja) * 1978-07-13 1980-01-29
JPS5754709U (ja) * 1980-09-16 1982-03-30
JPS60107417U (ja) * 1983-12-26 1985-07-22 日本航空電子工業株式会社 枢着装置のロック機構
JPS6446070A (en) * 1987-05-26 1989-02-20 Jiikufuriito Shierutoraa Valve slider with slider casing
US4809950A (en) * 1987-05-26 1989-03-07 Siegfried Schertler Valve slide with slide housing
JPH01111807U (ja) * 1988-01-20 1989-07-27
US4881717A (en) * 1988-01-23 1989-11-21 Siegried Schertler Vacuum chamber
JPH01218628A (ja) * 1988-01-23 1989-08-31 Schertler Siegried 真空設備の隔室
JPH01120404U (ja) * 1988-02-09 1989-08-15
JPH02116069U (ja) * 1989-03-03 1990-09-17
JPH06241344A (ja) * 1993-02-16 1994-08-30 Vat Holding Ag アクチュエータ
US6056266A (en) * 1997-10-20 2000-05-02 Vat Holding Ag Device for closing an opening of a tank or a tubular conduit
US6089537A (en) * 1999-06-23 2000-07-18 Mks Instruments, Inc. Pendulum valve assembly
JP2002188757A (ja) * 2000-12-20 2002-07-05 West Japan Railway Co ケーブル類架設具
US6416037B1 (en) * 2001-01-11 2002-07-09 Vat Holding Ag Vacuum pipe
JP2008025835A (ja) * 2006-07-18 2008-02-07 Vat Holding Ag 真空弁、及び連結棒に取り付け可能な閉鎖ディスク

Also Published As

Publication number Publication date
JP5433330B2 (ja) 2014-03-05
CN101629650B (zh) 2012-10-10
CN101629650A (zh) 2010-01-20
KR20100009516A (ko) 2010-01-27
US7959130B2 (en) 2011-06-14
US20100012878A1 (en) 2010-01-21
TW201022565A (en) 2010-06-16
EP2146122A1 (de) 2010-01-20
TWI468610B (zh) 2015-01-11
KR101620966B1 (ko) 2016-05-23
SG158810A1 (en) 2010-02-26

Similar Documents

Publication Publication Date Title
JP5433330B2 (ja) 真空バルブと真空バルブのための閉鎖板
JP2008025835A (ja) 真空弁、及び連結棒に取り付け可能な閉鎖ディスク
EP0453867B1 (en) Slit valve apparatus and method
KR20200145695A (ko) 게이트 밸브에 있어서의 밸브 로드에 대한 밸브판의 부착 구조, 및 그 부착 구조를 갖는 게이트 밸브
US10876639B2 (en) Mounting structure of valve plate with respect to valve rod
US8657257B2 (en) Gate valve
JP6758716B2 (ja) 真空バルブ用ブレード
TW201920870A (zh) 閘閥的安裝構造
JP5038895B2 (ja) ゲート装置
JP7638053B2 (ja) 真空封止弁
JP7584866B2 (ja) 真空封止弁の接続機構
JP3771797B2 (ja) ゲートバルブ
EP4080097A1 (en) Gate valve
JP3704294B2 (ja) ベルト固定機構
JP7281362B2 (ja) 連結部材
TWI871545B (zh) 用於半導體設備之門閥及其維護方法
JP2000136813A (ja) 真空処理装置における部品接続機構
KR20070053530A (ko) 반도체 소자 제조용 설비
KR20160024614A (ko) 게이트밸브
JP2682904C (ja)

Legal Events

Date Code Title Description
A621 Written request for application examination

Free format text: JAPANESE INTERMEDIATE CODE: A621

Effective date: 20120604

A977 Report on retrieval

Free format text: JAPANESE INTERMEDIATE CODE: A971007

Effective date: 20130809

A131 Notification of reasons for refusal

Free format text: JAPANESE INTERMEDIATE CODE: A131

Effective date: 20130827

A521 Written amendment

Free format text: JAPANESE INTERMEDIATE CODE: A523

Effective date: 20131009

TRDD Decision of grant or rejection written
A01 Written decision to grant a patent or to grant a registration (utility model)

Free format text: JAPANESE INTERMEDIATE CODE: A01

Effective date: 20131112

A61 First payment of annual fees (during grant procedure)

Free format text: JAPANESE INTERMEDIATE CODE: A61

Effective date: 20131209

R150 Certificate of patent or registration of utility model

Free format text: JAPANESE INTERMEDIATE CODE: R150

Ref document number: 5433330

Country of ref document: JP

Free format text: JAPANESE INTERMEDIATE CODE: R150

R250 Receipt of annual fees

Free format text: JAPANESE INTERMEDIATE CODE: R250

R250 Receipt of annual fees

Free format text: JAPANESE INTERMEDIATE CODE: R250

LAPS Cancellation because of no payment of annual fees