JP2010031876A - ディフューザーシステム - Google Patents

ディフューザーシステム Download PDF

Info

Publication number
JP2010031876A
JP2010031876A JP2009257762A JP2009257762A JP2010031876A JP 2010031876 A JP2010031876 A JP 2010031876A JP 2009257762 A JP2009257762 A JP 2009257762A JP 2009257762 A JP2009257762 A JP 2009257762A JP 2010031876 A JP2010031876 A JP 2010031876A
Authority
JP
Japan
Prior art keywords
diffuser
ring
drive
nozzle substrate
drive ring
Prior art date
Legal status (The legal status is an assumption and is not a legal conclusion. Google has not performed a legal analysis and makes no representation as to the accuracy of the status listed.)
Granted
Application number
JP2009257762A
Other languages
English (en)
Other versions
JP5442398B2 (ja
Inventor
Kurt Nenstiel
ネンスティール,カート
Current Assignee (The listed assignees may be inaccurate. Google has not performed a legal analysis and makes no representation or warranty as to the accuracy of the list.)
York International Corp
Original Assignee
York International Corp
Priority date (The priority date is an assumption and is not a legal conclusion. Google has not performed a legal analysis and makes no representation as to the accuracy of the date listed.)
Filing date
Publication date
Application filed by York International Corp filed Critical York International Corp
Publication of JP2010031876A publication Critical patent/JP2010031876A/ja
Application granted granted Critical
Publication of JP5442398B2 publication Critical patent/JP5442398B2/ja
Anticipated expiration legal-status Critical
Expired - Lifetime legal-status Critical Current

Links

Images

Classifications

    • FMECHANICAL ENGINEERING; LIGHTING; HEATING; WEAPONS; BLASTING
    • F04POSITIVE - DISPLACEMENT MACHINES FOR LIQUIDS; PUMPS FOR LIQUIDS OR ELASTIC FLUIDS
    • F04DNON-POSITIVE-DISPLACEMENT PUMPS
    • F04D27/00Control, e.g. regulation, of pumps, pumping installations or pumping systems specially adapted for elastic fluids
    • F04D27/02Surge control
    • F04D27/0253Surge control by throttling
    • FMECHANICAL ENGINEERING; LIGHTING; HEATING; WEAPONS; BLASTING
    • F04POSITIVE - DISPLACEMENT MACHINES FOR LIQUIDS; PUMPS FOR LIQUIDS OR ELASTIC FLUIDS
    • F04DNON-POSITIVE-DISPLACEMENT PUMPS
    • F04D17/00Radial-flow pumps, e.g. centrifugal pumps; Helico-centrifugal pumps
    • F04D17/08Centrifugal pumps
    • FMECHANICAL ENGINEERING; LIGHTING; HEATING; WEAPONS; BLASTING
    • F04POSITIVE - DISPLACEMENT MACHINES FOR LIQUIDS; PUMPS FOR LIQUIDS OR ELASTIC FLUIDS
    • F04DNON-POSITIVE-DISPLACEMENT PUMPS
    • F04D29/00Details, component parts, or accessories
    • F04D29/002Details, component parts, or accessories especially adapted for elastic fluid pumps
    • FMECHANICAL ENGINEERING; LIGHTING; HEATING; WEAPONS; BLASTING
    • F04POSITIVE - DISPLACEMENT MACHINES FOR LIQUIDS; PUMPS FOR LIQUIDS OR ELASTIC FLUIDS
    • F04DNON-POSITIVE-DISPLACEMENT PUMPS
    • F04D29/00Details, component parts, or accessories
    • F04D29/05Shafts or bearings, or assemblies thereof, specially adapted for elastic fluid pumps
    • F04D29/056Bearings
    • FMECHANICAL ENGINEERING; LIGHTING; HEATING; WEAPONS; BLASTING
    • F04POSITIVE - DISPLACEMENT MACHINES FOR LIQUIDS; PUMPS FOR LIQUIDS OR ELASTIC FLUIDS
    • F04DNON-POSITIVE-DISPLACEMENT PUMPS
    • F04D29/00Details, component parts, or accessories
    • F04D29/40Casings; Connections of working fluid
    • F04D29/42Casings; Connections of working fluid for radial or helico-centrifugal pumps
    • F04D29/44Fluid-guiding means, e.g. diffusers
    • F04D29/46Fluid-guiding means, e.g. diffusers adjustable
    • F04D29/462Fluid-guiding means, e.g. diffusers adjustable especially adapted for elastic fluid pumps
    • F04D29/464Fluid-guiding means, e.g. diffusers adjustable especially adapted for elastic fluid pumps adjusting flow cross-section, otherwise than by using adjustable stator blades
    • FMECHANICAL ENGINEERING; LIGHTING; HEATING; WEAPONS; BLASTING
    • F16ENGINEERING ELEMENTS AND UNITS; GENERAL MEASURES FOR PRODUCING AND MAINTAINING EFFECTIVE FUNCTIONING OF MACHINES OR INSTALLATIONS; THERMAL INSULATION IN GENERAL
    • F16BDEVICES FOR FASTENING OR SECURING CONSTRUCTIONAL ELEMENTS OR MACHINE PARTS TOGETHER, e.g. NAILS, BOLTS, CIRCLIPS, CLAMPS, CLIPS OR WEDGES; JOINTS OR JOINTING
    • F16B5/00Joining sheets or plates, e.g. panels, to one another or to strips or bars parallel to them
    • F16B5/02Joining sheets or plates, e.g. panels, to one another or to strips or bars parallel to them by means of fastening members using screw-thread
    • FMECHANICAL ENGINEERING; LIGHTING; HEATING; WEAPONS; BLASTING
    • F05INDEXING SCHEMES RELATING TO ENGINES OR PUMPS IN VARIOUS SUBCLASSES OF CLASSES F01-F04
    • F05DINDEXING SCHEME FOR ASPECTS RELATING TO NON-POSITIVE-DISPLACEMENT MACHINES OR ENGINES, GAS-TURBINES OR JET-PROPULSION PLANTS
    • F05D2210/00Working fluids
    • F05D2210/10Kind or type
    • F05D2210/12Kind or type gaseous, i.e. compressible
    • FMECHANICAL ENGINEERING; LIGHTING; HEATING; WEAPONS; BLASTING
    • F05INDEXING SCHEMES RELATING TO ENGINES OR PUMPS IN VARIOUS SUBCLASSES OF CLASSES F01-F04
    • F05DINDEXING SCHEME FOR ASPECTS RELATING TO NON-POSITIVE-DISPLACEMENT MACHINES OR ENGINES, GAS-TURBINES OR JET-PROPULSION PLANTS
    • F05D2250/00Geometry
    • F05D2250/50Inlet or outlet
    • F05D2250/52Outlet
    • YGENERAL TAGGING OF NEW TECHNOLOGICAL DEVELOPMENTS; GENERAL TAGGING OF CROSS-SECTIONAL TECHNOLOGIES SPANNING OVER SEVERAL SECTIONS OF THE IPC; TECHNICAL SUBJECTS COVERED BY FORMER USPC CROSS-REFERENCE ART COLLECTIONS [XRACs] AND DIGESTS
    • Y10TECHNICAL SUBJECTS COVERED BY FORMER USPC
    • Y10STECHNICAL SUBJECTS COVERED BY FORMER USPC CROSS-REFERENCE ART COLLECTIONS [XRACs] AND DIGESTS
    • Y10S415/00Rotary kinetic fluid motors or pumps
    • YGENERAL TAGGING OF NEW TECHNOLOGICAL DEVELOPMENTS; GENERAL TAGGING OF CROSS-SECTIONAL TECHNOLOGIES SPANNING OVER SEVERAL SECTIONS OF THE IPC; TECHNICAL SUBJECTS COVERED BY FORMER USPC CROSS-REFERENCE ART COLLECTIONS [XRACs] AND DIGESTS
    • Y10TECHNICAL SUBJECTS COVERED BY FORMER USPC
    • Y10STECHNICAL SUBJECTS COVERED BY FORMER USPC CROSS-REFERENCE ART COLLECTIONS [XRACs] AND DIGESTS
    • Y10S417/00Pumps

Landscapes

  • Engineering & Computer Science (AREA)
  • General Engineering & Computer Science (AREA)
  • Mechanical Engineering (AREA)
  • Structures Of Non-Positive Displacement Pumps (AREA)

Abstract

【課題】圧縮機が作動している間に容易に開閉できる、可変容量圧縮機用の可変形状ディフューザーを提供することを課題とする。
【解決手段】圧縮機(100)は、ハウジング(120)内に回転可能に取り付けられているインペラ(124)と、前記インペラ(124)に隣接して前記ハウジング(120)に固定されている基板(126)を含んでいる。基板(126)は、ハウジング(120)と協働して、ディフューザー間隙(134)を画定する。駆動リング(250)には、駆動リング(250)の動きに応じて動くディフューザーリング(130)が接続されている。ディフューザーリング(130)は、間隙開口部を絞り、ディフューザー間隙(134)を通って流れる流体の量を制御するため、ディフューザー間隙(134)内にない引込位置とディフューザー間隙(134)内の伸張位置との間の任意の位置に配置することができる。
【選択図】図2

Description

本発明は、遠心圧縮機に関しており、より具体的には、可変容量ターボ圧縮機のディフューザー内の流れを制御するためのシステムに関する。
遠心圧縮機は、流体を圧縮する必要のある様々な装置に使うことができる。装置には、例えば、タービン、ポンプ、冷凍機等が含まれる。圧縮機は、回転するインペラの上に流体を流すことによって作動する。インペラは、流体に、流体の圧力を上げるように作用する。インペラの作動は、流れの中に逆の圧力勾配を作り出すので、多くの圧縮機の設計には、流体の流れを安定させるため、インペラの出口にディフューザーが配置されている。
圧縮機を通って流れる流体の量、又は圧縮機によって作り出される圧力差を変えることが必要な場合も多い。しかしながら、圧縮機を通る流体の流れを減らして同じ圧力差をインペラの前後で維持しようとすれば、圧縮機を通る流体の流れが不定になることが多い。流体の一部は圧縮機内で失速し、失速した流体のポケットは、インペラと共に回転し始める。これらの失速した流体のポケットは、ノイズを作り出し、振動を発生させ、圧縮機の効率を低下させる点で問題である。この状態は、回転失速又は初生サージとして知られている。流体の流れがもっと少なくなると、流体の流れは更に不安定になり、多くの場合、流体の流れが完全に逆転する。この現象は、サージと呼ばれているが、圧縮機を通って流体が交互に前後に揺動することが特徴である。流体のサージは、ノイズを作り出し、振動を発生させ、圧縮機効率を下げるだけでなく、圧力の急激な上昇を作り出し、圧縮機を損傷することになりかねない。
失速及びサージによって生じる問題の解決策は、インペラ出口のディフューザーの形状を変えることである。低い流体流量で運転する場合、インペラの出口の面積を減らすようにディフューザーの形状を狭くする。面積を減らすと、流体が失速し最終的にはインペラを通って揺動逆流するのを防ぐことができる。流体の流量が増したら、ディフューザーの形状を拡げて、追加の流れのために面積を広げればよい。圧縮機の作り出す圧力差が変化したときには、可変形状ディフューザーも調整することができる。圧力差が大きくなったら、流体の失速とサージを防ぐために、ディフューザーの形状を狭めてインペラ出口の面積を減らせばよい。同様に、圧力差が小さくなったら、ディフューザーの形状を拡げて、インペラの出口の面積を大きくすればよい。
ディフューザーの形状を変えるための装置が、幾つか先行技術に開示されている。例えば、Snellへの米国特許第5,116,197号は、可変容量圧縮機用の可変形状ディフューザーを開示している。この装置、及びこれに類似したこの他の装置は、インペラ出口のディフューザーの形状を変えるため選択的に調整することのできる可動式駆動リングを含んでいる。このリングは、ディフューザーの1つの壁に隣接して配置されており、流体の流れの中に押し出してディフューザーの面積を少なくし、流体の流れの低下又は圧力差の増大に対処できるようになっている。
リングを流体の流れの中に配置すると、この既知の装置は、リングと壁との間に開口部を作り、その中へインペラを出た流体が流れ込む。リングを流体の流れの外に動かそうとすると、流体をリングと壁との間から取り除かなければならない。流体は壁の動きに逆らうように作用するので、この流体を押しのけてリングを動かすには、相当量の力を必要とする。
Snellの特許に記載されているような装置は、駆動リングがノズル基板上を案内されているので高価である。ノズル基板は、その円筒形の外側表面に精密機械加工の軌道が機械加工されている。駆動リングは、その内径に、対応する球体ポケットを含んでいる。ボールは、ノズル基板と駆動リングの間に取り付けられており、軌道とポケット内を滑動し、装置は、駆動リングとノズル基板が非接続状態にならないようにしながら、駆動リングの回転運動を軸方向運動に変換する。しかしながら、このアッセンブリは、駆動リングの内径とノズル基板の外径との間に精密な許容差を維持しなければならないので、製作するのに費用が掛かる。更に、駆動リング上の球体ポケットは、ノズル基板上の軌道と整合しなければならない。更に、摩耗すると、最終的には駆動リングとノズル基板の両方を交換することになる。
他の方法が、関らへ発行されたUS2002/0014088A1に記載されている。この方法では、流体の流れの中に配置されるリングがケーシングで支持されている。ケーシングからの3つの突起が、ディフューザーリングの外周面上の溝に嵌め込まれている。ケーシングとディフューザーリングの間の摩擦接触を抑制するため、各突起には軸受が使用されている。ディフューザーリングは、シャフトに接続されている。シャフトが回転すると、ブラケットを介してディフューザーリングが円周方向に回転する。この円周方向の運動によって、突起がディフューザーリングを溝に沿って軸方向運動するように案内するにつれて、ディフューザーリングは軸方向に動く。この方法は効果的だが、突起をケーシング内に正確に配置しなければならないので費用が掛かる。シャフトを回転させるためのねじ付きシャフトとモーターも、このアッセンブリの費用を膨らませる。
米国特許第5,116,197号明細書 米国特許第6,139,262号明細書
以上を鑑み、圧縮機が作動している間に容易に開閉できる、可変容量圧縮機用の可変形状ディフューザーが必要とされている。この可変形状ディフューザーは、安価に製造することができ、組み立て易く、修理や取替えが簡単で、且つ制御器からの信号又は指令に応じて正確に位置決めするための確かな係合を提供しなければならない。
本発明は、流体を圧縮するための可変容量遠心圧縮機用のシステムを提供する。この圧縮機は、ハウジング内に回転可能に取り付けられたインペラを含んでいる。本システムは、インペラに隣接してハウジングに固定されているノズル基板を含んでいる。ノズル基板は、ハウジングの相対する内面と協働して、ディフューザー間隙、即ち流出路を画定する細長い表面を有している。基板は、ノズル基板の裏側に取り付けられている複数の機構支持ブロックを含んでいる。駆動リングは、支持ブロックに取り付けられており、支持ブロックとノズル基板に対して回転方向に可動である。駆動リングは、第1位置と第2位置の間を選択的に動くことができる。駆動リングには、駆動リングの運動に応じて動くディフューザーリングが接続されている。ディフューザーリングは、駆動リングの第1位置に対応する引込位置と、駆動リングの第2位置に対応する伸張位置との間を動く。開位置、即ち引込位置では、ディフューザーリングは溝の中に引き込まれているので、ディフューザーリングの面はノズル基板の面と同面で、ディフューザー間隙は遮られず、そこを通って流れる流体が最大となる。閉位置、即ち伸張位置では、ディフューザーリングはディフューザー間隙の中に外方向に伸張し、間隙開口を制約し、ディフューザー間隙を通る流体の流れを減らす。ディフューザーリングは、ディフューザー間隙を流れる流体の量を制御するため、その引込位置と伸張位置の間のどの場所にでも配置することができる。
駆動リングは、その外周面に作られた複数のカム軌道を含んでおり、各カム軌道は、位置が、機構支持ブロックに対応している。機構支持ブロックには、カム軌道内に組み込まれているカム従動子を有する駆動ピンが組み込まれている。作動ロッドは、駆動リングに取り付けられている。作動ロッドは、軸方向に動き、それによって駆動リングを回転させる。駆動リングが回転すると、カム軌道内のカム従動子は、駆動ピンを軸方向に動かす。ディフューザーリングは、駆動ピンの反対側の端部に取り付けられている結果として駆動リングに接続されており、駆動ピンの運動と共に、駆動リングの第1位置に対応するその引込位置と、駆動リングの第2部分に対応するその伸張位置との間を動く。駆動リングと、従ってディフューザーリングは、第1位置(完全引込位置)と第2位置(完全伸張位置)の間のどの中間位置にも停めることができる。
本発明の利点は、駆動リングの回転運動を、本発明の機構によって軸方向の運動に変換できることである。軸方向の運動は、制御器からの適切な信号に応じて、軸方向に移動可能な作動ロッドにより迅速且つ効果的に行うことができる。
本発明の別の利点は、本発明のディフューザーリングは、ディフューザーリングをディフューザー間隙の中に伸張させ、ディフューザー間隙から引き込む限りにおいて、圧縮機内のどの場所にでも配置できることである。支持ブロックがディフューザーリングの荷重を支えるので、ディフューザーリングは、勿論、ディフューザー間隙の中で伸張させ、又は引き込ませることができる限り、任意の位置を取ることができる。従って、先行技術の装置とは異なり、ディフューザーリングは、必要であれば、ディフューザー内のずっと下流に配置することもできる。ディフューザーリングは、ノズル基板の内径の様な構造体と嵌合させるため注意深く整合するように機械加工する必要がなく、ケーシングに支持されておらず、又、ディフューザー間隙内の流体の流れを制御するため、ディフューザーリングをディフューザー間隙の中で伸張させ又は引き込むのが必要なだけなので、ディフューザーリングの許容差を緩めることができ、従ってコストも下がる。
本発明の更に別の利点は、ディフューザーリングを安価に製造でき容易に交換できるばかりでなく、ディフューザーリングの運動を制御するための機構も、部品が摩耗したときに、容易且つ安価に交換できることである。
本発明の更に別の利点は、ディフューザーリングを制御するための機構が過剰移動に対する許容差を有しているので、ディフューザーリングを、完全伸張又は引込位置に、これらの終点の過剰な摩耗を気にすることなく迅速に動かせることである。
本発明の又別の利点は、過剰移動によって、制御論理がディフューザーリングの実際の位置による影響を被らないようになっていることである。代わりに、制御論理は、サージに伴うノイズだけに反応し、その状態が衰えるまでディフューザーリングを一杯に閉鎖する。
本発明のこの他の特徴及び利点は、以下の好適な実施形態に関する詳細な説明を、例を挙げて本発明の原理を示している添付図面と関連付けて読めば、明らかになるであろう。
先行技術による可変形状ディフューザーを有する遠心圧縮機の断面図である。 遠心圧縮機内の本発明の可変形状ディフューザーの断面図である。 本発明のディフューザーリングが伸張位置、即ち閉位置にある状態の、遠心圧縮機内の本発明の可変形状ディフューザーの断面図である。 本発明のディフューザーリングが引込位置、即ち開位置にある状態の、遠心圧縮機内の本発明の可変形状ディフューザーの断面図である。 本発明の駆動ピンの斜視図である。 本発明のディフューザーリングの、上から見た斜視図である。 本発明のディフューザーリングに組み込まれている駆動ピンの斜視図である。 ノズル基板の前面の斜視図である。 ノズル基板の背面であり、そこに組み込まれている支持ブロックを示している。 ノズル基板に組み込まれている支持ブロックを示す、図9の拡大図である。 ノズル基板の支持ブロックに組み込まれている駆動ピンを示す、図9の拡大図である。 カム従動子が組み込まれているピンを示す、図9の側面図である。 本発明の駆動リングの斜視図である。 ノズル基板に、支持ブロックが取り付けられ、駆動リングが組み込まれているアッセンブリの斜視図である。 半径方向軸受アッセンブリと軸方向ベアリングアッセンブリが装着されている支持ブロックにアッセンブリされている駆動リングの内周面の斜視図である。 軸方向軸受アッセンブリの斜視図である。 半径方向軸受アッセンブリの分解図である。 駆動リングにアッセンブリされている作動器の斜視図である。 駆動リングに対する軸方向軸受調整を上から見た図である。 半径方向軸受のフランジ付きレース300内の偏心穿孔取付穴320の斜視図である。
本発明は、遠心圧縮機用の可変形状ディフューザー機構である。図1は、異なるディフューザー構造を有する先行技術による可変容量遠心圧縮機を示している。この先行技術のシステムは、可動壁を、インペラの出口に隣接して配置された環状リングとして使用している。この壁は、通常そうであるように、ディフューザーを通る流体の流れを制御するためにディフューザー空間内へ動かすことができる。環状リングは、基板上に配置されている。リングは、環状プッシュリングと壁に接続されたピンを含んでいる壁を動かすための複雑な支持構造体に接続されている。駆動リングは、玉軸受け装置を介して基板に取り付けられている。駆動リングは環状プッシュリングを押し、環状プッシュリングが壁を動かす。玉軸受け装置は、駆動リングのレースと基板の傾斜したレースに載っている。従って、何らかの適切な機構による駆動リングの回転運動によって、可動壁が軸方向に運動してディフューザーの空間に出入りする。この装置の構成と作動に関する更に詳細な説明は、本発明の譲受人に譲渡されている2000年10月31日発行の米国特許第6,139,262号に記載されており、同特許を参考文献としてここに援用する。
図2は、本発明の可変形状ディフューザー110を有する遠心圧縮機100の断面図である。図2に示しているように、圧縮機100は、ハウジング又はディフューザープレート120と、インペラ124と、ノズル基板126とを含んでいる。ディフューザーリング130は、本発明の可変形状ディフューザー110の一部であるが、ノズル基板126内へと機械加工された溝132に組み込まれている。ディフューザーリング130は、溝132から外へ、ディフューザープレート120とノズル基板126を分離しているディフューザー間隙134内へと動かすことができる。完全に引っ込んだ位置では、ディフューザーリング130は、ノズル基板126内の溝132内に填り込んで、ディフューザー間隙134は、最大流量の状態にある。完全に伸張した位置では、ディフューザーリング130は、実質的にディフューザー間隙134を横切って伸張し、基本的にディフューザー間隙134を閉じる。ディフューザーリング130は、完全引込位置と完全伸張位置の間の何れの位置にでも動かすことができる。
圧縮機へ向かう流体の流れは、図1に符号26で示している入口案内翼によって制御され、入口案内翼は、圧縮機を通過する流体の方向を制御し流量を調整するため、制限された様式でその軸の回りに回転させることができる。入口案内翼26は、遠心圧縮機毎に位置がそれほど変わるわけではなく、インペラの上流に配置されており、その位置が本発明の作動にとって重要ではないので、他の図面には示していない。回転の範囲に亘る翼26の回転は、圧縮機の容量を変化させる。翼26は、通常、位置センサーの様なその相対位置を判定するための手段を含んでいるので、圧縮機を通る流体の流れを判定して、必要に応じて作動器で流量を調節することができるようになっている。
通常は冷媒か又は潤滑油ミストと混合した冷媒の形態をしている流体は、入口案内翼26を通過した後、インペラ24(図1)又は124(図2)に流れ込む。インペラ124の回転は、流体に仕事量を付与し、それによってその圧力を上げる。当該技術では周知のように、高圧の流体は、インペラを出て、ディフューザー間隙134を通過し、最終的には圧縮機出口に向かう。
圧縮機の負荷が下がると、入口案内翼26は回転して、インペラ124に供給する流体の流量を減らす。しかしながら、インペラ24の前後で同じ圧力が維持されると、圧縮機を出る流体の流れは不定になり、逆流して先に論じたサージ状態を作り出しかねない。サージ状態を防ぐために、流量の低下に応じて、ディフューザー間隙134を小さくしてインペラ出口の面積を減らし、流体の流れを安定させる。ディフューザー間隙134は、図3に示すように、ディフューザーリング130を間隙134内へと動かしてその面積を減らすか、或いは、図4の最大流量状態に示すように、ディフューザーリング130を溝 132内へと後退させて面積を増やすことによって、制御される。
本発明の可変形状ディフューザー110の構造と作動について、図面を参照しながら以下に詳細に説明する。
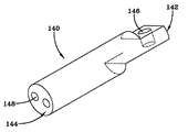
本発明の可変形状ディフューザー110は、ディフューザーリング130を備えている。ディフューザーリング130は、駆動ピン140に取り付けられている。図5に示すように、駆動ピン140は、第1端142と、ディフューザーリング130と係合する第2端144を有している。駆動ピン140の第1端142には、カム従動子穴146が設けられている。駆動ピン140の第2端144には、駆動ピン140をディフューザーリング130へ取り付けるための手段が設けられている。好適な実施形態では、取り付けるための手段は、図示の少なくとも1つの穴148であり、一対のねじ付穴を含んでいる。
図6に示しているディフューザーリング130は、第1面150と、反対側の第2面152と、第1面150と第2面152の間に伸張する内周壁154と、第1面150と第2面152の間に伸張し、内周壁154と実質的に同心の外周壁156とを有している。ディフューザーリング130は、内周壁154と外周壁156の間の距離で決まる所定の厚さと、第1面150と反対側の第2面152の間の距離で決まる所定の軸方向長さを有している。複数の穴158が、ディフューザーリング130の軸方向長さを貫通して伸張し、駆動ピン140とディフューザーリング130の間の取り付け手段の一部を形成している。この好適な実施形態に示しているように、複数の穴は、三対の穴158を含んでいる。各対の穴158は、駆動ピンの穴148に対応するように、リング130上に配置されている。ディフューザーリング130の第2面152(図5に図示せず)は、駆動ピン140の面に隣接して組み付けられる。第2面152には、必要であれば、随意的に、駆動ピン140を受け入れる座ぐり穴を穴158の反対側に設けてもよい。図7は、複数の駆動ピン140がディフューザーリング130に組み付けられている状態を示している。穴158を貫通して駆動ピン140の穴148内へと伸張するねじ付きファスナーが、駆動ピン140をディフューザーリングに固定している。図示のように、駆動ピン140のディフューザーリング130への取り付け手段は、穴158を貫通して穴148内に伸張しているねじ付きファスナーを含んでいる。しかしながら、取り付け手段はこれに限定されるものではなく、既知の機械的締結手段を使用してもよい。例えば、駆動ピンの第2端144にねじを切って、ディフューザーリングにねじ込んでもよい。代わりに、駆動ピン140を、例えばタック溶接で、リング130に固定してもよい。ピン140をディフューザーリング130に固定する手段は重要ではなく、どの様な手段でこれらの部品を一体化してもよい。
図8は、ノズル基板126の前側160の斜視図である。溝132は、ノズル基板126の円周に沿って伸張している。複数の穴162が、溝132内でノズル基板126を貫通している。これらの穴には、ディフューザーリング130が取り付けられた駆動ピン140が差し込まれる。図8に示す好適な実施形態では、約120°間隔で3つの穴が配置されている。大きな中央の穴164には、インペラ124が取り付けられている圧縮機100の駆動シャフト(図示せず)が入る。
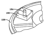
図9は、ノズル基板126の裏側170を示している。ノズル基板126の裏側には、複数の支持ブロック180が取り付けられている。支持ブロック180は、基板170に組み付けられる別々の部品でもよく、後付け用には最も有用である。或いは、支持ブロック180は、ノズル基板170と一体の部分であってもよい。最も一般的には、これらのブロックは、鋳造の基板形状に組み込まれている。図9に示す好適な実施形態では、3つの支持ブロック180がある。各支持ブロックは、支持ブロック180を貫通する主要穴182を含んでいる。支持ブロック180は、支持ブロック180を貫通する各主要穴182が、ノズル基板126を貫通する各穴162と同軸になるように、基板126の裏側170に組み付けられている。これらの同軸の穴162、182には、それぞれ、駆動ピン140が差し込まれるが、以下に詳細に説明する。
図10は、基板126に組み付けられた支持ブロック180の拡大斜視図である。ブッシング184が、穴182に組み込まれている。或る好適な実施形態では、このブッシング184は、テフロン(登録商標)被覆されており、穴182に圧入嵌めされている。駆動ピン140は、基板126に組み付けられた支持ブロック180に駆動ピン140が組み付けられている図11の拡大図に示すように、ブッシング184に滑動可能に挿入されている。
図11と図12に示すように、駆動ピンの第1端142は、支持ブロック180の上方に伸張している。図12に示すように、駆動ピンの第1端142は、カム従動子穴146の軸に垂直な平坦面190を有している。どの様な形状を利用してもよいが、この形状によって、カム従動子200を駆動ピンの第1端142に容易に組み付けることができるようになる。カム従動子200は、穴146を通して組み付けられ、ナット202で駆動ピン126に固定される。カム従動子200が自由に回転できさえすれば、例えばロックピン装置など、どの様な手段でカム従動子200を駆動ピン126に固定してもよい。好適な手段には、容易に組み立て、分解できる手段が含まれる。
図13は、駆動リング250の斜視図である。駆動リング250は、外周面252と内周面254を含んでおり、共に、その上面256と下面258の間を伸張している。駆動リング250の軸方向長さは、上面256と下面258の間の軸方向距離であり、駆動リング250の軸は、上面と下面256と258を通って伸張する面を貫通してその面に垂直に伸張する仮想線であり、この軸は、概ね駆動リング250の幾何学中心に位置している。内周面254に沿って、内周溝260が設けられている。溝260は、以下に説明するように、軸方向軸受を受け入れるための予め選択された幅を有している。図13に示すように、内周溝260は、容易に製造するため、内周面254に沿って360°伸張している。後に明らかになるが、溝260は、360°伸張していなければならないわけではない。1つだけしか図示していないが、外周面252には、複数のカム軌道262が設けられている。カム軌道262は、外周面252に、カム従動子200を受け入れるために予め選択された深さと幅で作られた溝である。各カム軌道262は、支持ブロック180に対応し、これと嵌合するのが理想的である。従って、3つの支持ブロック160を描いている図9に示した好適な実施形態では、駆動リング250は、3つの対応するカム軌道262を有することになる。カム軌道262は、上面256と下面258の間を、駆動リングの軸に対して或る予め選択された角度で外周面に沿って伸張する溝を備えている。溝は、カム軌道262の一方の端部に、過剰移動を許容するため、上面256と下面258に実質的に平行な円周部分264を含んでいる。溝は、下面258に近接するカム軌道の端部に、カム従動子200のアッセンブリが溝へ出入りできるようにするため下面258へと伸張する部分268を含んでいる。部分268は、駆動リング250の主軸に実質的に平行に図示しているが、組み付け易い形状であればどの様な形状でもよい。例えば、部分268は、水平方向から上向きに上面256まで伸張してもよい。カム軌道262は、2つの成分、即ち、駆動リング250の軸に平行な成分と、駆動リング250の回りに円周状に駆動リング250の軸に対して半径方向に伸張する成分とを有している。カム軌道262が駆動リング250の軸に平行に伸張する距離は、ディフューザー間隙134の幅に実質的に相当する。カムシャフト溝の角度は、予め選択されたどの様な角度でもよい。その角度が浅くなるほど、駆動リング250の制御、従って拡散リング130の制御が、正確になる。しかしながら、この角度には下限があり、それは、駆動リング250の直径と、駆動リング250の外径のカム従動子の数によって決まる。角度が大きくなれば、駆動リング250の位置決めは難しくなる。カムシャフト溝の角度は、駆動リング250の軸に対して約5°―45°の間であるのが望ましく、約7°から約14°の範囲内であるのが最も望ましい。
図14は、支持ブロック180に組み付けられた駆動リング250の斜視図である。支持ブロック180は、駆動リング250の下側に伸張している。支持ブロック180は、ノズル基板126に組み付けられている。図11に示すように、駆動ピン140は、支持ブロック180に組み込まれて、ノズル基板126を貫通して下へと伸張している。図14では見えないが、図12に示しているように構成されているカム従動子200は、カム軌道262に組み込まれている。図14で分かるように、支持ブロック180は、駆動リング250の下面258の下側を伸張している。
図15は、駆動リング250の下側を伸張している支持ブロック180の1つの斜視図である。この図は、駆動リング250の内周面254と内周溝260を示している。軸受ブロック180には、軸方向軸受アッセンブリ280と半径方向軸受アッセンブリ290が組み付けられている。
軸方向軸受アッセンブリ280の斜視図を、図16に示す。軸方向軸受アッセンブリ280は、軸方向軸受284の支持構造体282と、支持構造体282を支持ブロック180に固定する取付手段286を備えている。シャフト(図示せず)が、支持構造体282を貫通して伸張している。シャフトの一端には、ブッシング284が設けられており、このブッシングは偏心しているのが望ましい。好適な実施形態に示しているように、取付手段286は、実質的に、支持ブロック180の連結穴に捕捉されている一対のねじ付き部材である。支持構造体282を支持ブロック180に固定するのに、他の周知のどの様な手段を使用してもよい。図15に戻るが、軸方向軸受284は、固定手段288によって支持ブロック282に取り付けられている。図15に示すように、軸方向軸受284を支持ブロック282に固定するための手段は、支持ブロック282を貫通して伸張するシャフトのねじ付き端部に締め付けられたナットである。ブッシング285は、このシャフトの反対側の端部の回りに自由に回転する。この場合も、軸方向軸受284を内周溝260に面する位置に固定するのに、他のどの様な装置を使用してもよい。図15に示すように、軸方向軸受284(視野から隠れている)は、内周溝260に組み込まれている。軸方向軸受284は、駆動リング250が回転するときに、駆動リングの軸方向運動を阻む。軸方向軸受284は、駆動リング250の軸方向運動を阻むだけでなく、駆動リング250の軸方向の位置を微妙に調整できるようにしている。この調整は、駆動ピン140の長さのばらつきに対処するために必要である。軸方向軸受284のシャフトに装着された偏心ブッシング285によって、調整が可能になる。軸方向軸受284を駆動リング250に組み付けた後、駆動ピンのカム従動子200が穴266の隣りのカム軌道262の行程の端部にくるように、駆動リング250が回される。これによって、軸方向軸受284が、カム軌道262に隣接する穴266と整列する。図19に示しているこの位置で、六角(アレン)レンチの様な工具を、穴266を通して、レンチヘッドと合致する造形部、ここでは軸方向軸受284に設けられたレンチの六角頭部と整合する六角穴に挿入することができる。軸方向軸受284は、必要なら駆動リング250のブッシング285に対する軸方向位置を調整するため、時計回りか反時計回りに回される。位置が正しくなると、軸方向軸受284は、シャフトの反対側の端部のナットを締めることによって固定される。駆動リング250の好適な調整は、ディフューザーリングが一杯に引っ込んだ位置にあるときに、ディフューザーリング130の面が、ノズル基板125の面と同面になるようにすることである。
図15は、支持ブロック180上に取り付けられた半径方向軸受アッセンブリ290も示している。図17は、半径方向軸受アッセンブリ290の分解図を示している。半径方向軸受アッセンブリ290は、ローラー292と、ローラー292に装着されている少なくとも1つのブッシング294と、ローラー292の片側に1つづつの、望ましくは2つのフランジ付きブッシング294を備えている。フランジ付きのレース300が、前記少なくとも1つのブッシング294の中に組み込まれている。或る好適な実施形態では、一対のフランジ付きブッシング294は、ローラー292の片側に1つづつ装着されている2つのテフロン(登録商標)・フランジ付きブッシングで構成されている。一部にねじが切られたシャフト296が、レース300を貫通して伸張し、アッセンブリを支持ブロック180に固定している。座金298が、ローラー292と支持ブロック180の間に加えられている。半径方向軸受アッセンブリ290の内の1つは、図20に示すように、フランジ付きレース300に偏心して穿孔された取付穴320を採用している。この偏心した取付穴によって、半径方向軸受290を調整することができる。この調整は、駆動リング250の内径のばらつきを補正するのに必要である。好適な調整とは、全ての半径方向軸受を、駆動リング250の内側表面と丁度接触させることである。半径方向軸受アッセンブリ290は、駆動リング250が回転するときに、駆動リングの半径方向の運動を阻む。駆動リング250が回転するときに、駆動リングの半径方向運動を阻むことができるのであれば、他の適切などの様な半径方向軸受アッセンブリを使用してもよい。
この機構の作動について、図2、3、4並びに図18を参照しながら以下に説明する。図18は、駆動リング250の上面256に取り付けられている作動手段310の斜視図である。図18に示すように、作動手段310は、軸方向にだけ動く機械式の作動器であり、これを動かすモーターに取り付けられている。機械式作動器を用いているが、駆動リング250を回転させるのには、油圧作動器、空圧作動器、駆動リング250に取り付けられているねじ機構、又はリング250を回転させることのできる他のシステムを含め、他の既知のどの様な手段を使用してもよい。そのストロークの方向と長さは、制限されている。作動器の軸方向の運動が、駆動リングを回転させる。モーターは、弁護士訴訟事件一覧表20712−0059「遠心圧縮機の回転失速を検出するためのシステム及び方法」として特定されている仮特許出願に記載されている様な制御手段に応答して起動する。しかしながら、作動器には他のどの様な制御手段を使用してもよい。図4に示しているようにディフューザーリングが引込位置にあり、圧縮機が通常のモードで作動しているときに、失速又は初生サージの開始をセンサーが検出すると、信号が制御器に送られ、制御器がディフューザー間隙134を閉じる方向にモーターを起動する。モーターは、作動手段310を動かし、作動手段310が駆動リング250を回転させる。駆動リング250は、駆動リングが支持ブロック180上に載っている面内での回転運動に制約されている。駆動リング250が回転するにつれ、各カム従動子200は、カム軌道の溝が駆動リング250の上面256に近接しているカム軌道262の第1位置から、軌道に沿って、駆動リング250の下面258へ向かって動く。駆動リング250とカム軌道262が回転するにつれ、カム従動子200は、軌道262に沿って下向きに押される。従動子が下向きに動くと、駆動ピン140は支持ブロック180の中へと動く。ディフューザーリング130は、ノズル基板126の反対側で駆動ピン140の反対側の端部に取り付けられているので、駆動ピン140が支持ブロック180の中へと動くと、駆動ピン140の反対側はノズル基板から離れる方向に動き、ディフューザーリング130をディフューザー間隙134の中へと動かす。カム従動子200が、カム軌道262内を、上面256に近い位置から、下面258に近い位置まで完全に移動すると、ディフューザー間隙134は、実質的に一杯に絞られた、即ち閉じられた状態になる。カム軌道262の水平溝部分264が、作動手段310とカム従動子200の過剰移動に配慮しているので、これらの要素が多少動き過ぎても、拡散リング130が更に動いて、圧縮機100、駆動リング250、作動手段310及び作動手段モーターの1つ又は全てに損傷を与えることのないようになっている。
制御システムに従って、作動手段310は、駆動リング250の回転を、作動手段310の一杯に伸張した位置と一杯に引っ込んだ位置の間の任意の中間の位置で停止することもできる。作動手段310は、これを制御手段からの信号に応じて行う。その結果、ディフューザーリング130は、図4に示す一杯に引っ込んだ位置と図3に示す一杯に伸張した位置の間の、図2に示す中間位置の様な任意の位置に止められることになる。ディフューザーリングは、制御手段からの信号が駆動リング250の追加の運動を引き起こし、その結果ディフューザーリング130が位置決めし直されるまで、この位置に留まる。
或る好適な実施形態では、サージ又は初生失速の開始の検出を示す信号が制御手段に送信されると、先に述べたように駆動リング250を回転させる1つの指令(又は一連の指令)が起動され、それによって、サージ又は初生失速を取り除くか、或いはサージ又は失速状態の形成を防ぐのに必要な量だけ、ディフューザーリング130が伸張位置まで動かされる(ディフューザー間隙134を通る流体の流れを実質的に絞る)。或る実施形態では、タイミング関数が、ディフューザーリング130を所望の位置に維持する制御器内で起動される。予め選択された期間の終わりに、駆動リング250は反対方向に回され、それによって、ディフューザーリング130は、サージ又は初生失速の開始が再び検出されるまで引込位置へ動かされる。センサーの信号に応じて上記プロセスが繰り返され、1つの指令(又は一連の指令)が再び起動され、駆動リング250を回転させ、ディフューザーリング130を動かし又は伸張させて、ディフューザー間隙134を通る流体の流れを、サージ又は初生失速状態を取り除くのに必要な量だけ再び絞る。このプロセスは、サージ又は初生失速状態が検出される限り繰り返される。ディフューザーリング130が引っ込んでいるときにサージ又は初生失速状態が検出されなければ、ディフューザーリング130は、一杯に引っ込んだ位置、即ち開位置まで引っ込んだ状態を続けるので、冷媒の流れ全てがディフューザー間隙134を通過することができる。ディフューザーリング130は、制御手段が、サージ又は初生失速の開始を示す信号に応じて、1つの指令又は一連の指令を起動させるまで、この位置に留まる。
以上、本発明を、好適な実施形態を参照しながら説明してきたが、当業者には理解頂けるように、本発明の範囲を逸脱することなく、様々な変更を加え、その要素を等価物で置き換えることもできる。更に、本発明の本質的な範囲から逸脱することなく、特定の状況又は材料を本発明の教示に適合させるため、多くの修正を加えることができる。従って、本発明は、本発明を実行するために考えられる最良の方式として開示した特定の実施形態に限定されるものではなく、特許請求の範囲に述べる内容に該当するの全ての実施形態を包含するものとする。
100 圧縮機
110 ディフューザー
124 インペラ
126 ノズル基板
130 ディフューザーリング
134 ディフューザー間隙
180 支持ブロック
250 駆動リング
280 軸方向軸受アッセンブリ
290 半径方向軸受アッセンブリ

Claims (36)

  1. 流体を圧縮するための可変容量式遠心圧縮機用のディフューザーシステムであって、前記圧縮機はハウジングとインペラを有しており、前記インペラは前記ハウジング内に回転可能に取り付けられている、ディフューザーシステムにおいて、
    前記インペラに隣接して前記ハウジングに接続されているノズル基板であって、前記ハウジングの相対する内側表面と協働してディフューザー間隙を画定する細長い表面を有しており、前記細長い表面は前記ディフューザー間隙に隣接する溝を有している、ノズル基板と、
    前記ノズル基板の、前記ディフューザー間隙とは反対側の、裏側に取り付けられている複数の支持ブロックと、
    前記支持ブロックに回転可能に取り付けられており、第1位置と第2位置との間で動くことができる駆動リングであって、前記駆動リングの外周上に配置されている複数のカム軌道を含んでおり、前記複数のカム軌道の内の少なくとも2つは、前記複数の支持ブロックの内の少なくとも2つと整列している、駆動リングと、
    前記駆動リングに取り付けられており、第1軸方向位置と第2軸方向位置との間を動いて、前記駆動リングを前記第1位置と前記第2位置との間で動かすことができる作動手段と、
    複数の駆動ピンであって、各駆動ピンは、対応する前記支持ブロックと前記ノズル基板を貫通して伸張しており、前記各駆動ピンは、第1端と、前記第1端の反対側の第2端を有しており、前記駆動ピンの前記第1端は、前記駆動リングのカム軌道内に取り付けられるカム従動子を含んでおり、前記駆動ピンの前記第2端は、前記ノズル基板を貫通して、前記ノズル基板の表面の溝の中に伸張している、駆動ピンと、
    前記複数の駆動ピンそれぞれの前記第2端に取り付けられているディフューザーリングであって、前記駆動ピンは、前記ノズル基板表面の溝の中に伸張している、ディフューザーリングと、を備えており、
    前記駆動リングの第1位置と第2位置の間の回転運動は、前記カム従動子を前記カム軌道内で動かして前記駆動ピンを軸方向に動かし、前記駆動ピンの前記軸方向運動は、前記ディフューザーリングを、前記ディフューザーリングが前記ノズル基板の前記溝の中に在る引込位置と、前記ディフューザーリングが前記ディフューザー間隙を実質的に閉じて前記ディフューザー間隙を通る流体の流れを減らす伸張位置との間で動かす、システム。
  2. 前記複数の支持ブロックは、それぞれ、前記複数のカム軌道の内の1つと整列している、請求項1に記載のシステム。
  3. 3つの支持ブロックが、前記ノズル基板の裏側に取り付けられている、請求項1に記載のシステム。
  4. 前記駆動リングは3つのカム軌道を含んでおり、各カム軌道は支持ブロックと整列している、請求項3に記載のシステム。
  5. 前記ノズル基板の溝は、前記ディフューザーリングが前記引込位置にあるときには、前記ディフューザーリングの一部でも、前記ディフューザー間隙内へと外向きに伸び出ることのないように、前記ディフューザーリングを収納できるだけの深さを有している、請求項1に記載のシステム。
  6. 前記複数の支持ブロックは、締結手段によって、前記ノズル基板の裏側に取り付けられている、請求項1に記載のシステム。
  7. 前記締結手段は、前記各支持ブロックのねじ穴と前記ノズル基板の対応するねじ穴の中に伸張しているねじ付きファスナーを含んでいる、請求項6に記載のシステム。
  8. 前記複数の支持ブロックは、前記ノズル基板と一体に製造されている、請求項1に記載のシステム。
  9. 前記複数の支持ブロックは、ノズル基板鋳造材内に鋳造要素として含まれている、請求項8に記載のシステム。
  10. 前記駆動リングは、上面、下面、前記上面と前記下面の間を軸方向に伸張する内周面、前記上面と前記下面の間を軸方向に伸張する外周面、及び、前記内周面の少なくとも一部に沿って伸張する円周状の溝を含んでおり、前記円周状の溝は、軸方向に予め選択された幅と、予め選択された長さとを有している、請求項1に記載のシステム。
  11. 各カム軌道は、前記外周面に溝として製作されており、前記溝は、前記カム従動子の1つを受け入れることができるだけの予め選択された幅と、予め選択された深さを有しており、前記溝は、前記駆動リングの軸に対して予め選択された角度で伸張している、請求項10に記載のシステム。
  12. 前記予め選択された角度は約5°―45°の間にある、請求項11に記載のシステム。
  13. 前記予め選択された角度は約7°―14°の間にある、請求項11に記載のシステム。
  14. 前記溝は、前記上面に平行な面内の第1端部にある部分と、前記下面に平行な面内の反対側の端部にある部分を含んでおり、これらの部分は、前記カム従動子の1つの過剰移動に対処することができる、請求項11に記載のシステム。
  15. 複数の軸方向軸受アッセンブリを更に含んでおり、各軸方向軸受アッセンブリは、支持構造体と、前記軸方向軸受アッセンブリを前記支持構造体に固定するための第1手段と、前記支持構造体を貫通して伸張するシャフト上に前記シャフトの回りに回転可能に支持されている軸方向軸受と、前記軸方向軸受を前記支持構造体に固定するための第2手段と、を備えており、前記軸受が前記支持構造体に組み付けられ、前記支持構造体が、前記軸受の前記溝から出る動きを防ぐために固定されているときには、前記各軸方向軸受は、前記円周状の溝の中に配置されており、前記駆動リングが回転する際に、前記駆動リングの軸方向運動を妨げる、請求項10に記載のシステム。
  16. 前記軸方向軸受アッセンブリを前記支持構造体に固定する前記第1手段は、前記支持構造体の穴を通り、前記支持ブロック内の係合ねじ穴の中へ伸張する一対のねじ付きファスナーを含んでおり、それによって、前記支持構造体は、前記支持ブロックに前記ファスナーで固定される、請求項15に記載のシステム。
  17. 前記軸方向軸受アッセンブリを前記支持構造体に固定する前記第2手段は、前記シャフトのねじ付き端部に取り付けられているねじ付きナットを含んでおり、前記シャフトの前記ねじ付き端部は、前記支持構造体を貫通して、前記支持構造体の前記軸方向軸受とは反対の側に伸張している、請求項15に記載のシステム。
  18. 半径方向軸受アッセンブリを更に含んでおり、前記半径方向軸受アッセンブリは、内側の穴を有するローラーと、前記ローラーの前記内側の穴の中に装着されている少なくとも1つのフランジ付きブッシングと、前記半径方向軸受を、前記駆動リングの前記内周と接触させて前記駆動リングの半径方向の動きを妨げるため、堅く固定するためのシャフトと、を更に含んでいる、請求項10に記載のシステム。
  19. 前記半径方向軸受アッセンブリは、一対のフランジ付きブッシングを含んでいる、請求項18に記載のシステム。
  20. 前記少なくとも1つのフランジ付きブッシングは、テフロン(登録商標)・フランジを含んでいる、請求項18に記載のシステム。
  21. 前記半径方向軸受シャフトは、前記半径方向軸受を支持ブロックに固定している、請求項18に記載のシステム。
  22. 前記作動手段は、第1引込位置と第2伸張位置の間を直線状に動くことのできるシリンダを有する機械式作動器に取り付けられたモーターを含んでおり、前記モーターを起動すると、前記駆動リングを回転させる前記機械式作動器を直線状に動かすことになる、請求項1に記載のシステム。
  23. 前記作動手段は、第1引込位置と第2伸張位置の間を直線状に動くことのできるシリンダを有する油圧作動器を含んでおり、前記油圧作動器が加えられる流体からの圧力に応じて直線状に動くと、前記駆動リングが回転することになる、請求項1に記載のシステム。
  24. 前記作動手段は、ねじ付き部材を有する機械式作動器に取り付けられたモーターを含んでおり、前記モーターは、起動すると、前記ねじ付き部材を回転させ、前記作動器を第1引込位置と第2伸張位置との間で動かし、前記作動器の動きが前記駆動リングを回転させることになる、請求項1に記載のシステム。
  25. 失速状態の有無を感知して信号を送るために前記圧縮機の中に配置されているセンサーと、前記センサー及び前記作動手段と通信している制御器と、を更に含んでおり、前記制御器は、前記作動手段に信号を送り、前記駆動リングと、接続されている前記ディフューザーリングとを、前記センサーから受け取った信号に応じて位置決めする、請求項1に記載のシステム。
  26. 前記センサーは、前記インペラに隣接して配置されている、請求項25に記載のシステム。
  27. 遠心圧縮機において、
    ハウジングと、
    流体入口と、
    前記入口を通して導入される流体を圧縮するために、前記ハウジング内でシャフトに回転可能に取り付けられているインペラアッセンブリと、
    前記インペラから圧縮された流体を放出するための流体出口と、
    前記インペラに隣接して前記ハウジングに接続されているノズル基板であって、前記ハウジングの相対する内側表面と協働してディフューザー間隙を画定する細長い表面を有しているノズル基板と、
    前記ノズル基板の、前記ディフューザー間隙とは反対側の、裏側に配置されている複数の支持ブロックと、
    前記支持ブロックに回転可能に取り付けられており、第1位置と第2位置の間を動くことのできる駆動リングであって、前記駆動リングの外周上に配置されている複数のカム軌道を含んでおり、前記複数のカム軌道の内の少なくとも2つは、前記複数の支持ブロックの内の少なくとも2つと整列している、駆動リングと、
    軸方向に動くことができ、前記駆動リングに取り付けられていて、前記駆動リングを前記第1位置と前記第2位置の間で動かすために、第1軸方向位置と第2軸方向位置の間を動くことのできる作動手段と、
    複数の駆動ピンであって、各駆動ピンは、対応する前記支持ブロックと前記ノズル基板を通って伸張しており、前記各駆動ピンは、第1端と、前記第1端と反対側の第2端を有しており、前記駆動ピンの前記第1端は、前記駆動リング上の前記複数のカム軌道の1つに取り付けられているカム従動子を含んでおり、前記駆動ピンの前記第2端は、前記ノズル基板を貫通して伸張し、前記細長い表面から突き出ている、駆動ピンと、
    前記ノズル基板表面から突き出ている前記複数の駆動ピンそれぞれの前記第2端に取り付けられているディフューザーリングと、を備えており、
    前記駆動リングが第1位置と第2位置の間で回転運動することによって、前記駆動ピンを軸方向に動かす前記カム軌道内で前記カム従動子が動き、前記駆動ピンが前記軸方向に動くことによって、前記ディフューザーリングが、前記ディフューザーリングが前記ハウジングの前記相対する内側表面から遠くにあって前記ディフューザー間隙を通る流体の流れを増している引込位置と、前記ディフューザーリングが前記ハウジングの前記相対する内側表面の近くにあって前記ディフューザー間隙を実質的に閉じて前記ディフューザー間隙を通る流体の流れを減らしている伸張位置との間で動くことになる、遠心圧縮機。
  28. 前記複数の支持ブロックは、それぞれ、前記複数のカム軌道の内の1つと整列している、請求項1に記載のシステム。
  29. 3つの支持ブロックが、前記ノズル基板の裏側に取り付けられている、請求項1に記載のシステム。
  30. 前記駆動リングは3つのカム軌道を含んでおり、各カム軌道は支持ブロックと整列している、請求項3に記載のシステム。
  31. 前記ノズル基板は、その細長い表面上に、前記ディフューザーリングが前記引込位置にあるときには、前記ディフューザーリングの一部でも前記ディフューザー間隙内に外向きに伸び出ることのないように、前記ディフューザーリングを収納できるだけの深さを有する溝を、更に含んでいる、請求項1に記載のシステム。
  32. 前記複数の支持ブロックは、締結手段によって、前記ノズル基板の裏側に取り付けられている、請求項1に記載のシステム。
  33. 前記締結手段は、前記各支持ブロックのねじ穴と前記ノズル基板の対応するねじ穴の中に伸張しているねじ付ファスナーを含んでいる、請求項6に記載のシステム。
  34. 前記複数の支持ブロックは、前記ノズル基板と一体に製造されている、請求項1に記載のシステム。
  35. 前記複数の支持ブロックは、ノズル基板鋳造材内に鋳造要素として含まれている、請求項8に記載のシステム。
  36. 前記駆動リングは、上面、下面、前記上面と前記下面の間を軸方向に伸張する内周面、前記上面と前記下面の間を軸方向に伸張する外周面、及び、前記内周面の少なくとも一部に沿って伸張する円周状の溝を含んでおり、前記円周状の溝は、軸方向に予め選択された幅と、予め選択された長さとを有している、請求項1に記載のシステム。
JP2009257762A 2002-12-06 2009-11-11 ディフューザーシステム Expired - Lifetime JP5442398B2 (ja)

Applications Claiming Priority (2)

Application Number Priority Date Filing Date Title
US10/313,364 2002-12-06
US10/313,364 US6872050B2 (en) 2002-12-06 2002-12-06 Variable geometry diffuser mechanism

Related Parent Applications (1)

Application Number Title Priority Date Filing Date
JP2004559192A Division JP4500687B2 (ja) 2002-12-06 2003-12-02 可変容量式遠心圧縮機用のディフューザーシステム

Publications (2)

Publication Number Publication Date
JP2010031876A true JP2010031876A (ja) 2010-02-12
JP5442398B2 JP5442398B2 (ja) 2014-03-12

Family

ID=32468233

Family Applications (2)

Application Number Title Priority Date Filing Date
JP2004559192A Expired - Lifetime JP4500687B2 (ja) 2002-12-06 2003-12-02 可変容量式遠心圧縮機用のディフューザーシステム
JP2009257762A Expired - Lifetime JP5442398B2 (ja) 2002-12-06 2009-11-11 ディフューザーシステム

Family Applications Before (1)

Application Number Title Priority Date Filing Date
JP2004559192A Expired - Lifetime JP4500687B2 (ja) 2002-12-06 2003-12-02 可変容量式遠心圧縮機用のディフューザーシステム

Country Status (9)

Country Link
US (1) US6872050B2 (ja)
EP (1) EP1570181B1 (ja)
JP (2) JP4500687B2 (ja)
KR (1) KR100748398B1 (ja)
CN (1) CN1745253B (ja)
AU (1) AU2003293178A1 (ja)
CA (1) CA2507409C (ja)
TW (1) TWI238224B (ja)
WO (1) WO2004053336A1 (ja)

Cited By (4)

* Cited by examiner, † Cited by third party
Publication number Priority date Publication date Assignee Title
JP2015524033A (ja) * 2012-11-09 2015-08-20 ジョンソン コントロールズ テクノロジー カンパニーJohnson Controls Technology Company 延長された行程を有する可変形態ディフューザおよびその制御方法
DE102015220333A1 (de) * 2015-10-19 2017-04-20 Rolls-Royce Deutschland Ltd & Co Kg Vorrichtung zur Einstellung eines Spaltes zwischen dem Gehäuse eines Laufrades und dem Laufrad in einem Radialverdichter und eine Turbomaschine
KR20200057061A (ko) * 2017-09-25 2020-05-25 존슨 컨트롤스 테크놀러지 컴퍼니 소형의 가변 기하학적 구조의 디퓨저 메커니즘
JP2020535344A (ja) * 2017-09-25 2020-12-03 ジョンソン コントロールズ テクノロジー カンパニーJohnson Controls Technology Company 遠心圧縮機用の2部品分割スクロール

Families Citing this family (62)

* Cited by examiner, † Cited by third party
Publication number Priority date Publication date Assignee Title
US7356999B2 (en) * 2003-10-10 2008-04-15 York International Corporation System and method for stability control in a centrifugal compressor
US7905102B2 (en) * 2003-10-10 2011-03-15 Johnson Controls Technology Company Control system
DE102004047103A1 (de) * 2004-09-29 2006-04-13 Bayerische Motoren Werke Ag Turbolader
US20070196206A1 (en) * 2006-02-17 2007-08-23 Honeywell International, Inc. Pressure load compressor diffuser
EP1965036A1 (de) * 2007-03-02 2008-09-03 Siemens Aktiengesellschaft Strömungsmaschine mit verstellbarer Strömungskontur
EP1965037B1 (de) 2007-03-02 2016-12-14 Siemens Aktiengesellschaft Axiale und radiale Lagerung des Stellrings für Eintrittsleitapparate bei Heissgasexpandern
US7905702B2 (en) * 2007-03-23 2011-03-15 Johnson Controls Technology Company Method for detecting rotating stall in a compressor
US20080276613A1 (en) * 2007-05-09 2008-11-13 Phillipe Noelle Discrete variable geometry compressor
US7871243B2 (en) * 2007-06-05 2011-01-18 Honeywell International Inc. Augmented vaneless diffuser containment
EP2014925A1 (de) * 2007-07-12 2009-01-14 ABB Turbo Systems AG Diffuser für Radialverdichter
EP2215365B1 (en) * 2007-10-31 2017-01-18 Johnson Controls Technology Company Control system
KR100909779B1 (ko) * 2008-02-01 2009-07-29 엘에스엠트론 주식회사 압축기의 가변 디퓨저
US8037713B2 (en) 2008-02-20 2011-10-18 Trane International, Inc. Centrifugal compressor assembly and method
US7975506B2 (en) 2008-02-20 2011-07-12 Trane International, Inc. Coaxial economizer assembly and method
US9353765B2 (en) 2008-02-20 2016-05-31 Trane International Inc. Centrifugal compressor assembly and method
US7856834B2 (en) * 2008-02-20 2010-12-28 Trane International Inc. Centrifugal compressor assembly and method
JP5291363B2 (ja) * 2008-03-14 2013-09-18 三菱重工業株式会社 ポンプ
US8438855B2 (en) * 2008-07-24 2013-05-14 General Electric Company Slotted compressor diffuser and related method
KR101066968B1 (ko) * 2009-03-05 2011-09-22 주식회사 에어젠 기체 압축기 및 기체 압축기의 유량 제어 방법
CN102341604B (zh) * 2009-03-05 2014-10-29 爱进股份有限公司 气体压缩机及气体压缩机的流量控制方法
KR101080954B1 (ko) * 2009-03-05 2011-11-08 주식회사 에어젠 기체 압축기 및 기체 압축기의 유량 제어 방법
GB2470050B (en) * 2009-05-07 2015-09-23 Cummins Turbo Tech Ltd A compressor
EP3141758B1 (en) 2009-06-05 2019-08-28 Johnson Controls Technology Company Control system
US8307646B2 (en) * 2009-08-04 2012-11-13 International Engine Intellectual Property Company, Llc System using supplemental compressor for EGR
US9217592B2 (en) * 2010-11-17 2015-12-22 Johnson Controls Technology Company Method and apparatus for variable refrigerant chiller operation
TWI418711B (zh) * 2010-11-25 2013-12-11 Ind Tech Res Inst 擴壓導葉調變機構
AU2010365829A1 (en) * 2010-12-22 2013-05-23 Danfoss A/S Variable-speed oil-free refrigerant centrifugal compressor with variable geometry diffuser
US9121408B2 (en) * 2011-03-23 2015-09-01 Toyota Jidosha Kabushiki Kaisha Centrifugal compressor
CN103814261B (zh) * 2011-09-14 2016-06-15 丹佛斯公司 离心压缩机的扩散器控制
CN104246394B (zh) * 2012-03-08 2017-03-08 丹佛斯公司 高压力比多级离心压缩机
KR101630178B1 (ko) 2012-04-30 2016-06-14 존슨 컨트롤스 테크놀러지 컴퍼니 제어장치
US9341193B2 (en) 2013-04-04 2016-05-17 Hamilton Sundstrand Corporation Cabin air compressor diffuser vane drive ring
CN104421209B (zh) * 2013-08-26 2017-02-08 珠海格力电器股份有限公司 调节器结构及离心式压缩机
CN104653476B (zh) 2013-11-18 2017-11-14 珠海格力电器股份有限公司 离心式压缩机及离心式冷水机组
RU2674479C2 (ru) * 2014-02-24 2018-12-11 ДжиИ ОЙЛ ЭНД ГЭС ЭСП, ИНК. Скважинное компрессорное устройство для обработки влажного газа
GB201408087D0 (en) 2014-05-07 2014-06-18 Cummins Ltd Variable geometry turbine assembly
US9568018B2 (en) 2014-05-30 2017-02-14 Hamilton Sundstrand Corporation Cover plate for cabin air compressor
CN104131999B (zh) * 2014-07-23 2017-07-28 珠海格力电器股份有限公司 离心式压缩机的调节结构及离心式压缩机
GB2531029B (en) * 2014-10-07 2020-11-18 Cummins Ltd Compressor and turbocharger
CN104454653A (zh) * 2014-11-20 2015-03-25 辽宁长志泵业有限公司 中开泵特殊性能调节装置
CN104533838B (zh) * 2014-12-18 2017-06-06 珠海格力电器股份有限公司 一种可调式扩压器
WO2017143257A1 (en) 2016-02-19 2017-08-24 Johnson Controls Technology Company Vapor compression system and method of extending service life of same
GB2551804B (en) * 2016-06-30 2021-04-07 Cummins Ltd Diffuser for a centrifugal compressor
CN107975498B (zh) 2016-10-24 2021-08-31 开利公司 用于离心压缩机的扩压器及具有其的离心压缩机
TWI607185B (zh) 2016-12-09 2017-12-01 財團法人工業技術研究院 離心式壓縮機之調變機構
RU2716940C1 (ru) 2018-02-09 2020-03-17 Кэрриер Корпорейшн Центробежный компрессор с рециркуляционным каналом
CN110360130B (zh) 2018-04-09 2022-12-27 开利公司 可变扩压器驱动系统
CN109356886A (zh) 2018-12-17 2019-02-19 珠海格力电器股份有限公司 离心式压缩机及扩压器装置
TWI692584B (zh) 2019-11-05 2020-05-01 財團法人工業技術研究院 離心式壓縮機
CN112983846B (zh) 2019-12-02 2025-08-26 开利公司 离心压缩机和运行离心压缩机的方法
CN110821872A (zh) * 2019-12-10 2020-02-21 南京磁谷科技有限公司 一种进气道与叶轮间隙调整结构
WO2021167613A1 (en) 2020-02-20 2021-08-26 Danfoss A/S Axial magnetic bearing for centrifugal refrigerant compressor
WO2021174097A1 (en) * 2020-02-27 2021-09-02 Johnson Controls Technology Company System and method for operation of variable geometry diffuser as check valve
US11391289B2 (en) 2020-04-30 2022-07-19 Trane International Inc. Interstage capacity control valve with side stream flow distribution and flow regulation for multi-stage centrifugal compressors
US11536277B2 (en) 2020-04-30 2022-12-27 Trane International Inc. Interstage capacity control valve with side stream flow distribution and flow regulation for multi-stage centrifugal compressors
EP4177476A1 (en) * 2021-11-03 2023-05-10 Trane International Inc. Interstage capacity control valve with side stream flow distribution and flow regulation for multi-stage centrifugal compressors
US11841026B2 (en) 2021-11-03 2023-12-12 Trane International Inc. Compressor interstage throttle, and method of operating therof
CN114278615B (zh) * 2021-12-21 2024-03-19 麦克维尔空调制冷(苏州)有限公司 基于凸轮传动的柔性连接的扩散器结构
CN115076141A (zh) * 2022-07-22 2022-09-20 山东天瑞重工有限公司 一种流量调节装置及离心式压缩机
US20250341222A1 (en) * 2023-01-11 2025-11-06 Championx Llc Downhole centrifugal pumps including locking features and related components and methods
US12359546B2 (en) * 2023-01-11 2025-07-15 Championx Llc Downhole centrifugal pumps including locking features and related components and methods
WO2025117865A1 (en) * 2023-11-30 2025-06-05 Tyco Fire & Security Gmbh Linear actuation mechanism of a variable geometry diffuser assembly

Citations (3)

* Cited by examiner, † Cited by third party
Publication number Priority date Publication date Assignee Title
US3478955A (en) * 1968-03-11 1969-11-18 Dresser Ind Variable area diffuser for compressor
JPS5092509A (ja) * 1973-12-21 1975-07-24
US6139262A (en) * 1998-05-08 2000-10-31 York International Corporation Variable geometry diffuser

Family Cites Families (22)

* Cited by examiner, † Cited by third party
Publication number Priority date Publication date Assignee Title
NL98031C (ja) 1957-12-23
US3251539A (en) 1963-05-15 1966-05-17 Westinghouse Electric Corp Centrifugal gas compressors
US3289919A (en) 1964-11-16 1966-12-06 Westinghouse Electric Corp Centrifugal gas compressors
US3941498A (en) 1974-04-08 1976-03-02 Chandler Evans Inc. Variable geometry collector for centrifugal pump
US3904312A (en) 1974-06-12 1975-09-09 Avco Corp Radial flow compressors
US3992128A (en) 1975-06-09 1976-11-16 General Motors Corporation Variable diffuser
USRE31835E (en) 1980-11-24 1985-02-19 United Technologies Corporation Pneumatic supply system having variable geometry compressor
US4403914A (en) 1981-07-13 1983-09-13 Teledyne Industries, Inc. Variable geometry device for turbomachinery
US4718819A (en) 1983-02-25 1988-01-12 Teledyne Industries, Inc. Variable geometry device for turbine compressor outlet
US4579509A (en) 1983-09-22 1986-04-01 Dresser Industries, Inc. Diffuser construction for a centrifugal compressor
US4503684A (en) 1983-12-19 1985-03-12 Carrier Corporation Control apparatus for centrifugal compressor
US4844690A (en) * 1985-01-24 1989-07-04 Carrier Corporation Diffuser vane seal for a centrifugal compressor
US4616483A (en) 1985-04-29 1986-10-14 Carrier Corporation Diffuser wall control
US4611969A (en) 1985-08-19 1986-09-16 Carrier Corporation Calibrating apparatus and method for a movable diffuser wall in a centrifugal compressor
US4780049A (en) 1986-06-02 1988-10-25 Palmer Lynn D Compressor
US5146764A (en) 1990-07-25 1992-09-15 York International Corporation System and method for controlling a variable geometry diffuser to minimize noise
US5116197A (en) 1990-10-31 1992-05-26 York International Corporation Variable geometry diffuser
US5207559A (en) * 1991-07-25 1993-05-04 Allied-Signal Inc. Variable geometry diffuser assembly
US6036432A (en) * 1998-07-09 2000-03-14 Carrier Corporation Method and apparatus for protecting centrifugal compressors from rotating stall vibrations
US6158956A (en) 1998-10-05 2000-12-12 Allied Signal Inc. Actuating mechanism for sliding vane variable geometry turbine
US6361432B1 (en) 1999-08-17 2002-03-26 Tomkins Industries, Inc. Air diffuser with air flow regulator
JP2002048098A (ja) 2000-08-02 2002-02-15 Mitsubishi Heavy Ind Ltd ターボ圧縮機および冷凍機

Patent Citations (3)

* Cited by examiner, † Cited by third party
Publication number Priority date Publication date Assignee Title
US3478955A (en) * 1968-03-11 1969-11-18 Dresser Ind Variable area diffuser for compressor
JPS5092509A (ja) * 1973-12-21 1975-07-24
US6139262A (en) * 1998-05-08 2000-10-31 York International Corporation Variable geometry diffuser

Cited By (13)

* Cited by examiner, † Cited by third party
Publication number Priority date Publication date Assignee Title
JP2015524033A (ja) * 2012-11-09 2015-08-20 ジョンソン コントロールズ テクノロジー カンパニーJohnson Controls Technology Company 延長された行程を有する可変形態ディフューザおよびその制御方法
JP2016196892A (ja) * 2012-11-09 2016-11-24 ジョンソン コントロールズ テクノロジー カンパニーJohnson Controls Technology Company 延長された行程を有する可変形態ディフューザおよびその制御方法
US11092166B2 (en) 2012-11-09 2021-08-17 Johnson Controls Technology Company Variable geometry diffuser having extended travel and control method thereof
JP2017166489A (ja) * 2012-11-09 2017-09-21 ジョンソン コントロールズ テクノロジー カンパニーJohnson Controls Technology Company 延長された行程を有する可変形態ディフューザおよびその制御方法
JP2017166490A (ja) * 2012-11-09 2017-09-21 ジョンソン コントロールズ テクノロジー カンパニーJohnson Controls Technology Company 延長された行程を有する可変形態ディフューザおよびその制御方法
US10378553B2 (en) 2012-11-09 2019-08-13 Johnson Controls Technology Company Variable geometry diffuser having extended travel and control method thereof
US10465705B2 (en) 2015-10-19 2019-11-05 Rolls-Royce Deutschland Ltd & Co Kg Device for adjusting a gap between the housing of an impeller and the impeller in a radial compressor and a turbomachine
DE102015220333A1 (de) * 2015-10-19 2017-04-20 Rolls-Royce Deutschland Ltd & Co Kg Vorrichtung zur Einstellung eines Spaltes zwischen dem Gehäuse eines Laufrades und dem Laufrad in einem Radialverdichter und eine Turbomaschine
KR20200057061A (ko) * 2017-09-25 2020-05-25 존슨 컨트롤스 테크놀러지 컴퍼니 소형의 가변 기하학적 구조의 디퓨저 메커니즘
JP2020535344A (ja) * 2017-09-25 2020-12-03 ジョンソン コントロールズ テクノロジー カンパニーJohnson Controls Technology Company 遠心圧縮機用の2部品分割スクロール
JP2020535345A (ja) * 2017-09-25 2020-12-03 ジョンソン コントロールズ テクノロジー カンパニーJohnson Controls Technology Company コンパクトな可変形状ディフューザ機構
JP7220208B2 (ja) 2017-09-25 2023-02-09 ジョンソン コントロールズ テクノロジー カンパニー コンパクトな可変形状ディフューザ機構
KR102572313B1 (ko) * 2017-09-25 2023-08-29 존슨 컨트롤스 테크놀러지 컴퍼니 소형의 가변 기하학적 구조의 디퓨저 메커니즘

Also Published As

Publication number Publication date
CN1745253B (zh) 2010-06-09
EP1570181B1 (en) 2011-11-16
WO2004053336A1 (en) 2004-06-24
US20040109757A1 (en) 2004-06-10
EP1570181A1 (en) 2005-09-07
CN1745253A (zh) 2006-03-08
JP5442398B2 (ja) 2014-03-12
KR100748398B1 (ko) 2007-08-10
TWI238224B (en) 2005-08-21
CA2507409C (en) 2008-10-07
TW200417692A (en) 2004-09-16
JP4500687B2 (ja) 2010-07-14
CA2507409A1 (en) 2004-06-24
KR20050085407A (ko) 2005-08-29
JP2006509155A (ja) 2006-03-16
US6872050B2 (en) 2005-03-29
AU2003293178A1 (en) 2004-06-30

Similar Documents

Publication Publication Date Title
JP5442398B2 (ja) ディフューザーシステム
US6139262A (en) Variable geometry diffuser
US9200640B2 (en) Inlet guide vane for a compressor
US8079808B2 (en) Geared inlet guide vane for a centrifugal compressor
SE517007C2 (sv) Drivanordning för en maskin av snäcktyp
KR20170089950A (ko) 연장된 경로를 갖는 가변 기하학적 디퓨저 및 그 제어방법
JP2006242178A (ja) スクロール式機械
JP2014114800A (ja) 遠心圧縮機
JP2004138065A (ja) ガスタービンエンジンの流体流を調整する方法及び装置
AU7877598A (en) Drive positioning mechanism with backlash adjustment for variable pipe diffuser
US6461129B2 (en) Scroll type compressor apparatus with adjustable axial gap
JPH0656110B2 (ja) 計量弁
US6506011B1 (en) Method for limiting split ring diffuser travel
CN117167330A (zh) 离心压缩机及其控制方法
CN115076141A (zh) 一种流量调节装置及离心式压缩机

Legal Events

Date Code Title Description
A621 Written request for application examination

Free format text: JAPANESE INTERMEDIATE CODE: A621

Effective date: 20091111

A131 Notification of reasons for refusal

Free format text: JAPANESE INTERMEDIATE CODE: A131

Effective date: 20120201

A601 Written request for extension of time

Free format text: JAPANESE INTERMEDIATE CODE: A601

Effective date: 20120501

A602 Written permission of extension of time

Free format text: JAPANESE INTERMEDIATE CODE: A602

Effective date: 20120508

A521 Request for written amendment filed

Free format text: JAPANESE INTERMEDIATE CODE: A523

Effective date: 20120601

A131 Notification of reasons for refusal

Free format text: JAPANESE INTERMEDIATE CODE: A131

Effective date: 20130107

A601 Written request for extension of time

Free format text: JAPANESE INTERMEDIATE CODE: A601

Effective date: 20130405

A602 Written permission of extension of time

Free format text: JAPANESE INTERMEDIATE CODE: A602

Effective date: 20130410

A521 Request for written amendment filed

Free format text: JAPANESE INTERMEDIATE CODE: A523

Effective date: 20130507

TRDD Decision of grant or rejection written
A01 Written decision to grant a patent or to grant a registration (utility model)

Free format text: JAPANESE INTERMEDIATE CODE: A01

Effective date: 20131202

A61 First payment of annual fees (during grant procedure)

Free format text: JAPANESE INTERMEDIATE CODE: A61

Effective date: 20131218

R150 Certificate of patent or registration of utility model

Ref document number: 5442398

Country of ref document: JP

Free format text: JAPANESE INTERMEDIATE CODE: R150

Free format text: JAPANESE INTERMEDIATE CODE: R150

R250 Receipt of annual fees

Free format text: JAPANESE INTERMEDIATE CODE: R250

R250 Receipt of annual fees

Free format text: JAPANESE INTERMEDIATE CODE: R250

R250 Receipt of annual fees

Free format text: JAPANESE INTERMEDIATE CODE: R250

R250 Receipt of annual fees

Free format text: JAPANESE INTERMEDIATE CODE: R250

R250 Receipt of annual fees

Free format text: JAPANESE INTERMEDIATE CODE: R250

R250 Receipt of annual fees

Free format text: JAPANESE INTERMEDIATE CODE: R250

R250 Receipt of annual fees

Free format text: JAPANESE INTERMEDIATE CODE: R250

EXPY Cancellation because of completion of term