JP2010030664A - 把手付き容器 - Google Patents

把手付き容器 Download PDF

Info

Publication number
JP2010030664A
JP2010030664A JP2008197516A JP2008197516A JP2010030664A JP 2010030664 A JP2010030664 A JP 2010030664A JP 2008197516 A JP2008197516 A JP 2008197516A JP 2008197516 A JP2008197516 A JP 2008197516A JP 2010030664 A JP2010030664 A JP 2010030664A
Authority
JP
Japan
Prior art keywords
handle
band
container
bottle
state
Prior art date
Legal status (The legal status is an assumption and is not a legal conclusion. Google has not performed a legal analysis and makes no representation as to the accuracy of the status listed.)
Granted
Application number
JP2008197516A
Other languages
English (en)
Other versions
JP5220508B2 (ja
Inventor
Kazunori Hashimoto
和紀 橋本
Current Assignee (The listed assignees may be inaccurate. Google has not performed a legal analysis and makes no representation or warranty as to the accuracy of the list.)
Yoshino Kogyosho Co Ltd
Original Assignee
Yoshino Kogyosho Co Ltd
Priority date (The priority date is an assumption and is not a legal conclusion. Google has not performed a legal analysis and makes no representation as to the accuracy of the date listed.)
Filing date
Publication date
Application filed by Yoshino Kogyosho Co Ltd filed Critical Yoshino Kogyosho Co Ltd
Priority to JP2008197516A priority Critical patent/JP5220508B2/ja
Publication of JP2010030664A publication Critical patent/JP2010030664A/ja
Application granted granted Critical
Publication of JP5220508B2 publication Critical patent/JP5220508B2/ja
Expired - Fee Related legal-status Critical Current
Anticipated expiration legal-status Critical

Links

Images

Landscapes

  • Details Of Rigid Or Semi-Rigid Containers (AREA)

Abstract

【課題】安全で使い易く、梱包時や陳列時に嵩張ることのない把手付き容器を提供する。
【解決手段】本発明は、端部2aが容器本体の側壁に固定される変形可能なバンド2のバンド本体2bを把手本体3の貫通孔3aに折り畳んだ状態で収納し、把手本体3を掴んで引き出すことによる、バンド本体2bの引き出しによって、当該折り畳み状態を解放して把手本体3と容器本体側壁11との間に隙間を形成する。
【選択図】図3

Description

本発明は、把手付き容器に関するものである。
容器と共に把手を一体に設ける煩雑さを解消することを目的に、従来の容器としては、例えば、容器の外周に巻き付けたシュリンクラベルの張り合わせ部分に、手入れ孔を設けたものがある(例えば、特許文献1参照)。
特開2006−111312号公報
しかしながら、従来の容器は、容器に巻き付けたラベルの張り合わせ部分を把手としたことから、持ち手部分(例えば、手入れ孔を形作るラベルのエッジ)が鋭利になって使い難いという問題がある。しかも、こうした把手は梱包時や陳列時に他物に引っ掛かったりして取り扱いに不都合が生じる可能性がある。
これに対して、把手を折り曲げてしまうことも考えられるが、把手そのものがラベルで構成されるため、折り曲げ状態を維持することが難しく、折り曲げ部分に対する強度的な問題も否めない。
本発明の目的とするところは、安全で使い易く、梱包時や陳列時に嵩張ることのない把手付き容器を提供することにある。
本発明である把手付き容器は、容器本体の側壁に固定される2つの端部を有し、当該端部に繋がる帯状の本体によって側壁との間に隙間を形成する変形可能なバンドと、このバンドの本体を収縮させた状態又は折り畳んだ状態で収納可能な貫通孔を有し、その引き出しによって、当該収縮状態又は折り畳み状態を解放してバンドと側壁との間に隙間を形成する把手本体とを備えることを特徴とするものである。
本発明において、把手本体は、扁平な部材であることが好ましい。
本発明では、把手の基本構造としてバンドを用い、これに把手本体を通したことから、把手として安全で使い易い。また、把手を用いるまでの間は、かかるバンドが把手本体内に収納されることから、容器全体のスリム化を図ることができる。これにより、梱包時や陳列時に嵩張ることなく、効率的な保管・収納が可能となる。
特に、本発明において、把手本体として扁平な部材を用いれば、容器全体のスリム化に更に有効である。
以下、図面を参照して、本発明の一形態を詳細に説明する。
図1,2はそれぞれ、本発明に従う把手付きボトル1の把手引き出し前の状態と、把手引き出し後の状態とを上側から示す斜視図である。また、図3〜5はそれぞれ、後述するバンドの収納状態を例示する要部断面図である。
符号10は、容器本体である角柱ボトル(以下、「ボトル本体」という)である。ボトル本体10は、4つの平坦な側壁(以下、「ボトル側壁」という)11を有し、例えばPET等の合成樹脂より二軸延伸ブロー成形される。
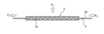
符号2は、ボトル側壁11に接着等により固定される2つの端部2aと、2つの端部2aを一体に繋げる扁平な帯状の本体2bとを有するバンドであり、使用時においては、図2に示すように、側壁11との間に隙間Cを形成するバンドである。バンド2は、把手Gの基本構造をなし、収縮や折り畳み等の変形が可能なものからなる。例えば、バンド2には、紙シートや樹脂フィルム、樹脂シートや射出成形品(薄肉板)などが挙げられる。
符号3は、扁平な部材からなる把手本体である。把手本体3は、図3に示すように、バンド2の本体(以下、「バンド本体」という)2bのうちの、2箇所を折り畳み、この状態のままのバンド本体2を収納可能な貫通孔3aを有する。また、把手本体3は、折り曲げ等の変形が可能なものが好ましい。例えば、把手本体3には、紙シートや樹脂フィルム、樹脂シートを巻き付けてその内側に貫通孔3aを形成したものや、射出成形品などが挙げられる。但し、本発明に従えば、保形性を有する剛性の高い材料を採用することを否定するものではない。
即ち、把手Gは、ボトル側壁11に固定されたバンド2と、このバンド2の本体2bが貫通してその貫通部分が折り畳まれた状態で収納される把手本体3とからなる。このため、把手本体3を引っ張ってバンド本体2bを引き出す前のボトル1全体は、図1に示すように、スリムな状態にある。
これに対して、図2に示すように、使用者が把手本体3を摘んでボトル側壁11側から矢印F1に示す方向に引き出せば、図3の矢印F2に示すように、バンド2自身(バンド本体2b)が引き出されることによって、かかる折り畳み状態が解放されて、バンド2と側壁11との間には、指を通して把手本体3を掴むための隙間Cが形成される。
即ち、本発明では、把手Gの基本構造としてバンド2を用い、これに把手本体3の貫通孔3aを通したことから、把手Gとして安全で使い易い。また、把手Gを用いるまでの間は、かかるバンド2が把手本体3内に収納されることから、ボトル全体のスリム化を図ることができる。これにより、梱包時や陳列時に嵩張ることなく、効率的な保管・収納が可能となる。
加えて、本発明では、把手Gの基本構造となるバンド2をボトル側壁11に設け、当該側壁11を平坦面としたことにより、ボトル本体10そのものの充填容量を大きく確保することができる。
特に、本形態の如く、把手本体3として扁平な部材を用いれば、ボトル1全体のスリム化に更に有効である。
また、バンド2の収納方法には、様々なバリエーションがあり、例えば、図4に示すように、バンド2(バンド本体2b)の1箇所だけを折り畳んで収納することも可能である。また、バンド2を折り畳む以外にも、図5に示すように、バンド2(バンド本体2b)の一部分を収縮させて(縮めて)収納することも可能である。
本発明は、主としてボトルを本体とするものに採用されるが、これに限定されるものではない。また、容器の内容量についても、好適には大型の容器に採用されるが、これに限定されるものではなく、更に、内容物についても、飲料等の様々なものを内容物とすることができる。
本発明に従う把手付きボトルの把手引き出し前の状態を上側から示す斜視図である。 同把手付きボトルの把手引き出し後の状態を上側から示す斜視図である。 本発明の一形態であるバンドの収納状態を示す要部断面図である。 本発明の他の形態であるバンドの収納状態を示す要部断面図である。 本発明の更に他の形態であるバンドの収納状態を示す要部断面図である。
符号の説明
1 把手付きボトル
2 バンド
2a バンド端部
2b バンド本体
3 把手本体
3a 把手本体の貫通孔
10 ボトル本体
11 ボトル側壁
C 手を入れるための隙間
G 把手

Claims (2)

  1. 容器本体の側壁に固定される2つの端部を有し、当該端部に繋がる帯状の本体によって側壁との間に隙間を形成する変形可能なバンドと、このバンドの本体を収縮させた状態又は折り畳んだ状態で収納可能な貫通孔を有し、その引き出しによって、当該収縮状態又は折り畳み状態を解放してバンドと側壁との間に隙間を形成する把手本体とを備えることを特徴とする把手付き容器。
  2. 請求項1において、把手本体が扁平な部材であることを特徴とする把手付き容器。
JP2008197516A 2008-07-31 2008-07-31 把手付き容器 Expired - Fee Related JP5220508B2 (ja)

Priority Applications (1)

Application Number Priority Date Filing Date Title
JP2008197516A JP5220508B2 (ja) 2008-07-31 2008-07-31 把手付き容器

Applications Claiming Priority (1)

Application Number Priority Date Filing Date Title
JP2008197516A JP5220508B2 (ja) 2008-07-31 2008-07-31 把手付き容器

Publications (2)

Publication Number Publication Date
JP2010030664A true JP2010030664A (ja) 2010-02-12
JP5220508B2 JP5220508B2 (ja) 2013-06-26

Family

ID=41735667

Family Applications (1)

Application Number Title Priority Date Filing Date
JP2008197516A Expired - Fee Related JP5220508B2 (ja) 2008-07-31 2008-07-31 把手付き容器

Country Status (1)

Country Link
JP (1) JP5220508B2 (ja)

Citations (3)

* Cited by examiner, † Cited by third party
Publication number Priority date Publication date Assignee Title
JPS5418356U (ja) * 1977-07-07 1979-02-06
JPS5957336U (ja) * 1982-10-08 1984-04-14 株式会社明治ゴム化成 把手付大型飲料用容器
JPS6280379U (ja) * 1985-11-11 1987-05-22

Patent Citations (3)

* Cited by examiner, † Cited by third party
Publication number Priority date Publication date Assignee Title
JPS5418356U (ja) * 1977-07-07 1979-02-06
JPS5957336U (ja) * 1982-10-08 1984-04-14 株式会社明治ゴム化成 把手付大型飲料用容器
JPS6280379U (ja) * 1985-11-11 1987-05-22

Also Published As

Publication number Publication date
JP5220508B2 (ja) 2013-06-26

Similar Documents

Publication Publication Date Title
CN103619729A (zh) 湿纸巾包装体
WO2013054708A1 (ja) 巻回体収容箱及び巻回体入り収容箱
JP5220508B2 (ja) 把手付き容器
US20120305016A1 (en) Cylindrical Container for Storage and Display of Nail Appliques
JP5795558B2 (ja) ケース組み立て用シート、包装ケース及び包装体
US11407551B2 (en) Container, system, and method for providing a container with a handle
JP5275716B2 (ja) 把手付き容器
KR101529775B1 (ko) 포장백
JP2004182256A (ja) ラベル付き容器
JP6245810B2 (ja) 包装用容器
JP5137891B2 (ja) 圧縮コットンの包装方法
JP3004173U (ja) 包装容器
JP6596964B2 (ja) ハンダ線ボビンレスコイル
JP2009161239A (ja) 保管箱
KR20190001922U (ko) 배송 상자
CN109264220A (zh) 一种可收纳塑料包装膜盒
CN206841911U (zh) 一种瓶形包装盒
JP5936338B2 (ja) 口腔衛生具用収納容器
JP2009161186A (ja) ブリスター包装容器およびブリスター包装容器の包装方法
JP3175879U (ja) 包装用容器
ES2632716T3 (es) Paquete para llevar con tira de apertura por desgarro
JP2005178879A (ja) トレイ
JP3192561U (ja) ラップフィルム収納箱
JP2004099101A (ja) 把手
JP5984385B2 (ja) ウェットティシュー包装体及び蓋シール

Legal Events

Date Code Title Description
A621 Written request for application examination

Free format text: JAPANESE INTERMEDIATE CODE: A621

Effective date: 20110127

A977 Report on retrieval

Free format text: JAPANESE INTERMEDIATE CODE: A971007

Effective date: 20120911

A131 Notification of reasons for refusal

Free format text: JAPANESE INTERMEDIATE CODE: A131

Effective date: 20121002

TRDD Decision of grant or rejection written
A01 Written decision to grant a patent or to grant a registration (utility model)

Free format text: JAPANESE INTERMEDIATE CODE: A01

Effective date: 20130305

A61 First payment of annual fees (during grant procedure)

Free format text: JAPANESE INTERMEDIATE CODE: A61

Effective date: 20130306

FPAY Renewal fee payment (event date is renewal date of database)

Free format text: PAYMENT UNTIL: 20160315

Year of fee payment: 3

R150 Certificate of patent or registration of utility model

Ref document number: 5220508

Country of ref document: JP

Free format text: JAPANESE INTERMEDIATE CODE: R150

Free format text: JAPANESE INTERMEDIATE CODE: R150

LAPS Cancellation because of no payment of annual fees