JP2010030559A - 自動車のシート装置 - Google Patents

自動車のシート装置 Download PDF

Info

Publication number
JP2010030559A
JP2010030559A JP2008197720A JP2008197720A JP2010030559A JP 2010030559 A JP2010030559 A JP 2010030559A JP 2008197720 A JP2008197720 A JP 2008197720A JP 2008197720 A JP2008197720 A JP 2008197720A JP 2010030559 A JP2010030559 A JP 2010030559A
Authority
JP
Japan
Prior art keywords
seat
seat cushion
cushion
slide
seat back
Prior art date
Legal status (The legal status is an assumption and is not a legal conclusion. Google has not performed a legal analysis and makes no representation as to the accuracy of the status listed.)
Granted
Application number
JP2008197720A
Other languages
English (en)
Other versions
JP5347364B2 (ja
JP2010030559A5 (ja
Inventor
Koichi Nakaya
耕一 中矢
Daisaku Tochigi
大作 栃木
Current Assignee (The listed assignees may be inaccurate. Google has not performed a legal analysis and makes no representation or warranty as to the accuracy of the list.)
Mazda Motor Corp
Original Assignee
Mazda Motor Corp
Priority date (The priority date is an assumption and is not a legal conclusion. Google has not performed a legal analysis and makes no representation as to the accuracy of the date listed.)
Filing date
Publication date
Application filed by Mazda Motor Corp filed Critical Mazda Motor Corp
Priority to JP2008197720A priority Critical patent/JP5347364B2/ja
Publication of JP2010030559A publication Critical patent/JP2010030559A/ja
Publication of JP2010030559A5 publication Critical patent/JP2010030559A5/ja
Application granted granted Critical
Publication of JP5347364B2 publication Critical patent/JP5347364B2/ja
Expired - Fee Related legal-status Critical Current
Anticipated expiration legal-status Critical

Links

Images

Landscapes

  • Seats For Vehicles (AREA)

Abstract

【課題】この発明は、シートバック前傾時にシートクッションを折り畳み位置に確実に移動させることを可能にしつつ、シートバックの振動がシートクッションへ伝達されることを防止して、乗員の不快感を解消することができ、また、シートクッションを前方にスライド可能とするとともに、シートバックを前傾可能に設けたものにおいて、乗員の乗降性向上を図ることを可能にする自動車のシート装置を提供することを目的とする。
【解決手段】クッションロック機構35の規制解除を行った状態で、シートバック1bの前傾時、シートクッション1aをシートバック1bで押圧しながら折り畳み位置に移動するように構成した。また、ストラップ部材41の作動によりシートバック1bを前傾させた時、シートクッション1aのスライド位置決めを解除しつつ、シートクッション1aの上方着座位置を維持するように構成した。
【選択図】図4

Description

この発明は、自動車のフロアにシートクッションとシートバックとを備えた自動車のシート装置に関する。
従来より、自動車のシート装置においては、シートバックを前傾させることを可能にする所謂リクライニング機構を備えたものが知られている。このリクライニング機構を備えることにより、シートバックをシートクッション上に折り畳むことが可能になり、シートバックを折り畳んだ時には、その背面を荷室床面として利用することができるようになっている。
また、近年では、シートバックを折り畳んだ時にシートクッションを正規の上方着座位置から前方かつ下方の折り畳み位置に移動できるようにしたものが提案されている。これにより、シートバックを折り畳んだ時には、その背面を略水平にすることが可能になり、荷物をより安定的に載置できる。
このうち、下記特許文献1では、シートバックとシートクッションとを適宜のリンク機構で連結することにより、シートバックの前傾動作に連動してシートクッションを上記折り畳み位置に移動させることを可能にしている。下記特許文献1によれば、シートバックの前傾と同時にシートクッションを移動させることで、車両のシート折り畳み操作を簡便にすることができるとしている。
特開平7−61271号公報
ところで、自動車のシート装置においては、一般的にシートバックが、シートクッション(シート基部)から上方に延びた起立姿勢に保持されることにより、比較的振動し易い部分となっていることが分かっている。
ここで、上記特許文献1に開示されているように、シートバックとシートクッションとをリンク機構等で連結した場合を考えると、この場合、シートバックで発生した振動がシートクッションに伝達され易くなり、座面が振動する等の不都合が生じて乗員に不快感を与える虞がある。
また、近年では、例えば、ミニバンやワゴン車等の車種において、上述したリクライニング機構とともに、シートクッションを車体フロアに対して前後スライド移動可能にするシートスライド機構を備えたものが知られている。この場合、シートバックを若干前傾させた退避状態とするとともに、シートクッションを前方にスライド移動させることで、後列シートでは、車体側部の乗降口を利用してシートへ乗り込んだり(ウォークインともいう)、下車したりする(乗降する)ことができる。
ここで、シートスライド機構をさらに備えたものにおいて、上記特許文献1に開示されているように、シートバックとシートクッションとをリンク機構等で連結することが考えられる。しかしながら、この場合、乗員の乗降を目的としてシートバックを前傾させる時であっても、上記リンク機構により、シートバックの前傾動作に伴ってシートクッションは不用意に前方へ移動してしまう。
従って、シートクッションが前方移動した分、シートクッション前端部と前列シート(スライドするシートが前列シートである場合は、その前方のインストルメントパネル)との距離が狭められることとなり、シートクッションを前方にスライドさせる際には、十分なスライド量を確保することができなくなってしまう。この場合、結果的にシート装置が乗員の乗降の妨げとなり、乗降性を損ねてしまう虞がある。
この発明は、シートバック前傾時にシートクッションを折り畳み位置に確実に移動させることを可能にしつつ、シートバックの振動がシートクッションへ伝達されることを防止して、乗員の不快感を解消することができる自動車のシート装置を提供することを目的とする。
また、この発明は、シートクッションを前方にスライド可能とするとともに、シートバックを前傾可能に設けたものにおいて、乗員の乗降性向上を図ることを可能にする自動車のシート装置を提供することを目的とする。
この発明の自動車のシート装置は、自動車のフロアにシートクッションとシートバックとを備えた自動車のシート装置であって、上記シートクッションを、車体のフロアに対して前後スライド可能とするとともに、前後スライド位置での位置決めを可能とするシートスライド手段と、上記シートクッションを正規の上方着座位置と下斜め前方に移動させた折り畳み位置とに移動可能に支持する支持手段と、操作手段の作動により上記シートバックを前傾させるリクライニング手段とを備え、上記シートスライド手段は、上記操作手段の作動により上記リクライニング手段を作動させて上記シートバックを前傾させた時、上記シートスライド手段によるスライド位置決めを解除するとともに、上記支持手段は、上記シートクッションの上方着座位置を維持するものである。
この構成によれば、シートクッションとシートバックとがリンク機構等を介して連結されず、かつ操作手段が作動した時には、シートバックの前傾動作に関わらずシートクッションが上方着座位置に維持されるような構成となっているため、シートクッションが折り畳み位置への移動によって前方に移動することがない分、シートクッションを前方へ大きくスライドさせることができ、その結果、乗降性を向上させることができる。
この発明の一実施態様においては、上方着座位置で上記シートクッションの動きを規制するシートロック手段と、上記シートロック手段の規制を解除するシートロック解除手段とを備え、上記リクライニング手段は、上記シートバックをその背面が略水平状態若しくは略水平状態に近い緩傾斜状態となる折り畳み位置までシートバックを前傾可能とするとともに、上記シートロック解除手段は、上記シートバックの前傾状態で上記シートロック手段の規制解除を行うことで、上記シートクッションを上記シートバックで押圧しながら折り畳み位置に移動可能に構成したものである。
この構成によれば、シートロック解除手段が、シートロック手段によるシートクッションの移動規制状態を解除した後、前傾動作時のシートバックの押圧力を利用することで、シートクッションを折り畳み位置に確実に移動させることができる。
この発明の一実施態様においては、上記支持手段が、上記シートクッションのフレーム部材の前側と後側とを、前側リンクと後側リンクとを介して上記シートスライド手段のアッパレール上に支持するものである。
この構成によれば、シートクッションを前側、後側のリンクを介して支持することにより、シートクッションを前後で安定的に支持することができ、これを下斜め前方の折り畳み位置に確実に移動させることができる。
この発明の一実施態様においては、上記シートクッションを折り畳み位置から上方着座位置に復帰させる所定の付勢力を与えるバネを備えるものである。
この構成によれば、バネの付勢力を利用する簡素な構成でありながら、シートクッションの復帰動作のための操作性を向上させることができる。
この発明の一実施態様においては、上記シートスライド手段が、上記操作手段の作動により上記リクライニング手段を作動させてシートバックを前傾させた時、上記シートスライド手段によるスライド位置決めを解除するスライドロック解除手段を備えるものである。
この構成によれば、シートバックの前傾時、シートクッションを確実にスライド可能な状態とすることができる。
この発明の一実施態様においては、上記シートロック解除手段が、上記シートバックの所定角度の前傾時に、この前傾に連動して上記シートロック手段の規制を解除するように構成されものである。
この構成によれば、操作手段の作動でシートバックが前傾動作した時には、シートクッションを確実に折り畳み位置に移動させることができる。
この発明の一実施態様においては、上記スライドロック解除手段が、上記シートバックの上記所定角度より小さい第2角度の前傾時にスライド位置決めを解除するものである。
この構成によれば、シートクッションの前方へのスライドが可能になる前にシートクッションが折り畳み位置(下斜め前方)に移動するといった不具合を確実に防止できる。
この発明の自動車のシート装置は、自動車のフロアにシートクッションとシートバックとを備えた自動車のシート装置であって、上記シートクッションを正規の上方着座位置と下方に移動させた折り畳み位置とに移動可能に支持する支持手段と、上方着座位置で上記シートクッションの動きを規制するシートロック手段と、操作手段の作動により上記シートバックを前傾させるリクライニング手段と、上記シートロック手段の規制を解除するシートロック解除手段とを備え、上記操作手段の作動により上記リクライニング手段を作動させつつ、上記シートロック解除手段による上記シートロック手段の規制解除を行った状態で、上記シートバックの折り畳み位置までの前傾時に、上記シートクッションを上記シートバックで押圧しながら折り畳み位置に移動するように構成したものである。
この構成によれば、シートクッションとシートバックとをリンク機構等を介して連結しない構成とすることで、車両走行時のシートバックの振動がシートクッション側に伝達されることを抑制でき、乗員着座時の不快感を解消することができる。
さらに、シートロック解除手段が、シートロック手段によるシートクッションの移動規制状態を解除した後、前傾動作時のシートバックの押圧力を利用することで、シートクッションを折り畳み位置に確実に移動させることができる。
この発明の一実施態様においては、上記支持手段が、上記シートクッションのフレーム部材の前側と後側とを、前側リンクと後側リンクとを介して支持するものである。
この構成によれば、シートクッションを前側、後側のリンクを介して支持することにより、シートクッションを前後で安定的に支持することができ、これを下方の折り畳み位置に確実に移動させることができる。
この発明の一実施態様においては、上記シートクッションを折り畳み位置から上方着座位置に復帰させる所定の付勢力を与えるバネを備えるものである。
この構成によれば、バネの付勢力を利用する簡素な構成でありながら、シートクッションの復帰動作のための操作性を向上させることができる。
この発明の一実施態様においては、上記シートロック解除手段が、上記シートバックの所定角度の前傾時に、この前傾に連動して上記シートロック手段の規制を解除するように構成されるものである。
この構成によれば、操作手段の作動でシートバックが前傾動作した時、シートクッションを確実に折り畳み位置に移動させることができる。
この発明によれば、シートクッションとシートバックとがリンク機構等を介して連結されず、かつ操作手段が作動した時には、シートバックの前傾動作に関わらずシートクッションが上方着座位置に維持されるような構成となっているため、シートクッションが折り畳み位置への移動によって前方に移動することがない分、シートクッションを前方へ大きくスライドさせることができ、その結果、乗降性を向上させることができる。
また、この発明によれば、シートクッションとシートバックとをリンク機構等を介して連結しない構成とすることで、車両走行時のシートバックの振動がシートクッション側に伝達されることを抑制でき、乗員着座時の不快感を解消することができる。
さらに、シートロック解除手段が、シートロック手段によるシートクッションの移動規制状態を解除した後、前傾動作時のシートバックの押圧力を利用することで、シートクッションを折り畳み位置に確実に移動させることができる。
以下、図面に基づいて本発明の実施形態を詳述する。
図1は、この発明の実施形態に係る自動車のシート装置を備えた車両を示す側面図であり、図2は、2列目シートを示す斜視図である。なお、図中において矢印(Fr)は車両前方、矢印(R)は車両後方を示す。図1、図2に示すシート1は、例えば、ミニバンやワゴン車等の3列シートタイプの車両において、運転席や助手席となる前列シート(不図示)後方に設置される2列目シートであり、
フロアパネル2上に設置されている。ここで、図1において、シート1後方のフロアパネル2上に設置されたシート3は、3列目シートである。
また、図1にて一点鎖線で示す部位4は、車体側部においてシート1近傍の略左右両側に形成された乗降口であり、乗員は、この乗降口4を利用してシート1及び3列目シート3へ乗り込んだり、下車したりすることができるようになっている。
また、シート1は、フロアパネル2上に座面を形成するシートクッション1aが、図1に示すシートスライド機構10を介してフロアパネル2に対し車両前後方向にスライド可能とされるとともに、前後スライド位置で位置決め可能に支持されている。
シートスライド機構10は、フロアパネル2に設けられたロアレール10aと、該ロアレール10aに対して車両前後方向にスライド可能とされるアッパレール10bとを有している。
図1、図2に示すシート1は、シートクッション1aと、このシートクッション1aの後端部に枢支されて上方に起立するシートバック1bと、シートバック1bの上部にて乗員の頭部を保持するヘッドレスト1cとを有するとともに、シート1は、図3に示すように、その基部をなすベースフレーム11が、アッパレール10bの上面に固定されている。なお、図3は、図1、図2に示すシートのシートバック支持部周辺一方側を前方かつ外側から見た斜視図である。
ベースフレーム11は、上下方向に延びる前側及び後側リンク12、13の下部を支軸14a、14bを介して回動可能に支持している。
そして、前側リンク12及び後側リンク13は、その上端部が、シートクッション1aのクッションパン16を取付けたクッションフレーム17の前部側部、後部側部に支軸15a、15bを介して連結されている。これにより、ベースフレーム11は、リンク12、13を介してシートクッション1aをアッパレール10b上に支持している。
ここで、前側、後側リンク12、13が図3に示すように起立姿勢となっている時には、シートクッション1aは、適度な高さ位置に座面が位置する正規の上方着座位置に保持される一方、両リンク12、13の上端部が支軸14a、14bを中心とした回動によって前方移動した時には、上記上方着座位置に対して下斜め前方の折り畳み位置に移動するようになっている。
また、ベースフレーム11及び後側リンク13には、それぞれシート幅方向内側に突出する係止ピン18、19が取付けられており、両係止ピン18、19には、後述する板バネ20の両端が係止されている。
板バネ20は、その長手方向中央部が側面視で略円弧状をなして弾性変形可能とされるとともに、両端部は、係止ピン18、19へ係止させるべく側面視で円弧状に折り返されている。後側リンク13には、板バネ20によって、シートクッション1aを上方着座位置に移動させるための付勢力が付与されている。
また、ベースフレーム11には、後側リンク13の後部に当接するストッパ部11aが形成されており、このストッパ部11aにより、後側リンク13が板バネ20の付勢力で必要以上に回動することを規制している。
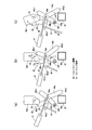
図4は、図1、図2に示すシートのシートバック支持部周辺を前方かつシート幅方向内側から見た斜視図であり、シート幅方向一方側を示している。ベースフレーム11の後部には、図3、図4に示すようなベースブラケット21が取付けられており、シート1では、このベースフレーム11及びベースブラケット21が、図1、図2に示すような、シートクッション1aの左右の側辺部等を覆う保護カバー22により隠蔽されている。
ベースブラケット21は、シートバック1bのシートバックフレーム23に連結ブラケット24を介して取付けられたナックルブラケット25を回動可能に支持している。ナックルブラケット25は、その上部が平板状をなして連結ブラケット24に接合される一方、下部が略円筒状をなして回動中心部25aを構成しており、この回動中心部25aが、ベースブラケット21に回動可能に支持されている。
ナックルブラケット25の回動中心部25aには、その中心において、シート幅方向に延びるシャフト26の一端側が貫通配置されている。このシャフト26は、リンク27を介してケーブル28に接続され、図1、図2に示すように、シートバック1b上面のヘッドレスト1c側方に配設された操作レバー29に接続されている。
また、回動中心部25aには、その内面側に円弧状のスリット孔25bが形成されており、このスリット孔25bに沿ってスライド移動可能にスライダピン30が配設されている。そして、このスライダピン30は、上下に延びるケーブル31を介してリンク32の一端側に接続されている。
リンク32は、シート幅方向に延びる板状の部材とされ、その長手方向の略中央部が、シート幅方向に延びるアンカーバー33前面に支軸34を介して枢支されている。
さらに、リンク32の長手方向他端側には、下方に突出する押込みヘッド部32aが形成されており、後述するクッションロック機構35を構成するロック爪35aの後部上方に位置している。
クッションロック機構35は、図5に示すように、ロック爪35aの他、アンカーバー33に接合されたブラケット35bと、該ブラケット35bに対してロック爪35aを回動可能に枢支する支軸35cと、ロック爪35aに形成された係止端35d側を下方に付勢するバネ部35eとから構成されている。
ロック爪35aの係止端35dは、クッションフレーム17の後部に取付けられた略ハット状をなす被係止部36の上方に位置してこれと係合可能に構成されており、支軸35cを中心としたロック爪35aの回動により、被係止部36に対する係合、離反を切り替えることが可能になっている。
ここで、クッションロック機構35では、係止端35dと被係止部36との係合状態がバネ部35eの付勢力によって保持できるようになっている。このため、被係止部36との係合を解除しない限り、ロック爪35aは被係止部36との係合状態を保持して上方着座位置でシートクッション1aの下斜め前方への移動を規制する。
なお、ブラケット35bに凸状に形成された部位35fは、バネ部35eの付勢力によって係止端35dが必要以上に下方へ変位することを防止するためのストッパ部である。
図6は、図1、図2に示すシートのシートバック支持部周辺を前方かつシート幅方向内側から見た時の斜視図であり、シート幅方向他方側を示している。シート1には、ベースフレーム11がシート幅方向の両側に配設されており、ベースブラケット21が配設される側を一方側とした場合、それと異なる他方側のベースフレーム11の後部にも、図6に示すように、ベースブラケット21に対応するベースブラケット37が取付けられている。
ここで、ベースブラケット21及び37には、アンカーバー33の端部が接合され、ベースブラケット21、37同士がアンカーバー33によって橋渡されるような構造となっている。シート1では、このアンカーバー33により剛性の向上が図られている。
また、ベースブラケット37は、ベースブラケット21と同様、ナックルブラケット25に対応するナックルブラケット38を回動可能に支持している。ナックルブラケット38は、その上端部が連結ブラケット39に接合されており、この連結ブラケット39を介してシートバックフレーム23に連結されている。
このように、シート1では、シートバック1bのフレーム23に取付けられたナックルブラケット25、38、及びベースブラケット21、37により、リクライニング機構を構成しており、ナックルブラケット25、38がベースブラケット21、37により回動可能に支持されることで、シートバック1bは、その下部を中心に回動しながら前傾動作することが可能になっている。
ところで、図4に示すシャフト26は、その他端側が、図6に示すベースブラケット37及びナックルブラケット38に貫通配置されており、ベースブラケット37の内側に配設されたウォークイン機構40を構成する第1リンク40aの支軸を構成している。
ウォークイン機構40は、図6、図7に示すように、側面視で略く字状をなす第1リンク40aと、第1リンク40aの下端と当接する第2リンク40bと、側面視で略Y字状をなし、第2リンク40bと支軸40dを介して連結される第3リンク40cと、ナックルブラケット38の内面側に締結されたキックプレート40eとにより構成されている。
また、ウォークイン機構40には、第2リンク40bと第3リンク40cとを連結する支軸40dに、図1、図2、及び図6に示すようなストラップ部材41がケーブル42を介して接続されている。
第1リンク40aは、第2リンク40bと当接可能とされることで、該第2リンク40bの変位によりシャフト26を中心に回動可能とされている。また、第2リンク40bは、その一端部が支軸40fに枢支されるとともに、ベースブラケット37に一端が固定されたバネ40gにより、他端部を後方へ移動させるための付勢力が付与されている。また、第3リンク4cは、支軸40dから放射状に3箇所延出部40c1、40c2、40c3が形成されており、そのうち、上方、下方に延びる延出部40c1、40c2は、先端部がそれぞれキックプレート40eの下部、アンカーバー33に近接するように配置され、延出部40c3は、下方に延びるケーブル43を介して、図8に示すスライドロック解除機構44に接続されている。
図8は、スライドロック解除機構44を示す斜視図である。スライドロック解除機構44は、ロアレール10aに対するアッパレール10bの車両前後方向の位置決め状態を解除し、シートクッション1aの前後スライドを許容するための機構である。このスライドロック解除機構44は、主に、ケーブル43に連結された第1リンク44aと、該第1リンク44aの前方に配設された第2リンク44bとにより構成される。
第1リンク44aは、支軸44cを介してベースフレーム11に回動可能に支持されるとともに、その下端部には孔部44dが穿設されており、この孔部44dにケーブル43先端の差込具43aが差し込まれることで、ケーブル43と第1リンク44aとが連結されている。さらに、第1リンク44aは、その前端部において、内側に折曲された押込み突片44eを有しており、この押込み突片44eが第2リンク44b後端部上方を覆う位置に配置されている。
第2リンク44bは、支軸44fを介してベースフレーム11に回動可能に支持されるとともに、その後端部と支軸44fとの間には、下方延出部44gが形成されている。この下方延出部44gの下端部には、前後方向に一定間隔で下方に延びる突起を有する櫛歯部(不図示)が形成されており、この櫛歯部は、公知のように、ロアレール10aの上面部において上記櫛歯部の突起の前後間隔と等間隔で形成された孔部(不図示)と係合可能とされている。
ここで、第2リンク44bは、支軸44fに枢支されていることで、後部側が上下動可能とされている。シートスライド機構10では、第2リンク44bの後部側が上方に位置した時、第2リンク44b側の上記櫛歯部の突起とロアレール10a側の孔部とが係合する。そして、シートクッション1aの前後方向のスライド移動が規制されて位置決めがなされる。一方、上記後端部が下方に位置した時には、上記櫛歯部の突起と孔部との係合が解除された状態となり、シートクッション1aが、前後方向に移動可能となる。
また、支軸44fと下方延出部44g(櫛歯部)との間の部分は、一端部がベースフレーム11に固定されたバネ44hと連結されており、このバネ44hにより、第2リンク44bの支軸44fよりも後側の部分は常時上方に付勢され、通常時にはシートクッション1aの位置決め状態が保持されている。
(シートバック折り畳み操作時)
ここで、図9〜図12をさらに参照して、シートバック1bをシートクッション1a上に折り畳む時の動作について説明する。本実施形態では、上述したように、シートバック1bのシートバックフレーム23に取付けられたナックルブラケット25、38がベースブラケット21、37に対して回動可能に支持されることで、背面が略水平状態若しくは略水平状態に近い緩傾斜状態となる折り畳み位置までシートバック1bを前傾させることができるようになっている。
この場合、先ず乗員は、図9に示す矢印Aの方向に操作レバー29を引っ張ることにより、ケーブル28を引っ張り、図4に示すように、リンク27を介してシャフト26を矢印Bで示す方向に回転させる。
なお、このように、操作レバー29の作動によってシャフト26が回転した時には、ウォークイン機構40(図6参照)では、第1リンク40aが第2リンク40bから離間する方向に回動するため、リンク40b、40cが動作することはない。
ところで、ベースブラケット21とナックルブラケット25の回動中心部25aとの間には、公知のリクライニングロック解除機構(不図示)が内蔵されている。本実施形態では、上述したようにシャフト26が回転すると、上記解除機構を構成するカムが回動し、シートバック1bの起立姿勢保持状態が解除されるようになっている。
このように、シートバック1bの起立姿勢保持状態が解除されると、ナックルブラケット25、38が回動可能な状態となり、シートバック1bは、図9に示すように、不図示の付勢手段の付勢力によって前傾する方向に回動する。
この時、ナックルブラケット25が図4及び図10に示す矢印Cの方向に回動することとなるが、ナックルブラケット25が図10で示す所定角度θ1だけ回動すると、スリット孔25bの一端部とスライダピン30とが当接するようになっており、これに伴ってケーブル31が図10にて矢印Dで示すように上方に引っ張られるようになっている。
これにより、リンク32は、図11(a)にて矢印Eで示すように反時計方向に回動し、クッションロック機構35のロック爪35aの後部を、バネ35eの付勢力に抗して矢印Fで示すように下方に移動させる。この時、ロック爪35aは、支軸35cを中心に図11(b)にて矢印Gで示すように時計方向に回動して、係止端35dと被係止部36との係合を解除し、シートクッション1aの上方着座位置での移動規制状態を解除する。
本実施形態では、シートバック1bの前傾動作時、その前面下部がシートクッション1aの後部に当接するようになっており、上述したように上方着座位置での移動規制状態が解除された時には、シートバック1bの前傾動作時の押圧力によってシートクッション1aを折り畳み位置に移動させることが可能になっている。
この時、板バネ20は、弾性変形を伴いながら、図12(a)に示す状態から同図(b)で示す状態に変化し、その結果シートクッション1aは前後のリンク12、13の回動により下斜め前方の折り畳み位置に移動(ダイブダウン)する。
このため、シートバック1bをシートクッション1a上に折り畳んだ時には、シートクッション1aのダイブダウンによって、図13に示すようにシートバック1bの背面を略水平状態にすることができ、上記背面の荷物を安定的に載置することが可能になる。
このように、本実施形態では、シートクッション1aとシートバック1bとをリンク機構等を介して連結しなくとも、操作レバー29の作動に伴いシートバック1bが前傾動作し、リンク32がクッションロック機構35の上記規制状態を解除した時には、シートクッション1aをシートバック1bで押圧しながら折り畳み位置に移動させることを可能にしている。
この場合、シートクッション1aとシートバック1bとを連結しない構成とすることで、車両走行時のシートバック1bの振動がシートクッション1a側に伝達されることを抑制でき、乗員着座時の不快感を解消することができる。
特に、ミニバンやワゴン車等の車種においてシートクッション1aがシートスライド機構10により移動可能に構成されている場合には、シートクッション1aがシートスライド機構10によってフロアパネル2から上方に離間して配置されているため、シートバック1bの振動がシートクッション1aに伝達され易い構造となっている。
また、車両の駆動方式をフロントエンジン・フロントドライブの所謂FFタイプとした場合には、車両前部に重心が位置するために、後列側のシート1がより振動し易くなることが分かっている。
従って、本実施形態のように、シートクッション1aとシートバック1bとをリンク機構等を介して連結しない構成は、上述したようにシートクッション1aがシートスライド機構10によって移動可能に構成されているものや、車両の駆動方式がFFタイプとされているものにおいてより好適となる。
さらに、本実施形態では、リンク32がクッションロック機構35によるシートクッション1aの移動規制状態を解除した後、前傾動作時のシートバック1bの押圧力を利用することで、シートクッション1aを折り畳み位置に確実に移動させることができる。
また、ベースフレーム11が、シートクッション1aを前側、後側のリンク12、13を介してシートシートスライド機構10のアッパレール10b上に支持していることにより、シートクッション1aを前後で安定的に支持することができ、これを下斜め前方の折り畳み位置に確実に移動させることができる。
また、シートバック1bを所定角度θ1だけ前傾させた時、この前傾に連動してリンク32がシートロック機構35によるシートクッション1aの移動規制状態を解除するようにしたため、操作レバー29の作動でシートバック1bが前傾動作した時には、シートクッション1aを確実に折り畳み位置に移動させることができる。
ところで、図13に示す状態から、シートバック1bを起立姿勢の状態に復帰させると、板バネ20の付勢力の作用でクッション1aが上方着座位置に向かって後方かつ上方に押動されるようになっている。そして、バネ35eの付勢力によって初期位置に戻されたロック爪35aの係止端35dに、クッションフレーム17に取付けられた被係止部36を当接させることができるようになっている。
この時、ロック爪35aには被係止部36の押圧力が作用し、ロック爪35aは、バネ35eの付勢力に抗して矢印G(図11(b)参照)の方向に回動する。そして、ロック爪35aの係止端35dが、被係止部36の押圧力によって上方に押し上げられ、被係止部36がさらに後方に進出して係止端35dを乗り越えた時、ロック爪35aがバネ35eの付勢力の作用により矢印Gと逆方向に回動し、両者は再び係合することになる。このように、ロック爪35aと被係止部36とが再度係合することで、シートバック1bの上記復帰操作のみによってシートクッション1aは、上方着座位置に保持される状態に復帰することができる。
本実施形態では、板バネ20を備えて、折り畳み位置にあるシートクッション1aを上方着座位置に復帰させるようにしたため、板バネ20の付勢力を利用する簡素な構成でありながら、シートクッション1aの復帰動作のための操作性を向上させることができる。
(3列目シート乗降操作時)
次に、図14〜図16をさらに参照して、3列目シート3(図2、図16参照)の乗員を乗降させるべく所定の操作を行った時の動作について説明する。本実施形態では、上述したように、シートクッション1aが、シートスライド機構10によってスライド可能に支持されつつ、シートバック1bのシートバックフレーム23が、ベースブラケット21、37に対して回動可能に支持されることで、シートバック1bを若干前傾させた退避状態としつつ、シート1を前方にスライド移動させた時、3列目シート3の乗員は、乗降口4から乗降できるようになっている。
この場合、先ず乗員は、図14(a)に示す初期状態において、同図(b)にて矢印Hで示す方向にストラップ部材41を引っ張る。この時、第2、第3リンク40b、40cはバネ40gの付勢力に抗して支軸40fを中心に矢印Iで示す反時計方向に回動する。
また、この時、第2リンク40bの上記回動に伴い、これに当接する第1リンク40aは矢印Jで示すように時計方向に回動し、これによってシャフト26が矢印Bの方向に回転する。
このようにシャフト26が回転すると、上述したシートバック1bの折り畳みの場合と同様、上記リクライニングロック解除機構においてシートバック1bの起立姿勢保持状態が解除され、シートバック1bが前傾方向に回動させられる。
そして、シートバック1bが前傾し始めると、ナックルブラケット38(図6参照)の回動に伴ってこれに締結固定されたキックプレート40eが、図14(c)に示すように、矢印Kで示す反時計方向に回動する。
このようにキックプレート40eが回動すると、ストラップ部材41が操作された時点で既に第3リンク40cが前方に移動していることにより、キックプレート40eの下部と第3リンク40の延出部40c1とが当接し、キックプレート40eのさらなる回動によって第3リンク40cが矢印Lで示す時計方向に回動するようになっている。
この時、第3リンク40cの上記回動に伴って、延出部40c3が上方に変位することになるが、この延出部40c3の変位により、これに接続されたケーブル43が矢印Mで示すように上方に引っ張られることになる。
そして、このようにケーブル43が引っ張られると、図8に示すスライドロック機構44の第1リンク44aが、支軸44cを中心にして矢印Nで示す方向に回動し、押込み突片44eを下方に変位させる。この時、第2リンク44bの後端部が下方に押圧され、バネ44hの付勢力に抗して矢印Pで示す方向に回動する。
そして、この第2リンク44bの回動により、下方延出部44gは矢印Qで示すように下方に移動して、その下端部に形成された櫛歯部の突起とロアレール10a側の孔部との係合が解除される。これにより、アッパレール10bより上方のシートクッション1aの位置決め状態は解除され、シート1は前方にスライド可能な状態となる。
ところで、第3リンク40cが図14(c)に示すように回動してスライドロック機構44を作動させた後、さらに回動が進むと、延出部40c2が下方のアンカーバー33に当接し、それ以上の回動が規制されるようになっている。
従って、キックプレート40eの回動が規制され、ひいてはシートバック1bのさらなる回動が規制される。このような一連の動作により、図15、図16に示すように、シートバック1b(ナックルブラケット25)を若干前方に傾動させた退避状態としつつ、シート1を前方にスライドさせることができ、これによって、3列目シート3では、乗降口4からスムーズに乗降することができる。
本実施形態では、ストラップ部材41を操作した時、上述したようにシートバック1bの回動が途中で規制されるように構成したことで、図15に示すように、ナックルブラケット25のスリット孔25bの一端部とスライダピン30とが当接する角度θ1より小さい角度θ2で,ナックルブラケット25の回動を停止させることができるようになっている。
これにより、ストラップ部材41の操作時には、リンク32は作動せず、シートクッション1aは、クッションロック機構35によって上方着座位置に維持されたままの状態となる。
このように、本実施形態では、シートクッション1aとシートバック1bとがリンク機構等を介して連結されず、かつストラップ部材41が作動した時には、シートバック1bの前傾動作に関わらずシートクッション1aが上方着座位置に維持されるような構成となっている。この場合、シートクッション1aがダイブダウンによって前方に移動することがない分、前列シートとの距離を大きく確保できるため、シート1を前方へ大きくスライドさせることができ、その結果、乗降口4から3列目シート3の乗員が乗降する際の乗降性を向上させることができる。
また、ストラップ部材41の作動でシートバック1bを前傾させた時、シートスライド機構10では、ウォークイン機構40によってスライドロック機構44の位置決め状態を解除できるようにしているため、シートバック1bの前傾時には、シートクッション1aを確実にスライド可能な状態とすることができる。
また、本実施形態では、ストラップ部材41が作動した時、ウォークイン機構40は、シートバック1b前傾時の角度が上記所定角度θ1より小さい第2角度θ2となったところでスライドロック機構44によるスライド位置決め状態を解除するように構成されている。これにより、シートクッション1aの前方へのスライドが可能になる前にシートクッション1aがダイブダウンするといった不具合を確実に防止できる。
なお、上述した実施形態では、3列目シート3の乗員がシート1側方の乗降口4から乗降できるように、2列目シート1をスライド可能にした場合について説明したが、本発明は必ずしもこれに限定されるものではない。例えば、2列目シートの乗員が1列目(前列)シート側方の乗降口から乗降できるように、前列シートをスライド可能にしたものに本発明を適用してもよい。
この場合、前列シートのスライド時に、そのシートクッションが下斜め前方にダイブダウンすることを規制できるため、前列シートと、その前方に位置するインストルメントパネルとの距離を大きく確保でき、上記前列シートを前方へ大きくスライドさせることが可能になる。その結果、乗降口から2列目シートの乗員が乗降する際の乗降性を向上させることができる。
この発明の構成と、上述の実施形態との対応において、
この発明のシートスライド手段は、シートスライド機構10、ウォークイン機構40、及びスライドロック機構44に対応し、
以下同様に、
支持手段は、ベースフレーム11に対応し、
リクライニング手段は、ベースブラケット21、37、及びナックルブラケット25、38に対応し、
シートロック手段は、クッションロック機構35に対応し、
シートロック解除手段は、リンク32に対応し、
スライドロック解除手段は、ウォークイン機構40に対応し、
操作手段は、操作レバー29及びストラップ部材41に対応するも、
この発明は、上述の実施形態の構成のみに限定されるものではなく、多くの実施の形態を得ることができる。
この発明の実施形態に係る自動車のシート装置を備えた車両を示す側面図。 2列目シートを示す斜視図。 図1、図2に示すシートのシートバック支持部周辺一方側を前方かつ外側から見た斜視図。 図1、図2に示すシートのシートバック支持部周辺を前方かつシート幅方向内側から見た斜視図であり、シート幅方向一方側を示す図。 クッションロック機構を示す斜視図。 図1、図2に示すシートのシートバック支持部周辺を前方かつシート幅方向内側から見た時の斜視図であり、シート幅方向他方側を示す図。 ウォークイン機構を前方から見た図。 スライドロック機構を示す斜視図。 操作レバー動作時においてシートバックが前傾している状態を示す側面図。 操作レバー作動時においてナックルブラケットが回動している状態を示す側面図。 (a)操作レバー作動時においてリンクが回動している状態を示す正面図。(b)クッションロック機構の動作を示す側面図。 (a)操作レバー作動前における板バネの状態を示す側面図、(b)操作レバー作動後における板バネの状態を示す側面図。 シートクッション及びシートバックが折り畳み位置にある状態を示す側面図。 ストラップ部材作動時におけるウォークイン機構の挙動を説明するための側面図であり、(a)ストラップ部材作動前の状態を示す図、(b)ストラップ部材作動直後の状態を示す図、(c)シートバック前傾動作時の状態を示す図。 ストラップ部材作動時においてナックルブラケットの回動が停止した時の状態を示す側面図。 3列目シートにおいて乗降口からの乗降が許容された状態を示す側面図。
符号の説明
1…シート
1a…シートクッション
1b…シートバック
2…フロアパネル
10…シートスライド機構
10b…アッパレール
11…ベースフレーム
12…前側リンク
13…後側リンク
17…クッションフレーム
20…板バネ
21、37…ベースブラケット
25、38…ナックルブラケット
29…操作レバー
32…リンク
35…クッションロック機構
40…ウォークイン機構
41…ストラップ部材
44…スライドロック機構

Claims (11)

  1. 自動車のフロアにシートクッションとシートバックとを備えた自動車のシート装置であって、
    上記シートクッションを、車体のフロアに対して前後スライド可能とするとともに、前後スライド位置での位置決めを可能とするシートスライド手段と、
    上記シートクッションを正規の上方着座位置と下斜め前方に移動させた折り畳み位置とに移動可能に支持する支持手段と、
    操作手段の作動により上記シートバックを前傾させるリクライニング手段とを備え、
    上記シートスライド手段は、上記操作手段の作動により上記リクライニング手段を作動させて上記シートバックを前傾させた時、上記シートスライド手段によるスライド位置決めを解除するとともに、
    上記支持手段は、上記シートクッションの上方着座位置を維持する
    自動車のシート装置。
  2. 上方着座位置で上記シートクッションの動きを規制するシートロック手段と、
    上記シートロック手段の規制を解除するシートロック解除手段とを備え、
    上記リクライニング手段は、上記シートバックをその背面が略水平状態若しくは略水平状態に近い緩傾斜状態となる折り畳み位置までシートバックを前傾可能とするとともに、
    上記シートロック解除手段は、上記シートバックの前傾状態で上記シートロック手段の規制解除を行うことで、上記シートクッションを上記シートバックで押圧しながら折り畳み位置に移動可能に構成した
    請求項1記載の自動車のシート装置。
  3. 上記支持手段は、上記シートクッションのフレーム部材の前側と後側とを、前側リンクと後側リンクとを介して上記シートスライド手段のアッパレール上に支持する
    請求項1または2記載の自動車のシート装置。
  4. 上記シートクッションを折り畳み位置から上方着座位置に復帰させる所定の付勢力を与えるバネを備える
    請求項3記載の自動車のシート装置。
  5. 上記シートスライド手段は、上記操作手段の作動により上記リクライニング手段を作動させてシートバックを前傾させた時、上記シートスライド手段によるスライド位置決めを解除するスライドロック解除手段を備える
    請求項1または2記載の自動車のシート装置。
  6. 上記シートロック解除手段は、上記シートバックの所定角度の前傾時に、この前傾に連動して上記シートロック手段の規制を解除するように構成される
    請求項2または5記載の自動車のシート装置。
  7. 上記スライドロック解除手段は、上記シートバックの上記所定角度より小さい第2角度の前傾時にスライド位置決めを解除する
    請求項6記載の自動車のシート装置。
  8. 自動車のフロアにシートクッションとシートバックとを備えた自動車のシート装置であって、
    上記シートクッションを正規の上方着座位置と下方に移動させた折り畳み位置とに移動可能に支持する支持手段と、
    上方着座位置で上記シートクッションの動きを規制するシートロック手段と、
    操作手段の作動により上記シートバックを前傾させるリクライニング手段と、
    上記シートロック手段の規制を解除するシートロック解除手段とを備え、
    上記操作手段の作動により上記リクライニング手段を作動させつつ、上記シートロック解除手段による上記シートロック手段の規制解除を行った状態で、上記シートバックの折り畳み位置までの前傾時に、上記シートクッションを上記シートバックで押圧しながら折り畳み位置に移動するように構成した
    自動車のシート装置。
  9. 上記支持手段は、上記シートクッションのフレーム部材の前側と後側とを、前側リンクと後側リンクとを介して支持する
    請求項8記載の自動車のシート装置。
  10. 上記シートクッションを折り畳み位置から上方着座位置に復帰させる所定の付勢力を与えるバネを備える
    請求項9記載の自動車のシート装置。
  11. 上記シートロック解除手段は、上記シートバックの所定角度の前傾時に、この前傾に連動して上記シートロック手段の規制を解除するように構成される
    請求項8記載の自動車のシート装置。
JP2008197720A 2008-07-31 2008-07-31 自動車のシート装置 Expired - Fee Related JP5347364B2 (ja)

Priority Applications (1)

Application Number Priority Date Filing Date Title
JP2008197720A JP5347364B2 (ja) 2008-07-31 2008-07-31 自動車のシート装置

Applications Claiming Priority (1)

Application Number Priority Date Filing Date Title
JP2008197720A JP5347364B2 (ja) 2008-07-31 2008-07-31 自動車のシート装置

Publications (3)

Publication Number Publication Date
JP2010030559A true JP2010030559A (ja) 2010-02-12
JP2010030559A5 JP2010030559A5 (ja) 2012-07-26
JP5347364B2 JP5347364B2 (ja) 2013-11-20

Family

ID=41735579

Family Applications (1)

Application Number Title Priority Date Filing Date
JP2008197720A Expired - Fee Related JP5347364B2 (ja) 2008-07-31 2008-07-31 自動車のシート装置

Country Status (1)

Country Link
JP (1) JP5347364B2 (ja)

Cited By (1)

* Cited by examiner, † Cited by third party
Publication number Priority date Publication date Assignee Title
US8914177B2 (en) 2010-09-17 2014-12-16 Hitachi Construction Machinery Co., Ltd. Hybrid wheel loader

Citations (5)

* Cited by examiner, † Cited by third party
Publication number Priority date Publication date Assignee Title
JPH0173429U (ja) * 1987-11-05 1989-05-17
JP2005075312A (ja) * 2003-09-03 2005-03-24 T S Tec Kk 自動車用折畳み式シート
WO2006030539A1 (ja) * 2004-09-17 2006-03-23 Aisin Seiki Kabushiki Kaisha ウォークイン装置
JP2007223499A (ja) * 2006-02-24 2007-09-06 Mazda Motor Corp 車両用シート構造
JP2009089871A (ja) * 2007-10-09 2009-04-30 Hino Motors Ltd 車両用シート装置

Patent Citations (5)

* Cited by examiner, † Cited by third party
Publication number Priority date Publication date Assignee Title
JPH0173429U (ja) * 1987-11-05 1989-05-17
JP2005075312A (ja) * 2003-09-03 2005-03-24 T S Tec Kk 自動車用折畳み式シート
WO2006030539A1 (ja) * 2004-09-17 2006-03-23 Aisin Seiki Kabushiki Kaisha ウォークイン装置
JP2007223499A (ja) * 2006-02-24 2007-09-06 Mazda Motor Corp 車両用シート構造
JP2009089871A (ja) * 2007-10-09 2009-04-30 Hino Motors Ltd 車両用シート装置

Cited By (1)

* Cited by examiner, † Cited by third party
Publication number Priority date Publication date Assignee Title
US8914177B2 (en) 2010-09-17 2014-12-16 Hitachi Construction Machinery Co., Ltd. Hybrid wheel loader

Also Published As

Publication number Publication date
JP5347364B2 (ja) 2013-11-20

Similar Documents

Publication Publication Date Title
KR102706253B1 (ko) 차량용 시트의 워크인 장치
EP2261078B1 (en) Erroneous operation preventing device and stowable seat for vehicle
EP2049359B1 (en) Vehicular seat device
JP6882140B2 (ja) シートスライド機構
EP2269864A1 (en) Stowable vehicle seat
WO2017110438A1 (ja) 自動車用シート
EP2842799B1 (en) Vehicle seat device
JP5845949B2 (ja) 車両用シートスライド装置
JP2005041274A (ja) シート装置
JP5910816B2 (ja) シート装置
JP5347364B2 (ja) 自動車のシート装置
JP4712036B2 (ja) 自動車用座席
JP2007118827A (ja) 車両用シート装置
KR20060010948A (ko) 자동차용 시트의 워크인 장치
JP2010030559A5 (ja)
US10538178B2 (en) Entry/exit support structure of vehicle seat
JP5690369B2 (ja) シート装置
JP5456354B2 (ja) 乗物用シート
JP2009035197A (ja) 車両用シート
JP7310634B2 (ja) 乗物用スライドレール装置
JP2009073312A (ja) 車両用シートの操作構造
JP3517125B2 (ja) 自動車用シートの位置、姿勢可変装置
JP7381854B2 (ja) 乗物用シート
JP4278496B2 (ja) 車両のシート構造
JP2005029104A (ja) 車両用シート装置

Legal Events

Date Code Title Description
A621 Written request for application examination

Free format text: JAPANESE INTERMEDIATE CODE: A621

Effective date: 20110523

A521 Written amendment

Free format text: JAPANESE INTERMEDIATE CODE: A523

Effective date: 20120522

A521 Written amendment

Free format text: JAPANESE INTERMEDIATE CODE: A523

Effective date: 20120607

A977 Report on retrieval

Free format text: JAPANESE INTERMEDIATE CODE: A971007

Effective date: 20130208

A131 Notification of reasons for refusal

Free format text: JAPANESE INTERMEDIATE CODE: A131

Effective date: 20130219

A521 Written amendment

Free format text: JAPANESE INTERMEDIATE CODE: A523

Effective date: 20130403

A131 Notification of reasons for refusal

Free format text: JAPANESE INTERMEDIATE CODE: A131

Effective date: 20130430

A521 Written amendment

Free format text: JAPANESE INTERMEDIATE CODE: A523

Effective date: 20130625

TRDD Decision of grant or rejection written
A01 Written decision to grant a patent or to grant a registration (utility model)

Free format text: JAPANESE INTERMEDIATE CODE: A01

Effective date: 20130723

A61 First payment of annual fees (during grant procedure)

Free format text: JAPANESE INTERMEDIATE CODE: A61

Effective date: 20130805

R150 Certificate of patent or registration of utility model

Ref document number: 5347364

Country of ref document: JP

Free format text: JAPANESE INTERMEDIATE CODE: R150

Free format text: JAPANESE INTERMEDIATE CODE: R150

LAPS Cancellation because of no payment of annual fees