JP2010029771A - 水質予測方法及び生物処理方法 - Google Patents

水質予測方法及び生物処理方法 Download PDF

Info

Publication number
JP2010029771A
JP2010029771A JP2008193722A JP2008193722A JP2010029771A JP 2010029771 A JP2010029771 A JP 2010029771A JP 2008193722 A JP2008193722 A JP 2008193722A JP 2008193722 A JP2008193722 A JP 2008193722A JP 2010029771 A JP2010029771 A JP 2010029771A
Authority
JP
Japan
Prior art keywords
biological treatment
treated water
water
value
predicting
Prior art date
Legal status (The legal status is an assumption and is not a legal conclusion. Google has not performed a legal analysis and makes no representation as to the accuracy of the status listed.)
Granted
Application number
JP2008193722A
Other languages
English (en)
Other versions
JP5175647B2 (ja
Inventor
Tetsuo Yamashita
哲生 山下
Akira Akashi
昭 赤司
Jun Takezaki
潤 竹崎
Current Assignee (The listed assignees may be inaccurate. Google has not performed a legal analysis and makes no representation or warranty as to the accuracy of the list.)
Shinko Pantec Co Ltd
Original Assignee
Kobelco Eco Solutions Co Ltd
Priority date (The priority date is an assumption and is not a legal conclusion. Google has not performed a legal analysis and makes no representation as to the accuracy of the date listed.)
Filing date
Publication date
Application filed by Kobelco Eco Solutions Co Ltd filed Critical Kobelco Eco Solutions Co Ltd
Priority to JP2008193722A priority Critical patent/JP5175647B2/ja
Publication of JP2010029771A publication Critical patent/JP2010029771A/ja
Application granted granted Critical
Publication of JP5175647B2 publication Critical patent/JP5175647B2/ja
Expired - Fee Related legal-status Critical Current
Anticipated expiration legal-status Critical

Links

Images

Landscapes

  • Purification Treatments By Anaerobic Or Anaerobic And Aerobic Bacteria Or Animals (AREA)

Abstract

【課題】処理水のBODの値を精度良く予測しうる水質予測方法を提供し、生物処理方法における処理効率の向上を図ることを課題としている。
【解決手段】有機成分及び窒素成分を含有する被処理水が生物処理された後の処理水の水質をIWAの活性汚泥モデルであるASM1、ASM2、ASM2d、及びASM3のいずれかに基づく演算を実施して予測する水質予測方法であって、前記演算によって処理水のアンモニア性窒素濃度を予測して、該アンモニア性窒素濃度の値に基づいて処理水の生物化学的酸素要求量の値を予測することを特徴とする水質予測方法、及び、生物処理された後の処理水の水質をIWAの活性汚泥モデルに基づく演算を実施して予測しつつ前記生物処理を実施する生物処理方法であって、前記演算によって処理水のアンモニア性窒素濃度を予測する工程と、該アンモニア性窒素濃度の値に基づいて処理水の生物化学的酸素要求量の値を算出する工程とを実施することを特徴とする生物処理方法を提供する。
【選択図】図1

Description

本発明は、水質予測方法と生物処理方法とに関し、より詳しくは、有機成分及び窒素成分を含有する被処理水が生物処理された後の処理水の水質を予測する水質予測方法と、有機成分及び窒素成分を含有する被処理水が生物処理された後の処理水の水質を予測しつつ前記生物処理を実施する生物処理方法とに関する。
従来、工場廃水など処理対象となる水(被処理水)に含まれている有機成分、窒素成分、及びリン成分などの処理対象物質を細菌の作用によって除去する生物学的な水処理が実施されており、この生物処理は、通常、処理後に系外に排出する処理水に含まれる窒素やリンが所定濃度以下となるように制御されて実施されている。また、有機成分については、生物化学的酸素要求量(BOD)の値などによって管理されており、処理水のBODが所定の値以下となるように制御がなされている。
近年、このような生物処理において細菌による処理対象物質の分解挙動などをシミュレーションして処理水の水質を予測することが行われており、このシミュレーションによって生物処理の諸条件を調整して処理効率を向上させる試みがなされている。
このシミュレーションにおいては、生物処理が実施される水槽内の細菌や処理対象物質の濃度の値などを変数とした演算によって実施されており、このような演算においては、IWA(国際水協会)から提唱されているASM1、ASM2、ASM2d、及びASM3などの活性汚泥モデルが広く用いられている。
例えば、下記特許文献1には、この活性汚泥モデルに基づいたシミュレーションを実施することが記載されている。
このIWAから提唱されている活性汚泥モデルは、上記変数に加えて反応速度論定数などのパラメータが用いられた演算を実施するように設定されており、処理水質の予測を行う実際の処理状況に合わせてこのパラメータの値を調整したり、モデルを改良したりすることが容易で汎用性に優れているとともに高い予測精度を期待しうるものである。
しかし、このIWAの活性汚泥モデルは、処理水のBODを直接予測することができるように構築されておらず、有機成分の取り扱いとして、CODCrを単位とする易分解性有機物質(SS)や遅分解性有機物質(XS)が設定されているのみである。
しかも、この内の易分解性有機物質(SS)は、各種の設定値を変更して演算を行っても、いずれの場合も処理水中に殆ど残留しない結果になることが多く、遅分解性有機物質(XS)は、固形成分として取り扱われることから、処理水中の残留量をASMによって厳密に予測することが難しい沈殿槽による固液分離特性によって略一義的に決定されてしまうこととなる。
このことからIWAの活性汚泥モデルでは、従来、処理水のBODを直接、又は間接的に予測することが実質上困難となっている。
したがって、IWAの活性汚泥モデルを用いた従来の水質予測方法においては、処理水のBODの値を精度良く予測することが困難であり、IWAの活性汚泥モデルを用いて水質予測しつつ被処理水を生物処理する従来の生物処理方法においては、その処理効率を十分向上させることが困難であるという問題を有している。
特開2000−107796号公報
本発明は、上記問題点に鑑みてなされたものであり、処理水のBODの値を精度良く予測しうる水質予測方法を提供し、生物処理方法における処理効率の向上を図ることを課題としている。
本発明者らは、上記課題を解決すべく鋭意検討を行った結果、生物処理後の処理水においては、処理水中のアンモニア性窒素の量とBODの値とが比較的良好なる直線的関係を有していることを見出し本発明の完成にいたった。
すなわち、水質予測方法に係る本発明は、有機成分及び窒素成分を含有する被処理水が生物処理された後の処理水の水質をIWAの活性汚泥モデルであるASM1、ASM2、ASM2d、及びASM3のいずれかに基づく演算を実施して予測する水質予測方法であって、前記演算によって処理水のアンモニア性窒素濃度を予測して、該アンモニア性窒素濃度の値に基づいて処理水の生物化学的酸素要求量の値を予測することを特徴としている。
また、生物処理方法に係る本発明は、有機成分及び窒素成分を含有する被処理水が生物処理された後の処理水の水質をIWAの活性汚泥モデルであるASM1、ASM2、ASM2d、及びASM3のいずれかに基づく演算を実施して予測しつつ前記生物処理を実施する生物処理方法であって、前記演算によって処理水のアンモニア性窒素濃度を予測する工程と、該アンモニア性窒素濃度の値に基づいて処理水の生物化学的酸素要求量の値を算出する工程とを実施することを特徴としている。
処理水中のBODの値が、アンモニア性窒素の量との間に比較的良好なる相関関係を有していることからIWAの活性汚泥モデルに基づく演算を実施して処理水のアンモニア性窒素濃度の予測値を求めることで処理水中のBODの値も予測することができる。
したがって、本発明によれば、処理水のBODの値を精度良く予測することができ、予測結果に基づき運転条件をコントロールすることで生物処理方法における処理効率の向上を図り得る。
まず、処理対象物質として有機物質とともにアンモニア性窒素などの窒素成分が含有されている被処理水に生物処理の工程を実施して、この生物処理後に排出される処理水の水質を予測する場合を例に本実施形態の水質予測方法及び生物処理方法を説明する。
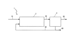
図1は、本実施形態の水質予測方法によって処理水の水質が予測される生物処理設備を示す概略ブロック図であり、図にも示されているようにこの生物処理設備1には、被処理水が流入されて好気条件下による生物処理が実施される好気槽2と該好気槽2の槽内水が流入されて沈殿分離される沈殿槽3とを有している。
前記好気槽2には、有機物分解細菌、硝化細菌などを含有する汚泥が収容されており、有機物分解細菌による有機成分の除去を実施させるべく槽内に酸素を含有する気体を散気して槽内水を所定の溶存酸素濃度にさせるための散気装置(図示せず)が備えられている。
なお、この好気槽2に収容されている汚泥には、上記のように硝化細菌も含有されていることから被処理水に含有されていたアンモニア性窒素などは亜硝酸性窒素や硝酸性窒素に酸化処理される。
なお、前記汚泥に含有される有機物分解細菌としては、例えば、バチルスサブチルスなどが挙げられ、硝化細菌としては、ニトロソモナス、ニトロソコッカス、ニトロソスピラ、ニトロソロバスなどのアンモニア酸化細菌や、ニトロバクター、ニトロコッカス、ニトロスピラなどの亜硝酸酸化細菌が挙げられる。
また、この生物処理設備1には、前記好気槽2に被処理水を流入させるための被処理水流入経路10と、好気槽2の槽内水が好気槽2から排出されて沈殿槽3に流入される生物処理液流通経路20と、沈殿槽3から上澄み液が排出される上澄み液排出経路30とが備えられている。
さらに、生物処理設備1には、前記沈殿槽3において沈殿された汚泥を槽底から引き抜いて、その一部を好気槽2に返送するための返送汚泥流通経路50と、残りの汚泥を余剰汚泥として系外に排出させるための余剰汚泥排出経路60とが備えられている。
本実施形態の生物処理方法においては、次のようにして生物処理(有機成分の分解除去)が実施される。
まず、好気槽2に被処理水流入経路10を通じて被処理水を流入させるとともに、この好気槽2の槽内水に対して前記散気装置によって散気を実施し、有機物分解細菌によって被処理水に含有されている有機成分を酸化処理するとともにアンモニア酸化細菌や亜硝酸酸化細菌によって被処理水に含有されている窒素成分の内、アンモニア性窒素や有機性窒素などを亜硝酸性窒素や硝酸性窒素に酸化させる。
前記好気槽2への被処理水の流入を継続的に実施することで、好気槽2の槽内水(生物処理液)を溢流させて前記生物処理液流通経路20を通じて沈殿槽3に流入させ、この生物処理液中の汚泥を沈殿分離させる。
沈殿分離させた汚泥の一部を引き抜き汚泥として沈殿槽3の槽底から排出し、その一部を返送汚泥として返送汚泥流通経路50を通じて好気槽2に返送し、残部を余剰汚泥として余剰汚泥排出経路60から系外に排出させる。
それとともに上澄み液を、上澄み液排出経路30を通じて系外に排出させる。
本実施形態においては、この沈殿槽3から排出される上澄み液をBOD値の管理が必要な処理水としてその水質予測を実施する。
この水質予測においては、生物処理の状況をIWA(国際水協会)からこれまでに公表されているモデル、例えば、ASM1、ASM2、ASM2d、ASM3などによってモデル化し、このシミュレーションモデルに基づいて演算を実施し、処理水(上澄み液)に含まれるアンモニア性窒素濃度を予測する工程を実施し、このアンモニア性窒素濃度に基づいて処理水のBODの値を予測する工程を実施する。
ここでアンモニア性窒素濃度に基づいて処理水のBODの値を予測するのは、処理水中のBODの値が、アンモニア性窒素の量との間に比較的良好なる相関関係を有しているためであり、このことは、本発明者がBODの酸化処理、およびアンモニア性窒素の酸化処理もそれぞれ好気的な条件下で反応が進むため、これらの処理されずに残留する濃度に相関性がとれるのではないかと考えて見出した事柄である。
このとき、アンモニア性窒素濃度の予測値に対してBODの値をどのように予測するかについては、予め、処理水の水質について、少なくとも数点以上、例えば、10点以上20点以下程度のデータを採取して当該データに基づいた関数を設定しておく方法が挙げられる。
すなわち、処理水のBODとアンモニア性窒素濃度の値についての数点以上のデータを予め採取して得られたデータから関数を設定し、それ以降の水質予測においては、BODの値を、アンモニア性窒素濃度の予測値とその関数とに基づいて計算して求めることができる。
例えば、この処理水のBODとアンモニア性窒素濃度の値を実測し、X軸をアンモニア性窒素濃度の値、Y軸をBODの値とした直交座標を設定し、実測データをプロットすると直線的に右上がりとなる点群が形成される。
したがって、これらのデータから最小二乗法等によって、近似直線、あるいは近似曲線を描く関数を予め設定しておくことによって、例えば、アンモニア性窒素濃度の値を「SNH4」とし、BODの値を「XBOD」とした際に、XBOD=f(SNH4)となる関数を予め設定しておくことによって、その後は、アンモニア性窒素濃度の値を予測する工程をIWAの活性汚泥モデルに基づく演算によって実施し、該アンモニア性窒素濃度の予測値を先の関数に代入してXBODの値を計算することでBODの値を算出する工程が実施可能となる。
なお、沈殿槽3から排出される上澄み液を予測対象とせずに、好気槽2から沈殿槽3に流下される生物処理液を処理水として設定し、当該処理水のBODの値を予測する場合も同様の方法を採用することができる。
すなわち、生物処理液に含有されるアンモニア性窒素濃度とBODの値についてのデータを予め採取しておき、当該データに基づく関数を設定して、IWAの活性汚泥モデルに基づく演算によってアンモニア性窒素濃度の値を予測し、この予測値を前記関数に代入することによって上澄み液の場合と同様に精度の高いBODの予測値を算出することができる。
従来の生物処理方法においては、BODの値を精度良く予測することが困難であったために、処理水のBODの値が所定の値を超えることがないように、好気槽における処理時間(平均滞留時間=槽容積÷単位時間当たりの被処理水平均流入量)等に必要以上の余裕が与えられていた。
本実施形態の生物処理方法においては、このようにしてBODの値を従来に比べて精度良く予測しつつ生物処理することが可能となることによって、例えば、単位時間当たりの水処理量を従来の生物処理方法に比べて増大させることができ、処理効率の向上を図ることができる。
また、処理水のBODを精度良く予測しながら運転を行えるため、散気風量を適切にコントロールして、散気に要する電力量の最小化を図ることが出来る。
なお、本実施形態においては、本発明の水質予測方法ならびに生物処理方法を上記のような例示に基づいて説明しているが、本発明は、上記例示のようなものに限定されるものではなく、本発明の効果を著しく損ねない範囲においては、水質予測方法ならびに生物処理方法において従来公知の構成を上記例示に置き換えたり、付加したりすることも可能である。
例えば、上記実施形態においては、主として有機成分を処理対象物質として生物処理が実施される態様を例示しているが、例えば、図2に示すような、窒素成分を主とした処理対象物質とするような場合も本発明の意図する範囲である。
この図2に示す、生物処理設備1xには、シェードモナス、ミクロコッカス、パラコッカス、アルカリゲネス、アクロモバクターなどの脱窒細菌を含む汚泥が収容されている脱窒槽4xと前記硝化細菌を含む汚泥が収容されている硝化槽5xとを有しており、これらは、処理の上流側から脱窒槽4x、硝化槽5x、脱窒槽4x、硝化槽5xの順となるように生物処理設備1xに各二台ずつ備えられている。
この生物学的な硝化・脱窒処理が実施される槽の後段側に沈殿槽3xが設けられており、この沈殿槽3xから、沈殿分離された汚泥の一部が返送汚泥流通経路50xを通じて一段目の脱窒槽に返送される点、残部が余剰汚泥として余剰汚泥排出経路60xから系外に排出される点、上澄み液が、上澄み液排出経路30xを通じて系外に排出される点については、先に説明した生物処理設備1と同様である。
このような生物処理設備1xにおいても、上澄み液排出経路30xを通じて系外に排出される上澄み液のBODの値をASMによるアンモニア性窒素濃度の予測値に基づいて予測することができ、予め、処理水の水質について、10〜20点程度のデータを採取して当該データに基づいた関数を設定しておく方法によって精度良く予測できる点についても先に説明した生物処理設備1の場合と同様である。
次に実施例を挙げて本発明をさらに詳しく説明するが、本発明はこれらに限定されるものではない。
(アンモニア性窒素濃度とBODとの相関関係調査)
生物学的に有機物除去処理が実施されている下水処理施設からの放流水の水質について測定を実施した。
採取時期を変更して合計14回の処理水のサンプリングを実施し、それぞれ、アンモニア性窒素濃度とBODとを測定した。
それぞれの測定方法は、以下の通りである。
(アンモニア性窒素濃度測定方法)
各サンプルのアンモニア性窒素はJIS K0102(1998)42.1及び42.2に記載されたインドフェノール青吸光光度法により測定した。
(BOD測定方法)
また、各サンプルのBODはJIS K0102(1998)21および32.3に記載された植種希釈により測定した。ここでBODを測定する場合は硝化細菌の作用により残留するアンモニア性窒素の影響を受けてBODの値が変化する場合がある。本分析方法に記載された硝化作用を抑制した方法によりBODの測定を行い、残留するアンモニア性窒素の影響を排除した。
得られた結果を、グラフ化した様子を図3に示す。
このようにBODとアンモニア性窒素濃度の値については、直線的な相関関係を有していることがわかる。
そして、BODの値を「X」、アンモニア性窒素濃度の値を「Y」とした場合に、これらの間に、「Y=3.68X+2.56」の近似式を成立させ得ることがこの図からもわかる。
次いで、この下水処理場から排出される放流水のアンモニア性窒素濃度を、ASM3に基づいて予測した予測結果ならびに放流水のアンモニア性窒素濃度の実測結果を示すグラフを図4に示す。
図に示すように、放流水のアンモニア性窒素濃度については比較的精度の高い予測がなされていることがわかる。
この放流水のアンモニア性窒素濃度の値を上記式「Y」に代入して、BODの値(上記式「X」)を求めた結果、ならびに、放流水のBODの実測結果を示すグラフを図5に示す。
この図からは、アンモニア性窒素濃度の値に基づいてBODの値を予測することで放流水のBODを比較的精度良く予測し得ることがわかる。
ちなみに、ASM3に基づいて放流水における易分解性有機物質(SS)の値を予測した結果を、図6に示す。
ASM3では、易分解性有機物質(SS)が殆ど残存しない結果しか得ることができないことがこの図6からもわかる。
すなわち、本発明によれば、処理水のBODの値を精度良く予測することができ、ひいては、生物処理方法における処理効率の向上を図りうることがわかる。
一実施形態の生物処理が実施される生物処理設備を示すブロック図。 他実施形態の生物処理が実施される生物処理設備を示すブロック図。 処理水のアンモニア性窒素濃度とBODとの相関関係を示すグラフ。 下水処理場から排出される放流水(処理水)のアンモニア性窒素濃度の予測結果を示すグラフ。 図3に示すアンモニア性窒素濃度の予測結果に基づいてBODの予測を行った結果を示すグラフ。 ASMに基づく演算による易分解性有機物質残存量を示すグラフ。
符号の説明
1,1x:生物処理設備、2: 好気槽、3,3x:沈殿槽、4x:脱窒槽、5x:硝化槽、10,10x:被処理水流入経路、20:生物処理液流通経路、30:上澄み液排出経路、50,50x:返送汚泥流通経路、60,60x:余剰汚泥排出経路

Claims (2)

  1. 有機成分及び窒素成分を含有する被処理水が生物処理された後の処理水の水質をIWAの活性汚泥モデルであるASM1、ASM2、ASM2d、及びASM3のいずれかに基づく演算を実施して予測する水質予測方法であって、
    前記演算によって処理水のアンモニア性窒素濃度を予測して、該アンモニア性窒素濃度の値に基づいて処理水の生物化学的酸素要求量の値を予測することを特徴とする水質予測方法。
  2. 有機成分及び窒素成分を含有する被処理水が生物処理された後の処理水の水質をIWAの活性汚泥モデルであるASM1、ASM2、ASM2d、及びASM3のいずれかに基づく演算を実施して予測しつつ前記生物処理を実施する生物処理方法であって、
    前記演算によって処理水のアンモニア性窒素濃度を予測する工程と、該アンモニア性窒素濃度の値に基づいて処理水の生物化学的酸素要求量の値を算出する工程とを実施することを特徴とする生物処理方法。
JP2008193722A 2008-07-28 2008-07-28 水質予測方法及び生物処理方法 Expired - Fee Related JP5175647B2 (ja)

Priority Applications (1)

Application Number Priority Date Filing Date Title
JP2008193722A JP5175647B2 (ja) 2008-07-28 2008-07-28 水質予測方法及び生物処理方法

Applications Claiming Priority (1)

Application Number Priority Date Filing Date Title
JP2008193722A JP5175647B2 (ja) 2008-07-28 2008-07-28 水質予測方法及び生物処理方法

Publications (2)

Publication Number Publication Date
JP2010029771A true JP2010029771A (ja) 2010-02-12
JP5175647B2 JP5175647B2 (ja) 2013-04-03

Family

ID=41734917

Family Applications (1)

Application Number Title Priority Date Filing Date
JP2008193722A Expired - Fee Related JP5175647B2 (ja) 2008-07-28 2008-07-28 水質予測方法及び生物処理方法

Country Status (1)

Country Link
JP (1) JP5175647B2 (ja)

Cited By (6)

* Cited by examiner, † Cited by third party
Publication number Priority date Publication date Assignee Title
CN102531177A (zh) * 2010-12-13 2012-07-04 中国科学院生态环境研究中心 一种提高湿地系统硝化反应速率的方法
CN105585129A (zh) * 2016-01-12 2016-05-18 南京大学 一种模拟原位河道生态系统氮素归趋的装置及方法
CN105858914A (zh) * 2016-05-23 2016-08-17 浙江大学 紫外光解耦合微生物法处理餐厨油脂废水的方法及装置
CN109133368A (zh) * 2018-09-13 2019-01-04 无锡跃洋生物科技有限公司 一种用于水产养殖的复合微生物净水剂及其制备方法
CN113516635A (zh) * 2021-06-15 2021-10-19 中国农业大学 鱼菜共生系统及基于鱼类行为的蔬菜氮元素需求估算方法
JPWO2023199525A1 (ja) * 2022-04-15 2023-10-19

Citations (2)

* Cited by examiner, † Cited by third party
Publication number Priority date Publication date Assignee Title
JPH0735741A (ja) * 1993-07-20 1995-02-07 Fuji Electric Co Ltd Bod測定装置
JP2001198590A (ja) * 2000-01-17 2001-07-24 Hitachi Ltd 活性汚泥水処理装置のシミュレーション方法および装置

Patent Citations (2)

* Cited by examiner, † Cited by third party
Publication number Priority date Publication date Assignee Title
JPH0735741A (ja) * 1993-07-20 1995-02-07 Fuji Electric Co Ltd Bod測定装置
JP2001198590A (ja) * 2000-01-17 2001-07-24 Hitachi Ltd 活性汚泥水処理装置のシミュレーション方法および装置

Cited By (9)

* Cited by examiner, † Cited by third party
Publication number Priority date Publication date Assignee Title
CN102531177A (zh) * 2010-12-13 2012-07-04 中国科学院生态环境研究中心 一种提高湿地系统硝化反应速率的方法
CN105585129A (zh) * 2016-01-12 2016-05-18 南京大学 一种模拟原位河道生态系统氮素归趋的装置及方法
CN105585129B (zh) * 2016-01-12 2018-12-21 南京大学 一种模拟原位河道生态系统氮素归趋的装置及方法
CN105858914A (zh) * 2016-05-23 2016-08-17 浙江大学 紫外光解耦合微生物法处理餐厨油脂废水的方法及装置
CN109133368A (zh) * 2018-09-13 2019-01-04 无锡跃洋生物科技有限公司 一种用于水产养殖的复合微生物净水剂及其制备方法
CN113516635A (zh) * 2021-06-15 2021-10-19 中国农业大学 鱼菜共生系统及基于鱼类行为的蔬菜氮元素需求估算方法
CN113516635B (zh) * 2021-06-15 2024-02-27 中国农业大学 鱼菜共生系统及基于鱼类行为的蔬菜氮元素需求估算方法
JPWO2023199525A1 (ja) * 2022-04-15 2023-10-19
JP7741305B2 (ja) 2022-04-15 2025-09-17 三菱電機株式会社 水処理システム

Also Published As

Publication number Publication date
JP5175647B2 (ja) 2013-04-03

Similar Documents

Publication Publication Date Title
Peng et al. The combined effect of dissolved oxygen and nitrite on N2O production by ammonia oxidizing bacteria in an enriched nitrifying sludge
Ni et al. Recent advances in mathematical modeling of nitrous oxides emissions from wastewater treatment processes
Su et al. The effect of pH on N2O production in intermittently-fed nitritation reactors
Blum et al. Nitrous oxide production in intermittently aerated Partial Nitritation-Anammox reactor: oxic N2O production dominates and relates with ammonia removal rate
Rodríguez-Caballero et al. Minimizing N2O emissions and carbon footprint on a full-scale activated sludge sequencing batch reactor
JP5175647B2 (ja) 水質予測方法及び生物処理方法
JP5435658B2 (ja) 水質シミュレーション方法及び装置
US8956540B2 (en) Process and apparatus for controlling aeration during nitrification and denitrification of water
JP4334317B2 (ja) 下水処理システム
Jemaat et al. Closed-loop control of ammonium concentration in nitritation: convenient for reactor operation but also for modeling
JP6974795B2 (ja) 下水処理設備における好気槽の曝気風量制御方法と設備
JP2012200705A (ja) 窒素含有排水の処理方法及び装置
KR20120000858A (ko) 하폐수 처리 공정의 규칙기반 실시간 제어 방법 및 시스템
JP4672816B1 (ja) 生物処理方法
KR20180104413A (ko) 하모니서치 알고리즘을 이용한 활성슬러지 공정의 산소공급량 제어 시스템
Liwarska-Bizukojc et al. A new approach to determine the kinetic parameters for nitrifying microorganisms in the activated sludge systems
JP4922214B2 (ja) 水処理方法及び水処理装置
JP2015208723A (ja) 水処理プロセス制御システム
JP2014205104A (ja) 水処理装置および方法
Ruiz-Martínez et al. Modeling the decay of nitrite oxidizing bacteria under different reduction potential conditions
JP2009131848A (ja) シミュレーション方法、シミュレーション装置、生物処理方法、ならびに、生物処理装置
JP4573575B2 (ja) 高度下水処理方法および装置
JP2015016410A (ja) 排水の処理方法および排水の処理装置、並びに制御方法、制御装置、およびプログラム
JP2011045872A (ja) 安水の生物学的好気処理におけるcod濃度シミュレーション方法及び装置
Wu et al. Model predictive control of partial nitrification via nitrous oxide (N2O) emission monitoring

Legal Events

Date Code Title Description
A621 Written request for application examination

Free format text: JAPANESE INTERMEDIATE CODE: A621

Effective date: 20110302

A977 Report on retrieval

Free format text: JAPANESE INTERMEDIATE CODE: A971007

Effective date: 20111013

A131 Notification of reasons for refusal

Free format text: JAPANESE INTERMEDIATE CODE: A131

Effective date: 20111021

A131 Notification of reasons for refusal

Free format text: JAPANESE INTERMEDIATE CODE: A131

Effective date: 20120824

A521 Written amendment

Free format text: JAPANESE INTERMEDIATE CODE: A523

Effective date: 20120919

TRDD Decision of grant or rejection written
A01 Written decision to grant a patent or to grant a registration (utility model)

Free format text: JAPANESE INTERMEDIATE CODE: A01

Effective date: 20121221

A61 First payment of annual fees (during grant procedure)

Free format text: JAPANESE INTERMEDIATE CODE: A61

Effective date: 20130107

R150 Certificate of patent or registration of utility model

Ref document number: 5175647

Country of ref document: JP

Free format text: JAPANESE INTERMEDIATE CODE: R150

R250 Receipt of annual fees

Free format text: JAPANESE INTERMEDIATE CODE: R250

R250 Receipt of annual fees

Free format text: JAPANESE INTERMEDIATE CODE: R250

R250 Receipt of annual fees

Free format text: JAPANESE INTERMEDIATE CODE: R250

R250 Receipt of annual fees

Free format text: JAPANESE INTERMEDIATE CODE: R250

LAPS Cancellation because of no payment of annual fees