JP2010029526A - 収納庫用引出取手および収納庫 - Google Patents

収納庫用引出取手および収納庫 Download PDF

Info

Publication number
JP2010029526A
JP2010029526A JP2008196352A JP2008196352A JP2010029526A JP 2010029526 A JP2010029526 A JP 2010029526A JP 2008196352 A JP2008196352 A JP 2008196352A JP 2008196352 A JP2008196352 A JP 2008196352A JP 2010029526 A JP2010029526 A JP 2010029526A
Authority
JP
Japan
Prior art keywords
handle
drawer
storage
flat
bent portion
Prior art date
Legal status (The legal status is an assumption and is not a legal conclusion. Google has not performed a legal analysis and makes no representation as to the accuracy of the status listed.)
Granted
Application number
JP2008196352A
Other languages
English (en)
Other versions
JP5366466B2 (ja
Inventor
Yoshihisa Nishikawa
美久 西川
Current Assignee (The listed assignees may be inaccurate. Google has not performed a legal analysis and makes no representation or warranty as to the accuracy of the list.)
Cleanup Corp
Original Assignee
Cleanup Corp
Priority date (The priority date is an assumption and is not a legal conclusion. Google has not performed a legal analysis and makes no representation as to the accuracy of the date listed.)
Filing date
Publication date
Application filed by Cleanup Corp filed Critical Cleanup Corp
Priority to JP2008196352A priority Critical patent/JP5366466B2/ja
Publication of JP2010029526A publication Critical patent/JP2010029526A/ja
Application granted granted Critical
Publication of JP5366466B2 publication Critical patent/JP5366466B2/ja
Expired - Fee Related legal-status Critical Current
Anticipated expiration legal-status Critical

Links

Images

Landscapes

  • Combinations Of Kitchen Furniture (AREA)

Abstract

【課題】機能性を損なわずに優れた外観を有し、さらにコスト的にも有利な収納庫用引出取手および収納庫用引出を提供することを目的とする。
【解決手段】
本発明による収納庫用引出取手128は、足下収納庫126の引出に取り付けられた、引出が引き出される方向127に平行な平板状の取手本体200と、取手本体200から連続し観者に角202を向けて屈曲した屈曲部204と、屈曲部204から連続した平板状の把持部206と、を含み、取手本体200、屈曲部204および把持部206の観者側には、連続した平目ローレット加工が施されていて、平目ローレット加工のローレット幅は、屈曲部204に近付くに従って狭くなることを特徴とする。
【選択図】図2

Description

本発明は、収納庫用引出取手および収納庫に関するものである。
従来から、シンクやコンロ、収納などの要素を組み合わせ、ワークトップ(天板)の下にまとめて構成したシステムキッチンが提供され、広く普及している。このようなシステムキッチンの上面には、シンク、コンロ、および作業スペースが設けられる。
一方、システムキッチンの上面以外、例えばフロア付近には、収納スペースとして、引出式のコンテナが設けられる。引出には通常、引き出すための取手が設けられる。取手としては長いハンドル形状のものや、つまみ形状のものなど様々な構造や形状のものが提案されてきている。例えば特許文献1には、前板の上部に取り付けられる取手構造が記載されている。
かかる取手は、特許文献1に記載の取手の指掛部のように、水平な部分と、それが屈曲下降した垂直な部分とから成る、角ばった形状をしていることが多い。これは、屈曲下降させることで、取手をシステムキッチン前面と面一(キッチン前面を覆う板等と同一の高さとなること)にし、取手とその上の隙間が目立たないようにすることが求められていたためである。
特開2004−232284号公報
しかしながら、近年のシステムキッチンでは、外観上の統一性や、美しさなどを設計段階から取り入れることが志向されている。機能性だけを重視していては、デザインの自由度が少なくなり、美観が犠牲になってしまうおそれがある。
一方、美観を重視して取手をデザインすることも、製品の耐久性や取手の機能性が損なわれてしまうため、限界がある。また、コスト的な問題もあり、美観と機能性を両立させることができたとしても、商品として供給する際には大きな問題となってしまう。
ここで、上述のように、前板の上部に取手を設ける場合、隙間ができてしまうことを防止するためには、取手の形状は角張っていた方がよい(平面部分を備えていることが好ましい。)。しかし、デザインのコンセプトとして丸みを帯びた柔らかな印象を与えたい場合がある。かかる課題はキッチンに限らず、前板の上部に取手を有する引出を備えた収納庫に共通するものである。
そこで本発明は、機能性を損なわずに優れた外観を有し、さらにコスト的にも有利な収納庫用引出取手および収納庫を提供することを目的とする。
上述の課題を解決するために、本発明によるキッチン収納庫用引出取手の代表的な構成は、キッチンに配置されるキッチン収納庫の引出に取り付けられた、引出が引き出される方向に平行な平板状の取手本体と、取手本体から連続し観者に角を向けて屈曲した屈曲部と、屈曲部から連続した平板状の把持部と、を含み、取手本体、屈曲部および把持部の観者側には、連続した平目ローレット加工が施されていて、平目ローレット加工のローレット幅は、屈曲部に近付くに従って狭くなることを特徴とする。
かかる構成により、ローレット幅の広い部分は近く見え、幅の狭い部分は遠く見えるように、遠近感に錯覚を起こさせる。このため、実際には突出している屈曲部の角が遠く見えるため、突出の程度が緩和されて見えることとなり、擬似的に角度がゆるやかな曲面と認識することができる。すなわち、取手は実際には曲面を有してはいないものの、人間の視覚が曲面であるかの如き錯覚に至ることで、把持のし易さなどの機能面と、外観の柔らかさという、双方の要求を満たすことが可能となる。
上述の屈曲部の角は、90°〜100°の鈍角を成していてもよい。かかる構成により、取手に要求されている、収納庫前板の前面を覆う板等とほぼ同一の高さ(面一)となり、引出が閉じているときは、取手を目立たないようにすることができる。そして、引出を開けたときには、上述のように、曲面と認識できる取手が出現する。
当該キッチン収納庫用引出取手は、押出成形によって製造されていてもよい。これは、平目ローレット加工された取手の断面形状が一定であるために可能である。押出成形により、要求される条件を満たす取手を、廉価で大量に製造可能である。
上述の課題を解決するために、本発明による、キッチンに配置されるキッチン収納庫用引出の代表的な構成は、当該引出に取り付けられた、当該引出が引き出される方向に平行な平板状の取手本体と、取手本体から連続し観者に角を向けて屈曲した屈曲部と、屈曲部から連続した平板状の把持部とから成る取手を含み、取手本体、屈曲部および把持部の観者側には、連続した平目ローレット加工が施されていて、平目ローレット加工のローレット幅は、屈曲部に近付くに従って狭くなっていてもよい。
上述したキッチン収納庫用引出取手における技術的思想に対応する構成要素やその説明は、当該キッチン収納庫用引出にも適用可能である。
以上のように、本発明によるキッチン収納庫用引出取手は、実際には曲面を有してはいないものの、人間の視覚が曲面であるかの如き錯覚に至ることで、把持のし易さなどの機能面と、外観の柔らかさという、双方の要求を満たすことが可能となる。
以下に添付図面を参照しながら、本発明の好適な実施の形態について詳細に説明する。なお、本明細書及び図面において、実質的に同一の機能構成を有する構成要素については、同一の符号を付することにより重複説明を省略する。なお、以下の実施形態に示す寸法、材料、その他具体的な数値などは、発明の理解を容易とするための例示に過ぎず、特に断る場合を除き、本発明を限定するものではない。
本実施形態では、キッチン収納庫用引出取手をシステムキッチンに適用した例を示す。また、本実施形態の理解を容易にするため、最初にシステムキッチンの全体構成について説明し、その後、本実施形態である、キッチン収納庫用引出取手およびキッチン収納庫用引出について詳述する。
(システムキッチン全体構成)
図1は、本実施形態にかかる収納庫用引出取手およびキッチン収納庫用引出が適用されるシステムキッチン100の全体構成を説明する図である。かかるシステムキッチン100は、壁付けのものでもよいし、いわゆる対面式のオープンシステムキッチンでもよい。システムキッチン100の天板110(ワークトップとも称される)は、ステンレス材を用いて形成され、システムキッチン100全体の上面を覆っている。なお、天板110は人工大理石(合成樹脂素材)で形成してもよい。
天板110には、組み込み式に取り付けられたIHクッキングヒーター112、調理スペース114、天板110に一体形成されたシンク116、および準備スペース118が設けられる。
天板110の下は、IHクッキングヒーター112本体が設置されているガスキャビネット120と、シンク116が設置されているシンクキャビネット140とに大別される。
ガスキャビネット120の中央部の下には幅の広い大きな収納庫124が配設され、鍋やボウルなどの比較的大きな調理器具を収納することが可能になっている。同様に、シンクキャビネット140には高い前板を備えた収納庫144が備え付けられている。収納庫144は内部が一つの空間となっていて、大容量の収納庫として使用できる。
そして、収納庫124、144の下部の床近傍には、引出式の足元収納である床面すれすれの足下収納庫126、146が配設されている。足下収納庫126、146それぞれの前板の上部には、取手128、148が取り付けられている。
(キッチン収納庫用引出取手)
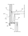
図2は取手128の拡大断面図である。取手128、148(図1参照)の断面形状は共通であるため、ここでは取手128を代表として説明する。取手128は、引出式の足下収納庫126(図1参照)が引き出される方向127に平行な平板状の取手本体200と、取手本体200から連続し観者に角202を向けて屈曲した屈曲部204と、屈曲部204から連続した平板状の把持部206と、を含む。
取手本体200、屈曲部204および把持部206の観者側には、連続した平目ローレット加工が施されている。平目ローレット加工のローレット幅(ピッチ)は、図面からも明らかなように、一定ではなく、屈曲部204に近付くに従って狭くなる。
観者にとって最も近いのは角202を有する屈曲部204であり、角202から離れるほど、観者からも遠くなる。しかし、ローレット幅の広い部分は近く見え、幅の狭い部分は遠く見えるように、遠近感に錯覚を起こさせる。このため、実際には突出している屈曲部204の角が遠く見えるため、突出の程度が緩和されて見えることとなり、擬似的に角度がゆるやかな曲面と認識することができる。
すなわち、取手128、148は実際には曲面を有してはいないものの、人間の視覚が曲面であるかの如き錯覚に至ることで、把持のし易さなどの機能面と、外観の柔らかさという、双方の要求を満たすことが可能となる。
屈曲部204の角202の角度θは、90°である。ただし、角度θは、90°〜105°の角度を成していることが好ましい。図3は他の取手の実施形態を示す図である。この取手328は、角度θを上記の範囲で鈍角にしたものである。角202における角度が大きくなりすぎると、取手128と収納庫124(図1参照)の間に隙間が形成されてしまうためである。一方、鋭角になると把持部206の前面が視界に入りにくくなり、本実施形態の目的である丸みをもった柔らかい外観の視覚効果が減退してしまうからである。
図2の取手本体200中心部にある断面が略円形の部位210と、取手本体200の屈曲部204にある断面が略円形の部位212と、把持部206の先端かつ最下端に位置する断面が略円形の部位214は、取手128を足下収納庫126(図1参照)に取り付けた後、取手128の長手方向両端にベースキャップ228(図3を参照)を取り付けるための部位である。
取手本体200の把持部206と反対側には、足下収納庫126の前板の背面に取手128を固定するための板状の取付部230およびネジ穴232が設けられている。すなわち取手128は、足下収納庫126の前板の背面から上部を回り込んで前面側に突出するように配置されている。
図4は取手128の三面図であって図3(a)は平面図、図3(b)は側面図、図3(c)は正面図、図3(d)は図3(b)のベースキャップ228を取り外した状態を示す側面図である。図5は取手の端部の拡大斜視図である。至近距離から見ると、ローレット幅には差があり、取手本体200または把持部206から屈曲部204に近付くに従って、狭くなることが分かる。
図6は足下収納庫126、146の拡大斜視図である。足下収納庫126は開いた状態である。このように足下収納庫126が開かれると、取手128は前述の通り、ローレット幅が変化する平目ローレット加工の遠近法の視覚効果により、角ばった形状(端部にて顕著)でありながら、表面は丸みを感じさせる外観を有している。
一方、足下収納庫146は収納された状態であるので、丸みを感じさせる外観は出現していないが、閉じた状態において、取手148の把持部206は、収納庫144と面一になっていて、収まりのよいデザインになっている。
図6はガスキャビネット120の足下収納庫126付近の拡大断面図である。収納庫の前板124aは、収納庫124の前面に張られている板である。収納庫の前板124aは、パッキン252によって収納庫底板256との隙間を封止している。
幕板258と収納庫の前板124aの間には若干のクリアランス264があり、ここに塵芥や害虫が入り込んでしまうことが多い。取手128は、上述のように、丸みを帯びた外観を有するが、取手本体200は、本来、平板状に伸びていて、しかも、屈曲部204(図2または図5参照)の曲率半径が小さく、急峻に屈曲しているために、このクリアランス264の下面を覆い、クリアランス264に塵芥等が入らない機能的な効果がある。このように、機能的な側面から、屈曲部204の曲率半径は、非常に小さいものであるが、既に説明したローレット加工の効果により、大きな曲率半径に見えるという視覚的な効果が得られている。
取手128、148は、押出成形によって製造可能である。これは、ローレット加工された断面形状が一様だからである。押出成形可能であるため、長尺で同一の断面形状を有する材料を加工する際、安価に製造することができる。
本実施形態では、取手128、148に使用されている材質は、アルミ合金であるが、他の金属を用いてもよい。
本実施形態における取手128、148は、足下収納庫126、146に取り付けられたものであるが、他の収納庫に取り付けてもよい。また、設計上曲面が使えない箇所に本実施形態を応用してもよい。さらに、キッチンに限らず、前板の上部に取手を有する引出を備えた収納庫に本発明を適用することができる。
以上、添付図面を参照しながら本発明の好適な実施形態について説明したが、本発明は係る例に限定されないことは言うまでもない。当業者であれば、特許請求の範囲に記載された範疇内において、各種の変更例または修正例に想到し得ることは明らかであり、それらについても当然に本発明の技術的範囲に属するものと了解される。
本発明は、収納庫用引出取手および収納庫に適用可能である。
本実施形態にかかる収納庫用引出取手および収納庫が適用されるシステムキッチンの全体構成を説明する図である。 取手の拡大断面図である。 取手の拡大断面図である。 取手の三面図である。 取手の端部の拡大斜視図である。 足下収納庫の拡大斜視図である。 ガスキャビネットの足下収納庫付近の拡大断面図である。
符号の説明
100 …システムキッチン
120 …ガスキャビネット
124、144 …収納庫
126 …足下収納庫
128、148、328 …取手
146 …足下収納庫
200 …取手本体
202 …角
204 …屈曲部
206 …把持部
252 …パッキン
264 …クリアランス

Claims (3)

  1. 収納庫の引出に取り付けられた、該引出が引き出される方向に平行な平板状の取手本体と、
    前記取手本体から連続し観者に角を向けて屈曲した屈曲部と、
    前記屈曲部から連続した平板状の把持部と、
    を含み、
    前記取手本体、屈曲部および把持部の観者側には、連続した平目ローレット加工が施されていて、
    前記平目ローレット加工のローレット幅は、前記屈曲部に近付くに従って狭くなることを特徴とする収納庫用引出取手。
  2. 当該取手は、押出成形によって製造されることを特徴とする請求項1または2に記載の収納庫用引出取手。
  3. 引出を備えた収納庫において、
    当該引出に取り付けられた、当該引出が引き出される方向に平行な平板状の取手本体と、該取手本体から連続し観者に角を向けて屈曲した屈曲部と、該屈曲部から連続した平板状の把持部とから成る取手を含み、
    前記取手本体、屈曲部および把持部の観者側には、連続した平目ローレット加工が施されていて、
    前記平目ローレット加工のローレット幅は、前記屈曲部に近付くに従って狭くなることを特徴とする収納庫。
JP2008196352A 2008-07-30 2008-07-30 収納庫用引出取手および収納庫 Expired - Fee Related JP5366466B2 (ja)

Priority Applications (1)

Application Number Priority Date Filing Date Title
JP2008196352A JP5366466B2 (ja) 2008-07-30 2008-07-30 収納庫用引出取手および収納庫

Applications Claiming Priority (1)

Application Number Priority Date Filing Date Title
JP2008196352A JP5366466B2 (ja) 2008-07-30 2008-07-30 収納庫用引出取手および収納庫

Publications (2)

Publication Number Publication Date
JP2010029526A true JP2010029526A (ja) 2010-02-12
JP5366466B2 JP5366466B2 (ja) 2013-12-11

Family

ID=41734725

Family Applications (1)

Application Number Title Priority Date Filing Date
JP2008196352A Expired - Fee Related JP5366466B2 (ja) 2008-07-30 2008-07-30 収納庫用引出取手および収納庫

Country Status (1)

Country Link
JP (1) JP5366466B2 (ja)

Cited By (3)

* Cited by examiner, † Cited by third party
Publication number Priority date Publication date Assignee Title
IT201600115551A1 (it) * 2016-11-16 2018-05-16 Faer Ambienti S P A Maniglia per sportelli di mobili.
JP2020110357A (ja) * 2019-01-11 2020-07-27 オムロンヘルスケア株式会社 生体音測定装置
KR20210158312A (ko) * 2020-06-23 2021-12-30 주식회사 에스와이산업 비매립형의 가구 서랍용 손잡이

Citations (4)

* Cited by examiner, † Cited by third party
Publication number Priority date Publication date Assignee Title
JP2002017490A (ja) * 2000-07-07 2002-01-22 Nakabayashi Co Ltd 引出しのインデックス構造
JP2003321954A (ja) * 2002-04-30 2003-11-14 Shimodaira:Kk 引 手
JP2004232284A (ja) * 2003-01-29 2004-08-19 Yamaha Livingtec Corp 扉の取手構造
JP2005076278A (ja) * 2003-08-29 2005-03-24 Atom Livin Tech Co Ltd 引手

Patent Citations (4)

* Cited by examiner, † Cited by third party
Publication number Priority date Publication date Assignee Title
JP2002017490A (ja) * 2000-07-07 2002-01-22 Nakabayashi Co Ltd 引出しのインデックス構造
JP2003321954A (ja) * 2002-04-30 2003-11-14 Shimodaira:Kk 引 手
JP2004232284A (ja) * 2003-01-29 2004-08-19 Yamaha Livingtec Corp 扉の取手構造
JP2005076278A (ja) * 2003-08-29 2005-03-24 Atom Livin Tech Co Ltd 引手

Cited By (6)

* Cited by examiner, † Cited by third party
Publication number Priority date Publication date Assignee Title
IT201600115551A1 (it) * 2016-11-16 2018-05-16 Faer Ambienti S P A Maniglia per sportelli di mobili.
JP2020110357A (ja) * 2019-01-11 2020-07-27 オムロンヘルスケア株式会社 生体音測定装置
JP7230516B2 (ja) 2019-01-11 2023-03-01 オムロンヘルスケア株式会社 生体音測定装置
US11751839B2 (en) 2019-01-11 2023-09-12 Omron Healthcare Co., Ltd. Biological sound measurement device
KR20210158312A (ko) * 2020-06-23 2021-12-30 주식회사 에스와이산업 비매립형의 가구 서랍용 손잡이
KR102546411B1 (ko) 2020-06-23 2023-06-23 (주)에스와이산업 비매립형의 가구 서랍용 손잡이

Also Published As

Publication number Publication date
JP5366466B2 (ja) 2013-12-11

Similar Documents

Publication Publication Date Title
JP5366466B2 (ja) 収納庫用引出取手および収納庫
US7419129B2 (en) Sliding holding device for a cooking container lid
USD513684S1 (en) Backguard/control panel for a cooking appliance
AU2017224010A1 (en) Accessory support part for a household cooking appliance
KR101886927B1 (ko) 주방가구 하부수납장의 서랍용 걸이형 선반
USD504585S1 (en) Ceiling rack for pots, pans and utensils
USD511936S1 (en) Oven door vent/handle assembly for a cooking appliance
JP4617961B2 (ja) 厨房装置
TWI619460B (zh) 固定廚具可拆卸裝置
JP4621545B2 (ja) 引出し型の乾燥キャビネット
JP2006334240A (ja) キッチンカウンター
USD504586S1 (en) Ceiling rack for pots, pans and utensils
CN102984974B (zh) 用于蒸汽蒸煮器的蒸煮元件
KR200392546Y1 (ko) 주방가구용 도어
USD511935S1 (en) Backguard/control panel for a cooking appliance
JP5313056B2 (ja) ゴミ袋の保持具
JP6720232B2 (ja) システム家具
JP5484364B2 (ja) 収納庫
HK40122425A (zh) 台面构造和家具
JP2025082452A (ja) 天板構造、キャビネット及び天板構造の施工方法
CN120000011A (zh) 台面构造和家具
JP2006325788A (ja) キッチンカウンター
JP2002186530A (ja) シンクキャビネットの幕板取付構造
JP2003164340A (ja) 厨房,洗面家具の蹴込み
CN209031980U (zh) 煎烤机及其烤盘组件

Legal Events

Date Code Title Description
A621 Written request for application examination

Free format text: JAPANESE INTERMEDIATE CODE: A621

Effective date: 20110223

A977 Report on retrieval

Free format text: JAPANESE INTERMEDIATE CODE: A971007

Effective date: 20121001

A131 Notification of reasons for refusal

Free format text: JAPANESE INTERMEDIATE CODE: A131

Effective date: 20121106

A521 Written amendment

Free format text: JAPANESE INTERMEDIATE CODE: A523

Effective date: 20121204

TRDD Decision of grant or rejection written
A01 Written decision to grant a patent or to grant a registration (utility model)

Free format text: JAPANESE INTERMEDIATE CODE: A01

Effective date: 20130910

A61 First payment of annual fees (during grant procedure)

Free format text: JAPANESE INTERMEDIATE CODE: A61

Effective date: 20130910

R150 Certificate of patent or registration of utility model

Free format text: JAPANESE INTERMEDIATE CODE: R150

R250 Receipt of annual fees

Free format text: JAPANESE INTERMEDIATE CODE: R250

R250 Receipt of annual fees

Free format text: JAPANESE INTERMEDIATE CODE: R250

LAPS Cancellation because of no payment of annual fees