JP2010029503A - 理美容用蒸気供給装置 - Google Patents
理美容用蒸気供給装置 Download PDFInfo
- Publication number
- JP2010029503A JP2010029503A JP2008195918A JP2008195918A JP2010029503A JP 2010029503 A JP2010029503 A JP 2010029503A JP 2008195918 A JP2008195918 A JP 2008195918A JP 2008195918 A JP2008195918 A JP 2008195918A JP 2010029503 A JP2010029503 A JP 2010029503A
- Authority
- JP
- Japan
- Prior art keywords
- steam
- nozzle
- space
- temperature
- electric heater
- Prior art date
- Legal status (The legal status is an assumption and is not a legal conclusion. Google has not performed a legal analysis and makes no representation as to the accuracy of the status listed.)
- Granted
Links
- 230000020169 heat generation Effects 0.000 claims abstract description 5
- 239000008236 heating water Substances 0.000 claims abstract description 3
- 230000003796 beauty Effects 0.000 claims description 7
- 239000002537 cosmetic Substances 0.000 abstract description 4
- XLYOFNOQVPJJNP-UHFFFAOYSA-N water Substances O XLYOFNOQVPJJNP-UHFFFAOYSA-N 0.000 description 16
- 238000010438 heat treatment Methods 0.000 description 5
- 239000000758 substrate Substances 0.000 description 5
- 238000000034 method Methods 0.000 description 3
- 238000006243 chemical reaction Methods 0.000 description 2
- 230000007423 decrease Effects 0.000 description 2
- 238000010586 diagram Methods 0.000 description 2
- 239000007788 liquid Substances 0.000 description 2
- 239000000463 material Substances 0.000 description 2
- 238000005259 measurement Methods 0.000 description 2
- 238000009834 vaporization Methods 0.000 description 2
- RYGMFSIKBFXOCR-UHFFFAOYSA-N Copper Chemical compound [Cu] RYGMFSIKBFXOCR-UHFFFAOYSA-N 0.000 description 1
- 229910052782 aluminium Inorganic materials 0.000 description 1
- XAGFODPZIPBFFR-UHFFFAOYSA-N aluminium Chemical compound [Al] XAGFODPZIPBFFR-UHFFFAOYSA-N 0.000 description 1
- 238000009529 body temperature measurement Methods 0.000 description 1
- 229910052802 copper Inorganic materials 0.000 description 1
- 239000010949 copper Substances 0.000 description 1
- 230000002596 correlated effect Effects 0.000 description 1
- 230000000875 corresponding effect Effects 0.000 description 1
- 239000003814 drug Substances 0.000 description 1
- 229940079593 drug Drugs 0.000 description 1
- 238000001035 drying Methods 0.000 description 1
- 238000004043 dyeing Methods 0.000 description 1
- 229920006015 heat resistant resin Polymers 0.000 description 1
- 239000011810 insulating material Substances 0.000 description 1
- 239000012774 insulation material Substances 0.000 description 1
- 229910052751 metal Inorganic materials 0.000 description 1
- 239000002184 metal Substances 0.000 description 1
- 238000012856 packing Methods 0.000 description 1
- 229920006395 saturated elastomer Polymers 0.000 description 1
- 238000007789 sealing Methods 0.000 description 1
- 229910001220 stainless steel Inorganic materials 0.000 description 1
- 239000010935 stainless steel Substances 0.000 description 1
- 239000000126 substance Substances 0.000 description 1
- 230000008016 vaporization Effects 0.000 description 1
Images
Landscapes
- Devices For Medical Bathing And Washing (AREA)
- Cleaning And Drying Hair (AREA)
Abstract
【解決手段】密閉されたタンク1内で水を加熱して得られた圧力を有する蒸気を蒸気噴出部5から噴出することができる装置において、蒸気噴出部5内もしくはその手前に、蒸気を加熱する電気ヒータを備えた空間を設ける。電気ヒータは電気制御回路を有し、発熱温度を可変とすることで、空間内の蒸気温度を調整可能とし噴出する蒸気の状態を自由に変更できるようにする。すなわち、圧力のある状態で空間内に存在する蒸気の温度を電気ヒータで必要とする温度に加熱する。
【選択図】 図1
Description
図1は、本発明装置の全体構造図である。タンク1は圧力タンクとなるものであって、タンクヒータ2によって内部の水を加熱して蒸気を発生させ、高圧状態で蒸気を貯留する。タンク1内の蒸気は、開放弁装置3、導管4を通過させて蒸気噴出部5から蒸気を噴出させる。
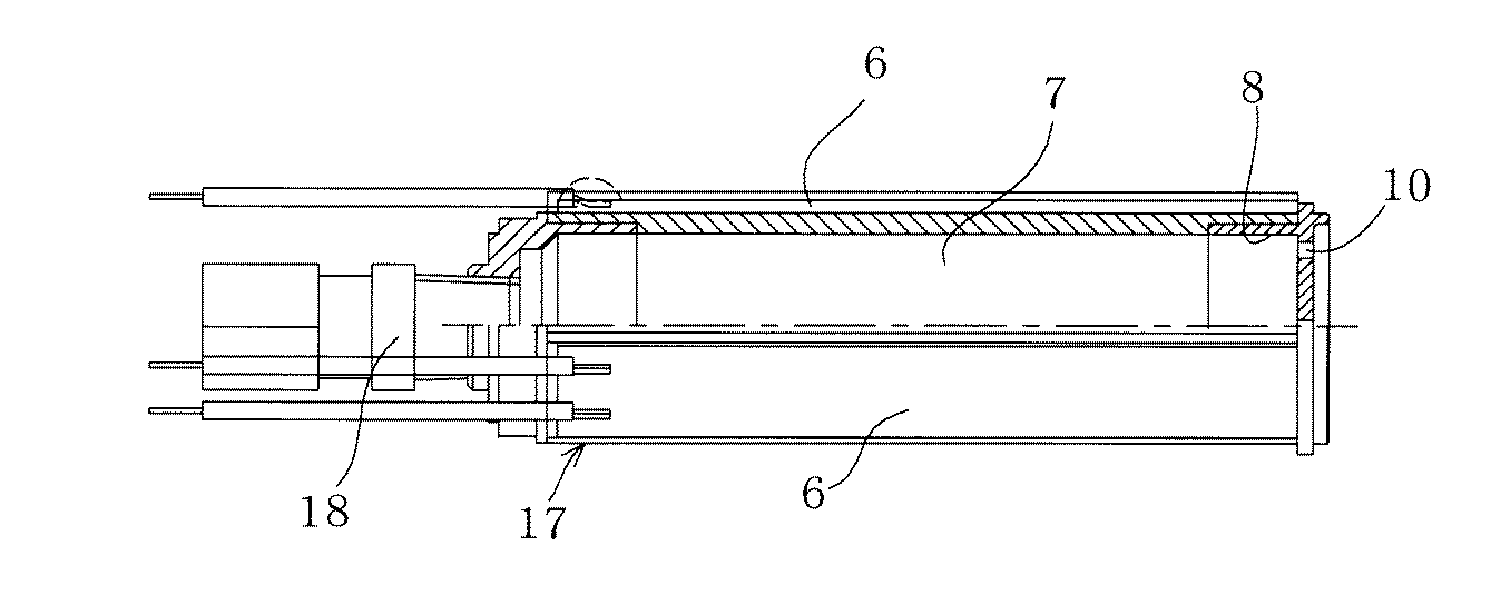
図2は、ハンドル状に形成した蒸気噴出部5の一部切欠の正面図であって、蒸気噴出部の全体構造を示している。図3は、ノズルキャップ9をはずした状態の蒸気噴出部5の右側面図である。また、図5は、空間7を形成するノズルヒートパイプ17を示している。
また、電気回路基板15は電気線を介して操作パネル基板14に接続されている。
蒸気温度調節スイッチを設ける位置は、操作パネル基板14上に限定されるものではなく、操作性に優れる任意の位置に設け電気線によって接続するものであってもよい。
曲面ノズルを実施するに際し、曲面、例えば球面の中央(最も突出している部分)の高さとノズルヒートパイプの内径との比率を0.5〜0.1の範囲で実施した場合に使い勝手の良いノズルを実現することができた。一例として、ノズルヒートパイプの内径18mmで中央の突出高さを3mmとした。この場合、比率は3÷18=0.17であった。また、貫通孔である噴出口10の数及び配置は任意であるが、例えば、曲面(球面)の最も突出した位置(中央部)に一つの噴出口を設け、中心の噴出口から5〜20mmの範囲の同心円上に複数の噴出口10、10を等間隔に配置することができる。
上記理由は、ノズルヒートパイプ17内部の空間内の蒸気温度が高い程、蒸気が潜熱をより豊富に保有する。そのため、蒸気が大気中に噴出された際、液化した蒸気が再気化し、その気化熱によって雰囲気温度を下げ、更に乾燥度が増すと考えられる。ノズルヒートパイプ17内部の空間内の蒸気温度が低い程、蒸気が白い湯気の状態になって湿り気が増すのは、潜熱による再気化が少ないことによるものと考えられる。
Claims (2)
- 密閉されたタンク内で、水を加熱して生成、蓄積された一気圧よりも高圧の圧力を有する蒸気を、開放弁装置、導管を通過させて蒸気噴出部から噴出させる装置であって、蒸気噴出部内もしくはその手前に蒸気を加熱する電気ヒーターを備えた空間を設け、電気ヒーターは電気制御回路を有し、発熱温度を可変とすることで空間内の蒸気温度を調整可能とし、蒸気噴出部の先端に装着したノズルから、乾燥した蒸気から湿った蒸気までの任意状態の蒸気を噴出することができるようにしたことを特徴とする理美容用蒸気供給装置。
- 蒸気噴出部の先端に装着するノズルは、前方に突出する曲面とし、該曲面に複数の噴出口を穿設したことを特徴とする請求項1記載の理美容用蒸気供給装置。
Priority Applications (1)
| Application Number | Priority Date | Filing Date | Title |
|---|---|---|---|
| JP2008195918A JP5215765B2 (ja) | 2008-07-30 | 2008-07-30 | 理美容用蒸気供給装置 |
Applications Claiming Priority (1)
| Application Number | Priority Date | Filing Date | Title |
|---|---|---|---|
| JP2008195918A JP5215765B2 (ja) | 2008-07-30 | 2008-07-30 | 理美容用蒸気供給装置 |
Publications (2)
| Publication Number | Publication Date |
|---|---|
| JP2010029503A true JP2010029503A (ja) | 2010-02-12 |
| JP5215765B2 JP5215765B2 (ja) | 2013-06-19 |
Family
ID=41734704
Family Applications (1)
| Application Number | Title | Priority Date | Filing Date |
|---|---|---|---|
| JP2008195918A Active JP5215765B2 (ja) | 2008-07-30 | 2008-07-30 | 理美容用蒸気供給装置 |
Country Status (1)
| Country | Link |
|---|---|
| JP (1) | JP5215765B2 (ja) |
Cited By (10)
| Publication number | Priority date | Publication date | Assignee | Title |
|---|---|---|---|---|
| JP2010029504A (ja) * | 2008-07-30 | 2010-02-12 | Tos:Kk | 理美容用蒸気供給装置 |
| JP2012135356A (ja) * | 2010-12-24 | 2012-07-19 | Tos:Kk | 理美容用蒸気供給装置 |
| JP2012145188A (ja) * | 2011-01-13 | 2012-08-02 | Tos:Kk | 圧力容器の給水栓構造 |
| JP2012223358A (ja) * | 2011-04-19 | 2012-11-15 | Naomoto Kogyo Kk | ドライヤー |
| JP2013198557A (ja) * | 2012-03-23 | 2013-10-03 | Tos:Kk | 蒸気バルブ装置 |
| WO2014071730A1 (zh) * | 2012-11-07 | 2014-05-15 | Cui Zhe | 蒸汽美容护发机 |
| JP2015518379A (ja) * | 2012-02-02 | 2015-07-02 | 株式会社アモーレパシフィックAmorepacific Corporation | 発熱マッサージ機能を有する皮膚美容容器 |
| KR101537558B1 (ko) * | 2015-03-13 | 2015-07-22 | 주식회사 메디맥스 | 증기가열장치 및 이를 이용한 증기분무건 |
| KR101753524B1 (ko) | 2016-04-15 | 2017-07-04 | 이승수 | 분사기 및 이를 구비하는 스팀장치 |
| JP2019177031A (ja) * | 2018-03-30 | 2019-10-17 | 株式会社 Artistic&Co. | 理美容蒸気供給装置 |
Families Citing this family (1)
| Publication number | Priority date | Publication date | Assignee | Title |
|---|---|---|---|---|
| KR101705147B1 (ko) * | 2016-03-09 | 2017-02-22 | (주)퓨어셀코리아 | 안면 스팀장치 |
Citations (6)
| Publication number | Priority date | Publication date | Assignee | Title |
|---|---|---|---|---|
| JPS6071803U (ja) * | 1983-10-25 | 1985-05-21 | 大進電機工業株式会社 | 水蒸気発生器 |
| JPS6074755U (ja) * | 1983-10-27 | 1985-05-25 | 新明和工芸株式会社 | 蒸気噴霧器における湯玉噴出防止装置 |
| JPH0427930U (ja) * | 1990-06-29 | 1992-03-05 | ||
| JPH08135903A (ja) * | 1994-11-08 | 1996-05-31 | Matsushita Electric Ind Co Ltd | 蒸気加熱装置 |
| JP2004057604A (ja) * | 2002-07-30 | 2004-02-26 | Naomoto Kogyo Kk | 理美容用蒸気供給装置及び理美容方法 |
| JP3124607U (ja) * | 2006-06-12 | 2006-08-24 | 日本富升環保開発 有限会社 | 薬液噴霧装置 |
-
2008
- 2008-07-30 JP JP2008195918A patent/JP5215765B2/ja active Active
Patent Citations (6)
| Publication number | Priority date | Publication date | Assignee | Title |
|---|---|---|---|---|
| JPS6071803U (ja) * | 1983-10-25 | 1985-05-21 | 大進電機工業株式会社 | 水蒸気発生器 |
| JPS6074755U (ja) * | 1983-10-27 | 1985-05-25 | 新明和工芸株式会社 | 蒸気噴霧器における湯玉噴出防止装置 |
| JPH0427930U (ja) * | 1990-06-29 | 1992-03-05 | ||
| JPH08135903A (ja) * | 1994-11-08 | 1996-05-31 | Matsushita Electric Ind Co Ltd | 蒸気加熱装置 |
| JP2004057604A (ja) * | 2002-07-30 | 2004-02-26 | Naomoto Kogyo Kk | 理美容用蒸気供給装置及び理美容方法 |
| JP3124607U (ja) * | 2006-06-12 | 2006-08-24 | 日本富升環保開発 有限会社 | 薬液噴霧装置 |
Cited By (10)
| Publication number | Priority date | Publication date | Assignee | Title |
|---|---|---|---|---|
| JP2010029504A (ja) * | 2008-07-30 | 2010-02-12 | Tos:Kk | 理美容用蒸気供給装置 |
| JP2012135356A (ja) * | 2010-12-24 | 2012-07-19 | Tos:Kk | 理美容用蒸気供給装置 |
| JP2012145188A (ja) * | 2011-01-13 | 2012-08-02 | Tos:Kk | 圧力容器の給水栓構造 |
| JP2012223358A (ja) * | 2011-04-19 | 2012-11-15 | Naomoto Kogyo Kk | ドライヤー |
| JP2015518379A (ja) * | 2012-02-02 | 2015-07-02 | 株式会社アモーレパシフィックAmorepacific Corporation | 発熱マッサージ機能を有する皮膚美容容器 |
| JP2013198557A (ja) * | 2012-03-23 | 2013-10-03 | Tos:Kk | 蒸気バルブ装置 |
| WO2014071730A1 (zh) * | 2012-11-07 | 2014-05-15 | Cui Zhe | 蒸汽美容护发机 |
| KR101537558B1 (ko) * | 2015-03-13 | 2015-07-22 | 주식회사 메디맥스 | 증기가열장치 및 이를 이용한 증기분무건 |
| KR101753524B1 (ko) | 2016-04-15 | 2017-07-04 | 이승수 | 분사기 및 이를 구비하는 스팀장치 |
| JP2019177031A (ja) * | 2018-03-30 | 2019-10-17 | 株式会社 Artistic&Co. | 理美容蒸気供給装置 |
Also Published As
| Publication number | Publication date |
|---|---|
| JP5215765B2 (ja) | 2013-06-19 |
Similar Documents
| Publication | Publication Date | Title |
|---|---|---|
| JP5215765B2 (ja) | 理美容用蒸気供給装置 | |
| JP6827543B2 (ja) | スチームしわ伸ばし装置 | |
| JP4731492B2 (ja) | スチームアイロン装置 | |
| KR101578947B1 (ko) | 모발의 스팀 처리를 위한 휴대형 장치 | |
| US20110146116A1 (en) | Steam Iron Comprising a Smoothing Brush | |
| US7634176B2 (en) | Device and method for forming water vapor | |
| EP1537359B1 (en) | Electric steaming device | |
| JP2006026022A (ja) | 理美容用蒸気発生装置 | |
| US7093384B2 (en) | Mist iron | |
| JP5466630B2 (ja) | 理美容用蒸気供給装置 | |
| JP2010029504A (ja) | 理美容用蒸気供給装置 | |
| JP4811351B2 (ja) | 美容器 | |
| JP4762975B2 (ja) | 蒸気流において渦を得る渦発生手段を有する蒸気アイロン装置 | |
| EP4125491B1 (en) | Hair styling device comprising a hair wetness control mechanism | |
| CN210856715U (zh) | 一种蒸汽熨烫机 | |
| JP4955525B2 (ja) | 美容器具 | |
| JP2009136576A (ja) | 髪ケア装置 | |
| KR20190047767A (ko) | 열에 의한 기화 패치가 구비된 헤어드라이어 | |
| JPH0226403Y2 (ja) | ||
| JP2000160825A (ja) | 壁紙剥離装置 | |
| JP2025162782A (ja) | ミスト発生装置 | |
| JP2025162815A (ja) | ミスト発生装置 | |
| JP2018196601A (ja) | 噴霧ノズル及びスチーム噴霧装置 | |
| JPS58102018A (ja) | 多湿バ−ナ | |
| JPH10263300A (ja) | アイロン |
Legal Events
| Date | Code | Title | Description |
|---|---|---|---|
| A621 | Written request for application examination |
Free format text: JAPANESE INTERMEDIATE CODE: A621 Effective date: 20100716 |
|
| A977 | Report on retrieval |
Free format text: JAPANESE INTERMEDIATE CODE: A971007 Effective date: 20120220 |
|
| A131 | Notification of reasons for refusal |
Free format text: JAPANESE INTERMEDIATE CODE: A131 Effective date: 20120227 |
|
| A521 | Request for written amendment filed |
Free format text: JAPANESE INTERMEDIATE CODE: A523 Effective date: 20120326 |
|
| A131 | Notification of reasons for refusal |
Free format text: JAPANESE INTERMEDIATE CODE: A131 Effective date: 20120702 |
|
| A521 | Request for written amendment filed |
Free format text: JAPANESE INTERMEDIATE CODE: A523 Effective date: 20120801 |
|
| TRDD | Decision of grant or rejection written | ||
| A01 | Written decision to grant a patent or to grant a registration (utility model) |
Free format text: JAPANESE INTERMEDIATE CODE: A01 Effective date: 20130204 |
|
| A61 | First payment of annual fees (during grant procedure) |
Free format text: JAPANESE INTERMEDIATE CODE: A61 Effective date: 20130301 |
|
| R150 | Certificate of patent or registration of utility model |
Ref document number: 5215765 Country of ref document: JP Free format text: JAPANESE INTERMEDIATE CODE: R150 Free format text: JAPANESE INTERMEDIATE CODE: R150 |
|
| FPAY | Renewal fee payment (event date is renewal date of database) |
Free format text: PAYMENT UNTIL: 20160308 Year of fee payment: 3 |
|
| R250 | Receipt of annual fees |
Free format text: JAPANESE INTERMEDIATE CODE: R250 |
|
| R250 | Receipt of annual fees |
Free format text: JAPANESE INTERMEDIATE CODE: R250 |
|
| R250 | Receipt of annual fees |
Free format text: JAPANESE INTERMEDIATE CODE: R250 |
|
| R250 | Receipt of annual fees |
Free format text: JAPANESE INTERMEDIATE CODE: R250 |
|
| R250 | Receipt of annual fees |
Free format text: JAPANESE INTERMEDIATE CODE: R250 |
|
| R250 | Receipt of annual fees |
Free format text: JAPANESE INTERMEDIATE CODE: R250 |
|
| R250 | Receipt of annual fees |
Free format text: JAPANESE INTERMEDIATE CODE: R250 |
|
| R250 | Receipt of annual fees |
Free format text: JAPANESE INTERMEDIATE CODE: R250 |
|
| R250 | Receipt of annual fees |
Free format text: JAPANESE INTERMEDIATE CODE: R250 |
|
| R250 | Receipt of annual fees |
Free format text: JAPANESE INTERMEDIATE CODE: R250 |
