JP2010029290A - ベビーキャリア装置 - Google Patents

ベビーキャリア装置 Download PDF

Info

Publication number
JP2010029290A
JP2010029290A JP2008192411A JP2008192411A JP2010029290A JP 2010029290 A JP2010029290 A JP 2010029290A JP 2008192411 A JP2008192411 A JP 2008192411A JP 2008192411 A JP2008192411 A JP 2008192411A JP 2010029290 A JP2010029290 A JP 2010029290A
Authority
JP
Japan
Prior art keywords
belt
baby carrier
shoulder
pair
buckle
Prior art date
Legal status (The legal status is an assumption and is not a legal conclusion. Google has not performed a legal analysis and makes no representation as to the accuracy of the status listed.)
Granted
Application number
JP2008192411A
Other languages
English (en)
Other versions
JP5442225B2 (ja
Inventor
Ito Takizawa
澤 い と 滝
Current Assignee (The listed assignees may be inaccurate. Google has not performed a legal analysis and makes no representation or warranty as to the accuracy of the list.)
Combi Corp
Original Assignee
Combi Corp
Priority date (The priority date is an assumption and is not a legal conclusion. Google has not performed a legal analysis and makes no representation as to the accuracy of the date listed.)
Filing date
Publication date
Application filed by Combi Corp filed Critical Combi Corp
Priority to JP2008192411A priority Critical patent/JP5442225B2/ja
Priority to CN200910165055.7A priority patent/CN101632529B/zh
Publication of JP2010029290A publication Critical patent/JP2010029290A/ja
Priority to HK10103758.4A priority patent/HK1137632B/xx
Application granted granted Critical
Publication of JP5442225B2 publication Critical patent/JP5442225B2/ja
Expired - Fee Related legal-status Critical Current
Anticipated expiration legal-status Critical

Links

Images

Classifications

    • AHUMAN NECESSITIES
    • A47FURNITURE; DOMESTIC ARTICLES OR APPLIANCES; COFFEE MILLS; SPICE MILLS; SUCTION CLEANERS IN GENERAL
    • A47DFURNITURE SPECIALLY ADAPTED FOR CHILDREN
    • A47D13/00Other nursery furniture
    • A47D13/02Baby-carriers; Carry-cots
    • A47D13/025Baby-carriers; Carry-cots for carrying children in seated position

Landscapes

  • Portable Outdoor Equipment (AREA)
  • Purses, Travelling Bags, Baskets, Or Suitcases (AREA)

Abstract

【課題】乳児を抱っこして乳児の体重を両肩に受けた場合であっても、使用者の姿勢を良好に維持することが可能なベビーキャリア装置を提供する。
【解決手段】ベビーキャリア装置10は、乳児を保持するベビーキャリア本体20と、ベビーキャリア本体20を保持する一対の肩ベルト15と、一対の肩ベルト15に連結されたX字状の背ベルト30とを備えている。一対の連結ベルト40は、X字状の背ベルト30の一対の下端部31と対応するベビーキャリア本体20下部とを連結し、各連結ベルト40は、ベビーキャリア本体20下部からX字状の背ベルト30下部を通って、対応する肩ベルト15側へ延びてこの肩ベルト15に固定されている。各連結ベルト40を縮ませることにより、対応する肩ベルト15をX字状の背ベルト30側へ移動させ、これにより使用者の両肩を開いて使用者の姿勢を良好に維持する。
【選択図】図1

Description

本発明は、乳児を抱っこする際に使用者が装着するベビーキャリア装置に係り、とりわけ乳児を抱っこした際、使用者の両肩が前傾することがなく、使用者の姿勢を良好に維持することが可能なベビーキャリア装置に関する。
従来、母親等の保護者が、例えば1歳未満の乳児を抱っこして移動する場合、体の正面側に子守帯を装着するとともに、この子守帯に乳児を保持した状態で抱っこすることが行われている。
一般にこのような子守帯は、使用者(保護者)の両肩に保持される一対の肩ベルトと、この一対の肩ベルトに連結され、乳児を収容するとともに使用者の前方で乳児を保持する乳児保持部とを有している。
特開2006−61382号公報
しかしながら、使用者がこのような子守帯を使用して乳児を抱っこした場合、使用者は、乳児の体重を一対の肩ベルトを介して自己の両肩に受けることとなる。このため、乳児の体重によって使用者の両肩が前傾し、自然に猫背になってしまい、使用者の姿勢が悪くなってしまう。このように姿勢が悪くなることは、見た目上の観点からも健康上の観点からも好ましくない。
本発明は、このような点を考慮してなされたものであり、乳児を抱っこして乳児の体重を両肩に受けた場合であっても、使用者の姿勢を良好に維持することが可能なベビーキャリア装置を提供することを目的とする。
本発明は、乳児を抱っこする際に使用者が装着するベビーキャリア装置において、乳児を保持するベビーキャリア本体と、ベビーキャリア本体を保持する一対の肩ベルトと、一対の肩ベルトに連結されたX字状の背ベルトと、X字状の背ベルトの一対の下端部と対応するベビーキャリア本体下部とを連結する一対の連結ベルトとを備え、各連結ベルトは、ベビーキャリア本体下部からX字状の背ベルト下部を通って、対応する肩ベルト側へ延びてこの肩ベルトに固定され、各連結ベルトを縮ませることにより、対応する肩ベルトをX字状の背ベルト側へ移動させ、これにより使用者の両肩を開くことを特徴とするベビーキャリア装置である。
本発明は、各連結ベルトは、ベビーキャリア本体下部に連結された本体側連結ベルトと、肩ベルトに連結され、X字状の背ベルト内を通過してX字状の背ベルト下部から外方へ表出する肩側連結ベルトと、本体側連結ベルトおよび肩側連結ベルトを互いに着脱自在に連結するバックルとを有することを特徴とするベビーキャリア装置である。
本発明は、バックルはメス側バックルとオス側バックルとからなり、メス側バックルおよびオス側バックルのうち一方は、対応する本体側連結ベルトまたは肩側連結ベルトを巻き付けるバーを有し、バー側の当該本体側連結ベルトまたは肩側連結ベルトの端部をバーに沿って摺動させることにより、連結ベルトが伸縮可能となることを特徴とするベビーキャリア装置である。
本発明は、本体側連結ベルトまたは肩側連結ベルトにバックルサポーターが取り付けられ、バックルサポーターは、ベビーキャリア装置を装着した際、各バックルと使用者との間に位置することを特徴とするベビーキャリア装置である。
本発明は、ベビーキャリア本体は、乳児の両足を挿通する一対の足ぐりベルトと、一対の足ぐりベルト間に設けられ、乳児の臀部を保持する臀部保持部とを有し、臀部保持部に、互いに離間して配置された一対の保持部連結手段が設けられ、この一対の保持部連結手段を連結することにより、臀部保持部の幅をこの一対の保持部連結手段間の長さだけ狭くすることが可能となることを特徴とするベビーキャリア装置である。
以上のように本発明によれば、各連結ベルトを縮ませることにより、対応する肩ベルトをX字状の背ベルト側へ移動させ、これにより使用者の両肩を開くことができるので、乳児を抱っこして乳児の体重を両肩に受けている場合であっても、使用者の姿勢を良好にすることができる。
また本発明によれば、各連結ベルトは、本体側連結ベルトおよび肩側連結ベルトを互いに着脱自在に連結するバックルを有するので、バックルを着脱することにより、使用者がベビーキャリア装置を容易に装着することができる。
また本発明によれば、バー側の本体側連結ベルトまたは肩側連結ベルトの端部をバーに沿って摺動させることにより、連結ベルトが伸縮可能となるので、本体側連結ベルトまたは肩側連結ベルトの端部を前方に引っ張ることにより、容易に連結ベルトを縮ませることができ、使用者の両肩を開いて姿勢を良好にすることができる。
また本発明によれば、本体側連結ベルトまたは肩側連結ベルトにバックルサポーターが取り付けられ、バックルサポーターは、ベビーキャリア装置を装着した際、各バックルと使用者との間に位置するので、各バックルが使用者の脇腹に当たってこすれて痛みを感じることがない。
また本発明によれば、臀部保持部に、互いに離間して配置された一対の保持部連結手段が設けられ、この一対の保持部連結手段を連結することにより、臀部保持部の幅をこの一対の保持部連結手段間の長さだけ狭くすることが可能となっているので、乳児の体の大きさに合わせてベビーキャリア本体に保持される乳児の位置を調整することができる。
以下、図面を参照して本発明の一実施の形態について説明する。
図1は、本実施の形態によるベビーキャリア装置の正面図であり、図2は、本実施の形態によるベビーキャリア装置の背面図である。図3は、ベビーキャリア本体の臀部保持部を示す拡大図であり、図4は、バックル周囲の拡大図である。図5(a)〜(e)は、使用者がベビーキャリア装置を着用するステップを示す図であり、図6(a)〜(d)は、ベビーキャリア装置に乳児を乗せるステップを示す図である。図7(a)(b)は、連結ベルトを縮ませた場合と縮ませなかった場合とで、使用者の姿勢を比較する図である。
まず、図1乃至図4により本実施の形態によるベビーキャリア装置の概要について説明する。
本実施の形態によるベビーキャリア装置10は、乳児を抱っこする際に母親等の使用者が装着するものである。このベビーキャリア装置10は、図1および図2に示すように、乳児を使用者の正面側で保持するためのベビーキャリア本体20と、このベビーキャリア本体20を保持する一対の肩ベルト15とを備えている。
このうち一対の肩ベルト15に、装着時に使用者の背中に当接するX字状の背ベルト30が連結されている。またX字状の背ベルト30の一対の下端部31と、対応するベビーキャリア本体20下部との間に、一対の連結ベルト40が連結されている。
図1および図2に示すように、ベビーキャリア本体20は、ベビーキャリア本体20に乳児を保持した際、乳児の背部に当接する背中保持部21を有している。背中保持部21の内側下部には、乳児の両足を挿通させる一対の挿通孔22aを形成する一対の足ぐりベルト22が設けられている。また、一対の足ぐりベルト22間に、乳児の臀部を保持する臀部保持部23が設けられている。そして、上述した一対の連結ベルト40の一端が、ベビーキャリア本体20下部、具体的には各足ぐりベルト22と臀部保持部23との間に取り付けられている。
またベビーキャリア本体20の背中保持部21の外面中央には、調整紐24が設けられている。調整紐24は、背中保持部21の左右の幅を調整するためのものであり、背中保持部21の上下方向に沿って設けられている。
この調整紐24には、ストッパー25が摺動自在に設けられている。ストッパー25は、調整紐24を一定の長さに保持することにより背中保持部21の幅を一定に保持するためのものである。
さらに背中保持部21の上部両端には、一対の連結片26が設けられている。この一対の連結片26により、ベビーキャリア本体20と各肩ベルト15とが互いに連結されている。
ところで図3に示すように、ベビーキャリア本体20の臀部保持部23には、互いに離間して配置された一対の連結ファスナー27が設けられている。また、臀部保持部23には、互いに離間して配置された一対の連結ホック28が更に設けられている。そして一対の連結ファスナー27同士および/または一対の連結ホック28同士を互いに着脱することにより、臀部保持部23の幅を調整可能となっている。
すなわち身長が小さい乳児をベビーキャリア本体20に乗せる場合には、一対の連結ファスナー27同士および/または一対の連結ホック28同士を互いに連結する。これにより、臀部保持部23の幅を長さL1または長さL2だけ狭め、ベビーキャリア本体20の深さを浅くすることができる。
他方、身長がある程度大きく成長した乳児をベビーキャリア本体20に乗せる場合には、一対の連結ファスナー27同士および一対の連結ホック28同士の連結を解除する。これにより、臀部保持部23の幅を広くし、ベビーキャリア本体20の深さを深くすることができる。
このように、一対の連結ファスナー27同士および/または一対の連結ホック28を着脱することにより、臀部保持部23の幅を調整し、乳児の体の大きさに合わせてベビーキャリア本体20に保持される乳児の高さ位置を調整することができる。なお本実施の形態において、連結ファスナー27および連結ホック28は、それぞれ保持部連結手段を構成する。
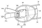
一方、図1および図2に示すように、X字状の背ベルト30は、一対の下端部31を有している。各下端部31のうち背ベルト30の中心側には、上側ベルト通し穴32が形成されている。また下端部31の先端側には、下側ベルト通し穴33が形成されている。
図1および図2に示すように、連結ベルト40は、本体側連結ベルト41と肩側連結ベルト42とを有している。また各本体側連結ベルト41と各肩側連結ベルト42との間に、バックル43が設けられている。このバックル43は、本体側連結ベルト41と肩側連結ベルト42とを互いに着脱自在に連結するものである。
本体側連結ベルト41は、ベビーキャリア本体20下部から延び、バックル43によって対応する肩側連結ベルト42に連結される。このように各本体側連結ベルト41と各肩側連結ベルト42とが互いに連結されることにより、背ベルト30の下端部31とベビーキャリア本体20下部とが互いに連結される。
他方、肩側連結ベルト42は、X字状の背ベルト30の下端部31内を通って、対応する肩ベルト15側へ延び、肩ベルト15に固定されている。
すなわち肩側連結ベルト42は、それぞれ肩ベルト15側からX字状の背ベルト30の上側ベルト通し穴32へ挿通され、背ベルト30の下端部31内部を通過し、背ベルト30の下側ベルト通し穴33から外方へ表出する。
一方、図4に示すように、バックル43は、それぞれ各本体側連結ベルト41に設けられたオス側バックル43aと、各肩側連結ベルト42先端に取り付けられたメス側バックル43bとからなっている。そしてオス側バックル43aとメス側バックル43bとを着脱することにより、使用者は、ベビーキャリア装置10を容易に着脱することができる。
本体側連結ベルト41側のオス側バックル43aは、本体側連結ベルト41を巻き付けるバー43cを有している。そして、オス側バックル43aとメス側バックル43bとを連結した後、本体側連結ベルト41の端部41aをバー43cに沿って摺動させることにより、連結ベルト40を伸縮させることができる。すなわち本体側連結ベルト41の端部41aを使用者前方(図4の矢印方向)に引っ張ることにより、連結ベルト40全体の長さが縮められる。これにより対応する肩ベルト15をX字状の背ベルト30側へ移動させることができる。
逆に、本体側連結ベルト41のうちベビーキャリア本体取付部側41bを前方に引っ張ると、連結ベルト40全体の長さが伸び、連結ベルト40を緩めることができる。
ところで、図4に示すように、各肩側連結ベルト42のうち、メス側バックル43b近傍に、それぞれバックルサポーター44が取り付けられている。各バックルサポーター44は、柔らかい材質からなるとともに、メス側バックル43bに当接するようになっている。
このバックルサポーター44は、使用者がベビーキャリア装置10を装着した際、各バックル43と使用者との間に位置するようになっている。これにより、各バックル43が使用者の脇腹に直接当たり、こすれて痛みを感じることがない。なお各バックルサポーター44は、本体側連結ベルト41側に取り付けられていても良い。
なおメス側バックル43bを本体側連結ベルト41に取り付けるとともに、オス側バックル43aを肩側連結ベルト42に取り付けても良い。また、オス側バックル43aに代えて、メス側バックル43bに肩側連結ベルト42を巻き付けるバーが設けられていても良い。この場合、バー側の肩側連結ベルト42の端部をバーに沿って摺動させることにより、連結ベルト40を伸縮させても良い。
次に、このような構成からなる本実施の形態の作用について述べる。はじめに、図5(a)〜(e)により、使用者Mがベビーキャリア装置10を装着する際の作用について述べる。
まず、図1および図2に示すベビーキャリア装置10を準備し、各バックル43のオス側バックル43aとメス側バックル43bとを予め取り外しておく。次に、使用者Mは、各肩ベルト15、各肩側連結ベルト42、およびX字状の背ベルト30の間に形成される空間に、腕Aを通す(図5(a))。
次に、使用者Mは、X字状の背ベルト30、ベビーキャリア本体20、および一対の肩ベルト15の間に形成される空間に頭部を通し、ベビーキャリア装置10を装着する(図5(b))。次いで、使用者Mは、X字状の背ベルト30の各下端部31を下方へ引き下げ、背ベルト30の各下端部31が使用者Mの左右の腰部付近に位置するようにする。
続いて、使用者Mは、各本体側連結ベルト41のオス側バックル43aを、対応する肩側連結ベルト42のメス側バックル43bに嵌め込み、本体側連結ベルト41と肩側連結ベルト42とをそれぞれ互いに連結する(図5(c))。このように各本体側連結ベルト41と各肩側連結ベルト42とが互いに連結されることにより、背ベルト30の下端部31とベビーキャリア本体20下部とが連結される。
次に、使用者Mは、一対の本体側連結ベルト41の端部41aを使用者Mの内側前方に引っ張る(図5(d))。この際、各本体側連結ベルト41の端部41aがバー43cに沿って前方に移動されることにより、各本体側連結ベルト41の長さが縮められる。これにより、各連結ベルト40全体の長さも縮められる。
このように連結ベルト40の長さが縮められることにより、各肩側連結ベルト42が使用者Mの脇腹に沿って前方に移動し、肩ベルト15が肩側連結ベルト42によって下方に引っ張られる(図5(e))。これにより、各肩ベルト15が、それぞれX字状の背ベルト30側へ移動され、使用者Mの両肩が半強制的に開かれる(すなわち使用者Mの肩胛骨同士が接近する)。
次に、図6(a)〜(d)を用いて、ベビーキャリア装置10に乳児Bを乗せる際の作用について述べる。まずベビーキャリア本体20のストッパー25を解除する。次いで、調整紐24を緩めることにより、背中保持部21の左右の幅を広げておく(図6(a))。
その後、乳児Bの両足を一対の足ぐりベルト22によって形成された挿通孔22aに通すとともに、乳児Bの尻部を臀部保持部23に乗せる(図6(b))。
その後、調整紐24を引っ張り、背中保持部21の左右の幅を適当な位置まで縮める。また、ストッパー25を効かせ、ストッパー25を調整紐24の所定位置に固定し、背中保持部21の幅を一定に保持する。このようにして、使用者Mは、乳児Bをベビーキャリア装置10のベビーキャリア本体20に保持し、使用者Mの正面で乳児Bを抱っこすることができる(図6(c)(d))。
このように本実施の形態によれば、各連結ベルト40を縮ませることにより、対応する肩ベルト15をX字状の背ベルト30側へ移動させ、使用者Mの両肩を開くことができる。したがって、乳児Bを抱っこして乳児Bの体重を両肩に受けている場合であっても、使用者Mの両肩が前傾せず、使用者Mの姿勢を良好に維持することができる(図7(a))。
これに対して、比較例として、上述した図5(d)に示すステップにおいて、一対の本体側連結ベルト41の端部41aを使用者Mの内側前方に引っ張らなかった場合を想定する。この場合、図7(b)に示すように、乳児Bをベビーキャリア本体20に乗せた際、乳児Bの体重によって使用者Mの両肩が前傾して猫背となり、使用者Mの姿勢が悪くなってしまう。
本発明の一実施の形態によるベビーキャリア装置の正面図。 本発明の一実施の形態によるベビーキャリア装置の背面図。 ベビーキャリア本体の臀部保持部を示す拡大図。 バックル周囲の拡大図。 使用者がベビーキャリア装置を着用するステップを示す図。 ベビーキャリア装置に乳児を乗せるステップを示す図。 連結ベルトを縮ませた場合と縮ませなかった場合とで、使用者の姿勢を比較する図。
符号の説明
10 ベビーキャリア装置
15 肩ベルト
20 ベビーキャリア本体
21 背中保持部
22 足ぐりベルト
23 臀部保持部
24 調整紐
25 ストッパー
26 連結片
27 連結ファスナー
28 連結ホック
30 背ベルト
40 連結ベルト
41 本体側連結ベルト
42 肩側連結ベルト
43 バックル
43a オス側バックル
43b メス側バックル
44 バックルサポーター

Claims (5)

  1. 乳児を抱っこする際に使用者が装着するベビーキャリア装置において、
    乳児を保持するベビーキャリア本体と、
    ベビーキャリア本体を保持する一対の肩ベルトと、
    一対の肩ベルトに連結されたX字状の背ベルトと、
    X字状の背ベルトの一対の下端部と対応するベビーキャリア本体下部とを連結する一対の連結ベルトとを備え、
    各連結ベルトは、ベビーキャリア本体下部からX字状の背ベルト下部を通って、対応する肩ベルト側へ延びてこの肩ベルトに固定され、
    各連結ベルトを縮ませることにより、対応する肩ベルトをX字状の背ベルト側へ移動させ、これにより使用者の両肩を開くことを特徴とするベビーキャリア装置。
  2. 各連結ベルトは、ベビーキャリア本体下部に連結された本体側連結ベルトと、肩ベルトに連結され、X字状の背ベルト内を通過してX字状の背ベルト下部から外方へ表出する肩側連結ベルトと、本体側連結ベルトおよび肩側連結ベルトを互いに着脱自在に連結するバックルとを有することを特徴とする請求項1記載のベビーキャリア装置。
  3. バックルはメス側バックルとオス側バックルとからなり、メス側バックルおよびオス側バックルのうち一方は、対応する本体側連結ベルトまたは肩側連結ベルトを巻き付けるバーを有し、バー側の当該本体側連結ベルトまたは肩側連結ベルトの端部をバーに沿って摺動させることにより、連結ベルトが伸縮可能となることを特徴とする請求項2記載のベビーキャリア装置。
  4. 本体側連結ベルトまたは肩側連結ベルトにバックルサポーターが取り付けられ、バックルサポーターは、ベビーキャリア装置を装着した際、各バックルと使用者との間に位置することを特徴とする請求項2または3記載のベビーキャリア装置。
  5. ベビーキャリア本体は、乳児の両足を挿通する一対の足ぐりベルトと、一対の足ぐりベルト間に設けられ、乳児の臀部を保持する臀部保持部とを有し、臀部保持部に、互いに離間して配置された一対の保持部連結手段が設けられ、この一対の保持部連結手段を連結することにより、臀部保持部の幅をこの一対の保持部連結手段間の長さだけ狭くすることが可能となることを特徴とする請求項1乃至4のいずれか一項記載のベビーキャリア装置。
JP2008192411A 2008-07-25 2008-07-25 ベビーキャリア装置 Expired - Fee Related JP5442225B2 (ja)

Priority Applications (3)

Application Number Priority Date Filing Date Title
JP2008192411A JP5442225B2 (ja) 2008-07-25 2008-07-25 ベビーキャリア装置
CN200910165055.7A CN101632529B (zh) 2008-07-25 2009-07-24 婴儿抱袋装置
HK10103758.4A HK1137632B (en) 2008-07-25 2010-04-19 Baby carrying device

Applications Claiming Priority (1)

Application Number Priority Date Filing Date Title
JP2008192411A JP5442225B2 (ja) 2008-07-25 2008-07-25 ベビーキャリア装置

Publications (2)

Publication Number Publication Date
JP2010029290A true JP2010029290A (ja) 2010-02-12
JP5442225B2 JP5442225B2 (ja) 2014-03-12

Family

ID=41591993

Family Applications (1)

Application Number Title Priority Date Filing Date
JP2008192411A Expired - Fee Related JP5442225B2 (ja) 2008-07-25 2008-07-25 ベビーキャリア装置

Country Status (2)

Country Link
JP (1) JP5442225B2 (ja)
CN (1) CN101632529B (ja)

Cited By (9)

* Cited by examiner, † Cited by third party
Publication number Priority date Publication date Assignee Title
US9439516B2 (en) 2012-02-04 2016-09-13 Krystal Workman Ergonomic twin baby carrier
USD774297S1 (en) 2013-02-04 2016-12-20 Krystal Workman Ergonomic twin baby carrier
JP2018089280A (ja) * 2016-12-07 2018-06-14 ラッキー工業株式会社 ベビーキャリア
CN110384367A (zh) * 2018-04-19 2019-10-29 明门瑞士股份有限公司 儿童载具
CN113854779A (zh) * 2020-06-30 2021-12-31 明门瑞士股份有限公司 抱婴背带
JP2022074247A (ja) * 2020-11-04 2022-05-18 株式会社カワキタ 肩かけ鞄
JP2022107444A (ja) * 2021-01-08 2022-07-21 一般社団法人Brain’s Consensus Communications 抱き持ち具
CN114794800A (zh) * 2021-01-28 2022-07-29 明门瑞士股份有限公司 可调整座部高度的婴儿背带
WO2024018527A1 (ja) * 2022-07-19 2024-01-25 ケラッタ株式会社 ベビーキャリア

Families Citing this family (7)

* Cited by examiner, † Cited by third party
Publication number Priority date Publication date Assignee Title
CN203121768U (zh) * 2012-12-28 2013-08-14 光华包装(深圳)有限公司 一种分体式婴儿抱袋装置
CN105310353A (zh) * 2014-07-27 2016-02-10 刘祖学 多功能婴儿袋
CN105795787A (zh) * 2016-05-04 2016-07-27 夏桔红 一种婴幼儿背带椅
WO2018081603A1 (en) * 2016-10-28 2018-05-03 The Ergo Baby Carrier, Inc. Adjustable child carrier with multiple carry orientations
CN109892909B (zh) * 2017-12-11 2022-08-23 明门瑞士股份有限公司 抱婴带
CN110250800A (zh) * 2019-07-02 2019-09-20 广州悦宜贸易有限公司 一种婴儿高腰凳
CN114304986B (zh) * 2020-10-09 2024-07-12 明门瑞士股份有限公司 抱婴背带

Citations (6)

* Cited by examiner, † Cited by third party
Publication number Priority date Publication date Assignee Title
JPH06505167A (ja) * 1991-01-18 1994-06-16 ベビー ビヨルン アクティエボラーグ 子供支持肩帯
JPH0645532U (ja) * 1992-10-22 1994-06-21 ラッキー工業株式会社 抱き具の機能を具えたリュックサック
JPH07222623A (ja) * 1994-02-08 1995-08-22 Lucky Kogyo Kk 座高調節機能を有する子守帯
JP2005185426A (ja) * 2003-12-25 2005-07-14 Lucky Kogyo Kk サポート部材およびベビーキャリア
JP2006507888A (ja) * 2002-11-29 2006-03-09 ベビー ビヨルン アクティエボラーグ 子供用ハーネス
JP2008516725A (ja) * 2005-03-10 2008-05-22 ベビー ビヨルン アクティエボラーグ ベビーキャリア

Family Cites Families (7)

* Cited by examiner, † Cited by third party
Publication number Priority date Publication date Assignee Title
US4271998A (en) * 1976-09-27 1981-06-09 Ruggiano Harriet M Infant carrier
US4434920A (en) * 1982-02-22 1984-03-06 Snugli, Inc. Soft orthopedic pouch-type infant carrier
US6045018A (en) * 1997-02-17 2000-04-04 Aprica Kassai Kabushikikaisha Baby carrier
JP3669612B2 (ja) * 1997-07-29 2005-07-13 ラッキー工業株式会社 ブリッジベルト移動式ベビーキャリア
US6409060B2 (en) * 1999-12-22 2002-06-25 Michael T. Donine Child carrier with enhanced back and shoulder support and retractable infant seat
JP2005312823A (ja) * 2004-04-30 2005-11-10 Combi Corp 涎掛けを備えた子守帯及びその涎掛け
JP2006280719A (ja) * 2005-04-01 2006-10-19 Aprica Kassai Inc 子守帯

Patent Citations (6)

* Cited by examiner, † Cited by third party
Publication number Priority date Publication date Assignee Title
JPH06505167A (ja) * 1991-01-18 1994-06-16 ベビー ビヨルン アクティエボラーグ 子供支持肩帯
JPH0645532U (ja) * 1992-10-22 1994-06-21 ラッキー工業株式会社 抱き具の機能を具えたリュックサック
JPH07222623A (ja) * 1994-02-08 1995-08-22 Lucky Kogyo Kk 座高調節機能を有する子守帯
JP2006507888A (ja) * 2002-11-29 2006-03-09 ベビー ビヨルン アクティエボラーグ 子供用ハーネス
JP2005185426A (ja) * 2003-12-25 2005-07-14 Lucky Kogyo Kk サポート部材およびベビーキャリア
JP2008516725A (ja) * 2005-03-10 2008-05-22 ベビー ビヨルン アクティエボラーグ ベビーキャリア

Cited By (15)

* Cited by examiner, † Cited by third party
Publication number Priority date Publication date Assignee Title
US9439516B2 (en) 2012-02-04 2016-09-13 Krystal Workman Ergonomic twin baby carrier
US9504337B2 (en) 2012-02-04 2016-11-29 Krystal Workman Ergonomic twin baby carrier
US10130190B2 (en) 2012-02-04 2018-11-20 Krystal Workman Ergonomic twin baby carrier
US10136739B2 (en) 2012-02-04 2018-11-27 Krystal Workman Ergonomic twin baby carrier
USD774297S1 (en) 2013-02-04 2016-12-20 Krystal Workman Ergonomic twin baby carrier
JP2018089280A (ja) * 2016-12-07 2018-06-14 ラッキー工業株式会社 ベビーキャリア
CN110384367A (zh) * 2018-04-19 2019-10-29 明门瑞士股份有限公司 儿童载具
CN110384367B (zh) * 2018-04-19 2023-09-29 明门瑞士股份有限公司 儿童载具
US12383076B2 (en) 2018-04-19 2025-08-12 Wonderland Switzerland Ag Child carrier
CN113854779A (zh) * 2020-06-30 2021-12-31 明门瑞士股份有限公司 抱婴背带
JP2022074247A (ja) * 2020-11-04 2022-05-18 株式会社カワキタ 肩かけ鞄
JP2022107444A (ja) * 2021-01-08 2022-07-21 一般社団法人Brain’s Consensus Communications 抱き持ち具
CN114794800A (zh) * 2021-01-28 2022-07-29 明门瑞士股份有限公司 可调整座部高度的婴儿背带
WO2024018527A1 (ja) * 2022-07-19 2024-01-25 ケラッタ株式会社 ベビーキャリア
JPWO2024018527A1 (ja) * 2022-07-19 2024-01-25

Also Published As

Publication number Publication date
CN101632529B (zh) 2014-05-07
HK1137632A1 (en) 2010-08-06
JP5442225B2 (ja) 2014-03-12
CN101632529A (zh) 2010-01-27

Similar Documents

Publication Publication Date Title
JP5442225B2 (ja) ベビーキャリア装置
JP6271137B2 (ja) 子守帯
JP5827008B2 (ja) 運搬具
JP6763891B2 (ja) ベビーキャリア
JP5960429B2 (ja) ベビーキャリア
KR101272144B1 (ko) 힙싯 아기띠
KR101110999B1 (ko) 아기 보호대
JP2010524605A5 (ja)
JP2014176494A (ja) 子守帯
JP2001070107A (ja) パッド付ベビーキャリア
KR20100010120U (ko) 다리폭 조절기능을 구비한 유아용 캐리어
KR20200123120A (ko) 유아 캐리어
JP6282716B1 (ja) ベビーキャリア
KR20170105908A (ko) 힙시트 겸용 아기띠
KR200448684Y1 (ko) 발받침화가 구비된 유아용 포대기
JP3145902U (ja) 乳幼児用キャリア
KR101401494B1 (ko) 유아용 다용도 캐리어
KR200474432Y1 (ko) 유아용 포대기
KR20190041209A (ko) 사용편리성과 안전성이 향상된 후방아기띠와 전방아기띠를 구비한 아기띠장치
KR200474221Y1 (ko) 아기 포대기
JP3127392U (ja) ベビーキャリア
CN105411275B (zh) 带肩带的儿童保持具与带座位的育儿器具的组合构造
KR20100106717A (ko) 허리아기띠
JP2016064110A (ja) 座席付き育児器具
JP4624899B2 (ja) 衣服カバー

Legal Events

Date Code Title Description
A621 Written request for application examination

Free format text: JAPANESE INTERMEDIATE CODE: A621

Effective date: 20110714

A977 Report on retrieval

Free format text: JAPANESE INTERMEDIATE CODE: A971007

Effective date: 20130315

A131 Notification of reasons for refusal

Free format text: JAPANESE INTERMEDIATE CODE: A131

Effective date: 20130322

A521 Request for written amendment filed

Free format text: JAPANESE INTERMEDIATE CODE: A523

Effective date: 20130521

TRDD Decision of grant or rejection written
A01 Written decision to grant a patent or to grant a registration (utility model)

Free format text: JAPANESE INTERMEDIATE CODE: A01

Effective date: 20131122

A61 First payment of annual fees (during grant procedure)

Free format text: JAPANESE INTERMEDIATE CODE: A61

Effective date: 20131218

R150 Certificate of patent or registration of utility model

Free format text: JAPANESE INTERMEDIATE CODE: R150

Ref document number: 5442225

Country of ref document: JP

Free format text: JAPANESE INTERMEDIATE CODE: R150

R250 Receipt of annual fees

Free format text: JAPANESE INTERMEDIATE CODE: R250

R250 Receipt of annual fees

Free format text: JAPANESE INTERMEDIATE CODE: R250

R250 Receipt of annual fees

Free format text: JAPANESE INTERMEDIATE CODE: R250

LAPS Cancellation because of no payment of annual fees