JP2010027286A - 放電装置および温度監視装置 - Google Patents

放電装置および温度監視装置 Download PDF

Info

Publication number
JP2010027286A
JP2010027286A JP2008184980A JP2008184980A JP2010027286A JP 2010027286 A JP2010027286 A JP 2010027286A JP 2008184980 A JP2008184980 A JP 2008184980A JP 2008184980 A JP2008184980 A JP 2008184980A JP 2010027286 A JP2010027286 A JP 2010027286A
Authority
JP
Japan
Prior art keywords
conductor
discharge
temperature
discharge device
conductive
Prior art date
Legal status (The legal status is an assumption and is not a legal conclusion. Google has not performed a legal analysis and makes no representation as to the accuracy of the status listed.)
Granted
Application number
JP2008184980A
Other languages
English (en)
Other versions
JP5189426B2 (ja
Inventor
Yasuhiro Koga
康裕 古閑
Yuichi Yamaji
祐一 山地
Akihiko Maruyama
昭彦 丸山
Current Assignee (The listed assignees may be inaccurate. Google has not performed a legal analysis and makes no representation or warranty as to the accuracy of the list.)
Mitsubishi Electric Corp
Original Assignee
Mitsubishi Electric Corp
Priority date (The priority date is an assumption and is not a legal conclusion. Google has not performed a legal analysis and makes no representation as to the accuracy of the date listed.)
Filing date
Publication date
Application filed by Mitsubishi Electric Corp filed Critical Mitsubishi Electric Corp
Priority to JP2008184980A priority Critical patent/JP5189426B2/ja
Publication of JP2010027286A publication Critical patent/JP2010027286A/ja
Application granted granted Critical
Publication of JP5189426B2 publication Critical patent/JP5189426B2/ja
Expired - Fee Related legal-status Critical Current
Anticipated expiration legal-status Critical

Links

Images

Classifications

    • HELECTRICITY
    • H02GENERATION; CONVERSION OR DISTRIBUTION OF ELECTRIC POWER
    • H02BBOARDS, SUBSTATIONS OR SWITCHING ARRANGEMENTS FOR THE SUPPLY OR DISTRIBUTION OF ELECTRIC POWER
    • H02B13/00Arrangement of switchgear in which switches are enclosed in, or structurally associated with, a casing, e.g. cubicle
    • H02B13/02Arrangement of switchgear in which switches are enclosed in, or structurally associated with, a casing, e.g. cubicle with metal casing
    • H02B13/035Gas-insulated switchgear
    • H02B13/065Means for detecting or reacting to mechanical or electrical defects

Landscapes

  • Engineering & Computer Science (AREA)
  • Power Engineering (AREA)
  • Gas-Insulated Switchgears (AREA)

Abstract

【課題】電気機器の導体の温度異常を検知する放電装置と温度監視を行う温度監視装置を得る。
【解決手段】導電性の第1の部材1と、この第1の部材1に対向配置された導電性の第2の部材2と、両部材1,2を電気的に接続するヒューズ3(感熱素子)と、ヒューズ3を取り囲み一端が前記第1の部材1に固着され他端が前記第2の部材2に固着された筒状の絶縁部材4とで放電装置を構成し、第1の部材1が電気機器の導体5に電気的に接続され、導体の温度が所定温度以上のときヒューズ3が溶断し、第1の部材1と第2の部材2との間に部分放電が発生するように構成した。また、この部分放電を検出する放電検出器と組み合わせて温度監視装置を構成した。
【選択図】図1

Description

この発明は、例えば、工場やビルなどの受配電設備として使用される気中絶縁開閉装置等の電気機器の導体部に使用される放電装置と、その放電装置を利用した導体の温度監視装置に関するものである。
従来の電気機器の導体接続部又は接触部の温度監視は、例えば、導体接続部又は接触部の近傍に、温度変化を可視的に確認できるサーモラベルを貼付することにより、定期点検実施時などに、目視により温度異常を確認していた。この方法では定期点検時等にしか確認できないので、常時監視できる監視技術として、例えば、下記のような装置が知られている。
図6は、従来の、温度監視装置を備えたガス絶縁開閉装置の断面図である。金属容器21内に配置された導体22の接続部は、複数の接触子23がバネ24により接触力が与えられて保持され、金具25によって接触子23の円周方向の位置決めがなされ、金具25はボルトにより一方の導体22に固着されている。これらの外周に、接触子23とは絶縁支持部26で絶縁された電界緩和用のシールド27が設けられている。そして、このシールド27と導体22とが温度ヒューズ28によって接続されている。このような構成において、接続部の接触不良等による温度異常が発生すると、温度ヒューズ28が溶断し、シールド27がフロートした状態になってコロナ放電が生じるので、その放電を検出することで接続部の温度異常を検知することができるようになっている(例えば、特許文献1参照)。
特開昭63−64223号公報(第2頁、第1図)
導体接続部又は接触部の温度監視を常時行う技術として、上記の特許文献1の構成は、導体接続部に設けられた電界緩和用のシールドを利用している。これを、シールドを持たない気中絶縁開閉装置等の電気機器の導体接続部又は接触部に適用しようとすれば、シールドを新たに追加しなければならず、対地間又は相間の絶縁距離が確保できなくなるという問題があった。
この発明は、上記のような問題点を解消するためになされたものであり、電界緩和用シールドを持たないような構成の電気機器においても、簡単な構成で、導体部の異常な温度上昇により放電する放電装置と、その放電装置を利用した温度監視装置を得ることを目的とする。
この発明に係わる放電装置は、導電性の第1の部材と、この第1の部材に対向配置された導電性の第2の部材と、第1の部材と第2の部材とを電気的に接続する感熱素子と、感熱素子を取り囲み一端が第1の部材に固着され他端が第2の部材に固着された筒状の絶縁部材とを備え、第1の部材が電気機器の導体に電気的に接続され、導体の温度が所定温度以上のとき第1の部材と第2の部材との感熱素子による接続が遮断され、第1の部材と第2の部材との間に部分放電が発生するように構成したものである。
また、この発明に係わる温度監視装置は、上記の放電装置を使用し、放電装置内で発生する部分放電を検出する放電検出装置を備え、部分放電の有無を監視することにより導体の温度を監視するようにしたものである。
この発明の放電装置によれば、対向配置した第1の部材と第2の部材と、両者とを電気的に接続する感熱素子と、感熱素子を取り囲む筒状の絶縁部材とを備え、電気機器の導体に電気的に接続され、導体の温度が所定温度以上のとき感熱素子による接続が遮断されて第1の部材と第2の部材との間に部分放電が発生するように構成したので、部分放電の有無を監視することで導体の温度異常を検知することができる。
また、導体の接続部に電界緩和シールドを持たないような電気機器にも広く適用でき、更に、既設の電気機器の導体に、後から簡単に本装置を採用できる。
また、この発明の温度監視装置によれば、上記放電装置に部分放電を検出する放電検出装置を備えて構成したので、放電検出装置によって確実に放電の有無を検出でき、放電装置を設置した導体部の温度異常を簡単な構成で常時監視することができる。
実施の形態1.
図1は、この発明の実施の形態1による放電装置を示す断面図である。
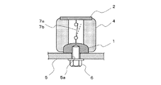
図において、放電装置は、導電性の第1の部材1と、この第1の部材に対して間隔を空けて対向配置された導電性の第2の部材2と、第1の部材1と第2の部材2とを電気的に接続する感熱素子である温度ヒューズ3と、温度ヒューズ子3を取り囲み一端が第1の部材1に固着され他端が第2の部材2に固着された筒状の絶縁部材4とを備えている。
図では、埋金状の第1の部材1と、板状の金属片からなる第2の部材2とを絶縁部材4で一体にモールドしたものを示している。放電装置全体は、第1の部材1と第2の部材2と絶縁部材4から成る容器の内部に温度ヒューズ3が封入された形になっている。
放電装置は、例えば、気中絶縁開閉装置等の電気機器の主回路部を構成する母線導体の接続部や、開閉器のコンタクト部等の接触部の近傍の導体5の面に取り付けられ、特に、導体の接続部や接触部の温度監視を目的に使用される。そこで、導体5への取付方法の一例を説明すると、図1のように、導体5に取付穴5aを空けておき、その部分へ第1の部材1の取付面に設けたねじ穴をあわせ、ボルト6によって締め付けて固定する。固定された状態では、第2の部材2は温度ヒューズ3,第1の部材1を介して導体5と電気的に接続されて同電位になっている。
上記の放電装置と組み合わされて温度監視装置として使用される放電検出装置を、図3により説明する。図3(a)の放電検出装置は、アンテナ8と放電検出部9とで構成したものであり、(b)は、光センサ10と放電光検出部11とで構成したものである。これらを状況に応じて使い分ければよい。なお、これらの放電検出装置は、気中絶縁開閉装置やガス絶縁開閉装置の部分放電検出装置等で一般に知られた技術を適用可能なので、ここでは詳細な説明は省略する。
温度監視対象が気中絶縁開閉装置の導体とすれば、(a)の形態では、アンテナ8により部分放電の電磁波を受信するので、設置場所は気中絶縁開閉装置の盤内であれば比較的自由に配置可能であるが、電磁波が受信できればよいので、特に盤内でなくても良い。一方、(b)の形態では、放電光を光センサ10で検出するので、放電装置の近傍に設置するのが望ましい。
次に、放電装置、及び放電装置に放電検出装置を備えた温度監視装置の動作について説明する。
放電装置が取り付けられた導体5近傍の、例えば接続部又は接触部で、接触不良などが発生して接続部又は接触部の温度が所定温度以上に上昇すると、温度ヒューズ3が溶断して第2の部材2が中間電位となり、第1の部材1と第2の部材2との間で部分放電が発生する。この部分放電を、導体5が収容された電気機器の筐体(図示せず)の内部又は外部に設置した、図3(a)又は(b)に示すような、放電検出装置で検出することで、導体接続部又は接触部の接触不良等の異常の有無を常時監視することができる。
図1では、放電装置に使用する感熱素子として温度ヒューズ3を使用した場合について説明したが、次に他の例について説明する。
図2は、感熱素子として,バイメタル7a、又は、形状記憶合金7bを使用した場合である。感熱素子以外の構成は図1と同等なので、同等部分は同一符号を付して説明は省略する。また、基本的な動作も同様であり、導体5の、例えば接続部又は接触部で、接触不良などが発生して接続部又は接触部が所定温度以上になると、バイメタル7a又は形状記憶合金7bが図中に破線で示すように変形して接続が外れ、第2の部材2が中間電位となり、第1の部材1と第2の部材2との間で部分放電が発生するようになっている。
上記の説明において、感熱素子(温度ヒューズ3,バイメタル7a,形状記憶合金7b)の接続が遮断される所定温度とは、導体5の接続部又は接触部において接触不良等が発生し異常状態であると判断される場合の、接続部又は接触部の温度であり、機器仕様や使用環境などから設計的に適宜決定される温度である。
なお、図1及び図2では、第1の部材1を埋金形状とし、これと第2の部材2とを絶縁部材4でモールドしたものについて説明したが、必ずしもモールドによる必要はなく、例えば板状の第1の部材と第2の部材とを筒状の絶縁部材の両端に接着により固着するような構造でも良い。
また、図1及び図2では、第1の部材と第2の部材2を金属として説明したが、必ずしも金属である必要はなく、導電性の合成樹脂であっても良い。
導電性の合成樹脂としては、導電性ゴムや導電性プラスチックがある。導電性プラスチックとしては、プラスチック自体が導電性を有するものとして、ポリアセチレン、ポリチオフェン、ポリピロール、ポリアニリン、ポリアズレン等がある。また、導電性粒子、例えば、グラファイト,カーボンブラック,金属粉を非導電性プラスチックに混入したものがあり、これらを適宜用いることができる。
以上のように、本実施の形態の放電装置によれば、導電性の第1の部材と、この第1の部材に対向配置された導電性の第2の部材と、第1の部材と第2の部材とを電気的に接続する感熱素子と、感熱素子を取り囲み一端が第1の部材に固着され他端が第2の部材に固着された筒状の絶縁部材とを備え、第1の部材が電気機器の導体に電気的に接続され、導体の温度が所定温度以上のとき第1の部材と第2の部材との感熱素子による接続が遮断され、第1の部材と第2の部材との間に部分放電が発生するように構成したので、部分放電の有無を監視することで導体の温度異常を検知することができる。放電装置を複数の導体の接続部又は接触部の近傍に配置しておけば、接続部又は接触部の接触不良等の異常を確実に検知することができる。
また、例えば、接続部に電界緩和シールドを持たないような気中絶縁開閉装置の主回路導体にも、簡単に取り付けることができる。
更に、既設の電気機器の導体に、後から簡単に本装置を採用できる。
また、感熱素子として温度ヒューズを用いた場合は、導体の温度異常時に完全に接続を遮断して部分放電を発生させるので、異常を確実に検知できる。
また、感熱素子としてバイメタル又は形状記憶合金を用いた場合は、繰り返し使用することが可能である。
また、第1の部材及び第2の部材の少なくとも何れか一方は、金属又は導電性の合成樹脂とし、導電性の合成樹脂の場合は、導電性ゴム又は導電性プラスチックで構成したので、導電性材料として多くの材料の中から仕様に応じて適宜選択できる。
また、上記の放電装置に部分放電を検出する放電検出装置を備えて温度監視装置を構成し、部分放電の有無を監視することにより導体の温度を監視するようにしたので、放電検出装置によって確実に放電の有無を検出でき、放電装置を設置した導体部の温度異常を簡単な構成で常時監視することができる。
実施の形態2.
図4は、この発明の実施の形態2による放電装置を導体の接続部に取り付けた状態を示す断面図である。図1と同等部分は同一符号で示している。
図において、放電装置は、導電性の第1の部材12と、第1の部材12に間隔を空けて対向配置した第2の部材13と、第1の部材12と第2の部材13とを電気的に接続する感熱素子としての温度ヒューズ3と、温度ヒューズ3を取り囲み、一端が第1の部材12に固着され他端が第2の部材13に固着された筒状の絶縁部材14とを備えている。すなわち、第1の部材12と第2の部材13と絶縁部材14とからなる容器に温度ヒューズ3が封入された形になっている。絶縁部材14を例えば透明樹脂やガラスで構成すれば、温度ヒューズ3の状態を外部から確認することができる。第1の部材12と第2の部材13の材料は、実施の形態1と同様に、金属以外に導電性の合成樹脂でも良い。
更に、上記のように構成されたものを、電気機器の導体5の、例えば、接続部又は接触部の近傍に着脱自在に取り付けるために、導電性の取付板15に固定された導電性の保持具16を備えている。保持具16は、例えば、ばね性を有する金属の板材を、第1の部材12の取付面側が挿入可能な寸法に折り曲げて形成し、取付板15にネジ止めやロウ付等の導通の取れる方法で固定している。また、取付板15は、導体5の接続部の接続ボルト17とナット18を利用して導体5の接続部に取り付けて固定している。
保持具16に第1の部材12の取付面側を挿入することにより、図のような組立状態になり、第2の部材13は温度ヒューズ3,第1の部材12,保持具16,取付板15を介して導体5と電気的に接続されて同電位になっている。この放電装置は、実施の形態1と同様に、通常、例えば図3に示したような放電検出装置と組み合わせて温度監視装置として使用される。
次に,動作について説明する。
実施の形態1と同様に、導体5の、例えば接続部又は接触部で、接触不良などが発生して接続部又は接触部の温度が所定以上に上昇すると、温度ヒューズ3が溶断して第2の部材13が中間電位となり、第1の部材12と第2の部材13との間で部分放電が発生する。この部分放電を、導体5が収容された電気機器に設置した、実施の形態1の図3と同様の放電検出装置図で検出することで、導体の温度異常の有無を常時監視することができる。そして、この実施の形態の場合は、ヒューズが溶断した場合、放電装置を保持具16から抜き取って容易に新品と交換でき、短時間で復旧できる。
図4では、感熱素子として温度ヒューズ3を使用した場合について説明したが、図5に、感熱素子として,バイメタル7a、又は、形状記憶合金7bを使用した場合を示す。感熱素子以外は図4と同等である。また、基本的な動作も図4と同様であり、導体5の接続部又は接触部の温度が所定以上に上昇すると、バイメタル7a又は形状記憶合金7bが破線で示すように変形して接続が外れ、第2の部材13が中間電位となり、第1の部材12と第2の部材13との間で部分放電が発生するようになっている。
なお、第1の部材12と保持具16との着脱構造は、図に限定するものではなく、通電を保って係合し、自在に着脱できるものであれば良い。
また、取付板15は導体5の接続穴を利用して取り付けたものを示したが、別途取付穴を設けて導体接続部又は接触部の近傍に設けても良い。
更に、取付板15は省略可能であり、保持具16を導体5に直接取り付けても良い。
以上のように、本実施の形態によれば、第1の部材を導体に着脱自在に取り付けるための取付具を備えたので、実施の形態1と同等の効果に加えて、放電装置の交換が容易となる。
また、上記の放電装置に部分放電を検出する放電検出装置を備えたので、放電検出装置によって確実に放電の有無を検出でき、放電装置を設置した電気機器の導体部の温度異常を簡単な構成で常時監視することができる。
この発明の実施の形態1による放電装置を導体に取り付けた状態を示す断面図である。 この発明の実施の形態1による放電装置の他の例を示す断面図である。 この発明の実施の形態1による放電装置と組み合わせ使用される放電検出装置の概略構成図である。 この発明の実施の形態2による放電装置を導体に取り付けた状態を示す断面図である。 この発明の実施の形態2による放電装置の他の例を示す断面図である。 従来の導体接続部の温度監視装置を備えたガス絶縁開閉装置の断面図である。
符号の説明
1 第1の部材 2 第2の部材
3 温度ヒューズ(感熱素子) 4 絶縁部材
5 導体 5a 取付穴
6 ボルト 7a バイメタル(感熱素子)
7b 形状記憶合金(感熱素子) 8 アンテナ
9 放電検出部 10 光センサ
11 放電光検出部 12 第1の部材
13 第2の部材 14 絶縁部材
15 取付板 16 保持具
17 ボルト 18 ナット。

Claims (7)

  1. 導電性の第1の部材と、この第1の部材に対向配置された導電性の第2の部材と、前記第1の部材と前記第2の部材とを電気的に接続する感熱素子と、前記感熱素子を取り囲み一端が前記第1の部材に固着され他端が前記第2の部材に固着された筒状の絶縁部材とを備え、
    前記第1の部材が電気機器の導体に電気的に接続され、前記導体の温度が所定温度以上のとき前記第1の部材と前記第2の部材との前記感熱素子による前記接続が遮断され、前記第1の部材と前記第2の部材との間に部分放電が発生するように構成された放電装置。
  2. 請求項1記載の放電装置において、前記第1の部材を前記導体に着脱自在に取り付けるための取付具を備えたことを特徴とする放電装置。
  3. 請求項1又は請求項2に記載の放電装置において、前記感熱素子は、温度ヒューズであることを特徴とする放電装置。
  4. 請求項1又は請求項2に記載の放電装置において、前記感熱素子は、バイメタル又は形状記憶合金であることを特徴とする放電装置。
  5. 請求項1〜請求項4のいずれか1項に記載の放電装置において、前記第1の部材及び前記第2の部材の少なくともいずれか一方は、金属又は導電性の合成樹脂からなることを特徴とする放電装置。
  6. 請求項5記載の放電装置において、前記導電性の合成樹脂は、導電性ゴム又は導電性プラスチックであることを特徴とする放電装置。
  7. 請求項1〜請求項6のいずれか1項に記載の放電装置を使用し、前記放電装置内で発生する前記部分放電を検出する放電検出装置を備え、前記部分放電の有無を監視することにより前記導体の温度を監視するようにしたことを特徴とする温度監視装置。
JP2008184980A 2008-07-16 2008-07-16 放電装置および温度監視装置 Expired - Fee Related JP5189426B2 (ja)

Priority Applications (1)

Application Number Priority Date Filing Date Title
JP2008184980A JP5189426B2 (ja) 2008-07-16 2008-07-16 放電装置および温度監視装置

Applications Claiming Priority (1)

Application Number Priority Date Filing Date Title
JP2008184980A JP5189426B2 (ja) 2008-07-16 2008-07-16 放電装置および温度監視装置

Publications (2)

Publication Number Publication Date
JP2010027286A true JP2010027286A (ja) 2010-02-04
JP5189426B2 JP5189426B2 (ja) 2013-04-24

Family

ID=41732934

Family Applications (1)

Application Number Title Priority Date Filing Date
JP2008184980A Expired - Fee Related JP5189426B2 (ja) 2008-07-16 2008-07-16 放電装置および温度監視装置

Country Status (1)

Country Link
JP (1) JP5189426B2 (ja)

Cited By (2)

* Cited by examiner, † Cited by third party
Publication number Priority date Publication date Assignee Title
JP2012210401A (ja) * 2011-03-24 2012-11-01 Panasonic Corp アイロン
WO2013005286A1 (ja) * 2011-07-04 2013-01-10 三菱電機株式会社 温度監視装置および温度監視方法

Families Citing this family (1)

* Cited by examiner, † Cited by third party
Publication number Priority date Publication date Assignee Title
CN104049113B (zh) * 2014-06-16 2016-06-22 国家电网公司 一种充气式变压器局放试验用均压帽

Citations (2)

* Cited by examiner, † Cited by third party
Publication number Priority date Publication date Assignee Title
JPS5853448U (ja) * 1981-10-07 1983-04-11 日本電気ホームエレクトロニクス株式会社 温度ヒユ−ズ
JPS6364224A (ja) * 1986-09-05 1988-03-22 株式会社日立製作所 シ−ルド付き接触子装置

Patent Citations (2)

* Cited by examiner, † Cited by third party
Publication number Priority date Publication date Assignee Title
JPS5853448U (ja) * 1981-10-07 1983-04-11 日本電気ホームエレクトロニクス株式会社 温度ヒユ−ズ
JPS6364224A (ja) * 1986-09-05 1988-03-22 株式会社日立製作所 シ−ルド付き接触子装置

Cited By (4)

* Cited by examiner, † Cited by third party
Publication number Priority date Publication date Assignee Title
JP2012210401A (ja) * 2011-03-24 2012-11-01 Panasonic Corp アイロン
WO2013005286A1 (ja) * 2011-07-04 2013-01-10 三菱電機株式会社 温度監視装置および温度監視方法
JPWO2013005286A1 (ja) * 2011-07-04 2015-02-23 三菱電機株式会社 温度監視装置および温度監視方法
JP5674935B2 (ja) * 2011-07-04 2015-02-25 三菱電機株式会社 温度監視装置および温度監視方法

Also Published As

Publication number Publication date
JP5189426B2 (ja) 2013-04-24

Similar Documents

Publication Publication Date Title
US7188997B2 (en) Apparatus and method for detecting hot spots in an electric power conductor
KR101771551B1 (ko) 분전반 및 배전반용 단자대
JP5189426B2 (ja) 放電装置および温度監視装置
KR101663532B1 (ko) 전자회로 패턴이 내장된 발열감지 부스바를 이용한 배전반 발열 예측시스템
US20110090134A1 (en) Partial discharge detector
EP2629108B1 (en) An assembly with condition monitoring and a method for condition monitoring
EP3884242B1 (en) Apparatus for monitoring temperature and voltage of cable joint of cable connected to gas insulated switchgear, and associated manufacturing method
EP2315229A1 (en) Status detection for a low voltage distribution board
JP2009139094A (ja) 端子台の通電確認具
JP5100518B2 (ja) 圧着端子
EP2867911B1 (en) Protecting electrical distribution equipment against overheating
CN103199370A (zh) 连接件、具有该连接件的电子装置和照明装置
JP5634771B2 (ja) 端子台発熱検出方式
JP2010108874A (ja) 電子機器
WO2015061990A1 (en) Cutout for use in electrical distribution network
JP2012016085A (ja) 電子制御装置
KR101866460B1 (ko) 소화액 저장용기 고정장치
CN220775637U (zh) 电气设备与温度检测组件
CN219779372U (zh) 一种柔性电连接件及母线槽连接结构
MXPA06000847A (en) Apparatus and method for detecting hot spots in an electric power conductor
CN215579565U (zh) 用于开关柜的滑动连接组件和温度感测组件
KR200157398Y1 (ko) 교류전력공급설비의 버스바 취부용 온도센서 조립체
JP2019045192A (ja) 一線地絡電流センサおよびスイッチギヤ
CN206712040U (zh) 智能故障指示线夹
JP2004045049A (ja) 検電装置及び検電方法

Legal Events

Date Code Title Description
A621 Written request for application examination

Free format text: JAPANESE INTERMEDIATE CODE: A621

Effective date: 20110623

A977 Report on retrieval

Free format text: JAPANESE INTERMEDIATE CODE: A971007

Effective date: 20121005

A131 Notification of reasons for refusal

Free format text: JAPANESE INTERMEDIATE CODE: A131

Effective date: 20121016

A521 Request for written amendment filed

Free format text: JAPANESE INTERMEDIATE CODE: A523

Effective date: 20121211

TRDD Decision of grant or rejection written
A01 Written decision to grant a patent or to grant a registration (utility model)

Free format text: JAPANESE INTERMEDIATE CODE: A01

Effective date: 20130108

A61 First payment of annual fees (during grant procedure)

Free format text: JAPANESE INTERMEDIATE CODE: A61

Effective date: 20130124

FPAY Renewal fee payment (event date is renewal date of database)

Free format text: PAYMENT UNTIL: 20160201

Year of fee payment: 3

R151 Written notification of patent or utility model registration

Ref document number: 5189426

Country of ref document: JP

Free format text: JAPANESE INTERMEDIATE CODE: R151

FPAY Renewal fee payment (event date is renewal date of database)

Free format text: PAYMENT UNTIL: 20160201

Year of fee payment: 3

R250 Receipt of annual fees

Free format text: JAPANESE INTERMEDIATE CODE: R250

R250 Receipt of annual fees

Free format text: JAPANESE INTERMEDIATE CODE: R250

R250 Receipt of annual fees

Free format text: JAPANESE INTERMEDIATE CODE: R250

R250 Receipt of annual fees

Free format text: JAPANESE INTERMEDIATE CODE: R250

R250 Receipt of annual fees

Free format text: JAPANESE INTERMEDIATE CODE: R250

R250 Receipt of annual fees

Free format text: JAPANESE INTERMEDIATE CODE: R250

LAPS Cancellation because of no payment of annual fees