JP2010026237A - 液晶表示装置 - Google Patents

液晶表示装置 Download PDF

Info

Publication number
JP2010026237A
JP2010026237A JP2008187245A JP2008187245A JP2010026237A JP 2010026237 A JP2010026237 A JP 2010026237A JP 2008187245 A JP2008187245 A JP 2008187245A JP 2008187245 A JP2008187245 A JP 2008187245A JP 2010026237 A JP2010026237 A JP 2010026237A
Authority
JP
Japan
Prior art keywords
electrode
liquid crystal
crystal display
display device
insulating film
Prior art date
Legal status (The legal status is an assumption and is not a legal conclusion. Google has not performed a legal analysis and makes no representation as to the accuracy of the status listed.)
Granted
Application number
JP2008187245A
Other languages
English (en)
Other versions
JP5502293B2 (ja
Inventor
Yoshiaki Toyoda
善章 豊田
Shinya Yamaguchi
伸也 山口
Takeshi Sato
健史 佐藤
Current Assignee (The listed assignees may be inaccurate. Google has not performed a legal analysis and makes no representation or warranty as to the accuracy of the list.)
Japan Display Inc
Original Assignee
Hitachi Displays Ltd
Priority date (The priority date is an assumption and is not a legal conclusion. Google has not performed a legal analysis and makes no representation as to the accuracy of the date listed.)
Filing date
Publication date
Application filed by Hitachi Displays Ltd filed Critical Hitachi Displays Ltd
Priority to JP2008187245A priority Critical patent/JP5502293B2/ja
Publication of JP2010026237A publication Critical patent/JP2010026237A/ja
Application granted granted Critical
Publication of JP5502293B2 publication Critical patent/JP5502293B2/ja
Active legal-status Critical Current
Anticipated expiration legal-status Critical

Links

Images

Landscapes

  • Liquid Crystal (AREA)

Abstract

【課題】フリッカを低減することが可能な液晶表示装置を提供することである。
【解決手段】
マトリックス状に複数の画素が配置され、液晶層を介して対向配置される第1及び第2の基板と、前記第1の基板側に、少なくとも各画素内に面状に形成された第1電極と、前記第1電極の上層に第1絶縁層を介して形成され、各画素毎に前記第1電極に重畳して形成される線状の複数の第2電極とを有し、前記第1電極と前記第2電極で生じる電界で前記液晶層を駆動する液晶表示装置であって、前記第1電極と同電位であり、前記第2電極と同層に形成され、前記各第2電極を間にして配置される線状の第3電極を備えた液晶表示装置である。
【選択図】図1

Description

本発明は液晶表示装置に関し、特に保持容量を画素電極と対向電極とで構成した液晶表示装置に関する。
従来の液晶表示装置は、画素電極等が形成される図2に示す第1基板と、この第1基板に対向して配置される第2基板と、第1基板と第2基板とで挟持される液晶層とで構成されている。
図2に示すように構成された従来の液晶表示装置では、薄膜トランジスタTFTのゲート電極GTにはゲート線GLから信号が入力される構成となっており、ドレイン電極DTにはドレイン線DLからの信号が入力される構成となっている。一方、薄膜トランジスタTFTのソースには液晶層に表示データに対応した電界を印加するための画素電極PXが設けられており、この画素電極PXに供給された電荷を1フレーム期間保持するための保持容量Cst1が画素電極PXと対向電極CT間に設けられている。また、画素電極PXと対向電極CTとの間には液晶層を介在させることによる液晶容量Clcと絶縁膜容量Cst2とが直列に形成される構成となっている。
以下、図3に従来の液晶表示装置の1画素分の液晶表示素子の平面図を示し、図4に図3中のA−A'線での断面図を示し、図3及び図4に基づいて絶縁膜容量について説明する。
図3及び図4に示すように、従来の液晶表示装置は対向電極CTの上層に形成した容量絶縁膜CIを介して画素電極PXが配置される構成となっている。このように形成される従来の液晶表示装置では、保持容量を構成するための一対の電極を画素電極PXと対向電極CTとで兼ねる構成とすることが一般的に行われている。すなわち、画素電極PXと対向電極CTとの間に形成する層間絶縁膜として容量絶縁膜CIを用いることにより、画素電極PXと対向電極CTとの絶縁を実現しつつ画素電極PXと対向電極CTとで画素電荷の保持に必要な保持容量を実現する構成となっている。
このような従来の液晶表示装置では、容量絶縁膜CIの内部または液晶層と容量絶縁膜CIとの界面に存在する固定電荷すなわち絶縁膜容量Cst2に蓄えられる電荷により、交流反転駆動の際の振幅が正極性の時と負極正の時で異なり、フリッカが発生してしまうことが知られている。
この問題を解決する技術として、特許文献1に記載の液晶表示装置がある。特許文献1に記載の液晶表示装置では、対向電極の上層に絶縁膜を形成した後に、絶縁膜の形状を画素電極形状にエッチング加工し、画素電極を形成する構成となっている。
特開2007-183299号公報
従来の液晶表示装置では液晶層に印加する電界強度の低下を最小限にするために、薄膜トランジスタの上層に無機材料の保護絶縁膜を形成し、その上層に有機材料の平坦化膜を形成した後、平坦化膜の上層に液晶層を駆動するための対向電極や画素電極を形成する構成となっている。
しかしながら、特許文献1に記載の技術では、櫛歯状に形成した画素電極の形状に絶縁膜を加工する、すなわち櫛歯形状の画素電極の開口部の絶縁膜を除去する構成となっている。
このために、特許文献1に記載の技術では、画素電極の開口部の段差が大きくなってしまうので、画素電極の上層に形成されるラビング層を形成する際にラビング不良が発生し、液晶表示装置のコントラストが低下してしまうという問題があった。
本発明の目的は、フリッカを低減することが可能な液晶表示装置を提供することにある。
本発明の他の目的は、ラビング不良によるコントラストの低下を抑制することが可能な液晶表示装置を提供することにある。
前記課題を解決すべく、本願発明は、例えば、下記のように構成される。
(1)本願発明の液晶表示装置は、マトリックス状に複数の画素が配置され、液晶層を介して対向配置される第1及び第2の基板と、前記第1の基板側に、少なくとも各画素内に面状に形成された第1電極と、前記第1電極の上層に第1絶縁層を介して形成され、各画素毎に前記第1電極に重畳して形成される線状の複数の第2電極とを有し、前記第1電極と前記第2電極で生じる電界で前記液晶層を駆動する液晶表示装置であって、前記第1電極と同電位であり、前記第2電極と同層に形成され、前記各第2電極を間にして配置される線状の第3電極を備えたものである。
(2)(1)に記載の液晶表示装置において、前記第1電極と前記第3電極とが一体に形成された導電層からなるものである。
(3)(1)又は(2)に記載の液晶表示装置において、平坦化層に溝が形成され、前記溝に前記第1電極の一部が形成されるものである。
(4)(1)又は(2)に記載の液晶表示装置において、平坦化層の上層に形成された第2絶縁層を有し、前記第2絶縁層に形成された溝に前記第1電極の一部が形成されているものである。
(5)(1)に記載の液晶表示装置において、前記第1電極と前記第3電極とが前記第1絶縁層に形成されたコンタクト部を介して接続されるものである。
(6)(1)又は(5)に記載の液晶表示装置において、前記第1絶縁層が容量絶縁層で形成され、前記第2電極と前記第3電極とが前記第1絶縁層上に形成されるものである。
(7)(1)乃至(7)のいずれかに記載の液晶表示装置において、前記第2電極に表示用の電荷を入力する薄膜トランジスタを有し、前記薄膜トランジスタのソース電極と前記第2電極とを接続するコンタクト部を前記第1絶縁層で平坦化したものである。
本発明の液晶表示装置では、対向電極と同電位であり、画素電極と同層に形成され、該画素電極を間にして配置される線状の第3電極を備える構成となっているので、液晶層と絶縁層との間に生じる容量を大幅に低減でき、フリッカを低減することができる。
また、各画素毎に画素電極と同一層上に形成される第3電極を備える構成となっているので、画素電極の上層に形成するラビング層の不良発生を防止し、液晶表示装置のコントラスト低下を防止することができる。
本発明のその他の効果については、明細書全体の記載から明らかにされる。
以下、本発明が適用された実施形態の例について、図面を用いて説明する。なお、下記では、液晶表示装置の構成を、その製造工程により説明する場合もある。ただし、以下の説明において、同一構成要素には同一符号を付し繰り返しの説明は省略する。
(実施形態1)
図5は本発明の実施形態1の液晶表示装置の概略構成図であり、図6は図3に示す実施形態1の液晶表示装置の1画素分の液晶表示素子の平面図であり、図1は図6に示すB−B'線での断面図である。なお、薄膜トランジスタとしてアモルファスシリコンTFTの場合について説明するが、これに限定されることはなくポリシリコンTFTを用いてもよい。また、スイッチング素子として薄膜トランジスタの代わりにダイオード等を用いてもよい。
実施形態1の液晶表示装置は、後述するように画素電極等が形成される第1基板と、この第1基板に対向して配置される第2基板と、第1基板と第2基板とで挟持される液晶層とで構成されている。
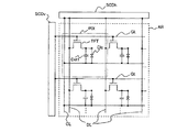
図5に示すように、実施形態1の液晶表示装置の第1基板にはゲート線GLが横方向に多数配置され、ドレイン線DLが縦方向に多数配置される構成となっている。各ゲート線GLと各ドレイン線DLとのそれぞれの交点には、薄膜トランジスタTFTと画素容量とからなる画素が形成されている。また、各画素の対向電極には共通電圧(コモン電圧)を供給するためのコモン線CLがドレイン線DLと平行に構成されている。ゲート線GLにはゲートドライバSCDvからの画素選択のためのゲート信号が供給され、ドレイン線にはドレインドライバSCDhから各画素への書き込み電圧であるドレイン信号が供給される構成となっている。コモン線CLには図示しないコモンドライバから液晶表示装置の駆動形式に応じたコモン信号(基準信号(電圧))が供給される構成となっている。ただし、隣接する一対のゲート線GLと隣接する一対のドレイン線DLで囲まれる矩形状の領域は画素が形成される領域を構成し、この各画素は液晶表示領域AR内においてマトリックス状に配置される。
このように構成された実施形態1の液晶表示装置における第1基板では、薄膜トランジスタTFTのゲート電極GTにはゲート線GLからゲート信号(走査信号(電圧))が入力される構成となっており、ドレイン電極DTにはドレイン線DLからのドレイン信号(映像信号(電圧))が入力される構成となっている。一方、薄膜トランジスタTFTのソースには液晶層に表示データに対応した電界を印加するための画素電極PXが設けられており、この画素電極PXに供給された電荷を1フレーム期間保持するための保持容量が画素電極PXと対向電極CT間に設けられている。このとき、後述するように、平坦化膜PASoの上面に形成された対向電極CTと画素電極PXとの間には容量絶縁膜CIが介在しないので液晶容量Clcのみが形成され、薄膜トランジスタTFTのソースには保持容量Cst1と画素容量Clcとが並列に接続されるのみの構成となる。
次に、図1及び図6に基づいて、実施形態1の液晶表示装置の第1基板の詳細構成について説明する。なお、以下の説明では1画素分について説明するが、他の画素構造も同じ構成であることはいうまでもない。また、説明を簡単にするために複数の線状電極として2本の画素電極が櫛歯状に形成される場合について説明するが、これに限定されることはなく3本以上の画素電極を櫛歯状に配置した形状にも適用できるものである。
図6に示すように、実施形態1の液晶表示装置の第1基板では、面状に形成される対向電極CTの上層に形成した容量絶縁膜CIを介して画素電極PXが配置される構成となっている。対向電極CTは透明電極材料であるITO(Indium Tin Oxide)で形成され、コンタクトホールTH2を通してコモン線CLに接続されている。また画素電極PXも櫛歯状に形成されたITOで構成されており、平坦化膜PASoと保護絶縁膜PASiに形成されたコンタクトホールTH1を通して薄膜トランジスタTFTのソース電極STに電気的に接続されている。一方、ドレイン線DLはゲート線GLとの交差部の一部において薄膜トランジスタTFTの形成領域側に延在され、この延在部が半導体層ASの上面にまで及んで薄膜トランジスタTFTのドレイン電極DTを構成している。
画素PIXはゲート線GLからのゲート信号によってオンされる薄膜トランジスタTFTと、このオンされた薄膜トランジスタTFTを介してドレイン線DLからのドレイン信号が供給される画素電極PXと、コモン信号が印加されて画素電極PXとの間の電位差によって電界を生じさせる対向電極CTとを備える。画素電極PXと対向電極CTはともに同じ基板である第1基板SUB1に形成されており、電界は第1基板SUB1の表面と平行な電界成分を一部に含むものである。
このように、実施形態1の液晶表示装置の第1基板では、トレンチ(溝)TFの底部に形成された対向電極CTの上部に容量絶縁膜CIを介して画素電極PXが重畳して形成されると共に、トレンチ領域外の対向電極CTが画素電極PXと同層に形成され、トレンチ底部とトレンチ領域外の対向電極CTはトレンチ辺縁部も含めて一体に形成されているので、その形成場所によらず同じ電位のコモン信号が入力される構成となっている。
ここで、実施形態1の液晶表示装置の第1基板では、画素電極PXの外周形状に沿ってトレンチTFが形成されており、このトレンチTF領域内に画素電極PXが形成される構成となっている。特に実施の形態1の液晶表示装置の第1基板では、このトレンチTF領域内にのみ容量絶縁膜CIが形成される構成となっており、このトレンチTF領域内の容量絶縁膜CIを介して画素電極PXが対向電極CTに重畳される構成となっている。従って、その表示にかかわる領域では、線状に形成された画素電極PXに対して、トレンチTF領域内の対向電極CTが面状電極として構成されると共に、トレンチTF領域外の対向電極CTで画素電極PXを挟む構成となっている。このとき実施形態1の第1基板では、画素電極PXの大きさは従来の画素電極と同じ大きさに形成されるので、画素電極PXに書き込まれた電荷の保持に必要な保持容量を実現するには十分な構成となっている。
次に、図1に基づいて、本実施形態1の画素電極と対向電極の構造を詳細に説明する。図1に示すように、実施形態1の液晶表示装置の第1基板では、ガラス基板SUB1の上層に薄膜トランジスタTFTを保護するための下地膜IN1が形成され、その上層にゲート電極GT及びゲート絶縁膜GI、半導体層AS、ドレイン電極DT、ソース電極ST等からなる薄膜トランジスタTFTが形成されている。この薄膜トランジスタTFTを図示しない液晶層に含まれるアルカリ成分から保護するために、薄膜トランジスタTFTの上層の全面に保護絶縁膜PASiが形成されている。この保護絶縁膜PASiの上層には平坦化層PASoが積層されている。
ここで、本実施形態1の表示装置の第1基板では、平坦化層PASoの上部にトレンチTFが形成されており、このトレンチTF表面を含む平坦化層PASoの上部表面に対向電極CTが形成されている。従って、画素PIXの表示にかかわる領域では、平坦化膜PASoの上部に形成された線状の対向電極CTの間に、線状の画素電極PXが配置される構成となる。また、トレンチTF領域に形成された対向電極CTの上層には容量絶縁膜CIが平坦化層PASoの高さまで形成されており、このトレンチTF領域の容量絶縁膜CIの上層にのみ画素電極PXが形成される構成となっている。なお、図1に示す断面図のB−B'線方向の中心部分に形成されるトレンチTFは図6から明らかなように、2本の画素電極PXを接続する領域に対応したトレンチTF領域となるので、表示性能に影響するものではない。
次に、図7に実施形態1の液晶表示装置の対向電極と画素電極を形成ための製造方法の一実施形態を示す工程図を示し、以下、図7に基づいて製造方法を工程順に説明する。なお、各工程における電極の形成を含む薄膜の形成は公知のフォトリソグラフィ技術により可能であるので、詳細な説明は省略する。
工程1.(図7(a))
ガラス基板SUB1の上面側(液晶側)の面に、下地膜IN1及びゲート電極GT、ゲート絶縁膜GI、半導体層AS、ドレイン電極DT、ソース電極STを形成し、アモルファスシリコンTFTの薄膜トランジスタTFTを形成する。この時、ドレイン線DLおよびドレイン電極DTと同時に形成される薄膜トランジスタTFTのソース電極STが、半導体層AS上にてドレイン電極DTと対向して形成されている。また、ソース電極STは、半導体層AS上から半導体層ASが形成されていない領域に至って延在され、この延在部はパッド部を構成するようになっている。このパッド部は後述の工程で画素電極PXと電気的及び物理的に接続される部分となる。
工程2.(図7(b))
薄膜トランジスタTFTを保護する無機質材料である窒化シリコン膜からなる保護絶縁膜PASiをガラス基板SUB1の上面側の全面に形成し、薄膜トランジスタTFTの保護膜とする。この保護絶縁膜PASiの上層(基板の液晶側)に公知のスピンコート法等により、アクリル膜からなる平坦化膜PASoをガラス基板の上面側に形成し、薄膜トランジスタTFTをはじめとしたゲート線GL、ドレイン線DL、コモン線CL等の形成に伴うガラス基板上面の凹凸を平坦化する。なお、実施形態1の液晶表示装置の第1基板では保護絶縁膜PASiと平坦化膜PASoとで保護膜を構成している。
次に、平坦化膜PASoの上面(液晶側面)に公知の技術により櫛歯状のトレンチTFを形成する。
工程3.(図7(c))
従来の対向電極と同じ領域に、透明電極材料であるITOで対向電極CTを形成する。このとき、実施形態1ではエッチングで形成されたトレンチTFの底部からトレンチTFの縁に沿いエッチングされていない領域までの上層部分が対向電極CTで覆われた構造となる。
次に、塗布型絶縁膜を成膜し200度程度の熱処理により焼成処理を行うことにより、ガラス基板の上面に容量絶縁膜CIを形成する。このとき、対向電極CTとなるITO膜も同時に熱処理されるため、ITO膜がアモルファス状態から多結晶状態に変化する。この多結晶ITO膜は、アモルファスITO膜のエッチング条件ではほとんど加工されないため、後に画素電極PXを形成するためのITO加工時において、対向電極CTとなるITO膜が同時に加工されることはない。
工程4.(図7(d))
容量絶縁膜CIを平坦化膜PASoの高さまでエッチングすることによって、平坦化膜PASoのトレンチTF部分以外の対向電極CTを容量絶縁膜CIから露出させると共に、トレンチTF部分のみに容量絶縁膜CIを形成する。この工程により、画素電極PXと同層に形成される線状の対向電極CTを形成する。ただし、容量絶縁膜CIの高さは対向電極CTとなるITO膜よりも低くなるように形成することが望ましい。
工程5(図7(e))
平坦化層PASoと保護絶縁膜PASiにコンタクトホールTH1を形成する。
工程6(図1)
コンタクトホール部分TH1とトレンチTFが形成される領域内にITO膜を形成することにより、薄膜トランジスタTFTのソース電極STに接続される画素電極PXを形成する。この工程により、線状の対向電極CTの間に、該対向電極CTと同層である線状の画素電極PXが形成される。
図18は、実施形態1に基づく本発明の液晶表示装置の断面図である。図18に示すように、実施形態1の液晶表示装置はブラックマトリックスBM及びカラーフィルタCF、配向膜ORI2が形成されるガラス基板(第2の基板)SUB2と実施形態1のガラス基板(第1の基板)SUB1とで液晶LCを挟持する構成となっており、2枚のガラス基板SUB1、SUB2の両側に偏光板PLが形成されている。
従来の液晶表示装置は、図4に示すように、対向電極CTが容量絶縁膜CIに覆われているため、液晶容量Clcに絶縁膜容量Cst2が直列接続される構造となっていた。
それに対して、本発明の実施形態1の液晶表示装置では、図18に示すように液晶容量Clcを形成する領域において対向電極CTが容量絶縁膜CIに覆われておらず、対向電極CTと配向膜ORI1が接しているため液晶容量Clcのみが形成される構造となっている。さらには、画素電極PXの下部には容量絶縁膜CIを介して対向電極CTが形成されており、透明な保持容量を形成することにより、高開口率を実現できる。なお、図18は実施形態1を用いた断面構造であるが、実施形態2から5を用いても同様な効果が得られる。
以上説明したように、本実施形態1の液晶表示装置では画素PIXの表示にかかわる領域では、平坦化膜PASoの上部に形成された線状の対向電極CTの間に、線状の画素電極PXが配置される構成となるので、平坦化膜PASoの上面(溝と溝の間)に形成された対向電極CTと画素電極PXとの間に容量絶縁膜CIが介在しない構成とすることができる。その結果、液晶駆動信号は容量絶縁膜内部又は液晶/容量絶縁膜界面の固定電荷の影響をほとんど受けない構成とすることができるので、フリッカを大幅に低減させた液晶表示装置を提供することができる。
また、容量絶縁膜CIがトレンチTFを埋め込んだ構造となっているので、ガラス基板SUB1の上面の段差もITO電極の膜厚程度に抑えることが可能となるので、配向膜ORI1のラビング不良を効果的に抑制できる。
また、容量絶縁膜CIの高さを対向電極CTよりも低くすることにより、画素電極PXと対向電極CTとの間の電界を強くすることができるので、液晶LCの応答を速くすることができる。
(実施形態2)
図8は本発明の実施形態2の液晶表示装置の概略構成を説明するための断面図である。ただし、図8は実施形態1の図1に相当する第1基板の断面図であり、図6のB−B'線での断面図に相当する。なお、実施形態2のLCD構成図、画素平面図は、それぞれ図5、図6と同様である。
図8から明らかなように、実施形態2の液晶表示装置では平坦化膜PASoの上面側(図示しない液晶層LC側)に対向電極CTや画素電極PX等が形成される構成となっているので、以下の説明では実施形態1の液晶表示装置と構成が異なるトレンチ絶縁膜TI、対向電極CT、容量絶縁膜CI、画素電極PXの構成について詳細に説明する。
図8において、実施形態2の液晶表示装置では平坦化膜PASoの上層に、例えば窒化シリコン膜等からなるトレンチ絶縁膜TIが形成される構成となっている。このトレンチ絶縁膜TIが形成される領域の内で、画素電極PXが形成される領域には平坦化膜PASoに達するトレンチ(溝)TFが形成されている。一方、コンタクトホールTH1の形成領域を除く画素領域に対向電極CTが形成される構成となっているので、トレンチ絶縁膜TIの上層のみならずトレンチ(溝)TFの底部(露出された平坦化層PASo)からその辺縁部にかけて、所定膜厚の対向電極CTが形成されている。従って、画素PIXの表示にかかわる領域では、トレンチ絶縁膜TIに形成された線状の対向電極CTの間に、線状の画素電極PXが配置される構成となる。
ここで、実施形態2の液晶表示装置においても、実施形態1の液晶表示装置同様に、トレンチTFが形成された領域(以下、トレンチ領域と記す)内の対向電極CTの上層には容量絶縁膜CIがトレンチ絶縁膜TIと同等の高さまで形成されている。さらには、このトレンチ領域のみに形成された容量絶縁膜CIの上層のみに画素電極PXが形成される構成となっている。ただし、コンタクトホールTH1部分や櫛歯状の画素電極PXを接続する部分はこの限りではない。
次に、図9に実施形態2の液晶表示装置の対向電極と画素電極を形成ための製造方法の一実施形態を示す工程図を示し、以下、図9に基づいて製造方法を工程順に説明する。なお、実施形態1と同様に、各工程における電極の形成を含む薄膜の形成は公知のフォトリソグラフィ技術により可能であるので、詳細な説明は省略する。
工程1.(図9(a))
ガラス基板SUB1の液晶側の面に、下地膜IN1及びゲート電極GT、ゲート絶縁膜GI、半導体層AS、ドレイン電極DT、ソース電極STを形成し、アモルファスシリコンTFTの薄膜トランジスタTFTを形成する。なお、この工程1は実施形態1の工程1と同じである。
工程2.(図9(b))
薄膜トランジスタTFTを保護するために無機質材料である窒化シリコン膜からなる保護絶縁膜PASiをガラス基板SUB1の上面側(基板の液晶側)の全面に形成し、薄膜トランジスタTFTの保護膜とする。この保護絶縁膜PASiの上層(基板の液晶側)に公知のスピンコート法等により、アクリル膜からなる平坦化膜PASoをガラス基板SUB1の上面側に形成し、薄膜トランジスタTFTをはじめとしたゲート線GL、ドレイン線DL、コモン線CL等の形成に伴うガラス基板SUB1の上面の凹凸を平坦化する。なお、工程2における平坦化膜PASoの形成までの工程は、実施形態1と同じである。また、本実施形態2の液晶表示装置の第1基板SUB1においても保護絶縁膜PASiと平坦化膜PASoとで保護膜を構成する。
次に、平坦化膜PASoの上層に例えば窒化シリコン膜からなるトレンチ絶縁膜TIを成膜する。その後、このトレンチ絶縁膜TIを平坦化膜PASoが露出するまでエッチングし、トレンチTFを形成する。なお、トレンチ絶縁膜TIのエッチング領域は実施形態1と同様に、後の工程で画素電極PXが形成される領域である。また、トレンチ絶縁膜TIのエッチング量を制御することによりトレンチTIの深さを制御することは可能であるが、トレンチ絶縁膜TIの膜厚を制御し平坦化膜PASoまでエッチングしてトレンチTIを形成する方が、より正確にトレンチTIの深さを制御可能である。
工程3.(図9(c))
実施形態1と同様に、透明電極材料であるITOで対向電極CTを形成する。このとき、エッチングで形成されたトレンチTIの底部からトレンチTIの縁に沿いエッチングされていない領域までの上層部分がITO膜で形成された対向電極CTで覆われた構造となる。
次に、塗布型絶縁膜を成膜し200度程度の熱処理により焼成処理を行うことにより、ガラス基板SUB1の上面側の全面に容量絶縁膜CIを形成する。なお、このときも実施形態1における容量絶縁膜CIの形成時と同様に、対向電極CTとなるITO膜も同時に熱処理されるため、ITO膜がアモルファス状態から多結晶状態に変化する。
工程4.(図9(d))
容量絶縁膜CIをトレンチ絶縁膜TIの高さまでエッチングすることによって、トレンチTF部分以外の対向電極CTを容量絶縁膜CIから露出させると共に、トレンチTF部分のみに容量絶縁膜CIを形成する。この工程により、画素電極PXと同層に形成される線状の対向電極CTを形成する。ただし、要領絶縁膜CIの高さは対向電極CTとなるITO膜よりも低くなるように形成することが望ましい。
工程5(図9(e))
トレンチ絶縁膜TIから平坦化層PASoと保護絶縁膜PASiを貫通し、ソース電極STのパッド部に達するコンタクトホールTH1を形成する。
工程6(図8)
コンタクトホールTH1部分とトレンチTFが形成される領域内にITOを電極材料とする画素電極PXを形成することにより、薄膜トランジスタTFTのソース電極STに接続される画素電極PXを形成する。この工程により、線状の対向電極CTの間に、この対向電極CTと同層となる線状の画素電極PXが形成される。
以上説明したように、実施形態2の液晶表示装置においても、画素PIXの表示にかかわる領域では、トレンチ絶縁膜TIの上面に形成された線状の対向電極CTの間に線状の画素電極PXが配置される構成となるので、トレンチ絶縁膜TIの上面(溝と溝の間)に形成された対向電極CTと画素電極PXとの間に容量絶縁膜CIが介在しない構成となる。従って、液晶駆動信号は容量絶縁膜内部又は液晶/容量絶縁膜界面の固定電荷の影響をほとんど受けない構成とすることができるので、フリッカを大幅に低減させた液晶表示装置を提供することができる。
また、容量絶縁膜CIがトレンチTFを埋め込んだ構造となっているので、ガラス基板SUB1の上面の段差もITO電極の膜厚程度に抑えることが可能となるので、配向膜のラビング不良を効果的に抑制できる。
また、容量絶縁膜CIの高さを対向電極CTよりも低くすることにより、画素電極PXと対向電極CTとの間の電界が強くすることができるので、液晶の応答を速くすることができる。
前述する効果に加えて、実施形態2の液晶表示装置では、トレンチTFを形成するための膜(トレンチ絶縁膜TI)を平坦化膜PASoとは別に設け、その膜をエッチング加工することによりトレンチTFを形成するので、トレンチ深さ等の制御が容易である。従って、トレンチTIを浅く形成する(すなわち、容量絶縁膜CIを薄く形成する)ことが容易に可能となり、(第1基板SUB1の上面側(図示しない液晶層LC側)の平坦性を損なうことなく)保持容量を大きくできるという格別の効果を得ることが可能となる。
(実施形態3)
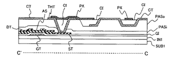
図10は本発明の実施形態1の液晶表示装置の概略構成を説明するための1画素分の液晶表示素子の平面図であり、図11は図10に示すC−C'線での断面図である。
図10から明らかなように、実施形態3の液晶表示装置では平坦化膜PASoにトレンチTFを形成し、このトレンチTF領域に容量絶縁膜CIを介して画素電極PXを形成する構成となっているので、以下の説明では実施の形態1の液晶表示装置と構成が異なるコンタクトホールTH1の構成について詳細に説明する。
図10に示す実施形態3の液晶表示装置は、薄膜トランジスタTFTのソース電極STと画素電極PXとを電気的に接続するためのコンタクトホールTH1が形成される領域に、対向電極CTを形成するのと同じITOを用いてコンタクトホール電極THTが形成される構成となっている。コンタクトホール電極THTの一方はソース電極STに電気的に接続される構成となっており、他方は画素電極PXに電気的に接続される構成となっている。このとき、図10から明らかなように、対向電極CTとコンタクトホール電極THTとが電気的に接続されないように、対向電極CTとコンタクトホール電極THTとは所定の距離を保って形成されている。
また、図11に示すように、実施の形態3の液晶表示装置ではコンタクトホール電極THTの上層に容量絶縁膜CIが平坦化膜PASoの高さまで形成されており、この容量絶縁膜CIとコンタクトホール電極THTの上層に画素電極PXが形成される構成となっている。一方、薄膜トランジスタTFTや画素電極PXが形成される領域の上面(液晶層)側は、実施の形態1の液晶表示装置と同じ構成となっているので、ガラス基板SUB1の上面全体の段差もITO電極の膜厚程度に抑えることが可能となっている。その結果、図示しない配向膜のラビング不良を効果的に抑制できる。
次に、図12に実施形態3の液晶表示装置の製造方法の一実施形態を示す工程図を示し、以下、図12に基づいて製造方法を工程順に説明する。なお、実施形態1、2と同様に、各工程における電極の形成を含む薄膜の形成は公知のフォトリソグラフィ技術により可能であるので、詳細な説明は省略する。
工程1.(図12(a))
ガラス基板SUB1の液晶LC側の面に、下地膜IN1及びゲート電極GT、ゲート絶縁膜GI、半導体層AS、ドレイン電極DT、ソース電極STを形成し、アモルファスシリコンTFTの薄膜トランジスタTFTを形成する。なお、この工程1は実施形態1、2の工程1と同じである。
工程2.(図12(b))
薄膜トランジスタTFTを保護するために無機質材料である窒化シリコン膜からなる保護絶縁膜PASiをガラス基板SUB1の上面側(基板の液晶LC側)の全面に形成し、薄膜トランジスタTFTの保護膜とする。この保護絶縁膜PASiの上層(基板の液晶LC側)に公知のスピンコート法等により、アクリル膜からなる平坦化膜PASoをガラス基板SUB1の上面側に形成し、薄膜トランジスタTFTをはじめとしたゲート線GL、ドレイン線DL、コモン線CL等の形成に伴うガラス基板SUB1の上面の凹凸を平坦化する。なお、工程2における平坦化膜PASoの形成までの工程は、実施形態1、2と同じである。また、本実施形態3の液晶表示装置の第1基板SUB1においても保護絶縁膜PASiと平坦化膜PASoとで保護膜を構成する。
その後、平坦化層PASoと保護絶縁膜PASiを貫通し、ソース電極STのパッド部に達するコンタクトホールTH1を形成する。
工程3.(図12(c))
次に、平坦化膜PASoの上面に、画素電極PXの形状に沿ったトレンチTFを形成する。
工程4.(図12(d))
次に、透明電極材料であるITOで対向電極CTを形成すると共に、コンタクトホールTH1部分にコンタクトホール電極THTを形成する。なお、コンタクトホール電極THTを除く対向電極CTの構成は、実施形態1と同様に構成である。
工程5.(図12(e))
次に、実施形態1と同様に、塗布型絶縁膜を成膜し200度程度の熱処理により焼成処理を行い全面に容量絶縁膜CIを形成し、この容量絶縁膜CIを平坦化膜PASoの高さまでエッチングすることによって、コンタクトホール電極THTの上部とトレンチTF部分以外の対向電極CTを容量絶縁膜CIから露出させる。ただし、容量絶縁膜CIの高さは対向電極CTとなるITO膜よりも低くなるように形成することが望ましい
工程6(図11)
コンタクトホールTH1部分とトレンチTFが形成される領域内にITOを電極材料とする画素電極PXを形成することにより、コンタクトホール電極THTを介して薄膜トランジスタTFTのソース電極STに接続される画素電極PXを形成する。このとき、実施形態3ではコンタクトホールTH1を平坦化しているので、コンタクトホールTH1の上部においても液晶ギャップを均一にできる。
以上説明したように、実施形態3の液晶表示装置においても、画素電極PXと対向電極CTの構成は実施形態1と同様の構成、すなわち画素PIXの表示にかかわる領域では平坦化膜PASoの上部に形成された線状の対向電極CTの間に線状の画素電極PXが配置される構成となるので、液晶駆動信号は容量絶縁膜内部又は液晶/容量絶縁膜界面の固定電荷の影響をほとんど受けない構成とすることができ、フリッカを大幅に低減させた液晶表示装置を提供することができる。
また、容量絶縁膜CIがトレンチTFを埋め込んだ構造となっているので、ガラス基板SUB1の上面の段差もITO電極の膜厚程度に抑えることが可能となるので、配向膜のラビング不良を効果的に抑制できる。
また、容量絶縁膜CIの高さを対向電極CTよりも低くすることにより、画素電極PXと対向電極CTとの間の電界が強くすることができるので、液晶の応答を速くすることができる。
前述する効果に加えて、実施形態3の液晶表示装置では、コンタクトホールTH1を平坦化しているので、コンタクトホールTH1の上部においても液晶ギャップを均一にできるという格別の効果を得ることができる。その結果、コンタクトホールTH1領域における光の屈折等を大幅に低減でき、ブラックマトリクス幅の大幅な低減やブラックマトリクスの廃止等が可能となるので、開口率を向上させることができるという格別の効果を得ることが可能となる。
(実施形態4)
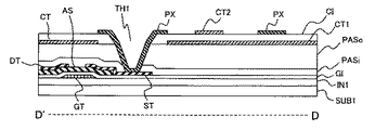
図13は本発明の実施形態4の液晶表示装置の概略構成を説明するための断面図である。ただし、図13は実施形態1の図1に相当する第1基板の断面図であり、実施形態3の図10のC−C'線での断面図に相当する。なお、実施形態4のLCD構成図、画素平面図は、それぞれ実施形態1の図5、実施形態3の図10と同様である。
図13から明らかなように、実施形態4の液晶表示装置は実施形態2の液晶表示装置の構成に実施形態3の液晶表示装置のコンタクトホールの構成を適応した構成となっている。
すなわち、実施形態4の液晶表示装置は平坦化膜PASoの上層にトレンチ絶縁膜TIが形成され、このトレンチ絶縁膜TIにトレンチTFを形成し、容量絶縁膜CIを介して画素電極PXを形成する構成となっている。また、コンタクトホール部分の構成は、コンタクトホール電極THTの上層に容量絶縁膜CIがトレンチ絶縁膜TIの高さまで形成され、この容量絶縁膜CIとコンタクトホール電極THTの上層に画素電極PXが形成される構成となっている。このとき、対向電極CTとコンタクトホール電極THTとが電気的に接続されないように、対向電極CTとコンタクトホール電極THTとは所定の距離を保って形成されている。
次に、図14に実施形態4の液晶表示装置の製造方法の一実施形態を示す工程図を示し、以下、図14に基づいて製造方法を工程順に説明する。なお、実施形態1と同様に、各工程における電極の形成を含む薄膜の形成は公知のフォトリソグラフィ技術により可能であるので、詳細な説明は省略する。
工程1.(図14(a))
ガラス基板SUB1の液晶LC側の面に、下地膜IN1及びゲート電極GT、ゲート絶縁膜GI、半導体層AS、ドレイン電極DT、ソース電極STを形成し、アモルファスシリコンTFTの薄膜トランジスタTFTを形成する。なお、この工程1は実施形態1の工程1と同じである。
工程2.(図14(b))
薄膜トランジスタTFTを保護するために無機質材料である窒化シリコン膜からなる保護絶縁膜PASiをガラス基板SUB1の上面側(基板の液晶LC側)の全面に形成し、薄膜トランジスタTFTの保護膜とする。この保護絶縁膜PASiの上層(基板の液晶LC側)に公知のスピンコート法等により、アクリル膜からなる平坦化膜PASoをガラス基板SUB1の上面側に形成し、薄膜トランジスタTFTをはじめとしたゲート線GL、ドレイン線DL、コモン線CL等の形成に伴うガラス基板SUB1の上面の凹凸を平坦化する。次に、平坦化膜PASoの上層に例えば窒化シリコン膜からなるトレンチ絶縁膜TIを成膜する。なお、工程2におけるトレンチ絶縁膜TIの形成までの工程は、実施形態2と同じである。また、本実施形態4の液晶表示装置の第1基板SUB1においても保護絶縁膜PASiと平坦化膜PASoとで保護膜を構成する。
この後、このトレンチ絶縁膜TIを平坦化膜PASoが露出するまでエッチングし、対向電極CT及び画素電極PXを形成するトレンチTFとコンタクトホールを形成する部分のトレンチTF1を形成する。
工程3(図14(c))
工程2で形成したトレンチTF1領域内に、平坦化層PASoと保護絶縁膜PASiを貫通し、ソース電極STのパッド部に達するコンタクトホールTH1を形成する。
工程4.(図14(d))
透明電極材料であるITOで対向電極CTを形成すると共に、コンタクトホールTH1部分にコンタクトホール電極THTを形成する。次に、実施形態2と同様に、塗布型絶縁膜を成膜し200度程度の熱処理により焼成処理を行い全面に容量絶縁膜CIを形成し、この容量絶縁膜CIをトレンチ絶縁膜TIの高さまでエッチングすることによって、コンタクトホール電極THTの上部とトレンチTF部分以外の対向電極CTを容量絶縁膜CIから露出させる。
工程5(図13)
コンタクトホールTH1部分とトレンチTFが形成される領域内にITOを電極材料とする画素電極PXを形成することにより、コンタクトホール電極THTを介して薄膜トランジスタTFTのソース電極STに接続される画素電極PXを形成する。このとき、実施形態4でもコンタクトホールTH1を平坦化しているので、コンタクトホールTH1の上部においても液晶ギャップを均一にできる。
以上説明したように、実施形態4の液晶表示装置は実施形態2と実施形態3の液晶表示装置の効果をそれぞれ併せ持つことが出来る。例えば、画素PIXの表示にかかわる領域ではトレンチ絶縁膜TIの上面に形成された線状の対向電極CTの間に線状の画素電極PXが配置される構成となるので、トレンチ絶縁膜TIの上面(溝と溝の間)に形成された対向電極CTと画素電極PXとの間に容量絶縁膜CIが介在しない構成となる。従って、液晶駆動信号は容量絶縁膜内部又は液晶/容量絶縁膜界面の固定電荷の影響をほとんど受けない構成とすることができるので、フリッカを大幅に低減させた液晶表示装置を提供することができる。
さらには、実施形態2と実施形態3の液晶表示装置の効果の他に、コンタクトホールの平坦化による開口率の向上および、容量絶縁膜の薄膜化による保持容量の向上を同時に図ることができるという格別の効果を得ることができる。
(実施形態5)
図15は本発明の実施形態1の液晶表示装置の概略構成を説明するための1画素分の液晶表示素子の平面図であり、図16は図15に示すD−D'線での断面図である。なお、後述するように、画素電極PXと同層に形成された上層対向電極CT2との間には容量絶縁膜CIが介在しないので液晶容量Clcのみが形成され、薄膜トランジスタTFTのソースには保持容量Cst1と液晶容量Clcとが並列に接続されるのみの構成となる。
図15に基づいて、実施形態5の液晶表示装置の第1基板の詳細構成について説明する。なお、以下の説明では1画素分について説明するが、他の画素の構造も同じ構成であることはいうまでもない。また、説明を簡単にするために2本の画素電極PXが櫛歯状に形成される場合について説明するが、これに限定されることはなく3本以上の画素電極PXを櫛歯状に配置した形状にも適用できるものである。
図15に示すように、実施形態5の液晶表示装置の第1基板SUB1では、下層対向電極CT1と画素電極PXとの位置関係は従来の液晶表示装置と同様の構成であり、下層対向電極CT1の上層に形成した容量絶縁膜CIを介して画素電極PXが配置される構成となっている。
また、実施形態5の液晶表示装置では、画素電極PXと同層すなわち容量絶縁膜CIの上層に上層対向電極CT2が当該容量絶縁膜CIの上面を覆うように形成されている。このとき、画素電極PXと上層対向電極CT2とが電気的に接続しないようにするために、上層対向電極CT2は画素電極PXを避けるように当該画素電極PXの外周に沿って形成されている。従って、画素電極PXが形成される領域では、上層対向電極CT2の形状も櫛歯状に形成されることとなる。
また、上層対向電極CT2はITOで形成され、コンタクトホールTH4を介してコモン線CLに直接接続される。一方、ITOで形成される下層対向電極CT1は、コンタクトホールTH3を介して上層対向電極CT2に接続される構成となっている。従って、下層対向電極CT1と上層対向電極CT2とにコモン信号が供給され、同電位である。
また、画素電極PXも櫛歯状に形成されたITOで構成されており、平坦化膜PASoと保護絶縁膜PASiに形成されたコンタクトホールTH1を通して薄膜トランジスタTFTのソース電極STに電気的に接続されている。従って、画素PIXの表示にかかわる領域では、画素電極PXと同層に形成される線状の上層対向電極CT2の間に画素電極PXが配置される構成となる。
一方、ドレイン線DLはゲート線GLとの交差部の一部において薄膜トランジスタTFTの形成領域側に延在され、この延在部が半導体層ASの上面にまで及んで薄膜トランジスタTFTのドレイン電極DTを構成している。
次に、図16に基づいて、本実施形態1の液晶表示装置の構造を詳細に説明する。図16に示すように、実施形態5の液晶表示装置における第1基板SUB1では、ガラス基板SUB1の上層に薄膜トランジスタTFTを保護するための下地膜IN1が形成され、その上層にゲート電極GT及びゲート絶縁膜GI、半導体層AS、ドレイン電極DT、ソース電極ST等からなる薄膜トランジスタTFTが形成されている。この薄膜トランジスタTFTを図示しない液晶層に含まれるアルカリ成分等から保護するために、薄膜トランジスタTFTの上層を含むガラス基板SUB1の全面に保護絶縁膜PASiが形成されている。この保護絶縁膜PASiの上層には平坦化膜PASoが積層されている。
平坦化膜PASoの上層に形成される下層対向電極CT1は、従来の対向電極と同様に、隣接する一対のゲート線GLとコモン線CLに囲まれる領域内でコンタクトホールTH1を避けるように形成され、ゲート線GLの延在方向(ドレイン線DLの配列方向)に配列される各画素に共通に共通信号を供給する構成となっている。同様に、上層対向電極CT2は、コンタクトホールTH1を含む画素電極PXを避けるように形成され、ゲート線GLの延在方向(ドレイン線DLの配列方向)に配列される各画素に共通にコモン信号を供給する構成となっている。
また、画素PIXの表示にかかわる領域では、画素電極PXと同層に形成される線状の上層対向電極CT2の間に、線状の画素電極PXが配置される構成となっている。
次に、図17に実施形態5の液晶表示装置の製造方法の一実施形態を示す工程図を示し、以下、図17に基づいて製造方法を工程順に説明する。なお、実施形態1〜4と同様に、各工程における電極の形成を含む薄膜の形成は公知のフォトリソグラフィ技術により可能であるので、詳細な説明は省略する。
工程1.(図17(a))
ガラス基板SUB1の液晶LC側の面に、下地膜IN1及びゲート電極GT、ゲート絶縁膜GI、半導体層AS、ドレイン電極DT、ソース電極STを形成し、アモルファスシリコンTFTの薄膜トランジスタTFTを形成する。なお、この工程1は実施形態1の工程1と同じである。
工程2.(図17(b))
薄膜トランジスタTFTを保護するために無機質材料である窒化シリコン膜からなる保護絶縁膜PASiをガラス基板SUB1の上面側(基板の液晶LC側)の全面に形成し、薄膜トランジスタTFTの保護膜とする。この保護絶縁膜PASiの上層(基板の液晶LC側)に公知のスピンコート法等により、アクリル膜からなる平坦化膜PASoをガラス基板SUB1の上面側に形成し、薄膜トランジスタTFTをはじめとしたゲート線GL、ドレイン線DL、コモン線CL等の形成に伴うガラス基板SUB1の上面の凹凸を平坦化する。次に、平坦化膜PASoの上層に透明電極材料であるITOで下層対向電極CT1を形成する。
工程3(図17(c))
次に、塗布型絶縁膜を成膜し200度程度の熱処理により焼成処理を行い全面に容量絶縁膜CIを形成する。次に、容量絶縁膜CIに下層対向電極CT1に達するコンタクトホールTH3、並びに平坦化層PASoと保護絶縁膜PASiを貫通しソース電極STのパッド部に達するコンタクトホールTH1、及び平坦化層PASoと保護絶縁膜PASiを貫通しコモン線CLに達するコンタクトホールTH4を形成する。
工程4.(図16)
次に、容量絶縁膜CIの上層に、ITOを電極材料とする画素電極PX及び上層対向電極CT2を形成することにより、薄膜トランジスタTFTのソース電極STに電気的に接続される画素電極PXと、コモン線CLに電気的に接続される上層対向電極CT2とを形成する。
このように、実施形態5では平坦化膜PASoの上面側に形成される対向電極(下層対向電極CT1)及び容量絶縁膜CI、画素電極PXそれぞれの形状や位置関係はそのままに、画素電極PXと同層に、下層対向電極CT1と同電位の上層対向電極CT2を形成する構成となっているので、安価な液晶表示装置を提供することができる。
また、本実施形態5の液晶表示装置では、画素PIXの表示にかかわる領域では、平坦化膜PASoの上層に形成された線状の上層対向電極CT2の間に、線状の画素電極PXが配置される構成となるので、上層対向電極CT2と画素電極PXとの間に容量絶縁膜CIが介在しない構成となる。従って、液晶駆動信号は容量絶縁膜内部又は液晶/容量絶縁膜界面の固定電荷の影響をほとんど受けない構成とすることができるので、フリッカを大幅に低減させた液晶表示装置を提供することができる。
また、ガラス基板SUB1の上面の段差もITO電極の膜厚程度に抑えることが可能となるので、配向膜のラビング不良を効果的に抑制できる。
実施形態1から実施形態5に記載の液晶表示装置において、絶縁性基板SUB1はガラスに限らず、石英ガラスやプラスチックのような他の絶縁性基板であってもよい。たとえば、石英ガラスを用いれば、プロセス温度を高くできるため、ゲート絶縁膜を緻密化できTFTの信頼性が向上する。また、プラスチック基板を用いれば、軽量で、耐衝撃性に優れた画像表示装置を提供できる。
また、透明電極としてITO電極を用いた場合について説明したが、ITO電極に限定されることはなく公知のZnO系透明電極を用いてもよい。
さらには、実施形態1〜5の液晶表示装置においては、面状に形成される電極を対向電極CTとし、櫛歯状に形成される電極を画素電極PXとしたが、これに限定されることはなく、面状に形成される電極に薄膜トランジスタTFTを接続して画素電極PXとし、櫛歯状に形成される電極にコモン線CLを接続して対向電極CTとしてもよい。
本発明の実施形態1の液晶表示装置を説明するための画素領域断面図である。 従来の液晶表示装置の回路図である。 従来の液晶表示装置の1画素分の液晶表示素子の平面図である。 従来の液晶表示装置を説明するための画素領域断面図である。 本発明の実施形態1の液晶表示装置の回路図である。 本発明の実施形態1の液晶表示装置の1画素分の液晶表示素子の平面図である。 本発明の実施形態1の液晶表示装置の製造方法の一実施形態の一連の工程を図7d−eと共に示す工程図である。 本発明の実施形態1の液晶表示装置の製造方法の一実施形態の一連の工程を図7a−cと共に示す工程図である。 本発明の実施形態2の液晶表示装置を説明するための画素領域断面図である。 本発明の実施形態2の液晶表示装置の製造方法の一実施形態の一連の工程を図9c−eと共に示す工程図である。 本発明の実施形態2の液晶表示装置の製造方法の一実施形態の一連の工程を図9a−bと共に示す工程図である。 本発明の実施形態3の液晶表示装置の1画素分の液晶表示素子の平面図である。 本発明の実施形態3の液晶表示装置を説明するための画素領域断面図である。 本発明の実施形態3の液晶表示装置の製造方法の一実施形態の一連の工程を図12d−eと共に示す工程図である。 本発明の実施形態3の液晶表示装置の製造方法の一実施形態の一連の工程を図12a−cと共に示す工程図である。 本発明の実施形態4の液晶表示装置を説明するための画素領域断面図である。 本発明の実施形態4の液晶表示装置の製造方法の一実施形態の一連の工程を図14c−dと共に示す工程図である。 本発明の実施形態4の液晶表示装置の製造方法の一実施形態の一連の工程を図14a−bと共に示す工程図である。 本発明の実施形態5の液晶表示装置の1画素分の液晶表示素子の平面図である。 本発明の実施形態5の液晶表示装置を説明するための画素領域断面図である。 本発明の実施形態5の液晶表示装置の製造方法の一実施形態を示す工程図である。 本発明の実施形態1の液晶表示装置の概略構成図である。
符号の説明
GL・・・ゲート線、DL・・・ドレイン線、CL・・・コモン線、PIX・・・画素
AR・・・液晶表示領域、Clc・・・液晶容量、Cst1・・・保持容量
Cst2・・・絶縁膜容量、SCDv・・・ゲートドライバ、
SCDh・・・ドレインドライバ、PX・・・画素電極、CT・・・対向電極
CT1・・・下層対向電極、CT2・・・上層対向電極、TFT・・・薄膜トランジスタ
TH1,TH2,TH3,TH4・・・コンタクトホール
TF,TF1・・・トレンチ(溝)、SUB1,SUB2・・・第1基板、ガラス基板
IN1・・・下地膜、GI・・・ゲート絶縁膜、PASi・・・保護絶縁膜
PASo・・・平坦化膜、CI・・・容量絶縁膜、GT・・・ゲート電極
ST・・・ソース電極、DT・・・ドレイン電極、AS・・・半導体層
THT・・・コンタクトホール電極、BM・・・ブラックマトリクス、LC・・・液晶層
CF・・・カラーフィルタ、ORI1,ORI2・・・配向膜、PL・・・偏光板
TI・・・トレンチ絶縁膜

Claims (7)

  1. マトリックス状に複数の画素が配置され、液晶層を介して対向配置される第1及び第2の基板と、
    前記第1の基板側に、少なくとも各画素内に面状に形成された第1電極と、
    前記第1電極の上層に第1絶縁層を介して形成され、各画素毎に前記第1電極に重畳して形成される線状の複数の第2電極と
    を有し、前記第1電極と前記第2電極で生じる電界で前記液晶層を駆動する液晶表示装置であって、
    前記第1電極と同電位であり、前記第2電極と同層に形成され、前記各第2電極を間にして配置される線状の第3電極
    を備えたことを特徴とする液晶表示装置。
  2. 請求項1に記載の液晶表示装置において、
    前記第1電極と前記第3電極とが一体に形成された導電層からなることを特徴とする液晶表示装置。
  3. 請求項1又は2に記載の液晶表示装置において、
    平坦化層に溝が形成され、前記溝に前記第1電極の一部が形成されることを特徴とする液晶表示装置。
  4. 請求項1又は2に記載の液晶表示装置において、
    平坦化層の上層に形成された第2絶縁層を有し、前記第2絶縁層に形成された溝に前記第1電極の一部が形成されていることを特徴とする液晶表示装置。
  5. 請求項1に記載の液晶表示装置において、
    前記第1電極と前記第3電極とが前記第1絶縁層に形成されたコンタクト部を介して接続されることを特徴とする液晶表示装置。
  6. 請求項1又は5に記載の液晶表示装置において、
    前記第1絶縁層が容量絶縁層で形成され、前記第2電極と前記第3電極とが前記第1絶縁層上に形成されることを特徴とする液晶表示装置。
  7. 請求項1乃至7のいずれか1項に記載の液晶表示装置において、
    前記第2電極に表示用の電荷を入力する薄膜トランジスタを有し、前記薄膜トランジスタのソース電極と前記第2電極とを接続するコンタクト部を前記第1絶縁層で平坦化したことを特徴とする液晶表示装置。
JP2008187245A 2008-07-18 2008-07-18 液晶表示装置 Active JP5502293B2 (ja)

Priority Applications (1)

Application Number Priority Date Filing Date Title
JP2008187245A JP5502293B2 (ja) 2008-07-18 2008-07-18 液晶表示装置

Applications Claiming Priority (1)

Application Number Priority Date Filing Date Title
JP2008187245A JP5502293B2 (ja) 2008-07-18 2008-07-18 液晶表示装置

Publications (2)

Publication Number Publication Date
JP2010026237A true JP2010026237A (ja) 2010-02-04
JP5502293B2 JP5502293B2 (ja) 2014-05-28

Family

ID=41732130

Family Applications (1)

Application Number Title Priority Date Filing Date
JP2008187245A Active JP5502293B2 (ja) 2008-07-18 2008-07-18 液晶表示装置

Country Status (1)

Country Link
JP (1) JP5502293B2 (ja)

Cited By (5)

* Cited by examiner, † Cited by third party
Publication number Priority date Publication date Assignee Title
JP2013257530A (ja) * 2012-06-12 2013-12-26 Hannstar Display Corp 液晶ディスプレイパネル及びその画素アレイ基板
JP2014010182A (ja) * 2012-06-27 2014-01-20 Kyocera Corp 液晶表示装置
JP2014095840A (ja) * 2012-11-09 2014-05-22 Japan Display Inc 液晶表示装置
JP2014182234A (ja) * 2013-03-19 2014-09-29 Mitsubishi Electric Corp 液晶表示装置及びその製造方法
WO2019167405A1 (ja) * 2018-03-02 2019-09-06 株式会社ジャパンディスプレイ 表示装置

Citations (5)

* Cited by examiner, † Cited by third party
Publication number Priority date Publication date Assignee Title
JP2007183583A (ja) * 2005-12-05 2007-07-19 Semiconductor Energy Lab Co Ltd 液晶表示装置
JP2007310273A (ja) * 2006-05-22 2007-11-29 Mitsubishi Electric Corp 液晶表示装置、及びその製造方法
JP2007316535A (ja) * 2006-05-29 2007-12-06 Nec Lcd Technologies Ltd 横電界方式のアクティブマトリクス型液晶表示装置
JP2008040189A (ja) * 2006-08-08 2008-02-21 Hitachi Displays Ltd 半透過型液晶表示装置
JP2009186869A (ja) * 2008-02-08 2009-08-20 Epson Imaging Devices Corp 液晶表示装置

Patent Citations (5)

* Cited by examiner, † Cited by third party
Publication number Priority date Publication date Assignee Title
JP2007183583A (ja) * 2005-12-05 2007-07-19 Semiconductor Energy Lab Co Ltd 液晶表示装置
JP2007310273A (ja) * 2006-05-22 2007-11-29 Mitsubishi Electric Corp 液晶表示装置、及びその製造方法
JP2007316535A (ja) * 2006-05-29 2007-12-06 Nec Lcd Technologies Ltd 横電界方式のアクティブマトリクス型液晶表示装置
JP2008040189A (ja) * 2006-08-08 2008-02-21 Hitachi Displays Ltd 半透過型液晶表示装置
JP2009186869A (ja) * 2008-02-08 2009-08-20 Epson Imaging Devices Corp 液晶表示装置

Cited By (8)

* Cited by examiner, † Cited by third party
Publication number Priority date Publication date Assignee Title
JP2013257530A (ja) * 2012-06-12 2013-12-26 Hannstar Display Corp 液晶ディスプレイパネル及びその画素アレイ基板
CN103488013A (zh) * 2012-06-12 2014-01-01 瀚宇彩晶股份有限公司 液晶显示面板及其像素阵列基板
JP2014010182A (ja) * 2012-06-27 2014-01-20 Kyocera Corp 液晶表示装置
JP2014095840A (ja) * 2012-11-09 2014-05-22 Japan Display Inc 液晶表示装置
JP2014182234A (ja) * 2013-03-19 2014-09-29 Mitsubishi Electric Corp 液晶表示装置及びその製造方法
WO2019167405A1 (ja) * 2018-03-02 2019-09-06 株式会社ジャパンディスプレイ 表示装置
JP2019152745A (ja) * 2018-03-02 2019-09-12 株式会社ジャパンディスプレイ 表示装置
JP7030563B2 (ja) 2018-03-02 2022-03-07 株式会社ジャパンディスプレイ 表示装置

Also Published As

Publication number Publication date
JP5502293B2 (ja) 2014-05-28

Similar Documents

Publication Publication Date Title
JP4356750B2 (ja) 液晶表示装置及びその製造方法
JP6182361B2 (ja) 液晶表示装置
JP5571759B2 (ja) 液晶表示素子及びその製造方法
CN103869554B (zh) 液晶显示面板
CN107329339B (zh) 阵列基板及曲面液晶显示器
CN101236971B (zh) 薄膜晶体管基板及包括该基板的显示装置
JP2015049426A (ja) 液晶表示装置
JP5526085B2 (ja) 液晶表示装置
JP2009181091A (ja) 液晶表示装置
US9235091B2 (en) Liquid crystal display device and manufacturing method thereof
JP5502293B2 (ja) 液晶表示装置
US20160026043A1 (en) Display device
CN103874957B (zh) 液晶显示元件和液晶显示装置
JP2007279634A (ja) 横電界方式の液晶表示装置
JP2008262006A (ja) アクティブマトリクス基板及び液晶パネル
WO2015132819A1 (ja) 液晶表示装置及びその製造方法
WO2010103676A1 (ja) アクティブマトリクス基板、表示パネル、表示装置、並びに電子機器
JP5917127B2 (ja) 液晶表示装置
US9703152B2 (en) Liquid crystal display device
KR100698049B1 (ko) 액정표시장치 및 그의 제조방법
CN108490705A (zh) 阵列基板、液晶显示面板与显示装置
CN102998864B (zh) 液晶显示装置
US9323112B2 (en) Liquid crystal display and electronic apparatus having electrodes with openings therein
JP4905011B2 (ja) 液晶装置、及び電子機器
JP2009175561A (ja) 液晶表示装置

Legal Events

Date Code Title Description
A711 Notification of change in applicant

Free format text: JAPANESE INTERMEDIATE CODE: A712

Effective date: 20110218

RD03 Notification of appointment of power of attorney

Free format text: JAPANESE INTERMEDIATE CODE: A7423

Effective date: 20110218

A621 Written request for application examination

Free format text: JAPANESE INTERMEDIATE CODE: A621

Effective date: 20110307

A131 Notification of reasons for refusal

Free format text: JAPANESE INTERMEDIATE CODE: A131

Effective date: 20120904

A977 Report on retrieval

Free format text: JAPANESE INTERMEDIATE CODE: A971007

Effective date: 20120905

A521 Request for written amendment filed

Free format text: JAPANESE INTERMEDIATE CODE: A523

Effective date: 20121001

A131 Notification of reasons for refusal

Free format text: JAPANESE INTERMEDIATE CODE: A131

Effective date: 20130611

A521 Request for written amendment filed

Free format text: JAPANESE INTERMEDIATE CODE: A523

Effective date: 20130805

TRDD Decision of grant or rejection written
A01 Written decision to grant a patent or to grant a registration (utility model)

Free format text: JAPANESE INTERMEDIATE CODE: A01

Effective date: 20140218

A61 First payment of annual fees (during grant procedure)

Free format text: JAPANESE INTERMEDIATE CODE: A61

Effective date: 20140313

R150 Certificate of patent or registration of utility model

Ref document number: 5502293

Country of ref document: JP

Free format text: JAPANESE INTERMEDIATE CODE: R150

R250 Receipt of annual fees

Free format text: JAPANESE INTERMEDIATE CODE: R250

R250 Receipt of annual fees

Free format text: JAPANESE INTERMEDIATE CODE: R250

R250 Receipt of annual fees

Free format text: JAPANESE INTERMEDIATE CODE: R250

R250 Receipt of annual fees

Free format text: JAPANESE INTERMEDIATE CODE: R250

R250 Receipt of annual fees

Free format text: JAPANESE INTERMEDIATE CODE: R250

R250 Receipt of annual fees

Free format text: JAPANESE INTERMEDIATE CODE: R250

R250 Receipt of annual fees

Free format text: JAPANESE INTERMEDIATE CODE: R250

S111 Request for change of ownership or part of ownership

Free format text: JAPANESE INTERMEDIATE CODE: R313117

R350 Written notification of registration of transfer

Free format text: JAPANESE INTERMEDIATE CODE: R350

R250 Receipt of annual fees

Free format text: JAPANESE INTERMEDIATE CODE: R250

R250 Receipt of annual fees

Free format text: JAPANESE INTERMEDIATE CODE: R250

S111 Request for change of ownership or part of ownership

Free format text: JAPANESE INTERMEDIATE CODE: R313117

R350 Written notification of registration of transfer

Free format text: JAPANESE INTERMEDIATE CODE: R350