JP2010025879A - アブソリュート型リニアエンコーダ、及び、その位置調整方法 - Google Patents

アブソリュート型リニアエンコーダ、及び、その位置調整方法 Download PDF

Info

Publication number
JP2010025879A
JP2010025879A JP2008190638A JP2008190638A JP2010025879A JP 2010025879 A JP2010025879 A JP 2010025879A JP 2008190638 A JP2008190638 A JP 2008190638A JP 2008190638 A JP2008190638 A JP 2008190638A JP 2010025879 A JP2010025879 A JP 2010025879A
Authority
JP
Japan
Prior art keywords
detection head
data
scale
reference position
linear encoder
Prior art date
Legal status (The legal status is an assumption and is not a legal conclusion. Google has not performed a legal analysis and makes no representation as to the accuracy of the status listed.)
Granted
Application number
JP2008190638A
Other languages
English (en)
Other versions
JP5073603B2 (ja
Inventor
Mikiya Teraguchi
幹也 寺口
Current Assignee (The listed assignees may be inaccurate. Google has not performed a legal analysis and makes no representation or warranty as to the accuracy of the list.)
Mitutoyo Corp
Mitsutoyo Kiko Co Ltd
Original Assignee
Mitutoyo Corp
Mitsutoyo Kiko Co Ltd
Priority date (The priority date is an assumption and is not a legal conclusion. Google has not performed a legal analysis and makes no representation as to the accuracy of the date listed.)
Filing date
Publication date
Application filed by Mitutoyo Corp, Mitsutoyo Kiko Co Ltd filed Critical Mitutoyo Corp
Priority to JP2008190638A priority Critical patent/JP5073603B2/ja
Publication of JP2010025879A publication Critical patent/JP2010025879A/ja
Application granted granted Critical
Publication of JP5073603B2 publication Critical patent/JP5073603B2/ja
Expired - Fee Related legal-status Critical Current
Anticipated expiration legal-status Critical

Links

Images

Landscapes

  • Transmission And Conversion Of Sensor Element Output (AREA)

Abstract

【課題】当初(例えば工場出荷時等)の位置関係と異なる位置関係でスケールと検出ヘッドが組付けられた場合でも、迅速に位置信号の補正を行い、所望の位置精度に基づき、絶対位置を求める。
【解決手段】スケール110の特定箇所(基準マーク110A)と前記検出ヘッド120の特定箇所(基準マーク120A)とを該検出ヘッド120の移動方向Xで一致させた位置を基準位置Oとして、該基準位置Oを設定した際に該基準位置Oで求められる下位トラック114の周期Tdtの数番号データMoと、機械装置に組付けた際に該基準位置Oで求められる該下位トラック114の周期Tdtの数番号データMo1と、の差である差分データΔMoを記憶する記憶回路128と、前記差分データΔMoを前記記憶回路128より読み出して、該差分データΔMoにより該検出ヘッド120で求められる位置データXprtを補正する処理回路126と、を備える。
【選択図】図1

Description

本発明は、適用対象となる機械装置に組付けの際に互いの位置関係が調整可能な、複数のトラックを有するスケールと、該スケールから自身の位置を検出する検出ヘッドとを有する、いわゆるセパレートタイプのアブリュート型リニアエンコーダに係り、特に、当初(例えば工場出荷時等)の位置精度を容易に再現可能とするアブソリュート型リニアエンコーダ、及び、その位置調整方法に関する。
工作機械等で使用されるフィードバック用リニアエンコーダとしては、電源投入時に絶対位置の検出が可能なアブソリュート型リニアエンコーダが一般的に用いられている。
アブソリュート型リニアエンコーダには、スケールと検出ヘッドの位置関係が保持されているユニットタイプ(アッセンブリタイプとも呼ばれている)がある。これは、工作機械等の機械装置に組付ける際でも、スケールと検出ヘッドとの位置関係が保持されているため、組付け後にアブソリュート型リニアエンコーダの位置調整が不要である。
又、アブソリュート型リニアエンコーダとして、上記ユニットタイプとは異なる、スケールと検出ヘッドとが分離した構造のセパレートタイプがある。これは、工作機械等の機械装置に組付ける際にスケールと検出ヘッドとの位置関係を調整し、その後に電気的なデータを調整することにより位置補正を行う。
セパレートタイプは、スケールと検出ヘッドとが分離されているから、工作機械等の機械装置への組付けに自由度が大きく、機械装置の小型化やデザインを損なわないという利点を有する。しかし、検出ヘッド120で正確な位置を求めるには、図16に示すスケール110と検出ヘッド120との位置関係を定める5つの誤差(ラテラルLat、ヨーイングYaw、ローリングRol、ギャップGap、ピッチングPit)等を小さくする必要がある(図16(A)は正面図、図16(B)は側面図、図16(C)は上面図、をそれぞれ示す)。ここで、従来の相対位置を出力するインクリメンタル型リニアエンコーダであればスケールのトラックは1つ(1組)で良いのに対し、アブソリュート型リニアエンコーダでは、2トラック(2組)以上を組み合わせる必要がある。即ち、複数のトラックに対して高精度の位置調整を行って、当初の位置関係(例えば、精度確認のための工場出荷時等の仮組の際の位置関係)を再現する必要がある。つまり、セパレートタイプでは上記誤差を小さな値としなければならないため、調整に制約が多くなり、当初(例えば工場出荷時等)の位置精度を確保するのが困難であった。
そこで、検出ヘッドの調整について、特許文献1に示す組付位置の補正とデータ調整方法が発明者によって提案されている。特許文献1は、検出ヘッドの組付け時に、検出ヘッドからの十分な出力が得られるように機械的に調整した後に、得られた位置データに対して検出ヘッドの内部メモリに保持した補正データにより調整を行い、位置補正を行い、当初(例えば工場出荷時等)の位置精度を確保しようとするものである。
特開2006−3307号公報
しかしながら、特許文献1では、位置データの調整のために、スケールの全長に亘って走査が行われることとしている。つまり、これは、所望の位置精度に無関係に行われるこことなる。このため、当初から粗い位置精度でよい場合などに対しては信号調整の迅速性が確保されないおそれがある。
又、スケールの全長に亘って走査を行い、必要であれば機械的な調整をすることとしているので、位置精度との兼ね合いから調整行為が容易に収束せずに、位置の調整に手間取るおそれもある。
本発明は、前記の問題点を解決するべくなされたもので、アブソリュート型リニアエンコーダを機械装置に組付けた際、当初(例えば工場出荷時等)の位置関係と異なる位置関係でスケールと検出ヘッドが組付けられた場合でも、迅速に位置データの補正を行い、所望の位置精度に基づき、絶対位置を求めることが可能なアブソリュート型リニアエンコーダ及びその位置調整方法を提供することを課題とする。
本願の請求項1に係る発明は、適用対象となる機械装置に組付けの際に互いの位置関係が調整可能な、複数のトラックを有するスケールと、該スケールから自身の位置を検出する検出ヘッドとを有して、該複数のトラックのうちの1つ以上が該スケールの全長に対して複数回の周期で該検出ヘッドに同一の出力をさせる下位トラックであるアブソリュート型リニアエンコーダにおいて、前記スケールの特定箇所と前記検出ヘッドの特定箇所とを該検出ヘッドの移動方向で一致させた位置を基準位置として、該基準位置を設定した際に該基準位置で求められるいずれか1つの下位トラックの周期の数番号データと、前記機械装置に組付けた際に該基準位置で求められる該下位トラックの周期の数番号データと、の差である差分データを記憶する記憶回路と、前記差分データを前記記憶回路より読み出して、該差分データにより該検出ヘッドで求められる位置データを補正する処理回路と、を備えたことにより、前記課題を解決したものである。
本願の請求項2に係る発明は、適用対象となる機械装置に組付けの際に互いの位置関係が調整可能な、複数のトラックを有するスケールと該スケールから自身の位置を検出する検出ヘッドとを有するアブソリュート型リニアエンコーダにおいて、前記スケールの特定箇所と前記検出ヘッドの特定箇所とを該検出ヘッドの移動方向で一致させた位置を基準位置として、該基準位置を設定した際に該基準位置で求められる位置データと、前記機械装置に組付けた際に該基準位置で求められる位置データと、の差である差分データを記憶する記憶回路と、前記差分データを前記記憶回路より読み出して、該差分データにより該検出ヘッドで求められる位置データを補正する処理回路と、を備えたものである。
本願の請求項3に係る発明は、又、適用対象となる機械装置に組付けの際に互いの位置関係が調整可能な、複数のトラックを有するスケールと、該スケールから自身の位置を検出する検出ヘッドとを有して、該複数のトラックのうちの1つ以上が該スケールの全長に対して複数回の周期で該検出ヘッドに同一の出力をさせる下位トラックであるアブソリュート型リニアエンコーダの位置調整方法において、前記スケールの特定箇所と前記検出ヘッドの特定箇所とを該検出ヘッドの移動方向で一致させた位置を基準位置として、該基準位置を設定した際に該基準位置でいずれか1つの下位トラックの周期の数番号データを求め、前記機械装置に組付けた際に該下位トラックの周期の数番号データを求め、該基準位置での両数番号データの差である差分データを求めて、該差分データにより該検出ヘッドで求められる位置データを補正することを特徴とするアブソリュート型エンコーダの位置調整方法を提供するものである。
又、本願の請求項4に係る発明は、適用対象となる機械装置に組付けの際に互いの位置関係が調整可能な、複数のトラックを有するスケールと、該スケールから自身の位置を検出する検出ヘッドとを有するアブソリュート型リニアエンコーダの位置調整方法において、前記スケールの特定箇所と前記検出ヘッドの特定箇所とを該検出ヘッドの移動方向で一致させた位置を基準位置として、該基準位置を設定した際に該基準位置で位置データを求め、前記機械装置に組付けた際に該基準位置で位置データを求め、該基準位置での両位置データの差である差分データを求めて、該差分データにより該検出ヘッドで求められる位置データを補正したものである。
本発明によれば、スケールの特定箇所と検出ヘッドの特定箇所とを検出ヘッドの移動方向で一致させた位置を基準位置として設定し、その際(例えば工場出荷時等)に基準位置で下位トラックの周期の数番号データ、若しくは位置データ(以下、単に位置データ等と称する)を求める。そして、機械装置に組付けた際にも基準位置で位置データ等を求める。求められた両位置データ等から差分データを求めて、その差分データで位置データを補正する。このため、アブソリュート型リニアエンコーダを機械装置に組付けた際、当初(例えば工場出荷時等)の位置関係と異なる位置関係でスケールと検出ヘッドが組付けられた場合でも、迅速に位置データの補正を行い、例えば工場出荷時を基準とした所望の位置精度に基づき、絶対位置を求めることが可能となる。
このとき、1つのスケールに検出ヘッドが複数設けられていても、スケールの特定箇所を共通にして位置補正をすることができるので、同一の座標系で、複数の検出ヘッドすべてについて、所望の位置精度に基づき、絶対位置を求めることが可能となる。
以下、図面を参照して、本発明の実施形態の一例を詳細に説明する。
本発明に係る第1実施形態について、図1から図10を用いて説明する。図1は本実施形態に係るアブソリュート型リニアエンコーダの概略斜視図、図2は同じくスケールと検出ヘッドの摸式図、図3は同じく検出ヘッドの概略ブロック図を示す図、図4は同じく2つのトラック(上位トラックと下位トラック)を有するスケールを走査したときの検出ヘッドで検出される位相量を示す図、図5は同じく上位トラックと下位トラックを用いての位置データ算出を示すフロー図を示す図、図6は同じく基準位置を設定した際の基準位置と下位トラックとの関係を示す図、図7は同じく基準位置を設定した際の基準位置での位置データ算出を示すフロー図を示す図、図8は同じく機械装置に組付けた際の基準位置と下位トラックとの関係を示す図、図9は同じく機械装置に組付けた際の基準位置での位置データ算出と差分データを求めるフロー図を示す図、図10は同じく求めた差分データを用いて位置補正を行うフロー図を示す図、である。
最初に、本実施形態の全体構成を、主に図1を用いて、概略的に説明する。
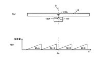
アブソリュート型リニアエンコーダ100は、適用対象となる図示しない機械装置に組付けの際に互いの位置関係が調整可能な、2つのトラック(上位トラック112、下位トラック114)を有するスケール110とスケール110から自身の位置を検出する検出ヘッド120とを有するセパレートタイプである。ここで、アブソリュート型リニアエンコーダ100は、スケール110の特定箇所(基準マーク110A)と検出ヘッド120の特定箇所(基準マーク120A)とを検出ヘッド120の移動方向Xで一致させた位置を基準位置Oとして、基準位置Oを設定した際(例えば工場出荷時等)に基準位置Oで求められる下位トラック114の周期Tdtの数番号データMoと、機械装置に組付けた際に基準位置Oで求められる下位トラック114の周期Tdtの数番号データMo1と、の差である差分データΔMoを記憶する記憶回路128と、差分データΔMoを記憶回路128より読み出して、差分データΔMoにより検出ヘッド120で求められる位置データXprtを補正する処理回路126と、を備える。
以下、各構成要素について詳細に説明する。
スケール110は、図1、図2に示す如く、上位トラック112と下位トラック114とを有する。上位トラック112と下位トラック114とは、並列して、検出ヘッド120の移動方向Xに設けられている。上位トラック112には、スケール110の全長に対して1周期Tut(図4参照)で検出ヘッド120からの出力が変化するようにコイルが敷設してある。下位トラック114には、スケール110の全長に対して複数回(本実施形態では4回)の周期Tdt(図4参照)で検出ヘッド120からの出力が変化するようにコイルが敷設してある(なお、上位トラック112による出力の1周期Tut変化に対して下位トラック114による出力が変化する周期Tdtの回数をトラック比TRと称する)。スケール110は、その中心SCに基準マーク110Aを有する。即ち、基準マーク110Aがスケール110の特定箇所となる。なお、基準マーク110Aは必ずしもスケール110の中心に設ける必要は無い。
検出ヘッド120は、図1に示す如く、スケール110と非接触で近接・対峙して配置される。検出ヘッド120は、その中心DCに基準マーク120Aを有する。即ち、基準マーク120Aが検出ヘッド120の特定箇所となる。なお、基準マーク120Aは検出ヘッド120の中心に設けられている必要は無い。基準マーク110Aと基準マーク120Aとが図1に示す如く、移動方向Xで一致する位置を基準位置Oとする。又、検出ヘッド120は、図3に示す如く、センサ122、124の他に、処理回路126と記憶回路128と表示器130とを備える。
センサ122、124は、スケール110の上位トラック112と下位トラック114と対向して設けられている。そして、センサ122、124は上位トラック112、下位トラック114の移動方向Xの位置に従って、異なるレベルの位相量を出力する。
処理回路126は、センサ122、124からの出力を処理して、最大値1の規格化された位相量から、後述する手順に従って、位置等(周期Tdtの数番号N、絶対位置、位置データ等)を算出することができる。又、処理回路126は、記憶回路128に記憶した位置データを呼び出して、センサ122、124から求められた位置データとの差である差分データを求めることもできる。
記憶回路128は、処理回路126の指示に従い各種値を記憶することができる。又、処理回路126で求められた位置データや差分データ等を記憶することもできる。
表示器130には、例えばLEDを用いて、処理回路126の指示に従い、位置データの表示や位置データが異常であることの表示を行う。なお、出力器はLEDでの表示だけでなくて、表示した内容の出力を行うようにしてもよい。
アブソリュート型リニアエンコーダ100は、セパレートタイプなので、工作機械等の機械装置への組付けに自由度が大きく、機械装置の小型化やデザインを損なわないという利点を有する。さらに、スケール110と検出ヘッド120とは非接触なので、検出ヘッド120が取付られる機械装置の可動する部分は高速移動が可能である。又、アブソリュート型リニアエンコーダ100は、前述の如く、コイルを備える電磁誘導型であり、上位トラック112からスケール110全体における大まかな絶対位置が求められ、下位トラック114で分解能の高い位置が求められる。このため、上位トラック112からの出力と下位トラック114からの出力とを組み合わせることにより、分解能の高い絶対位置を求めることができる。なお、アブソリュート型リニアエンコーダ100に、リニアモータが組み合わされた場合には、リニアモータの磁極の位置を判定する特別な素子(ホール素子等)を別に設けることなく、リニアモータの磁極の位置を判定することができる。即ち、リニアモータとアブソリュート型リニアエンコーダ100とを組付けた機械装置は複雑化を避けることができると共に、コストアップを防止することができる。
次に、アブソリュート型リニアエンコーダ100による位置データを求める動作について、図4、図5を用いて説明する。
最初に、センサ122で上位トラック112との位置関係から位相量P1、及びセンサ124で下位トラック114との位置関係から位相量P2、のそれぞれの検出を行う(ステップS2)。
次に、処理回路126で、下位トラック114の周期Tdtの数番号データNの算出を行う(ステップS4)。これは、位相量P1、P2とトラック比TRとを用いて、式(1)で求めることができる。なお、トラック比TRは、事前に記憶回路128に記憶され、処理回路126に読み出される。
N=Round(P1×TR−P2) (1)
ここで、Roundは四捨五入を処理を行うことを示している。得られた数番号データNは記憶回路128に記憶される。
次に、周期Tdtが記憶回路128から読み出され、処理回路126で、下位トラック114の周期Tdt内の位置Xdtが決定される(ステップS6)。位置Xdtは、式(2)で求めることができる。
Xdt=Tdt×P2 (2)
そして、処理回路126で、移動方向Xにおける位置データXprtの算出をする(ステップS8)。位置データXprtは式(3)で求めることができる。
Xprt=Tdt×N+Xdt (3)
求められた位置データXprtは、記憶回路128に記憶される。
具体的な計算例を以下に示す。
例えば、位相量P1が0.87で、位相量P2が0.43で、トラック比TRが4で、周期Tdtが1mmである場合について求める。このとき、数番号データNは以下のようになる。
N=Round(0.87×4−0.43)=3 (4)
従って、位置データXprtは、以下のようになる。
Xprt=1×3+1×0.43=3.43(mm) (5)
次に、アブソリュート型リニアエンコーダ100を用いた位置調整方法について、図6〜図10を用いて説明する。
最初に、スケール110と検出ヘッド120との基準位置を設定した際、例えば工場出荷時等における工程について、図6、図7を用いて説明する。
当初(例えば工場出荷時等)においては、図6に示す如く、基準マーク110A、120Aを移動方向Xで理想的に一致させることができる。その際の、位置Xoにおける位相量P1,P2から、数番号データMoを求める。
最初に、出荷調整後にスケール110の基準マーク110Aと検出ヘッド120の基準マーク120Aとを移動方向Xで一致させて、基準位置Oに位置合せを行う(ステップS12)。
次に、基準位置Oでの周期Tdtの数番号データMoを算出する(ステップS14)。この数番号データMoの算出には、式(1)を用いる。
そして、数番号データMoの記憶回路128への格納(記憶)を行う(ステップS16)。
次に、アブソリュート型リニアエンコーダ100を、機械装置に組付けた際の工程について、図8、図9を用いて説明する。
図8に示す如く、アブソリュート型リニアエンコーダ100を機械装置に組付けた際には、検出ヘッド120がスケール110に対して平行ではなく何らかのずれ(位置や角度θ)を有すると考えられる。このため、見かけ上基準マーク110A、120A同士を移動方向Xで一致させて基準位置Oとしても、下位トラック114からの出力は、当初(例えば工場出荷時等)の基準位置Oである位置Xoにおいてではなく、位置Xo1における出力となる可能性がある。
最初に、スケール110と検出ヘッド120を機械装置へ組付け、スケール110と検出ヘッド120との機械的な調整を行う(ステップS22)。
次に、基準マーク110A、120Aを移動方向Xで一致させて、基準位置Oに位置合せする。そして、下位トラック114の周期Tdtの数番号データMo1を算出する(ステップS24)。数番号データMo1の算出には式(1)を用いる。このとき、専用のモード(組付け確認モードと称する)を設けて、組付け確認モードに切替て、位置補正を行うことで、実際の位置計測時と位置補正時とを明確に分離することができる。つまり、実際の位置計測時に基準とする位置(任意に設定可能)との混乱を防止することができ、確実に位置補正を行うことができる。
次に、数番号データMoの処理回路126への読み込みを行う(ステップS26)。
次に、数番号データMoと数番号データMo1との比較を行う。そして数番号データMoと数番号データMo1とが等しければ(ステップS28でYesの場合)、補正がなされず、位置ずれが生じていないとして補正をしない旨の通知を表示器130により行い(ステップS30)、そのまま終了する。
数番号データMoと数番号データMo1とが等しくないならば、(ステップS28でNoの場合)、処理回路126は、差分データΔMoを求める(ステップS32)。
次に、差分データΔMoは記憶回路128に記憶(格納)される(ステップS34)。
そして、処理回路126は、位置が異なることを通知するように表示器130に指示する。そして、表示器130は位置が異なることを表示する(ステップS36)。
次に、数番号データMo、Mo1が異なる場合についての、実際の位置計測時の位置の補正について、図10を用いて説明する。なお、数番号データMo、Mo1が異ならない場合には、補正が不要となるので図5に示す手順で、絶対位置Xabs(=Xprt)が求められる。
最初に、差分データΔMoを記憶回路128より処理回路126に読み出す(ステップS42)。
次に、位置データXprtを式(1)〜(3)を用いて算出する(ステップS44)。
次に、位置データXprtの補正を行う(ステップS46)。具体的には、次の式で補正がなされる。
Xabs=Xprt+ΔMo×Tdt (6)
そして、補正された位置データ(絶対位置)Xabsを検出ヘッド120より出力する(ステップS48)。
このように、本実施形態のアブソリュート型リニアエンコーダ100は、アブソリュート型リニアエンコーダ一般の特色である基準位置Oを設けないといった従来の概念に捕らわれず、基準位置Oを設けることによって、基準となる補正位置の明確化を図り、迅速な補正を実施でき、その補正によって当初(例えば工場設定時)の位置に基づいた所望の位置精度(下位トラック114の周期Tdt単位での位置精度)を確保することを可能としている(なお、ユニットタイプのリニアエンコーダで、スケールと検出ヘッドとにマークを付したものが存在するが、その目的は、リニアモータの磁極検出のためのものであり、本発明とは課題・目的が異なるものである)。
具体的には、スケール110の特定箇所である基準マーク110Aと検出ヘッド120の特定箇所である基準マーク120Aとを検出ヘッド120の移動方向Xで一致させた位置を基準位置Oとして設定し、その際(例えば工場出荷時等)に基準位置Oで位置データの一部をなす周期Tdtの数番号データMoを求める。そして、機械装置に組付けた際にも基準位置Oで数番号データMo1を求める。求められた数番号データMo、Mo1から差分データΔMoを求めて、その差分データΔMoで位置データXprtを補正する。このため、アブソリュート型リニアエンコーダ100を機械装置に組付けた際、当初(例えば工場出荷時等)の位置関係と異なる位置関係でスケール110と検出ヘッド120が事実上組付けられた場合でも、迅速に位置データXprtの補正を行い、当初(例えば工場出荷時等)の位置に基づき、大きな位置ずれの生じない下位トラック114の周期Tdt単位での位置精度で、絶対位置Xabsを求めることが可能となる。なお、補正に用いる差分データΔMoは、下位トラック114の周期Tdtの数番号データMo、Mo1から求められているので、位置補正にかかる処理時間は短くて済むので、極めて迅速に位置補正(下位トラック114の周期Tdt内に絶対位置を追い込んで、大きな位置ずれを防止すること)を実行することができる。
なお、本発明に用いる基準位置Oはあくまでも位置補正のための基準位置であって、アブソリュート型リニアエンコーダ100で実際に位置計測する際には、基準となる位置を任意に設定することができる。
次に、本発明に係わる第2実施形態について、図11〜図13までを用いて説明する。第1実施形態では、周期Tdtの数番号データMo、Mo1を用いて差分データΔMoを求めて位置の補正を行っていたが、第2実施形態は、上位トラック112及び下位トラック114の位相量P1、P2から求められる位置データXo、Xo1を用いて補正を行う点で、第1実施形態とは異なるものである。このため、数番号データMo、Mo1より高い分解能の情報を有する位置データXo、Xo1を用いて位置補正を行うので、第2実施形態は第1実施形態に比べてより高分解能に位置を補正することができる。なお、図11は当初(例えば工場出荷時等)の基準位置Oでの位置データXoを保存し、図12は位置データXo、Xo1を用いて差分データΔXoを求め、図13は差分データΔXoを用いて位置データXprtを補正するフロー図、をそれぞれ示したものである。
本発明について上記実施形態を挙げて説明したが、本発明は上記実施形態に限定されるものではない。即ち本発明の要旨を逸脱しない範囲においての改良並びに設計の変更が可能なことは言うまでもない。
例えば、第1実施形態においては、下位トラック114の周期Tdt単位での補正であったが、本発明はこれに限定されない。例えば、下位トラック1の周期単位での補正の後に、その周期内の補正を組み合わせてもよい。
又、上記実施形態においては、スケール110は、上位トラック112と下位トラック114とを有していたが、本発明はこれに限定されるものではない。例えば、図14に示す第3実施形態の如く、アブソリュート型リニアエンコーダ101が、上位トラック112Aと、下位トラックに分類されるトラック(中位トラックと称する)113Aと、下位トラック114Aとを有するスケール111を有する場合であっても構わない。この場合には検出ヘッド121は3つのトラックに対応したセンサ122A、123A、124Aを有するものとなる。このため、上位トラック112Aと下位トラック114Aとのトラック比TRを大きくとったとしても、中位トラック113Aがその間に存在するため、スケール111における絶対位置検出範囲を拡大できると共に、位置精度を高分解能に維持することができる。
又、上記実施形態においては、トラック比は4であったが、本発明はこれに限定されない。例えば、図15の第3実施形態に示す如く、上位トラック112Aと中位トラック113Aのトラック比、中位トラック113Aと下位トラック114Aのトラック比をそれぞれ、8としてもよいし、2つのトラック比を同一としなくてもよい。又、下位トラックが第3実施形態のように複数(中位トラック113Aと下位トラック114A)存在するときには、本発明を必ずしも下位トラック114Aに適用する必要もなく、中位トラック113Aに適宜に適用することもできる。
又、上記実施形態においては、アブソリュート型リニアエンコーダ100、101は電磁誘導方式を用いていたが、本発明はこれに限定されるものではない。例えば、光電式を用いても構わない。
又、上記実施形態においては、検出ヘッド120、121は1つであったが、本発明はこれに限定されるものではない。例えば、検出ヘッドがスケールに対して複数設けられていても構わない。この場合には、スケール110、111の特定箇所を共通にして位置補正をすることができるで、同一の座標系で、複数の検出ヘッドすべてについて、当初(例えば工場出荷時等)の位置精度基づき、絶対位置を求めることが可能となる。
本発明の第1実施形態に係るアブソリュート型リニアエンコーダの概略斜視図 同じく検出ヘッドのスケールと検出ヘッドの摸式図 同じく概略ブロック図を示す図 同じく2つのトラック(上位トラックと下位トラック)を有するスケールを走査したときの検出ヘッドで検出される位相量を示す図 同じく上位トラックと下位トラックを用いての位置データ算出を示すフロー図を示す図 同じく基準位置を設定した際の基準位置と下位トラックとの関係を示す図 同じく基準位置を設定した際の基準位置での位置データ算出を示すフロー図を示す図 同じく機械装置に組付けた際の基準位置と下位トラックとの関係を示す図 同じく機械装置に組付けた際の基準位置での位置データ算出と差分データを求めるフロー図を示す図 同じく求めた差分データを用いて位置補正を行うフロー図を示す図 本発明の第2実施形態に係るアブソリュート型リニアエンコーダの基準位置を設定した際の基準位置での位置データ算出を示すフロー図を示す図 同じく機械装置に組付けた際の基準位置での位置データ算出と差分データを求めるフロー図を示す図 同じく求めた差分データを用いて位置補正を行うフロー図を示す図 本発明の第3実施形態に関るスケールと検出ヘッドの摸式図 同じく3つのトラック(上位トラックと中位トラックと下位トラック)を有するスケールを走査したときの検出ヘッドで検出される位相量を示す図 セパレートタイプのアブソリュート型リニアエンコーダに存在する組付け誤差要因を示す摸式図
符号の説明
100、101…アブソリュート型リニアエンコーダ
110、111…スケール
110A、120A…基準マーク
112、112A…上位トラック
113A…中位トラック
114、114A…下位トラック
120、121…検出ヘッド
122、122A、123A、124、124A…センサ
126…処理回路
128…記憶回路
130…表示器

Claims (4)

  1. 適用対象となる機械装置に組付けの際に互いの位置関係が調整可能な、複数のトラックを有するスケールと、該スケールから自身の位置を検出する検出ヘッドとを有して、該複数のトラックのうちの1つ以上が該スケールの全長に対して複数回の周期で該検出ヘッドに同一の出力をさせる下位トラックであるアブソリュート型リニアエンコーダにおいて、
    前記スケールの特定箇所と前記検出ヘッドの特定箇所とを該検出ヘッドの移動方向で一致させた位置を基準位置として、該基準位置を設定した際に該基準位置で求められるいずれか1つの下位トラックの周期の数番号データと、前記機械装置に組付けた際に該基準位置で求められる該下位トラックの周期の数番号データと、の差である差分データを記憶する記憶回路と、
    前記差分データを前記記憶回路より読み出して、該差分データにより該検出ヘッドで求められる位置データを補正する処理回路と、
    を備えることを特徴とするアブソリュート型リニアエンコーダ。
  2. 適用対象となる機械装置に組付けの際に互いの位置関係が調整可能な、複数のトラックを有するスケールと、該スケールから自身の位置を検出する検出ヘッドとを有するアブソリュート型リニアエンコーダにおいて、
    前記スケールの特定箇所と前記検出ヘッドの特定箇所とを該検出ヘッドの移動方向で一致させた位置を基準位置として、該基準位置を設定した際に該基準位置で求められる位置データと、前記機械装置に組付けた際に該基準位置で求められる位置データと、の差である差分データを記憶する記憶回路と、
    前記差分データを前記記憶回路より読み出して、該差分データにより該検出ヘッドで求められる位置データを補正する処理回路と、
    を備えることを特徴とするアブソリュート型リニアエンコーダ。
  3. 適用対象となる機械装置に組付けの際に互いの位置関係が調整可能な、複数のトラックを有するスケールと、該スケールから自身の位置を検出する検出ヘッドとを有して、該複数のトラックのうちの1つ以上が該スケールの全長に対して複数回の周期で該検出ヘッドに同一の出力をさせる下位トラックであるアブソリュート型リニアエンコーダの位置調整方法において、
    前記スケールの特定箇所と前記検出ヘッドの特定箇所とを該検出ヘッドの移動方向で一致させた位置を基準位置として、該基準位置を設定した際に該基準位置でいずれか1つの下位トラックの周期の数番号データを求め、
    前記機械装置に組付けた際に該下位トラックの周期の数番号データを求め、
    該基準位置での両数番号データの差である差分データを求めて、
    該差分データにより該検出ヘッドで求められる位置データを補正する
    ことを特徴とするアブソリュート型リニアエンコーダの位置調整方法。
  4. 適用対象となる機械装置に組付けの際に互いの位置関係が調整可能な、複数のトラックを有するスケールと、該スケールから自身の位置を検出する検出ヘッドとを有するアブソリュート型リニアエンコーダの位置調整方法において、
    前記スケールの特定箇所と前記検出ヘッドの特定箇所とを該検出ヘッドの移動方向で一致させた位置を基準位置として、該基準位置を設定した際に該基準位置で位置データを求め、
    前記機械装置に組付けた際に該基準位置で位置データを求め、
    該基準位置での両位置データの差である差分データを求めて、
    該差分データにより該検出ヘッドで求められる位置データを補正する
    ことを特徴とするアブソリュート型リニアエンコーダの位置調整方法。
JP2008190638A 2008-07-24 2008-07-24 アブソリュート型リニアエンコーダ、及び、その位置調整方法 Expired - Fee Related JP5073603B2 (ja)

Priority Applications (1)

Application Number Priority Date Filing Date Title
JP2008190638A JP5073603B2 (ja) 2008-07-24 2008-07-24 アブソリュート型リニアエンコーダ、及び、その位置調整方法

Applications Claiming Priority (1)

Application Number Priority Date Filing Date Title
JP2008190638A JP5073603B2 (ja) 2008-07-24 2008-07-24 アブソリュート型リニアエンコーダ、及び、その位置調整方法

Publications (2)

Publication Number Publication Date
JP2010025879A true JP2010025879A (ja) 2010-02-04
JP5073603B2 JP5073603B2 (ja) 2012-11-14

Family

ID=41731844

Family Applications (1)

Application Number Title Priority Date Filing Date
JP2008190638A Expired - Fee Related JP5073603B2 (ja) 2008-07-24 2008-07-24 アブソリュート型リニアエンコーダ、及び、その位置調整方法

Country Status (1)

Country Link
JP (1) JP5073603B2 (ja)

Cited By (4)

* Cited by examiner, † Cited by third party
Publication number Priority date Publication date Assignee Title
WO2011125357A1 (ja) * 2010-04-02 2011-10-13 株式会社安川電機 エンコーダ、駆動装置、絶対位置算出方法及びエンコーダ製造方法
EP2383544A1 (en) 2010-04-28 2011-11-02 Mitutoyo Corporation Optical encoder
JP2014153175A (ja) * 2013-02-07 2014-08-25 Mitsutoyo Corp セパレート式エンコーダ
CN113212395A (zh) * 2020-02-06 2021-08-06 Tdk株式会社 行程传感器的安装方法

Citations (2)

* Cited by examiner, † Cited by third party
Publication number Priority date Publication date Assignee Title
JPH04130218A (ja) * 1990-09-20 1992-05-01 Sony Magnescale Inc 位置検出装置
JP2005017220A (ja) * 2003-06-27 2005-01-20 Okuma Corp リニアエンコーダ

Patent Citations (2)

* Cited by examiner, † Cited by third party
Publication number Priority date Publication date Assignee Title
JPH04130218A (ja) * 1990-09-20 1992-05-01 Sony Magnescale Inc 位置検出装置
JP2005017220A (ja) * 2003-06-27 2005-01-20 Okuma Corp リニアエンコーダ

Cited By (10)

* Cited by examiner, † Cited by third party
Publication number Priority date Publication date Assignee Title
WO2011125357A1 (ja) * 2010-04-02 2011-10-13 株式会社安川電機 エンコーダ、駆動装置、絶対位置算出方法及びエンコーダ製造方法
JP5408342B2 (ja) * 2010-04-02 2014-02-05 株式会社安川電機 エンコーダ、駆動装置、絶対位置算出方法及びエンコーダ製造方法
EP2554950A4 (en) * 2010-04-02 2014-10-22 Yaskawa Denki Seisakusho Kk CODING DEVICE, DRIVE DEVICE, METHOD FOR CALCULATING AN ABSOLUTE POSITION AND METHOD FOR MANUFACTURING THE CODING DEVICE
US8912928B2 (en) 2010-04-02 2014-12-16 Kabushiki Kaisha Yaskawa Denki Encoder, driving apparatus, method for calculating absolute position, and method for manufacturing encoder
EP2383544A1 (en) 2010-04-28 2011-11-02 Mitutoyo Corporation Optical encoder
JP2014153175A (ja) * 2013-02-07 2014-08-25 Mitsutoyo Corp セパレート式エンコーダ
CN113212395A (zh) * 2020-02-06 2021-08-06 Tdk株式会社 行程传感器的安装方法
JP2021124409A (ja) * 2020-02-06 2021-08-30 Tdk株式会社 ストロークセンサの取り付け方法
US11320252B2 (en) 2020-02-06 2022-05-03 Tdk Corporation Method of installing stroke sensor
US11674790B2 (en) 2020-02-06 2023-06-13 Tdk Corporation Method of installing stroke sensor

Also Published As

Publication number Publication date
JP5073603B2 (ja) 2012-11-14

Similar Documents

Publication Publication Date Title
US8290732B2 (en) Absolute type linear encoder and method for adjusting position thereof
US10476413B2 (en) Method for determining the absolute position of a rotor of a linear motor
CN104303018B (zh) 用于借助于串联布置的多个磁场传感器非接触式测量位置的位移传感器
CN101971471B (zh) 使用磁场的位置测量
JP5073603B2 (ja) アブソリュート型リニアエンコーダ、及び、その位置調整方法
TWI593944B (zh) 線性編碼器裝置及基準位置檢測方法
JP5601876B2 (ja) セパレート型エンコーダ、及び、その取付方法
US7265460B2 (en) Position detecting device of linear motor
US7292002B2 (en) Control method for twin synchronization
KR101050164B1 (ko) 리니어 모터 및 그 제어방법
US20130004256A1 (en) Thermal compensation system for a milling machine
WO2008072525A1 (ja) シャフト型リニアモータの位置決め装置
JP5467472B2 (ja) シャフト型リニアモータの位置検出装置
JP3876685B2 (ja) 門型ステージ装置の駆動方法
JP4942736B2 (ja) 2次側部分の歯構造の無接触走査を備えた同期リニアモータ
JP2007155617A (ja) 回転角度検出装置及び回転角度検出方法
JP2007114121A (ja) 位置検出装置、交換レンズおよびカメラ
KR102748439B1 (ko) 스케일리스 리니어 모터 시스템 및 그 제어 방법
JP2011036065A (ja) モータ制御方法およびモータ制御装置
CN118525188A (zh) 磁传感器系统和用于该磁传感器系统的距离测量方法
JP4745051B2 (ja) 磁気ライン式位置センサ
JP2006284415A (ja) 位置検出装置およびカメラ
JP2003057072A (ja) リニアエンコーダ
JP2007178158A (ja) 磁気ライン式位置センサ
JP2006200969A (ja) 平面モータ

Legal Events

Date Code Title Description
A621 Written request for application examination

Free format text: JAPANESE INTERMEDIATE CODE: A621

Effective date: 20110601

A977 Report on retrieval

Free format text: JAPANESE INTERMEDIATE CODE: A971007

Effective date: 20120719

TRDD Decision of grant or rejection written
A01 Written decision to grant a patent or to grant a registration (utility model)

Free format text: JAPANESE INTERMEDIATE CODE: A01

Effective date: 20120807

A01 Written decision to grant a patent or to grant a registration (utility model)

Free format text: JAPANESE INTERMEDIATE CODE: A01

A61 First payment of annual fees (during grant procedure)

Free format text: JAPANESE INTERMEDIATE CODE: A61

Effective date: 20120822

R150 Certificate of patent or registration of utility model

Ref document number: 5073603

Country of ref document: JP

Free format text: JAPANESE INTERMEDIATE CODE: R150

Free format text: JAPANESE INTERMEDIATE CODE: R150

FPAY Renewal fee payment (event date is renewal date of database)

Free format text: PAYMENT UNTIL: 20150831

Year of fee payment: 3

R250 Receipt of annual fees

Free format text: JAPANESE INTERMEDIATE CODE: R250

R250 Receipt of annual fees

Free format text: JAPANESE INTERMEDIATE CODE: R250

R250 Receipt of annual fees

Free format text: JAPANESE INTERMEDIATE CODE: R250

LAPS Cancellation because of no payment of annual fees