JP2010025053A - ピストン式圧縮機 - Google Patents

ピストン式圧縮機 Download PDF

Info

Publication number
JP2010025053A
JP2010025053A JP2008189939A JP2008189939A JP2010025053A JP 2010025053 A JP2010025053 A JP 2010025053A JP 2008189939 A JP2008189939 A JP 2008189939A JP 2008189939 A JP2008189939 A JP 2008189939A JP 2010025053 A JP2010025053 A JP 2010025053A
Authority
JP
Japan
Prior art keywords
piston
type compressor
piston ring
cylinder bore
compressor according
Prior art date
Legal status (The legal status is an assumption and is not a legal conclusion. Google has not performed a legal analysis and makes no representation as to the accuracy of the status listed.)
Granted
Application number
JP2008189939A
Other languages
English (en)
Other versions
JP5164710B2 (ja
Inventor
Yoshihiro Ochiai
芳宏 落合
Current Assignee (The listed assignees may be inaccurate. Google has not performed a legal analysis and makes no representation or warranty as to the accuracy of the list.)
Sanden Corp
Original Assignee
Sanden Corp
Priority date (The priority date is an assumption and is not a legal conclusion. Google has not performed a legal analysis and makes no representation as to the accuracy of the date listed.)
Filing date
Publication date
Application filed by Sanden Corp filed Critical Sanden Corp
Priority to JP2008189939A priority Critical patent/JP5164710B2/ja
Publication of JP2010025053A publication Critical patent/JP2010025053A/ja
Application granted granted Critical
Publication of JP5164710B2 publication Critical patent/JP5164710B2/ja
Expired - Fee Related legal-status Critical Current
Anticipated expiration legal-status Critical

Links

Images

Landscapes

  • Compressor (AREA)

Abstract

【課題】圧縮機の性能を低下させることなく、簡便な構造にてピストンリング・シリンダボア摩耗防止とクランク室内の十分な潤滑を達成可能なピストン式圧縮機を提供する。
【解決手段】ピストンリングが装着されたピストンを有し、ピストンリングの外周面の少なくとも一部が、ピストントップ側の外径がより小さくなるテーパ形状部に形成されていることを特徴とするピストン式圧縮機。
【選択図】図3

Description

本発明は、ピストン式圧縮機に関し、とくに、ピストンとシリンダボア間のシール部材であるピストンリング部の構造に関する。
ピストンにピストンリングを装着したピストン式圧縮機として、特許文献1に記載のものが知られている。特許文献1に記載の構造は、ピストンのピストンリング溝内に収容されたピストンリングとピストンリング溝の底面の間に圧力導入用の隙間を設けたものである。また、特許文献2には、ピストンリングの自由外径がシリンダボア径よりも大きく形成されたピストンをシリンダボア内へ挿入するための技術が開示されている。
実開平2−105588号公報 特開平11−247759号公報
ところが、特許文献1、2に記載された上記のような構造は、ピストンリングに背圧を作用させたり、ピストンリングの弾性力によりピストンリングのシリンダボアへの押し付け力の向上を狙ったものであり、圧縮機の性能の安定、向上を目的とするものである。ピストンリングまたはシリンダボアの材質にもよるが、ピストンリングのシリンダボアへの押し付け力が大きくなると、シリンダボアの摩耗またはピストンリングの摩耗により圧縮機の性能が低下するおそれがある。また、ピストンリングとシリンダボアとの間のシール性能が高くなりすぎると、ブローバイガスの量が減り、ブローバイガス中に含まれる潤滑油によるクランク室内の摺動部品への潤滑油の供給が不足し、摩耗や焼き付きの発生が懸念される。
上記のような問題の解決手段として、オリフィスを介して高圧ガスをクランク室へ導入する方法や、高圧領域にオイルセパレータを設けてオイルをクランク室へ導入する方法が考えられる。しかし、これらの方法には、オリフィスの異物による詰まりや、圧縮機の構造が複雑化するという問題を招くおそれがある。
そこで本発明の課題は、上記のような問題点に着目し、圧縮機の性能を低下させることなく、簡便な構造にてピストンリング・シリンダボア摩耗防止とクランク室内の十分な潤滑を達成可能なピストン式圧縮機を提供することにある。
上記課題を解決するために、本発明に係るピストン式圧縮機は、ピストンリングが装着されたピストンを有し、前記ピストンリングの外周面の少なくとも一部が、ピストントップ側の外径がより小さくなるテーパ形状部に形成されていることを特徴とするものからなる。
このような形状のピストンリングを有することにより、とくにピストンが上死点に向かうときに、ピストンリングのテーパ形状部がシリンダボア内面に付着している潤滑油を取り込んでいくことができ、テーパ形状部に取り込まれた潤滑油によりピストンリングとシリンダボア間が良好な潤滑状態とされる。良好な潤滑状態の確保により、ピストンリング・シリンダボア間での摩耗が防止される。また、ピストンリングの内径面に作用するガス圧によりピストンリングはシリンダボアに押し付けられ、シリンダボアに対しピストンリングの外周面には面圧がかかるが、この面圧は潤滑油の油膜を介してかかることになるので、上記テーパ形状部の形状を油膜を確保可能な適切な形状に設定しておきさえすれば、テーパ形状部のある場合とない場合とでは、ピストンリングの面圧は実質的に変わらない。したがって、ピストンリングとシリンダボアとの間の所望のシール性能が確保され、所望の圧縮機の圧縮性能が維持される。さらに、ピストンリングのテーパ形状部によって適切に取り込まれた潤滑油は、ブローバイガスの流れとともにクランク室側へと導入されることが可能であり、かつ、ピストンが下死点に向かうときには、上記テーパ形状部は形状的に潤滑油取り込み方向には作用しないが、従来のピストンリング同様、ピストンリングのピストン下死点側角部でシリンダボア内面に付着している潤滑油が掻き落とされ、クランク室側へと導入されることが可能である。すなわち、ピストンの往復動とブローバイガスにより、シリンダボア内面に付着している潤滑油が、ピストン上死点側とは反対側のクランク室側へと選択的に導かれることになり、クランク室内の十分な潤滑の達成が可能となる。
このような本発明に係るピストン式圧縮機においては、上記ピストンリングのテーパ形状部は、そのテーパ形状部における軸方向長さ>径方向長さの関係を満たしていることが好ましい。このような関係を満たすテーパ形状部に形成することにより、上述した潤滑油の取り込み作用が良好に発揮され、良好な潤滑状態の確保に寄与できる。
また、本発明に係るピストン式圧縮機においては、上記ピストンリングの外周面を、ピストン軸方向全長にわたって上記テーパ形状部に形成することも可能であるが、ピストンリングの外周面の上記テーパ形状部のピストン下死点側に、ピストンがシリンダボアに挿入された状態でシリンダボア内面に対し平行に延びる直線形状部が形成されていることが好ましい。このような直線形状部と上記テーパ形状部をともに備えていることにより、テーパ形状部による潤滑油取り込み性能を維持しつつ、シリンダボア内面に対するピストンリングの所望の面圧の確保がより達成しやすくなる。
また、上記ピストンリングが、ピストン下死点側に、ピストンリングの外周面から凹んだ形状の油保持部を備えている形態、あるいは、上記ピストンが、ピストンリングのピストン下死点側に、ピストンの外周面から凹んだ形状の油保持部を備えている形態を採用することもできる。この場合、ピストンリングの油保持部あるいはピストンの油保持部は、ピストンに設けられた溝または孔を介してクランク室側に連通されていることが好ましい。このような形態においては、油保持部に保持された潤滑油が、ピストンに設けられた溝または孔を介して容易にクランク室側に導かれるようになり、クランク室内のより良好な潤滑状態の達成が可能となる。
被圧縮流体が冷媒からなる場合には、ピストンリングとシリンダボアとの間には高いシール性能と高い耐摩耗性が求められるが、本発明に係るピストン式圧縮機の構造は、このような場合に好適なものである。中でも、冷媒が二酸化炭素からなる場合には、他の冷媒に比べ、はるかに高圧使用となるので、本発明に係るピストン式圧縮機の構造はとくに好適に使用できる。さらに、圧縮機が車両用空調装置に使用されるものである場合には、長期間にわたって安定した性能、高い耐摩耗性が求められるが、本発明に係るピストン式圧縮機の構造はこのような用途に対してとくに好適なものである。
このように、本発明に係るピストン式圧縮機によれば、ピストンリングの外周面に特定の形状に関する方向性を有するテーパ形状部を設けたので、潤滑油を適切に取り込んでピストンリングとシリンダボアとの間の摺動面を良好な潤滑状態に保つことができ、ピストンリング・シリンダボアの摩耗を抑制することができる。
また、ピストンリングとシリンダボアとの間のシール性についても、通常、シリンダボア内面、ピストンリング外周面の仕上げ精度を向上させれば、ピストンリングとシリンダボア間のシール性能を向上させることができるが、その場合、部品製作の工程が煩雑となりコストアップの要因となる。しかし本発明では、ピストンリングとシリンダボア間が良好な潤滑状態に保たれ、その間に適切に取り込まれ保持されている潤滑油を介してシール性能が維持・向上させることができる。つまり、過度に仕上げ精度を向上させることなく、所望のシール性能が得られる。
また、ピストンが下死点から上死点に向かう場合にテーパ形状部により適切に取り込まれた潤滑油は、ピストンが上死点から下死点に向かう場合には、テーパ形状部に対しては形状的に掻き落されずにシリンダボア内面付着状態に維持されるが、シリンダボア内面に付着している潤滑油をピストンリングの下死点側のエッジで掻き落すようにすることにより、容易にクランク室側に向かう選択的な指向性を持たせて潤滑油をクランク室側へと導くことができ、クランク室内に十分な潤滑油量を与えて、クランク室内の摺動部や可動部の潤滑状態を向上することができる。この場合、ピストンリングの下死点側やそれに隣接するピストン部位に油保持部を設け、その油保持部からピストンに設けた溝や孔を介して潤滑油をクランク室側へと導くことができるようにしておけば、クランク室内の潤滑状態を一層向上することができる。そして、クランク室内の潤滑油量の増大により、例えば冷凍回路中を循環する油量を相対的に減少することが可能になり、冷凍回路中に配置されている熱交換器の効率を向上させて空調システム全体の省エネルギー化をはかることも可能になる。さらに、上記油保持部からピストンに設けた溝や孔を介して導かれる潤滑油を、潤滑をとくに必要とする部位に向けることにより、全体として少ない潤滑油量であっても効率よく良好な潤滑状態に維持できるようになる。
以下に、本発明の望ましい実施の形態について、図面を参照しながら説明する。
図1は、本発明の一実施態様に係るピストン式圧縮機のピストン周りの構造を示しており、ピストンが上死点に向かう状態を示している。図2は、比較のための従来構造を示しており、同様に、ピストンが上死点に向かう状態を示している。図2に示した従来構造では、シリンダボア101に往復動自在に挿入されたピストン102の環状に延びるピストンリング溝103に装着されたピストンリング104は、その外周面が、シリンダボア101の内面と実質的に平行に広がる、断面で見た場合、直線的に延びる直線形状部として形成されている。図1に示した本発明の一実施態様に係るピストン式圧縮機においては、シリンダボア1に往復動自在に挿入されたピストン2の環状に延びるピストンリング溝3に装着されたピストンリング4は、図3に拡大図を示すように、その外周面5の一部としてのピストントップ側部分が、ピストントップ側(図3の右側)の外径がより小さくなるテーパ形状部6に形成されており、外周面5のテーパ形状部6のピストン下死点側(図3の左側)に、シリンダボア1の内面に対し実質的に平行に延びる直線形状部7が形成されている。ピストンリング4の外周面5の全面をテーパ形状部6に形成することも可能であるが、本実施態様のように、ピストントップ側のテーパ形状部6とピストン下死点側の直線形状部7の両方を有することが好ましい。
上記テーパ形状部6の軸方向長さ(図4にLaで示す)と径方向長さ(図4にLrで示す)は、La>Lrの関係を満たしていることが好ましい。
図1と図2を比較しながら説明するに、図1および図3と、図2は、ともに、ピストン2、102が上死点に向かう状態を示している。ピストンリング4、104の内径面に作用しているガス圧によりピストンリング4、104は、シリンダボア1、101の内面に押し付けられている。図1と図2のシリンダボア1、101との接触面積は異なるが、内圧が作用する面積は等しいので、シリンダボア1、101の内面に対する潤滑油油膜を介してのピストンリング4、104の外周面に作用する面圧は、図1と図2間で同等である。しかし、図1の本実施態様に係るピストンリング4では、ピストン2が上死点に向かうとき、ピストントップ側のテーパ形状部6によりシリンダボア1の内面上に付着していた潤滑油が順次取り込まれていき、取り込まれた潤滑油は、テーパ形状部6とシリンダボア1の内面との間に介在されるとともに、直線形状部7とシリンダボア1の内面との間に順次導かれていき、ピストンリング4とシリンダボア1間が全面にわたって良好な潤滑状態とされる。図2に示した従来構造に係るピストンリング104では、ピストントップ側のエッジ部により潤滑油が掻き落されてしまう。
このような良好な潤滑状態により、ピストンリング4・シリンダボア1間での摩耗が防止される。また、上述の如く、La>Lrの関係を満たす適切な形状のテーパ形状部6を形成しておくことにより、一層良好な潤滑状態を実現でき、また、ピストンリング4・シリンダボア1間に常時油膜を維持して、所望の面圧を維持でき、この間の良好なシール性能も確保できる。したがって、所望の圧縮機の圧縮性能が維持される。また、ピストン2の往復動とブローバイガスにより、シリンダボア1の内面に付着していた潤滑油がクランク室側へと導かれる。とくに、ピストン2が上死点に向かうときにピストンリング4のテーパ形状部6によって適切に取り込まれた潤滑油は、ブローバイガスの流れとともにクランク室側へと導入されることが可能であり、かつ、ピストン2が下死点に向かうときには、従来のピストンリング同様、ピストンリング4のピストン下死点側角部でシリンダボア1の内面に付着している潤滑油が掻き落され、クランク室側へと導入されることが可能である。ピストン2が上死点に向かうときのテーパ形状部6による潤滑油取り込み方向と、ピストン2が下死点に向かうときのピストンリング4のピストン下死点側角部による潤滑油の掻き落し方向は同方向であるから、ピストン2の往復動に伴って潤滑油が選択的に(選択された方向に、つまり、クランク室側に向かう方向に)順次導かれることになる。その結果、クランク室内の十分な潤滑油量が確保されることになり、クランク室内の潤滑が要求される部位が十分に潤滑されることになる。
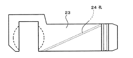
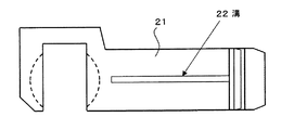
本発明においては、以下のような各種形態を付加することができる。例えば図5に示すように、ピストンリング11が、ピストン下死点側(図5の左側)に、ピストンリング11の外周面から凹んだ形状の油保持部12を備えている形態を採ることができる。また、図6に示すように、ピストン13が、ピストンリング4のピストン下死点側(図6の左側)に、ピストン13の外周面から凹んだ形状の油保持部14を備えている形態を採用することもできる。図5や図6に示した形態の場合、例えば図7に示すように、ピストン21の側面(外周面)に軸方向に延びる溝22を形成し、この溝22を上記ピストンリング11の油保持部12あるいはピストン13の油保持部14に連通させ、油保持部12、14が溝22を介してクランク室側に連通されるように構成されていることが好ましい。このような形態においては、油保持部12、14に保持された潤滑油が、溝22を介して容易にクランク室側に導かれるようになり、クランク室内のより良好な潤滑状態が可能となる。また、図8に示すように、上記溝22に代えて、あるいは上記溝22とともに、ピストン23の内部に油保持部12、14に連通する孔24を設け、同等の機能を持たせることができる。これら溝22や孔24の油保持部12、14とは反対側の開口端は、潤滑を必要とする部位に向けることが好ましい。
本発明に係るピストン式圧縮機は、冷媒圧縮機に好適であり、とくに耐圧性が要求される二酸化炭素冷媒圧縮機に好適であり、さらに、長期間にわたって安定した性能、高い耐摩耗性が求められる車両用空調装置に使用されるピストン式圧縮機として好適なものである。
本発明の一実施態様に係るピストン式圧縮機のピストン周りの構造を示す概略断面図である。 比較のために示した従来のピストン式圧縮機のピストン周りの構造を示す概略断面図である。 図1のA部の拡大概略断面図である。 本発明におけるテーパ形状部の軸方向長さと径方向長さを示す説明図である。 本発明の別の実施態様に係るピストン式圧縮機のピストンリング周りの構造を示す概略部分断面図である。 本発明のさらに別の実施態様に係るピストン式圧縮機のピストンリング周りの構造を示す概略部分断面図である。 本発明においてピストンに溝を設ける場合の一例を示すピストンの概略側面図である。 本発明においてピストンに孔を設ける場合の一例を示すピストンの概略側面図である。
符号の説明
1 シリンダボア
2、13、21、23 ピストン
3 ピストンリング溝
4、11 ピストンリング
5 ピストンリングの外周面
6 テーパ形状部
7 直線形状部
12、14 油保持部
22 溝
24 孔

Claims (10)

  1. ピストンリングが装着されたピストンを有し、前記ピストンリングの外周面の少なくとも一部が、ピストントップ側の外径がより小さくなるテーパ形状部に形成されていることを特徴とするピストン式圧縮機。
  2. 前記テーパ形状部は、その軸方向長さ>径方向長さの関係を満たしている、請求項1に記載のピストン式圧縮機。
  3. 前記ピストンリングの外周面の前記テーパ形状部のピストン下死点側に、ピストンがシリンダボアに挿入された状態でシリンダボア内面に対し平行に延びる直線形状部が形成されている、請求項1または2に記載のピストン式圧縮機。
  4. 前記ピストンリングが、ピストン下死点側に、前記ピストンリングの外周面から凹んだ形状の油保持部を備えている、請求項1〜3のいずれかに記載のピストン式圧縮機。
  5. 前記ピストンリングの油保持部が、ピストンに設けられた溝または孔を介してクランク室側に連通されている、請求項4に記載のピストン式圧縮機。
  6. 前記ピストンが、前記ピストンリングのピストン下死点側に、前記ピストンの外周面から凹んだ形状の油保持部を備えている、請求項1〜3のいずれかに記載のピストン式圧縮機。
  7. 前記ピストンの油保持部が、ピストンに設けられた溝または孔を介してクランク室側に連通されている、請求項6に記載のピストン式圧縮機。
  8. 被圧縮流体が冷媒からなる、請求項1〜7のいずれかに記載のピストン式圧縮機。
  9. 前記冷媒が二酸化炭素からなる、請求項8に記載のピストン式圧縮機。
  10. 車両用空調装置に用いられる、請求項1〜9のいずれかに記載のピストン式圧縮機。
JP2008189939A 2008-07-23 2008-07-23 ピストン式圧縮機 Expired - Fee Related JP5164710B2 (ja)

Priority Applications (1)

Application Number Priority Date Filing Date Title
JP2008189939A JP5164710B2 (ja) 2008-07-23 2008-07-23 ピストン式圧縮機

Applications Claiming Priority (1)

Application Number Priority Date Filing Date Title
JP2008189939A JP5164710B2 (ja) 2008-07-23 2008-07-23 ピストン式圧縮機

Publications (2)

Publication Number Publication Date
JP2010025053A true JP2010025053A (ja) 2010-02-04
JP5164710B2 JP5164710B2 (ja) 2013-03-21

Family

ID=41731108

Family Applications (1)

Application Number Title Priority Date Filing Date
JP2008189939A Expired - Fee Related JP5164710B2 (ja) 2008-07-23 2008-07-23 ピストン式圧縮機

Country Status (1)

Country Link
JP (1) JP5164710B2 (ja)

Cited By (1)

* Cited by examiner, † Cited by third party
Publication number Priority date Publication date Assignee Title
CN116006435A (zh) * 2022-12-22 2023-04-25 广西玉柴机器股份有限公司 一种空压机润滑油防气化结构

Families Citing this family (1)

* Cited by examiner, † Cited by third party
Publication number Priority date Publication date Assignee Title
KR101496772B1 (ko) * 2013-12-06 2015-02-27 주식회사 범서 피스톤링의 결합구조

Citations (4)

* Cited by examiner, † Cited by third party
Publication number Priority date Publication date Assignee Title
JPS5142111A (ja) * 1974-10-04 1976-04-09 Sanyo Electric Co Oofukudoshikiatsushukuki
JPS57131663U (ja) * 1981-02-10 1982-08-17
JPH0512673U (ja) * 1991-07-29 1993-02-19 株式会社豊田自動織機製作所 往復動式圧縮機のピストン
JPH11294322A (ja) * 1998-04-17 1999-10-26 Toyota Autom Loom Works Ltd 斜板式圧縮機

Patent Citations (4)

* Cited by examiner, † Cited by third party
Publication number Priority date Publication date Assignee Title
JPS5142111A (ja) * 1974-10-04 1976-04-09 Sanyo Electric Co Oofukudoshikiatsushukuki
JPS57131663U (ja) * 1981-02-10 1982-08-17
JPH0512673U (ja) * 1991-07-29 1993-02-19 株式会社豊田自動織機製作所 往復動式圧縮機のピストン
JPH11294322A (ja) * 1998-04-17 1999-10-26 Toyota Autom Loom Works Ltd 斜板式圧縮機

Cited By (1)

* Cited by examiner, † Cited by third party
Publication number Priority date Publication date Assignee Title
CN116006435A (zh) * 2022-12-22 2023-04-25 广西玉柴机器股份有限公司 一种空压机润滑油防气化结构

Also Published As

Publication number Publication date
JP5164710B2 (ja) 2013-03-21

Similar Documents

Publication Publication Date Title
US6935220B2 (en) Contoured piston
CN100501199C (zh) 用于降低油耗的侧轨和安装有这种侧轨的组合式控油环
US8701620B2 (en) Seal assembly for an internal combustion engine
JP2008020065A (ja) 油圧シリンダ内部防錆装置
JP5164710B2 (ja) ピストン式圧縮機
KR101047825B1 (ko) 양두 피스톤형 사판식 압축기
JP2009052451A (ja) 内燃機関のピストン
US9976452B1 (en) Reciprocating cylinder liner seal assembly
US20030024384A1 (en) Oil-less/oil free air brake compressors
JP2010223005A (ja) 内燃機関用ピストン及び内燃機関
JP2005069215A (ja) ピストン
KR101210839B1 (ko)
US7284526B2 (en) Ellipsoid roller bearing piston ring
US7938058B2 (en) Engine piston with rolling element skirt
JP3007852B2 (ja) 圧縮機
JP2009281232A (ja) ピストン往復動式圧縮機のピストンリング
CN205841139U (zh) 活塞连杆组件以及具有其的往复式压缩机
CN105781936A (zh) 活塞连杆组件以及具有其的往复式压缩机
JPH04136488A (ja) ピストンリングをもつ圧縮機用ピストン
JP2008240718A (ja) 二サイクル内燃機関におけるピストンの構造
JP3666170B2 (ja) 斜板型圧縮機
JP5528688B2 (ja) ピストン式圧縮機
JP2010285934A (ja) 内燃機関のピストン構造
JP4822123B2 (ja) オイルレスコンプレッサ
JP2009133231A (ja) 無給油式真空ポンプ

Legal Events

Date Code Title Description
A621 Written request for application examination

Free format text: JAPANESE INTERMEDIATE CODE: A621

Effective date: 20110715

A977 Report on retrieval

Free format text: JAPANESE INTERMEDIATE CODE: A971007

Effective date: 20120903

A131 Notification of reasons for refusal

Free format text: JAPANESE INTERMEDIATE CODE: A131

Effective date: 20120907

A521 Written amendment

Free format text: JAPANESE INTERMEDIATE CODE: A523

Effective date: 20121106

TRDD Decision of grant or rejection written
A01 Written decision to grant a patent or to grant a registration (utility model)

Free format text: JAPANESE INTERMEDIATE CODE: A01

Effective date: 20121207

A61 First payment of annual fees (during grant procedure)

Free format text: JAPANESE INTERMEDIATE CODE: A61

Effective date: 20121218

FPAY Renewal fee payment (event date is renewal date of database)

Free format text: PAYMENT UNTIL: 20151228

Year of fee payment: 3

R150 Certificate of patent or registration of utility model

Free format text: JAPANESE INTERMEDIATE CODE: R150

S533 Written request for registration of change of name

Free format text: JAPANESE INTERMEDIATE CODE: R313533

R350 Written notification of registration of transfer

Free format text: JAPANESE INTERMEDIATE CODE: R350

LAPS Cancellation because of no payment of annual fees