JP2010024767A - ストライク穴調整構造 - Google Patents

ストライク穴調整構造 Download PDF

Info

Publication number
JP2010024767A
JP2010024767A JP2008190000A JP2008190000A JP2010024767A JP 2010024767 A JP2010024767 A JP 2010024767A JP 2008190000 A JP2008190000 A JP 2008190000A JP 2008190000 A JP2008190000 A JP 2008190000A JP 2010024767 A JP2010024767 A JP 2010024767A
Authority
JP
Japan
Prior art keywords
strike
side plate
strike hole
adjustment block
inclined surface
Prior art date
Legal status (The legal status is an assumption and is not a legal conclusion. Google has not performed a legal analysis and makes no representation as to the accuracy of the status listed.)
Granted
Application number
JP2008190000A
Other languages
English (en)
Other versions
JP5289849B2 (ja
Inventor
Ryuji Murakami
龍司 村上
Current Assignee (The listed assignees may be inaccurate. Google has not performed a legal analysis and makes no representation or warranty as to the accuracy of the list.)
Miwa Lock KK
Miwa Lock Co Ltd
Original Assignee
Miwa Lock KK
Miwa Lock Co Ltd
Priority date (The priority date is an assumption and is not a legal conclusion. Google has not performed a legal analysis and makes no representation as to the accuracy of the date listed.)
Filing date
Publication date
Application filed by Miwa Lock KK, Miwa Lock Co Ltd filed Critical Miwa Lock KK
Priority to JP2008190000A priority Critical patent/JP5289849B2/ja
Publication of JP2010024767A publication Critical patent/JP2010024767A/ja
Application granted granted Critical
Publication of JP5289849B2 publication Critical patent/JP5289849B2/ja
Expired - Fee Related legal-status Critical Current
Anticipated expiration legal-status Critical

Links

Images

Landscapes

  • Specific Sealing Or Ventilating Devices For Doors And Windows (AREA)

Abstract

【課題】少ない部品で、扉のガタツキを容易に防止でき、しかも、見栄えがよく、スムースな開扉が可能となるストライク穴調整構造を得る。
【解決手段】ストライク穴調整構造において、空間17を有するトロヨケ5と、ストライク穴19を有するとともにボルトガイド片23が延設された金属製のストライク板7と、トロヨケ5に嵌入する角筒状に形成され軸線方向一端側における一対の側板部33a,33bと他端側における一対の側板部33c,33dの板厚とがそれぞれ異なる厚みで形成された樹脂製の調整ブロック29と、ストライク穴19から表出する側板部33a,33bの端面に形成され調整ブロック29の内側へ下る側板傾斜面37aと、ストライク穴19のガイド片側の辺部に形成され側板傾斜面37aに接続して調整ブロック29の内側へ下るストライク傾斜面39とを設けた。
【選択図】 図1

Description

本発明は、扉開閉端から突出される錠ボルトの側部衝止位置が扉厚み方向に調整可能となるストライク穴調整構造に関する。
扉は、開閉端から突出させたラッチボルト(デッドボルト兼用のものも含む)、デッドボルト、又はグレモン錠係止杆、或いはこれらを適宜組み合わせた施錠係止手段(以下、「錠ボルト」と言う。)を、扉開口枠又は両開き扉の他方の扉(以下、「非開閉体」と言う。)に係止して閉扉、施錠を可能とする。錠ボルトは、扉開閉端から突出され、非開閉体に固定したストライク板の開口穴であるストライク穴に進入することで、錠ボルト側部がストライク穴の衝止縁に当接して扉を開放不能に施錠する。
この種の施錠構造では、扉開口枠と扉との建て付けや、施錠装置の施工・製造誤差により、錠ボルトと衝止縁との間に隙間が生じ、その結果、風や振動によって扉にガタツキの生じる場合がある。このような不具合を解消したものに、例えば特許文献1に開示される調整式ストライクがある。この調整式ストライクは、調整用のネジをドライバ等の工具で回すだけで、錠ボルトに対する係合部(衝止縁)を有する内ケースの水平方向の位置を容易に調整でき、扉のガタツキを無くすように構成されている。
特開平10−102839号公報
しかしながら、上記した従来の調整式ストライクに採用されているストライク穴調整機構は、部品点数が多く構造が複雑である問題があった。また、調整ネジの頭部に工具係着部を設け、その工具係着部を内ケース内に露出させているため、扉の開放時に、ストライク板を固定する螺合手段であるネジ、調整ネジ等の多数のネジ類が表出し、見栄えを低下させる問題があった。また、扉の開放時に工具係着部(調整部)が表出することで、調整ネジが悪戯されることもあった。さらに、工具係着部を悪意で操作して扉にガタツキを生じさせれば、不正な施錠解除も可能となり、防犯性を低下させる虞もあった。また、錠ボルト側部とストライク穴の衝止縁が金属同士で当接するため、開扉操作開始時、錠ボルトの後退に引き残しがあると、金属の角(エッジ)同士が引っ掛かり、スムースな開扉が行えない問題もあった。
本発明は上記状況に鑑みてなされたもので、その目的は、少ない部品で、扉のガタツキを容易に防止でき、しかも、見栄えがよく、スムースな開扉が可能となるストライク穴調整構造を提供することにある。
次に、上記の課題を解決するための手段を、実施の形態に対応する図面を参照して説明する。
本発明の請求項1記載のストライク穴調整構造は、一面が開口する四角箱状の空間17を有し非開閉体に埋設されるトロヨケ5と、
前記トロヨケ5を覆って前記非開閉体に固定され前記空間を表出させる四角形のストライク穴19を有するとともに一方の縦辺部にボルトガイド片23が延設された金属製のストライク板7と、
前記空間17に嵌入する角筒状に形成され軸線方向一端側における平行な一対の側板部33a,33bと軸線方向他端側における平行な一対の側板部33c,33dの板厚とがそれぞれ異なる厚みで形成された樹脂製の調整ブロック29と、
該調整ブロック29の軸線方向両端の周縁に形成され前記ストライク穴19の内周に嵌入するとともに前記ストライク板7の厚みtより小さい高さhの段部35と、
前記ストライク穴19から表出する前記側板部33a,33bの端面に形成され前記調整ブロック29の内側へ下る側板傾斜面37a(37b,37c,37d)と、
前記ストライク穴19の前記ガイド片23側の辺部に形成され該側板傾斜面37a(37b,37c,37d)に接続して前記調整ブロック29の内側へ下るストライク傾斜面39と、
を具備したことを特徴とする。
このストライク穴調整構造では、トロヨケ5、ストライク板7、調整ブロック29の少ない部品で構成され、調整ブロック29がトロヨケ5に姿勢を変えて入れ替えられることで、錠ボルト21の衝止面31a,31b,31c,31dとなる側板部33a,33b,33c,33dの内面位置が種々に変位可能となる。また、開扉時には、錠ボルト21が樹脂製調整ブロック29の側板傾斜面37a,37b,37c,37dに当たった後、ストライク傾斜面39に乗り移る。つまり、ボルト通過道の最初は異種材料同士の接触となる。
請求項2記載のストライク穴調整構造は、請求項1記載のストライク穴調整構造であって、
前記ストライク傾斜面39が、前記ストライク穴19の前記ガイド片側の辺部19aに突設された複数の爪片41,41に形成され、
該爪片41,41のそれぞれが、前記側板傾斜面37a,37b,37c,37dに形成された複数の凹溝43,43に嵌合されることを特徴とする。
このストライク穴調整構造では、開扉時、錠ボルト21が調整ブロック29の内方から退出する際、側板傾斜面37a,37b,37c,37d、ストライク傾斜面39の順に摺接するが、そのとき、錠ボルト21が、凹溝43,43以外の側板傾斜面37a,37b,37c,37dの表面、爪片41,41表面のみに接触し、接触面積が小さくなり、摺接摩擦が低減される。
請求項3記載のストライク穴調整構造は、請求項2記載のストライク穴調整構造であって、
前記ストライク穴19の前記爪片41,41と反対側の対向する辺部19bに、前記凹溝43,43に嵌合するブロック押さえ片45,45が延出形成されたことを特徴とする。
このストライク穴調整構造では、トロヨケ5の空間17に収容された調整ブロック29がトロヨケ空間17の開口側で爪片41,41と、対面のブロック押さえ片45,45とによって当接され、段部35と共働して、調整ブロック29の脱落がより確実に規制される。
請求項4記載のストライク穴調整構造は、請求項1〜請求項3のいずれか1項記載のストライク穴調整構造であって、
前記側板傾斜面37a,37b,37c,37dが、前記ストライク板7の板厚tの範囲内で形成されていることを特徴とする。
このストライク穴調整構造では、錠ボルト21の衝止面31a,31b,31c,31dとなる調整ブロック29の側板部内壁面から、錠ボルト21が外れ始める側板傾斜面37a,37b,37c,37dの始まり位置(錠ボルト進退方向の高さ位置)が、厚みの異なる各側板部33a,33b,33c,33dにおいても共通の位置となる。
本発明に係る請求項1記載のストライク穴調整構造によれば、トロヨケに嵌入する調整ブロックのそれぞれの側板部板厚を異なる厚みで形成し、ストライク穴から表出する各側板部の端面に側板傾斜面を形成し、ストライク穴のガイド片側の辺部に側板傾斜面に接続するストライク傾斜面を形成したので、トロヨケ、ストライク板、調整ブロックの少ない部品で構成でき、調整ブロックをトロヨケに対して向きを変えて入れ替えるのみで、扉のガタツキを容易に防止でき、しかも、調整ネジなどを使用せず、ネジ類が表出せずに見栄えがよく、開扉時には、錠ボルト側部が樹脂製調整ブロックの側板傾斜面に当たった後、ストライク傾斜面に乗り移り、引っ掛かりのないスムースな開扉を実現できる。
請求項2記載のストライク穴調整構造によれば、ストライク傾斜面を、ストライク穴の辺部に突設した複数の爪片に形成し、爪片のそれぞれを側板傾斜面の凹溝に嵌合したので、開扉時、錠ボルトが調整ブロックの内方から退出する際、側板傾斜面、ストライク傾斜面の順に摺接し、凹溝以外の側板傾斜面、爪片表面のみに錠ボルトが接触し、接触面積が小さく、摺接摩擦が減って、引っ掛かりがより生じ難くなり、スムースな開扉が可能となる。
請求項3記載のストライク穴調整構造によれば、ストライク穴の対向辺部のそれぞれに、爪片とブロック押さえ片を設けたので、トロヨケの空間に収容された調整ブロックがトロヨケ空間の開口側で爪片と、対面のブロック押さえ片にて当接され、段部と共働して、調整ブロックをより確実に脱落規制してトロヨケ内に保持できる。
請求項4記載のストライク穴調整構造によれば、側板傾斜面を、ストライク板の板厚の範囲内で形成したので、錠ボルト側部の衝止面となる調整ブロックの側板部内壁面から、錠ボルトが外れ始める側板傾斜面の始まり位置が、厚みの異なる各側板部で共通の位置となる。これにより、厚みの異なる任意の側板部を衝止側に配置した場合であっても、錠ボルトの係止解除が始まる距離を同一にし、操作レバーの開操作角度を一定にできる。
以下、本発明に係るストライク穴調整構造の好適な実施の形態を図面を参照して詳細に説明する。
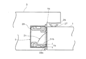
図1は本発明に係るストライク穴調整構造を備えた非開閉体の横断面図、図2は図1に示したストライク穴調整構造の分解斜視図である。
扉1が取り付けられる非開閉体である開口枠の縦の枠3にはトロヨケ5を覆う金属製のストライク板7が固定される。ストライク板7は、固定孔9,9に挿通されたビス11,11が、トロヨケ5の上下鍔部13,13に穿設された固定孔15,15に貫通して縦の枠3に固定される。
トロヨケ5は、一面が開口する四角箱状の空間17を有し縦の枠3に埋設される。ストライク板7には矩形状のストライク穴19が形成され、ストライク穴19はトロヨケ5の空間17を表出する。ストライク穴19には、図1に示す扉1の木口1aから突出される錠ボルト21が進入する。本実施の形態に係るストライク穴調整構造は、このストライク板7をカバー部材として有することで主要部が覆われる。錠ボルト21には係止面21aと傾斜面21bが形成され、係止面21aは後述する調整ブロックの衝止面に当接する。
ストライク板7の縦辺部にはR曲げされたボルトガイド片23が延出形成され、R曲げ部23は錠ボルト21の傾斜面21bと衝接する。ストライク板7のストライク穴19には後述する調整ブロックの一部分が図1に示すように僅かに表出する。
縦の枠3には戸当たり25が形成され、戸当たり25はガスケット27を有する。扉1は、一方の面1bの周縁がこのガスケット27を介して戸当たり25に当たる。扉1は、突出した錠ボルト21がストライク穴19に進入して、係止面21aが調整ブロック29の衝止面31に当接することで、ガスケット27に接触或いはガスケット27を圧縮して閉止される。
図3は図1に示した調整ブロックの異なる衝止高さ位置のバリエーションを(a)〜(d)に表した説明図である。
調整ブロック29は、トロヨケ5の空間17に嵌入する外形状で、樹脂材料にて角筒状に一体形成される。調整ブロック29は、軸線方向一端側における平行な一対の側板部33a,33bと軸線方向他端側における平行な一対の側板部33c,33dの板厚とがそれぞれ異なる厚みTa,Tb,Tc,Td、すなわち各側板部33a,33b,33c,33dがそれぞれ異なり4つの厚さとなってTa>Td>Tc>Tbで形成される。衝止面31は、各側板部33a,33b,33c,33dで、異なる位置の衝止面31a,31b,31c,31dとなる。
すなわち、調整ブロック29は、左右反転し、また、挿入方向を表裏反転して、トロヨケ5に対し向きを変えて入れ替え嵌合することで、衝止面31を異なる4種類の衝止面31a,31b,31c,31dに設定できるようになっている。
調整ブロック29の軸線方向両端の周縁には段部35が形成され、段部35はストライク穴19の内周に嵌入するとともにストライク板7の厚みt(図1参照)より小さい高さhに設定されている。
図4は異なる側板傾斜面が使用されたバリエーションを(a)〜(d)に表した説明図である。
ストライク穴19から表出する側板部33a,33b,33c,33dの端面には側板傾斜面37a,37b,37c,37dが形成され、側板傾斜面37a,37b,37c,37dは調整ブロック29の内側へ下る傾斜面となる。また、ストライク穴19のボルトガイド片23側の辺部にはストライク傾斜面39が形成され、ストライク傾斜面39は側板傾斜面37a,37b,37c,37dに接続して調整ブロック29の内側へ下る傾斜面となる。
本実施の形態において、ストライク傾斜面39は、ストライク穴19のボルトガイド片23側の図2に示す辺部19aに突設された複数の爪片41,41の表面に形成されている。これら爪片41,41は、側板傾斜面37a,37b,37c,37dに形成された図2に示す複数の凹溝43,43に嵌合される。
開扉時、錠ボルト21が調整ブロック29の内方から退出する際、側板傾斜面37a,37b,37c,37d、ストライク傾斜面39の順に摺接するが、そのとき、錠ボルト21が、凹溝43,43以外の側板傾斜面37a,37b,37c,37dの表面、爪片41,41の表面のみに接触し、接触面積が小さくなり、摺接摩擦が低減される。これにより、摺接摩擦が減って、引っ掛かりがより生じ難くなり、スムースな開扉が可能となっている。
ストライク穴19の爪片41,41と反対側の対向する辺部19bにはブロック押さえ片45,45が形成され、ブロック押さえ片45,45は凹溝43,43に嵌合する。ブロック押さえ片45,45が設けられることで、トロヨケ5の空間17に収容された調整ブロック29は、爪片41,41と対面のブロック押さえ片45,45とによって当接され、段部35と共働して、脱落がより確実に規制されるようになっている。
また、側板傾斜面37a,37b,37c,37dは、図4に示すように、ストライク板7の板厚tの範囲内で形成されている。錠ボルト21の衝止面31a,31b,31c,31dとなる調整ブロック29の側板部内壁面から、錠ボルト21が外れ始める側板傾斜面37a,37b,37c,37dの始まり位置(錠ボルト進退方向の高さ位置)が、厚みの異なる各側板部33a,33b,33c,33dにおいても共通の位置となる。これにより、厚みの異なる任意の側板部33a,33b,33c,33dを衝止側に配置した場合であっても、錠ボルト21の係止解除が始まる距離を同一にでき、操作レバー(不図示)の開操作角度を一定にできるようになされている。
次に、上記のように構成されたストライク穴調整構造の作用を説明する。
図5は図4(b)の側板傾斜面を有する側板部に錠ボルトが当接したストライク穴調整構造の横断面図である。
ストライク穴調整構造では、トロヨケ5の空間17に、調整ブロック29を種々の向きで嵌入することにより、衝止面31a,31b,31c,31dを変位させることができる。これにより、調整用のねじや、ドライバ等の工具を不要にして、錠ボルト21に対する衝止面31a,31b,31c,31dの扉厚み方向の位置を容易に調整でき、閉扉状態時における扉1のガタツキを無くすことができる。
例えば、図1に示す側板部33aを衝止面31aとする向きでは、図3(a)に示すように、トロヨケ5の内壁から衝止面31aまでの寸法を、Taに設定することができる。また、図5に示すように、側板部33bを衝止面31bとする向きでは、図3(b)に示すように、トロヨケ5の内壁から衝止面31bまでの寸法を、Tbに設定することができる。
このように、ストライク穴調整構造では、トロヨケ5、ストライク板7、調整ブロック29の少ない部品で構成され、調整ブロック29がトロヨケ5に姿勢を変えて入れ替えられることで、錠ボルト21の衝止面31a,31b,31c,31dとなる側板部33a,33b,33c,33dの内面位置が種々に変位可能となる。また、開扉時には、錠ボルト21が樹脂製調整ブロック29の側板傾斜面37a,37b,37c,37dに当たった後、ストライク傾斜面39に乗り移る。つまり、ボルト通過道の最初は異種材料同士の接触となる。
したがって、上記のストライク穴調整構造によれば、調整ブロック29をトロヨケ5に入れ替えるのみで、扉1のガタツキを容易に防止でき、しかも、調整ネジなどのネジ類が表出せずに見栄えがよく、開扉時には、錠ボルト側部が樹脂製調整ブロック29の側板傾斜面37a,37b,37c,37dに当たった後、ストライク傾斜面39に乗り移るので、すなわち、錠ボルト21をトロヨケ空間17内へ導くための金属製のストライク板7とトロヨケ空間17となる調整ブロック29内から退出する際のこの樹脂製の調整ブロック29とが異なる素材で構成されたことで、その境目となる部分を端面同士で突き合わせて構成するのではなく、略櫛歯形状を互いに向かい合わせて組み合わせるような構成とし、かつ、表面となる部分を、互いに落ち込むように形成することで、側方視で、小さな凹部を中途に有するものの略連続した面となり、両部材7,29の斜面上を移動する錠ボルト21先端は、スムースに通過でき、引っ掛かりのないスムースな開扉を実現できる。
また、扉1の開放時に、ストライク板7の表面やトロヨケ5の空間17に、調整ネジや、その工具係着部が表出せず、見栄えを良くすることができる。また、調整部が悪戯されることも防止できる。さらに、調整部を悪意で操作して扉1にガタツキを生じさせることが困難となるので、防犯性も向上させることができる。また、衝止面31a,31b,31c,31dが単一ブロック体の調整ブロック29に形成されるので、錠ボルト21の衝止強度を高めることができ、これによっても防犯性を向上させることができる。
本発明に係るストライク穴調整構造を備えた非開閉体の横断面図である。 図1に示したストライク穴調整構造の分解斜視図である。 図1に示した調整ブロックの異なる衝止高さ位置のバリエーションを(a)〜(d)に表した説明図である。 異なる側板傾斜面が使用されたバリエーションを(a)〜(d)に表した説明図である。 図4(b)の側板傾斜面を有する側板部に錠ボルトが当接したストライク穴調整構造の横断面図である。
符号の説明
1…扉
3…非開閉体(縦の枠)
5…トロヨケ
7…ストライク板
17…空間
19…ストライク穴
19a,19b…辺部
23…ボルトガイド片
33a,33b,33c,33d…側板部
29…調整ブロック
35…段部
37a,37b,37c,37d…側板傾斜面
39…ストライク傾斜面
41…爪片
43…凹溝
45…ブロック押さえ片
h…厚みより小さい高さ
t…厚み(板厚)

Claims (4)

  1. 一面が開口する四角箱状の空間を有し非開閉体に埋設されるトロヨケと、
    前記トロヨケを覆って前記非開閉体に固定され前記空間を表出させる四角形のストライク穴を有するとともに一方の縦辺部にボルトガイド片が延設された金属製のストライク板と、
    前記空間に嵌入する角筒状に形成され軸線方向一端側における平行な一対の側板部と軸線方向他端側における平行な一対の側板部の板厚とがそれぞれ異なる厚みで形成された樹脂製の調整ブロックと、
    該調整ブロックの軸線方向両端の周縁に形成され前記ストライク穴の内周に嵌入するとともに前記ストライク板の厚みより小さい高さの段部と、
    前記ストライク穴から表出する前記側板部の端面に形成され前記調整ブロックの内側へ下る側板傾斜面と、
    前記ストライク穴の前記ガイド片側の辺部に形成され該側板傾斜面に接続して前記調整ブロックの内側へ下るストライク傾斜面と、
    を具備したことを特徴とするストライク穴調整構造。
  2. 請求項1記載のストライク穴調整構造であって、
    前記ストライク傾斜面が、前記ストライク穴の前記ガイド片側の辺部に突設された複数の爪片に形成され、
    該爪片のそれぞれが、前記側板傾斜面に形成された複数の凹溝に嵌合されることを特徴とするストライク穴調整構造。
  3. 請求項2記載のストライク穴調整構造であって、
    前記ストライク穴の前記爪片と反対側の対向する辺部に、前記凹溝に嵌合するブロック押さえ片が形成されたことを特徴とするストライク穴調整構造。
  4. 請求項1〜請求項3のいずれか1項記載のストライク穴調整構造であって、
    前記側板傾斜面が、前記ストライク板の板厚の範囲内で形成されていることを特徴とするストライク穴調整構造。
JP2008190000A 2008-07-23 2008-07-23 ストライク穴調整構造 Expired - Fee Related JP5289849B2 (ja)

Priority Applications (1)

Application Number Priority Date Filing Date Title
JP2008190000A JP5289849B2 (ja) 2008-07-23 2008-07-23 ストライク穴調整構造

Applications Claiming Priority (1)

Application Number Priority Date Filing Date Title
JP2008190000A JP5289849B2 (ja) 2008-07-23 2008-07-23 ストライク穴調整構造

Publications (2)

Publication Number Publication Date
JP2010024767A true JP2010024767A (ja) 2010-02-04
JP5289849B2 JP5289849B2 (ja) 2013-09-11

Family

ID=41730848

Family Applications (1)

Application Number Title Priority Date Filing Date
JP2008190000A Expired - Fee Related JP5289849B2 (ja) 2008-07-23 2008-07-23 ストライク穴調整構造

Country Status (1)

Country Link
JP (1) JP5289849B2 (ja)

Cited By (2)

* Cited by examiner, † Cited by third party
Publication number Priority date Publication date Assignee Title
GB2559189A (en) * 2017-01-31 2018-08-01 Bja Trading Ltd Throw lock assemblies and bolt keeper assemblies
US11591833B2 (en) 2017-01-31 2023-02-28 Bja Trading Ltd Throw lock assemblies, throw bolt assemblies, and methods for assembling and using same

Citations (2)

* Cited by examiner, † Cited by third party
Publication number Priority date Publication date Assignee Title
JPS58162948U (ja) * 1982-04-26 1983-10-29 株式会社ゴ−ル 受座の調節装置
JPH09177388A (ja) * 1995-12-27 1997-07-08 Hinaka Seisakusho:Kk ラッチ受け装置

Patent Citations (2)

* Cited by examiner, † Cited by third party
Publication number Priority date Publication date Assignee Title
JPS58162948U (ja) * 1982-04-26 1983-10-29 株式会社ゴ−ル 受座の調節装置
JPH09177388A (ja) * 1995-12-27 1997-07-08 Hinaka Seisakusho:Kk ラッチ受け装置

Cited By (4)

* Cited by examiner, † Cited by third party
Publication number Priority date Publication date Assignee Title
GB2559189A (en) * 2017-01-31 2018-08-01 Bja Trading Ltd Throw lock assemblies and bolt keeper assemblies
GB2559189B (en) * 2017-01-31 2020-07-01 Bja Trading Ltd Throw lock assemblies and bolt keeper assemblies
US11566456B2 (en) 2017-01-31 2023-01-31 Bja Trading Ltd Throw lock assembly and bolt keeper assembly
US11591833B2 (en) 2017-01-31 2023-02-28 Bja Trading Ltd Throw lock assemblies, throw bolt assemblies, and methods for assembling and using same

Also Published As

Publication number Publication date
JP5289849B2 (ja) 2013-09-11

Similar Documents

Publication Publication Date Title
KR20100006507U (ko) 미닫이식 방범창 또는 방충망 도어의 잠금장치
JP5289849B2 (ja) ストライク穴調整構造
JP6113765B2 (ja) 打掛錠
EP1873336B1 (en) A locking assembly for a ventilating window
JP2005009301A (ja) ロック装置
JP4769787B2 (ja) 引戸錠装置
JP4936972B2 (ja) ストライク穴調整機構
JP4644398B2 (ja) スライド扉の非常開放装置
JP2010065427A (ja) フードロック装置
JP5016366B2 (ja) ストライク穴調整機構
JP5700656B2 (ja) 錠受けガイド及び建具
JP4956306B2 (ja) 調整ストライク
JP5185232B2 (ja) ロック装置及び防火建具
WO2010036200A1 (en) Lock device
US6581985B1 (en) Latch closure
JP7105614B2 (ja) ストライクの取付用アダプタ
JP4291250B2 (ja) スライド蝶番
JP4828276B2 (ja) 錠装置の締めボルト側圧低減構造
GB2503967A (en) Locking bar having frangible region
TWM579672U (zh) Locks that do not require adjustment of the mounting position
JP2008179976A (ja) ストライク穴調整機構
JP2007224497A (ja) ドア
JP2007315008A (ja) ラッチ錠用の非常脱出機能を備えた受け座
JP6175733B2 (ja) ドア開錠装置
JP4861064B2 (ja) ストライク構造

Legal Events

Date Code Title Description
A621 Written request for application examination

Free format text: JAPANESE INTERMEDIATE CODE: A621

Effective date: 20110712

A977 Report on retrieval

Free format text: JAPANESE INTERMEDIATE CODE: A971007

Effective date: 20121107

A131 Notification of reasons for refusal

Free format text: JAPANESE INTERMEDIATE CODE: A131

Effective date: 20121113

TRDD Decision of grant or rejection written
A01 Written decision to grant a patent or to grant a registration (utility model)

Free format text: JAPANESE INTERMEDIATE CODE: A01

Effective date: 20130528

A61 First payment of annual fees (during grant procedure)

Free format text: JAPANESE INTERMEDIATE CODE: A61

Effective date: 20130605

R150 Certificate of patent or registration of utility model

Ref document number: 5289849

Country of ref document: JP

Free format text: JAPANESE INTERMEDIATE CODE: R150

R250 Receipt of annual fees

Free format text: JAPANESE INTERMEDIATE CODE: R250

R250 Receipt of annual fees

Free format text: JAPANESE INTERMEDIATE CODE: R250

R250 Receipt of annual fees

Free format text: JAPANESE INTERMEDIATE CODE: R250

R250 Receipt of annual fees

Free format text: JAPANESE INTERMEDIATE CODE: R250

R250 Receipt of annual fees

Free format text: JAPANESE INTERMEDIATE CODE: R250

R250 Receipt of annual fees

Free format text: JAPANESE INTERMEDIATE CODE: R250

LAPS Cancellation because of no payment of annual fees