JP2010024048A - テープカッター - Google Patents
テープカッター Download PDFInfo
- Publication number
- JP2010024048A JP2010024048A JP2008208772A JP2008208772A JP2010024048A JP 2010024048 A JP2010024048 A JP 2010024048A JP 2008208772 A JP2008208772 A JP 2008208772A JP 2008208772 A JP2008208772 A JP 2008208772A JP 2010024048 A JP2010024048 A JP 2010024048A
- Authority
- JP
- Japan
- Prior art keywords
- tape
- string
- cutter
- tape cutter
- cut
- Prior art date
- Legal status (The legal status is an assumption and is not a legal conclusion. Google has not performed a legal analysis and makes no representation as to the accuracy of the status listed.)
- Pending
Links
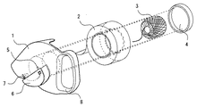
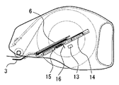
- 210000003811 finger Anatomy 0.000 claims abstract description 21
- 210000003813 thumb Anatomy 0.000 claims abstract description 11
- 238000005520 cutting process Methods 0.000 claims description 15
- 239000000123 paper Substances 0.000 claims description 10
- 238000004804 winding Methods 0.000 claims description 2
- 238000004806 packaging method and process Methods 0.000 abstract description 3
- 125000000391 vinyl group Chemical group [H]C([*])=C([H])[H] 0.000 description 10
- 229920002554 vinyl polymer Polymers 0.000 description 10
- 238000012856 packing Methods 0.000 description 6
- 244000025254 Cannabis sativa Species 0.000 description 5
- 235000012766 Cannabis sativa ssp. sativa var. sativa Nutrition 0.000 description 5
- 235000012765 Cannabis sativa ssp. sativa var. spontanea Nutrition 0.000 description 5
- 235000009120 camo Nutrition 0.000 description 5
- 235000005607 chanvre indien Nutrition 0.000 description 5
- 239000004744 fabric Substances 0.000 description 5
- 239000011487 hemp Substances 0.000 description 5
- 239000000853 adhesive Substances 0.000 description 3
- 230000001070 adhesive effect Effects 0.000 description 3
- 238000010586 diagram Methods 0.000 description 3
- 230000000694 effects Effects 0.000 description 3
- 238000000034 method Methods 0.000 description 3
- 238000003825 pressing Methods 0.000 description 3
- 238000003780 insertion Methods 0.000 description 2
- 230000037431 insertion Effects 0.000 description 2
- 238000004519 manufacturing process Methods 0.000 description 2
- 238000004140 cleaning Methods 0.000 description 1
- 239000002131 composite material Substances 0.000 description 1
- 230000002950 deficient Effects 0.000 description 1
- 238000007599 discharging Methods 0.000 description 1
- 238000002360 preparation method Methods 0.000 description 1
- 238000003860 storage Methods 0.000 description 1
Images
Landscapes
- Adhesive Tape Dispensing Devices (AREA)
Priority Applications (1)
| Application Number | Priority Date | Filing Date | Title |
|---|---|---|---|
| JP2008208772A JP2010024048A (ja) | 2008-07-16 | 2008-07-16 | テープカッター |
Applications Claiming Priority (1)
| Application Number | Priority Date | Filing Date | Title |
|---|---|---|---|
| JP2008208772A JP2010024048A (ja) | 2008-07-16 | 2008-07-16 | テープカッター |
Publications (2)
| Publication Number | Publication Date |
|---|---|
| JP2010024048A true JP2010024048A (ja) | 2010-02-04 |
| JP2010024048A5 JP2010024048A5 (enExample) | 2010-03-18 |
Family
ID=41730215
Family Applications (1)
| Application Number | Title | Priority Date | Filing Date |
|---|---|---|---|
| JP2008208772A Pending JP2010024048A (ja) | 2008-07-16 | 2008-07-16 | テープカッター |
Country Status (1)
| Country | Link |
|---|---|
| JP (1) | JP2010024048A (enExample) |
Cited By (2)
| Publication number | Priority date | Publication date | Assignee | Title |
|---|---|---|---|---|
| WO2014191595A1 (es) * | 2013-05-28 | 2014-12-04 | Andrés Garcia Rubén | Herramienta para la aplicación de cinta adhesiva |
| KR101799992B1 (ko) * | 2015-06-30 | 2017-11-21 | 박선영 | 멀티 테이프커터기 |
Citations (3)
| Publication number | Priority date | Publication date | Assignee | Title |
|---|---|---|---|---|
| JPS4836144U (enExample) * | 1971-09-04 | 1973-04-28 | ||
| JPS5940256U (ja) * | 1982-09-09 | 1984-03-14 | 村上 進 | セロハン粘着テ−プ用切断器 |
| JPS63178262U (enExample) * | 1987-05-08 | 1988-11-18 |
-
2008
- 2008-07-16 JP JP2008208772A patent/JP2010024048A/ja active Pending
Patent Citations (3)
| Publication number | Priority date | Publication date | Assignee | Title |
|---|---|---|---|---|
| JPS4836144U (enExample) * | 1971-09-04 | 1973-04-28 | ||
| JPS5940256U (ja) * | 1982-09-09 | 1984-03-14 | 村上 進 | セロハン粘着テ−プ用切断器 |
| JPS63178262U (enExample) * | 1987-05-08 | 1988-11-18 |
Cited By (2)
| Publication number | Priority date | Publication date | Assignee | Title |
|---|---|---|---|---|
| WO2014191595A1 (es) * | 2013-05-28 | 2014-12-04 | Andrés Garcia Rubén | Herramienta para la aplicación de cinta adhesiva |
| KR101799992B1 (ko) * | 2015-06-30 | 2017-11-21 | 박선영 | 멀티 테이프커터기 |
Similar Documents
| Publication | Publication Date | Title |
|---|---|---|
| US6159328A (en) | Tape dispenser and method and system for application and severance of two-part tape | |
| KR100835541B1 (ko) | 접착테이프 선단 자동 말림 접착기능을 갖는 롤형접착테이프 컷터기 | |
| KR101358418B1 (ko) | 테이프 접힘 기능을 갖는 테이프 컷터기 | |
| JP2010024048A (ja) | テープカッター | |
| JP2010024048A5 (enExample) | ||
| KR101358419B1 (ko) | 보조지가 구비된 박스 포장용 컷터기 | |
| JP2013043697A (ja) | ラップフィルムケース | |
| TW201210906A (en) | Carton and packaging material feeder | |
| JP6636811B2 (ja) | フィルムロール収納装置 | |
| JP2009292508A (ja) | ラップフィルム用収納箱 | |
| JP3203681U (ja) | 巻回ラップフィルム用内装部材およびラップフィルム製品 | |
| JP2010100298A (ja) | ティシュペーパ用包装構造 | |
| CN204607912U (zh) | 胶带及胶带切割装置 | |
| JP2013129450A (ja) | 段ボール箱縛り紐通し具 | |
| KR20230121392A (ko) | 테이프 디스펜서 | |
| KR200350824Y1 (ko) | 적재물의 공업용 랩 포장용구 | |
| JP3238357U (ja) | 積層開封箋 | |
| JP5107764B2 (ja) | 電気機器 | |
| JP3127976U (ja) | 荷札付き封緘具用収納袋 | |
| JP3200235U (ja) | 巻回ラップフィルム用内装部材および同部材を備えたラップフィルム製品 | |
| JP6194095B1 (ja) | ラップフィルム収納容器 | |
| KR200469025Y1 (ko) | 포장테이프 절단 가위 | |
| JP3211865U (ja) | ラップホルダー | |
| JP2556431B2 (ja) | ラップフィルムの収納ケース | |
| JP2008127101A (ja) | 食品用ラップフィルム容器 |
Legal Events
| Date | Code | Title | Description |
|---|---|---|---|
| A521 | Written amendment |
Free format text: JAPANESE INTERMEDIATE CODE: A523 Effective date: 20090930 |
|
| A521 | Written amendment |
Effective date: 20100108 Free format text: JAPANESE INTERMEDIATE CODE: A523 |
|
| A621 | Written request for application examination |
Free format text: JAPANESE INTERMEDIATE CODE: A621 Effective date: 20110712 |
|
| A977 | Report on retrieval |
Effective date: 20120925 Free format text: JAPANESE INTERMEDIATE CODE: A971007 |
|
| A131 | Notification of reasons for refusal |
Effective date: 20121009 Free format text: JAPANESE INTERMEDIATE CODE: A131 |
|
| A02 | Decision of refusal |
Free format text: JAPANESE INTERMEDIATE CODE: A02 Effective date: 20130305 |