JP2010023249A - 印刷装置および印刷方法 - Google Patents

印刷装置および印刷方法 Download PDF

Info

Publication number
JP2010023249A
JP2010023249A JP2008184229A JP2008184229A JP2010023249A JP 2010023249 A JP2010023249 A JP 2010023249A JP 2008184229 A JP2008184229 A JP 2008184229A JP 2008184229 A JP2008184229 A JP 2008184229A JP 2010023249 A JP2010023249 A JP 2010023249A
Authority
JP
Japan
Prior art keywords
blanket
holding plate
plate
printing apparatus
pressure
Prior art date
Legal status (The legal status is an assumption and is not a legal conclusion. Google has not performed a legal analysis and makes no representation as to the accuracy of the status listed.)
Granted
Application number
JP2008184229A
Other languages
English (en)
Other versions
JP5187840B2 (ja
Inventor
Naoki Takeda
直樹 武田
Hiroaki Takeuchi
博明 竹内
Current Assignee (The listed assignees may be inaccurate. Google has not performed a legal analysis and makes no representation or warranty as to the accuracy of the list.)
Sharp Corp
Original Assignee
Sharp Corp
Priority date (The priority date is an assumption and is not a legal conclusion. Google has not performed a legal analysis and makes no representation as to the accuracy of the date listed.)
Filing date
Publication date
Application filed by Sharp Corp filed Critical Sharp Corp
Priority to JP2008184229A priority Critical patent/JP5187840B2/ja
Publication of JP2010023249A publication Critical patent/JP2010023249A/ja
Application granted granted Critical
Publication of JP5187840B2 publication Critical patent/JP5187840B2/ja
Expired - Fee Related legal-status Critical Current
Anticipated expiration legal-status Critical

Links

Images

Landscapes

  • Printing Methods (AREA)

Abstract

【課題】高精度かつ高い再現性で印刷が実施される印刷装置および印刷方法、を提供する。
【解決手段】基板用ステージ21は、ガラス基板22を保持する主表面21aを有する。ブランケット保持板31は、ブランケット36を保持する表面31aと、その裏側の表面31bとを有する。エアバルーン38は、表面31bに対して圧力を付与する。ブランケット保持板31は、固定支持された固定支持端31pから遠ざかるに従って、主表面21aと表面31aとの間の距離Hが増大するように湾曲する第1状態と、距離Hが一定となるように延在する第2状態との間で弾性的に変形可能である。固定板41の位置が保持された状態で、エアバルーン38から圧力が付与されることによって、ブランケット保持板31が第1状態から第2状態に変形し、ブランケット36とガラス基板22とが接触する。
【選択図】図2

Description

この発明は、印刷装置および印刷方法に関する。
従来の印刷方法に関して、たとえば、特開平11−58921号公報には、インキの膜厚ムラを完全に無くすことを目的とした画像形成法が開示されている(特許文献1)。特許文献1に開示された画像形成法は、シリコン樹脂面に樹脂を塗布して塗布面を形成する塗布工程と、その塗布面に対して所定形状で形成された凸版を押圧して凸部分に樹脂を転写除去する除去工程と、塗布面に残った樹脂を基板に転写する転写工程とを備える。
また、特開2004−249696号公報には、インキの糸曳き現象を無くし、ホトリソに近い高品質の印刷物を得ることを目的とした画像形成法が開示されている(特許文献2)。特許文献2に開示された画像形成法においては、樹脂に対して撥樹脂層からなる画線部と親樹脂層からなる非画線部とを形成し、全面に樹脂を塗布する。その後、撥樹脂層上の樹脂のみを別の撥樹脂層を設けたシート上に転写し、さらに、この樹脂を基板上に転写することにより画像形成を行なう。
また、特開2008−132743号公報には、電子部品等を作成するための高寸法成形の印刷画像を得ることを目的とした印刷機および印刷法が開示されている(特許文献3)。特許文献3に開示された印刷機は、オフセット印刷機であり、平板状のブランケット保持板と、ブランケット保持板に貼り合わされたブランケットと、ブランケット保持板の背後に配置され、ブランケット保持板を加圧することによって、ブランケットを基板に圧着させるバルーン加圧機とを備える。
特開平11−58921号公報 特開2004−249696号公報 特開2008−132743号公報
表示部材、光学部材、配線板などの電子部品で用いられる微細パターン形成には、一般的に、フォトレジストを用いたフォトリソグラフィー法が利用される。たとえば、液晶パネル製造における配線パターンや素子形成においては、フォトリソグラフィー法によるレジストの加工やエッチングなどが利用される。しかしながら、フォトリソグラフィー法は、レジスト塗布、露光、現像といった複雑な工程を経るため、巨額の設備投資と、長時間の処理タクトとが必要となっており、このため、より簡便なプロセスが求められている。
簡便なプロセスとしては、従来から印刷法が提案されており、電子部品の分野では、代表的な手法としてオフセット印刷が提案されている。オフセット印刷法とは、版上に形成したインクパターンをブランケットと呼ばれる弾性シートに転写したのち、ブランケットから基板に再度転写することによって、基板上に画像を形成する方法である。オフセット印刷法を電子部品のパターニングに用いる場合、パターン精度に課題があったが、上記の特許文献に開示されるように、印刷版やインク、転写方法の工夫などによりフォトリソグラフィー法に迫るパターン精度が得られるようになってきている。
一般的なオフセット印刷では、ブランケットを巻き付けた円柱状の転胴を、回転させ、さらに回転と同期させながら基板もしくは印刷版に対して相対的に並進運動させることにより、ブランケットおよび基板間、もしくはブランケットおよび印刷版間でインクパターンを転写させる。一方、近年においては、フラットパネルディスプレイに使用されるガラス基板が大型化しており、均一なパターン形成が重要となっている。このような大面積を有する基板に対してオフセット印刷を行なう場合、転胴が大きくなることによって転胴の移動によるブレが発生し、位置精度が低下するという課題をある。このような課題を解決する手段として、下記に説明する板バネ状のブランケット保持板を用いた印刷装置の利用が考えられる(特許文献3)。
図10は、板バネ状のブランケット保持板を用いた印刷装置を示す側面図である。図10を参照して、印刷装置100は、基板102を保持するステージ101と、ステージ101上に配置された加圧盤105と、ステージ101と加圧盤105との間に配置された板バネ状のブランケット保持板104とを有する。加圧盤105は、回転軸106において回転自在に支持されている。ブランケット保持板104は、加圧盤105の回転軸106と同じ側の端部に固定支持部を有し、その反対側の端部に単純支持部を有する。ブランケット保持板104および加圧盤105の下面には、それぞれ、ブランケット103およびエアバルーン107が設けられている。
印刷装置100においては、まず、エアバルーン107内に空気を導入し、内部圧力を高めることによって、ブランケット保持板104を変形させる(図10(A))。次に、加圧盤105を回転させ、エアバルーン107の内部圧力をさらに高めて、ブランケット保持板104をさらに変形させる。これにより、エアバルーン107を圧縮しつつ、ブランケット103を基板102に接触させていく(図10(B))。ブランケット保持板104が基板102と平行になるまで加圧盤105を回転させることにより、ブランケット103による基板102の加圧が完了する(図10(C))。この加圧によって、ブランケット103に形成されたインクパターンが基板102に転写される。
なお、ブランケット103から基板102へのインクパターンの転写について説明したが、印刷版からブランケット103へのインクパターンの転写も同様の工程で実施される。
このような板バネ状のブランケット保持板104を備えた印刷装置100によれば、エアバルーン107によるブランケット保持板104の変形と、加圧盤105の回転とによって加圧動作が行われるため、転胴の移動によるズレや、並進と回転との同期ズレなどの誤差因子を排除することができる。
このように印刷装置100は、基板が大面積である場合に有効に利用されるが、その一方で、板バネ状のブランケット保持板104により、均一かつ再現性よく基板を加圧できるかが重大な課題となっている。すなわち、印刷装置100においては、加圧盤105の回転動作により、ブランケット保持板104および基板102の接触過程におけるエアバルーン107の圧力変化や、バルーン圧力設定によるエアバルーン107の形状変化に起因して、印刷圧力の制御や一方向への順次印刷が困難となり、印刷精度や再現性の低下するという問題が生じる。以下、印刷装置100で発生する問題について説明する。
まず、第1の課題について説明する。図11は、図10中の印刷装置において、ブランケット保持板が変形する様子を模式的に表わした図である。
図11を参照して、図中では、基板102に作用する最終圧力が小さい場合と大きい場合とが想定され、各場合におけるブランケット保持板104の変形が示されている。ブランケット保持板104と加圧盤105との間の空間Aの体積をVaとし、ブランケット保持板104と基板102との間の空間Bの体積をVbとし、加圧盤105と基板102との間の空間Cの体積をVcとしたときに、Vc=Va+Vbの関係が成立する。
基板102に作用する最終圧力が小さい場合、加圧盤105の回転による加圧過程において、加圧盤105および基板102間の空間Cの体積Vcは、初期状態から加圧過程が進むに従って減少し、これに伴って、加圧盤105およびブランケット保持板104間の空間Aの体積Vaも減少する。さらに、体積Vaの減少によって空間Aに存在するエアバルーン107が圧縮され、その内部圧力が高くなり、その結果、ブランケット保持板104が変形するという一連の動作が行なわれる。
基板102に作用する最終圧力が小さい場合、つまり最初のエアバルーン107の膨らみが小さい場合、エアバルーン107から押圧されたブランケット保持板104の変形量は比較的小さく、体積Vaが小さくなる。一方、最終圧力が大きい場合、つまり、最初のエアバルーン107の膨らみが大きい場合、エアバルーン107から押圧されたブランケット保持板104がより大きく変形し、体積Vaが大きくなる。加圧盤105の回転動作により、体積Vaが減少し、ブランケット保持板104は変形するが、加圧途中のブランケット保持板104の変形や基板との接触率は、基板102に作用する最終圧力が小さい場合と最終圧力が大きい場合とでは異なる。すなわち、基板102に作用する最終圧力を変えようとすると、加圧過程における基板102の押圧状態が異なってくるという問題が生じる。
このような問題は、加圧盤105の回転により、加圧盤105および基板102間の空間Cの体積Vcが変化することに伴って、空間Aの体積Vaが変化し、さらに空間Aの圧力変化も伴うといった複雑な動作によって生じる。
次に、第2の課題について説明する。図12は、図10中の印刷装置において、ブランケットおよび基板の接触領域の変化を模式的に表わした図である。図12を参照して、ブランケット保持板104の両端に、固定支持部108および単純支持部109が示されている。
まず、初期状態において、エアバルーン107は、下に凸に膨張し、ブランケット保持板104の中央部付近でエアバルーン107とブランケット保持板104とが接触する。この接触により、ブランケット保持板104は変形し、ブランケット保持板104の固定支持部108の付近では、エアバルーン107とブランケット保持板104とが接触していない状態で、ブランケット103が基板102と接触する。
次に、加圧盤105の回転動作が進行すると、基板102の中央付近において、ブランケット保持板104およびブランケット103を介して、エアバルーン107により基板102に圧力が印加される。このとき、固定支持部108の付近では、基板102が加圧されていないか、加圧力が大幅に減少している。さらに加圧盤105の回転動作が進行すると、基板102に対する圧力の印加範囲は、基板102の中央付近から、固定支持部108および単純支持部109の両側に広がる。その結果、固定支持部108の付近においても、エアバルーン107により基板102に対して圧力が再度加わり、同一箇所で基板102とブランケット103とが2回接触することになる。このようにエアバルーン107によるブランケット保持板104の押圧点と、ブランケット103による基板102の押圧点とが異なっている。また、回転動作において、それぞれの押圧点は相対的な関係を保たずに、移動したり拡大したりすることにより、上記のような2回接触が起こったり、横方向の加重に変化が生じたりする。このような問題は、基板102に作用する最終圧力が小さい場合に顕著である。
また、初期状態において、ブランケット保持板104の中央部付近でブランケット103と基板102とが接触し、加圧盤105の回転動作が進行するに従って、接触領域が固定支持部108および単純支持部109の両側に広がるといった動作も生じる。この場合、ブランケット保持板104は、エアバルーン107により横方向の荷重は受けることになる、この横荷重の向きや大きさは、エアバルーン107と接触している位置や面積によって異なる。このような問題は、基板102に作用する最終圧力が大きい場合に顕著である。
このように、図10中の印刷装置100においては、初期圧力による加圧動作の変化や、加圧が基板中央部より広がったり固定支持部の付近では2回加圧を受けることによって、印刷精度の悪化が生じる。また、不均一な横荷重を受けることにより、位置精度のばらつきも大きくなるという課題を有している。
そこでこの発明の目的は、上記の課題を解決することであり、高精度かつ高い再現性で印刷が実施される印刷装置および印刷方法を提供することである。
この発明の1つの局面に従った印刷装置は、ステージと、ブランケット保持板と、固定部材と、圧力付与部材とを備える。ステージは、平板を保持する主表面を有する。ブランケット保持板は、主表面と対向し、ブランケットを保持する第1表面と、第1表面の裏側に配置される第2表面とを有する。固定部材は、第2表面と対向して配置される。圧力付与部材は、ブランケット保持板と固定部材との間に配置され、第2表面に対して圧力を付与する。ブランケット保持板は、固定支持された固定支持部を有する。ブランケット保持板は、固定支持部から遠ざかるに従って主表面と第1表面との間の距離が増大するように湾曲する第1状態と、主表面と第1表面との間の距離が一定となるように延在する第2状態との間で弾性的に変形可能である。固定部材の位置が保持された状態で、圧力付与部材からブランケット保持板に対して圧力が付与されることによって、ブランケット保持板が第1状態から第2状態に変形し、ブランケットと平板とが接触する。
なお、本発明において、ステージの主表面に保持される平板は、ブランケットにインクパターンを転写するための印刷版、もしくはブランケットからインクパターンを転写するための基板である。
このように構成された印刷装置によれば、固定部材の位置が保持された状態で圧力付与部材からブランケット保持板に対して圧力が付与されるため、第1状態から第2状態へと変形するブランケット保持板の動作シーケンス(変形のプロセス)を容易に制御することができる。これにより、ブランケットと、主表面に保持された平板との接触状態のばらつきを抑え、高精度かつ高い再現性で印刷を実施することができる。
また好ましくは、ブランケット保持板は、第1表面を挟んで固定支持部の反対側に設けられた支持部材を有する。このように構成された印刷装置によれば、第1状態と第2状態との間でブランケット保持板が変形可能なように支持することができる。
また好ましくは、印刷装置は、固定部材に接続され、支持部材を移動可能に支持する可動部材をさらに備える。このように構成された印刷装置によれば、第2状態において、平板とブランケットとを平面的に接触させることができる。
また好ましくは、可動部材は、弾性部材により形成される。このように構成された印刷装置によれば、弾性部材の弾性力を可動部に作用させることにより、ブランケット保持板を第1状態に保持することができる。
また好ましくは、弾性部材は、バネである。また好ましくは、弾性部材は、エアシリンダである。このように構成された印刷装置によれば、バネもしくはエアシリンダの弾性力を可動部に作用させることにより、ブランケット保持板を第1状態に保持することができる。
また好ましくは、圧力付与部材は、気体が吸排気されることにより容積が変化するバルーンである。このように構成された印刷装置によれば、バルーンを膨張させることにより、ブランケット保持板に対して圧力を付与することができる。
また好ましくは、圧力付与部材は、ブラケット保持板および固定部材とともに気密を保つ空間を形成し、伸縮性を有する封止部材である。このように構成された印刷装置によれば、ブラケット保持板、固定部材および封止部材が一体となって気密性の空間を形成するため、第2表面に対してより均一に圧力を付与することができる。
また好ましくは、封止部材は、ベローズにより形成される。このように構成された印刷装置によれば、高い信頼性を有する封止部材を簡易に構成することができる。
また好ましくは、固定支持部は、主表面に保持された平板の頂面とほぼ同じ高さに設けられる。このように構成された印刷装置によれば、支持部側から支持部から遠ざかる側に向けて順に、平板とブランケットとを接触させることができる。これにより、平板に作用する横荷重(平板の頂面に平行な方向の荷重)を適正に制御し、印刷制度をさらに向上させることができる。
また好ましくは、固定支持部は、主表面に保持された平板の頂面よりも高い位置に設けられる。このように構成された印刷装置によれば、圧力付与部材によるブランケット保持板への圧力付与時、ブランケットと平板のエッジとの干渉をより確実に避けることができる。
また好ましくは、圧力付与部材に気体が導入されることによって、ブランケット保持板に対して圧力が付与される。このように構成された印刷装置によれば、簡易な構成で、ブランケット保持板に対して均一に圧力を付与することができる。
また好ましくは、圧力付与部材に導入された気体の積算流量を調整することによって、ブランケット保持板に対して付与される圧力の大きさが調整される。このように構成された印刷装置によれば、気体の積算流量の調整を通じて、最終的な印刷状態を適正に制御することができる。
この発明に従った印刷方法は、上述のいずれかに記載の印刷装置を用いた印刷方法である。印刷方法は、主表面に平板を保持する工程と、圧力付与部材からブランケット保持板に対して圧力を付与することにより、支持部側から支持部より遠ざかる側に順に、平板とブランケットとを接触させる工程とを備える。このように構成された印刷方法によれば、支持部側から支持部より遠ざかる側への一方向に転写が順次行なわれるため、高精度かつ高い再現性で印刷を実施することができる。
この発明の別の局面に従った印刷装置は、平板を保持する主表面を有するステージと、主表面上に配置され、ブランケットを保持するブランケット保持板と、ブランケット保持板に対してステージの反対側に配置される固定部材とを備える。ブランケット保持板と固定部材との間の空間Aの体積をVaとし、ブランケット保持板とステージに保持された平板との間の空間Bの体積をVbとし、固定部材とステージに保持された平板との間の空間Cの体積をVcとしたときに、Vc=Va+Vbの関係が成立する。体積Vcを一定に保持した状態において、空間Bの内部に圧力を付与することにより、ブランケット保持板を変形させて体積Vbを増大させ、体積Vbの増大に伴って体積Vaが減少することにより、ブランケット保持板に保持されたブランケットが平板に接触する。
このように構成された印刷装置によれば、固定部材とステージに保持された平板との間の空間Cの体積Vcを一定に保持することにより、高精度かつ高い再現性で印刷を実施することができる。
以上に説明したように、この発明に従えば、高精度かつ高い再現性で印刷が実施される印刷装置および印刷方法を提供することができる。
この発明の実施の形態について、図面を参照して説明する。なお、以下で参照する図面では、同一またはそれに相当する部材には、同じ番号が付されている。
図1は、この発明の実施の形態における印刷装置を示す斜視図である。図1を参照して、本実施の形態における印刷装置10は、オフセット印刷に用いられる装置である。印刷装置10は、印刷版27に形成されたインクパターンをブランケット36に転写し、さらにそのインクパターンをブランケット36からガラス基板22に転写することにより、ガラス基板22に画像を形成する装置である。
まず、印刷装置10の構造について説明する。印刷装置10は、基板用ステージ21および印刷版用ステージ26と、固定板41と、ブランケット保持板31と、エアバルーン38とを有する。
基板用ステージ21および印刷版用ステージ26は、互いに間隔を隔てて基台52上に設置されている。基台52は、レール51上にスライド移動可能に設けられている。基台52をスライド移動させることにより、基板用ステージ21および印刷版用ステージ26は、矢印53に示す方向に移動する。
基板用ステージ21は、ガラス基板22を保持する主表面21aを有し、印刷版用ステージ26は、印刷版27を保持する主表面26aを有する。主表面21aおよび主表面26aは、平面状に形成されている。好ましくは、ガラス基板22と印刷版27とは、同一平面上に形成されている。基板用ステージ21および印刷版用ステージ26は、金属から形成されている。レール51、基台52、基板用ステージ21および印刷版用ステージ26は、印刷時に作用する圧力に対して十分な剛性を示すような構造を有する。
印刷版用ステージ26に設置される印刷版27については、特に形状を問わない。印刷版27は、凹版を用いるグラビアオフセット印刷用版であってもよいし、凹凸の無い平版を用いるオフセット印刷用版であってもよい。
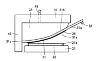
図2は、図1中の印刷装置の動作を示す側面図である。図中には、代表的に、ブランケット36に形成されたインクパターンをガラス基板22に転写する工程が示されている。
図1および図2を参照して、固定板41は、基板用ステージ21および印刷版用ステージ26が移動可能な範囲において、基板用ステージ21もしくは印刷版用ステージ26と対向する位置に設けられている。固定板41は、金属から形成されている。固定板41は、印刷時に作用する圧力に対して十分な剛性を示すような構造を有する。
以下、固定板41に対向する位置に基板用ステージ21が位置決めされている状態における動作について、説明を続ける。
ブランケット保持板31は、固定板41と基板用ステージ21との間に配置されている。ブランケット保持板31は、基板用ステージ21に対向する表面31aと、表面31aの裏側に配置され、固定板41に対向する表面31bとを有する。
ブランケット保持板31は、平板形状を有する。ブランケット保持板31は、固定壁42に固定支持された固定支持端31pを有する。本実施の形態では、固定支持端31pが、固定板41から延出する固定壁42に固定されている。このような形態に限られず、固定支持端31pは、固定板41とは別に設けられた部材に固定されてもよい。固定支持端31pは、基板用ステージ21に設置されたガラス基板22の頂面とほぼ等しい高さで固定支持されている。固定支持端31pは、ガラス基板22の頂面が延在する方向において、ガラス基板22のエッジよりもさらに外側に設けられている。固定支持端31pは、ガラス基板22と対向する位置から、単純支持端31とは反対方向にずれた位置に配置されている。
ブランケット保持板31は、支持部材としてのシャフト32により単純支持された単純支持端31qをさらに有する。ここでいう単純支持とは、その支持点での曲げモーメントの作用しない支持方法全般を意味する。固定支持端31pと単純支持端31qとは、表面31aおよび表面31bを挟んだブランケット保持板31の両端に設けられている。本実施の形態では、単純支持端31qを単純支持するシャフト22が、可動部材としてのコイルバネ46により移動可能に支持されている。コイルバネ46の他方端は、固定板41に接続されている。このような構成により、単純支持端31qは、シャフト22およびコイルバネ46によって、固定板41と基板用ステージ21との間を結ぶ方向に移動可能に支持されるとともに、固定板41に近接する方向の圧縮力を受けている。
ブランケット保持板31は、板バネから形成されている。ブランケット保持板31は、固定支持端31pから遠ざかるに従って主表面21aと表面31aとの間の距離Hが増大するように湾曲する状態(図2(A)中に示す状態)と、主表面21aと表面31aとの間の距離Hが一定となるように延在する状態(図2(C)中に示す状態)との間で弾性的に変形可能である。ブランケット保持板31は、固定支持端31pを固定支持点として単純支持端31qに向けて弓形に湾曲する状態と、固定支持端31pと単純支持端31qとの間で平面状に延在する状態との間で弾性的に変形可能である。
板バネには曲げ降伏限界があり、またエア導入時にガラス基板22に容易に倣いやすいように、ブランケット保持板31を形成する板バネは、薄いほうが望ましい。具体的には、強度と繰り返し曲げ耐性とを併せ持つSUS等の金属板を用いた場合、長さが500mm以下のとき、0.5mm〜2mmの厚さであることが望ましい。
ブランケット保持板31の表面31aには、ブランケット36が貼り合わされている。ブランケット36は、ゴム状のシートから形成されている。ブランケット36は、繰り返しガラス基板22に押圧するため、弾性的に変形可能であることが求められる。また、被印刷物にインクパターンを転写するため、被印刷物よりもインクの撥水性が高いことが求められる。一般的には、表面がシリコーンゴムにより形成されたブランケットが使用される。
エアバルーン38は、固定板41とブランケット保持板36との間に設けられている。エアバルーン38は、密閉空間を形成する袋状部材から形成されている。エアバルーン38は、固定板41に密着して設けられている。固定板41には、エアバルーン38の内部空間に連通するエア管43が接続されている。エア管43を通じて空気が吸排気されることにより、エアバルーン38の容積が増大もしくは減少する。エアバルーン38の容積が増大するに従って、エアバルーン38から表面31bに対して平面的に圧力が付与される。
続いて、図1中の印刷装置10を用いてガラス基板22に画像を形成する方法について説明する。
まず、塗布コータ(図示せず)を用いて、印刷版27にインクを塗布する。インクの塗布には、スリットコータを用いてもよいし、インクの粘度に合わせてバーコータなどを用いてもよい。
インク材料は特に限定されず、用途により、主成分をたとえば配線材料、透明電極材料、レジスト、絶縁材料、着色材料等から選択した上で、一般に知られる表面張力や粘度の調整方法を適用したものを利用できる。
タック性を持つ程度にインクを乾燥させた後、印刷版27を印刷版用ステージ26に設置し、印刷版用ステージ26をブランケット36の下方にまで移動させる。エア管43の注入口を通じてエアバルーン38に空気を供給することによりブランケット保持板38を変形させ、ブランケット36と印刷版27とを接触させる。次に、エアバルーン38から空気を徐々に放出させることにより、ブランケット36を印刷版27から順次剥離していく。これにより、印刷版27からブランケット36へのインクパターンの転写が完了する。
次に、ガラス基板22が設置された基板用ステージ21をブランケット36の下方にまで移動させる。上記の場合と同様に、エアバルーン38に対する空気の供給、放出を行ない、ブランケット36からガラス基板22にインクパターンを転写する。以上の工程により、ガラス基板22に所望の画像が形成される。
続いて、インクパターン転写時の印刷装置10の動作について説明する。印刷版27からブランケット36へのインクパターン転写時も、ブランケット36からガラス基板22へのインクパターン転写時も、印刷装置10の動作は同様である。以下では、代表的に、ブランケット36からガラス基板22へのインクパターン転写時について説明する。
図3は、図1中の印刷装置の動作を模式的に表わした図である。図2および図3を参照して、エアバルーン38に空気を供給する前の初期状態において、ブランケット保持板31は、弓形の湾曲状態にある。このとき、ブランケット36とガラス基板22とは、非接触の状態にある(図2(A))。
エアバルーン38に空気を供給する加圧時、膨張するエアバルーン38がブランケット保持板31を変形させ、この変形したブランケット保持板31がさらに基板用ステージ21に向けて押圧する。このとき、ブランケット保持板31は、単純支持端31qがコイルバネ46の弾性力に抗しながら基板用ステージ21に近接するように、固定支持端31pを支点にして徐々に変形していく。エアバルーン38に対する空気の積算供給量が増えるに従って、エアバルーン38内部の圧力が増大し、この圧力増大に伴うブランケット保持板31の変形により、ガラス基板22との接触面積が徐々に増していく。また、この過程において、ブランケット保持板31に加わる等分布荷重を徐々に高めることができる。
本実施の形態では、固定支持端31pがガラス基板22の頂面の高さとほぼ等しい高さで固定支持されている。このような構成により、ブランケット保持板31の変形に伴って、固定支持端31p側から単純支持端31q側に順に、ブランケット36とガラス基板22とが接触していく。
最終的に、ブランケット保持板31を、固定支持端31pと単純支持端31qとの間で平面状に延在する状態にまで変形させることにより、ブランケット36とガラス基板22とを全面で接触させる。このとき、コイルバネ46は、単純支持端31qが固定支持端31pと同じ高さに位置決めされるまで伸長する(図2(C))。その後、さらにエアバルーン38に空気を供給することにより、ブランケット36とガラス基板22との接触圧を高めることも可能である。
以上に説明した、この発明の実施の形態における印刷装置10は、ステージとしての基板用ステージ21および印刷版用ステージ26と、ブランケット保持板31と、固定部材としての固定板41と、圧力付与部材としてのエアバルーン38とを備える。基板用ステージ21および印刷版用ステージ26は、それぞれ、平板としてのガラス基板22および印刷版27をそれぞれ保持する主表面21aおよび主表面26aを有する。ブランケット保持板31は、主表面21a,26aと対向し、ブランケット36を保持する第1表面としての表面31aと、表面31aの裏側に配置される第2表面としての表面31bとを有する。固定板41は、表面31bと対向して配置される。エアバルーン38は、ブランケット保持板31と固定板41との間に配置され、表面31bに対して圧力を付与する。ブランケット保持板31は、固定支持された固定支持部としての固定支持端31pを有する。
ブランケット保持板31は、固定支持端31pから遠ざかるに従って主表面21a,26aと表面31aとの間の距離Hが増大するように湾曲する第1状態と、主表面21a,26aと表面31aとの間の距離Hが一定となるように延在する第2状態との間で弾性的に変形可能である。固定板41の位置が保持された状態で、エアバルーン38からブランケット保持板31に対して圧力が付与されることによって、ブランケット保持板31が第1状態から第2状態に変形し、ブランケット36とガラス基板22もしくは印刷版27とが接触する。また逆に、エアバルーン38からブランケット保持板31に対する圧力を減少させることによって、ブランケット保持板31が第2状態から第1状態に変形し、ブランケット36とガラス基板22もしくは印刷版27とが剥離する。
続いて、図1中の印刷装置10の各種変形例について説明する。
図4は、図1中の印刷装置の第1変形例を示す斜視図である。図4(A)および図4(B)を参照して、本変形例では、図1中のコイルバネ46に替えてエアシリンダ61が設けられており、単純支持端31qがエアシリンダ61によって弾性的に支持されている。このような構成によれば、コイルバネ46と比べて構造は複雑となるが、バネ性の劣化の影響を受けにくいという効果が得られる。
図4(C)および図4(D)を参照して、本変形例では、エアシリンダ61に加えて、図1中のエアバルーン38に替えてベローズ63が設けられている。ベローズ63は、蛇腹形状を有し、固定板41と基板用ステージ21とを結ぶ方向に伸縮可能である。ベローズ63は、筒形状を有し、その開口端の両側がそれぞれ固定板41およびブランケット保持板31に接続されている。このような構成により、ベローズ63は、固定板41およびブランケット保持板31と一体となって、空気が導入される気密性の空間を形成している。エアバルーン38とブランケット保持板31との接触がなく、エアによって直接ブランケット保持板31を押圧することにより、均一に圧力を付与でき、また動作時のエアバルーン38とブランケット保持板31との間のスティックスリップを防止することができる。なお、本発明における可動部材と圧力付与部材との組み合わせは、以上に説明したものに限定されず、たとえばコイルバネとベローズとの組み合わせであってもよい。
図5は、図1中の印刷装置の第2変形例を示す側面図である。図5を参照して、本変形例では、固定支持端31pが、基板用ステージ21に設置されたガラス基板22の頂面よりも高い位置で固定支持されている。このような構成であっても、固定支持端31pとガラス基板22との間の距離や、エアバルーン38によってブランケット保持板31を押圧する位置などを調整することによって、固定支持端31p側から単純支持端31q側に順に、ブランケット36とガラス基板22とを接触させることができる。また、ブランケット保持板31の変形時、ガラス基板22の左側エッジにおける、ブランケット36による局部的な高圧な押圧をより確実に避けることができる。
図6は、図1中の印刷装置の第3変形例を示す側面図である。図6を参照して、本変形例では、図1中のコイルバネ46が設けられておらず、単純支持端31qの位置は固定されている。エアバルーン38に空気が供給されることによって、ブランケット保持板31は、ガラス基板22の頂面上では平面状に延在する状態にまで変形し、この変形に伴ってブランケット36とガラス基板22とが接触する。この場合には、両者を均一に接触させるため、ガラス基板22の右端よりもさらに右側に単純支持端31qを配置する必要があり、装置スペースは大きくなるが、構造が簡単になるというメリットがある。
なお、図1中に記載の実施例および第1〜第3の変形例におけるブランケット保持板31は、元の形状として、弓形の湾曲形状を有してもよい。
図7は、図1中の印刷装置の第4変形例を示す斜視図である。図7を参照して、本変形例では、印刷装置10が、固定板41および固定壁42を中心軸71を中心に回動させる水平回動機構を有する。このような構成により、基板用ステージ21に設置されたガラス基板22上から、固定板41、ブランケット保持板31、ブランケット36およびエアバルーン38を退避させることができる。これにより、適当なタイミングで、カメラ等により上部からガラス基板22を観測することが可能となる。
図8は、図1中の印刷装置の第5変形例を示す側面図である。図8を参照して、本変形例では、基板用ステージ21が上下方向(基板用ステージ21と固定板41とを結ぶ方向)に移動可能に設けられている。このような構成により、ブランケット36とガラス基板22とを接触させた後、エアバルーン38から空気を徐々に放出させる替わりに、基板用ステージ21を下方に移動させることにより、ブランケット36とガラス基板22とを剥離させる。
なお、固定板41が、ブランケット保持板31、ブランケット36およびエアバルーン38とともに上下方向に移動可能に設けられてもよい。
続いて、図1中の印刷装置10によって奏される作用、効果について説明する。
図9は、図1中の印刷装置を模式的に表わした図である。図9を参照して、印刷装置10において、ブランケット保持板31と固定板41との間の空間Aの体積をVaとし、ブランケット保持板31とガラス基板22との間の空間Bの体積をVbとし、固定板41とガラス基板22との間の空間Cの体積をVcとしたときに、Vc=Va+Vbの関係が成立する。
本実施の形態では、固定板41の位置が固定された状態でエアバルーン38に空気が供給される。すなわち、空間Cの体積Vcを一定に保持しながら、空間Aに空気を導入し、体積Vaを大きくしつつ空間Bの体積Vbを小さくしていく。これにより、空間Aに対する圧力の付与を通じて、ブランケット保持板31がガラス基板22に沿うように変形する。また、本実施の形態では、固定端を基板端よりもさらに左側に設けているため、ガラス基板22の左端から右端に向けて順に、ブランケット36とガラス基板22とが接触していく。さらに、ブランケット保持板31の背面圧には等分布荷重を与えているため、ガラス基板22に与えられる圧力は均一圧となる。このため、従来技術のように、ブランケット36がまずガラス基板22の中央部に接触したり、ブランケット36とガラス基板22とが複数回接触するといった問題が生じない。
すなわち、図1中の印刷装置10によれば、下記の効果を得ることができる。
1.ブランケット保持板31の変形は、エアバルーン38内部の圧力(エア導入積算流量)によって一意的に決まるものであり、再現性が高い。また、積算流量の調整により、ブランケット36とガラス基板22との最終的な接触圧をコントロールすることも可能である。
2.エアバルーン38に対する空気の導入のみによるブランケット保持板31の変形により、ブランケット36は、ガラス基板22に対して左側から右側に一方向に順次、接触し、また右側から左側に一方向に、順次剥離することが可能になる。
3.ブランケット36およびガラス基板22の接触後の圧力は、エアバルーン38から作用する圧力と同等になり、面内分布が均一となる。
4.第1変形例の場合、エアバルーン38の替わりに、ブランケット保持板31および固定板41とベローズ63とが一体になって気密性空間を形成することによって、圧力は直接ブランケット保持板31に加わり、接触動作による面内分布のばらつきや再現性の低下が生じない。
効果1について、エアバルーン38に対する空気の積算流量に応じて、ブランケット保持板31の変形量およびガラス基板22に対する印刷圧が定まる。このため、加圧過程の圧力再現性が高く、さらに全面接触が完了した後に空気の導入を行なうことにより印刷圧を高めることも可能である。最終圧力を変える場合であっても、押圧動作過程を同じにすることができ、従来の1つ目の課題が解消され、本発明の目的が達成される。
効果2について、固定板41およびブランケット保持板31間の空間Aに圧力を加え、ブランケット保持板31が変形することにより、ブランケット36とガラス基板22との接触面積が徐々に広がっていく。固定支持端31pをガラス基板22の頂面とほぼ等しい高さに設定すれば、ブランケット36およびガラス基板22を固定支持端31p側から単純支持端31q側へと順次接触させる工程を容易に実現することができる。また、空間Aの圧力を低減すれば、加圧動作と逆動作により、ブランケット36およびガラス基板22を単純支持端31q側から固定支持端31p側へと順次剥離することができ、従来の2つ目の課題が解消され、本発明の目的が達成される。
効果3について、エアバルーン38からの等分布荷重がブランケット保持板31およびブランケット36を通じてガラス基板22に加わり、ガラス基板22への圧力の面内分布は向上する。
効果4について、特にブランケット保持板31および固定板41とベローズ63とが一体になって気密性空間を形成する図4中の形態によれば、ガラス基板22への圧力分布や再現性が向上する。
このように構成された、この発明の実施の形態における印刷装置10および印刷方法によれば、固定板41およびガラス基板22間の空間Cの体積Vcを一定に保持しながら、固定板41およびブランケット保持板31間の空間Aに空気を導入する構成により、ブランケット保持板31が変形する動作シーケンスを、空間Aに対する空気の積算流量のみにより決定することができる。これにより、ブランケット保持板31を意図した通りに変形させ、安定した印刷状態を得ることができる。また、ブランケット36と、ガラス基板22および印刷版27とを一方向に接触、剥離させることにより、ブランケット36からガラス基板22および印刷版27に作用する横荷重を適正に制御することができる。以上の理由により、高精度かつ高い再現性で印刷を実施することができる。
今回開示された実施の形態はすべての点で例示であって制限的なものではないと考えられるべきである。本発明の範囲は上記した説明ではなくて特許請求の範囲によって示され、特許請求の範囲と均等の意味および範囲内でのすべての変更が含まれることが意図される。
たとえば、本発明は、ブランケットのような弾性体と基板との加圧による印刷であれば、オフセット印刷以外の、特開2000−289320記載の印刷法(シリコンブランケット上に機能性樹脂の塗布面を形成し、凹版又は凸版を塗布面に押圧する。押圧部分の樹脂をシリコンブランケット上から除去し、残った樹脂を被印刷体に転写する。)や、フレキソ印刷等にも適用が可能である。
この発明の実施の形態における印刷装置を示す斜視図である。 図1中の印刷装置の動作を示す側面図である。 図1中の印刷装置の動作を模式的に表わした図である。 図1中の印刷装置の第1変形例を示す斜視図である。 図1中の印刷装置の第2変形例を示す側面図である。 図1中の印刷装置の第3変形例を示す側面図である。 図1中の印刷装置の第4変形例を示す斜視図である。 図1中の印刷装置の第5変形例を示す側面図である。 図1中の印刷装置を模式的に表わした図である。 板バネ状のブランケット保持板を用いた印刷装置を示す側面図である。 図10中の印刷装置において、ブランケット保持板が変形する様子を模式的に表わした図である。 図10中の印刷装置において、ブランケットおよび基板の接触領域の変化を模式的に表わした図である。
符号の説明
10 印刷装置、21 基板用ステージ、21a,26a 主表面、22 ガラス基板、26 印刷版用ステージ、27 印刷版、31 ブランケット保持板、31a,31b 表面、31p 固定支持端、31q 単純支持端、32 シャフト、36 ブランケット、38 エアバルーン、41 固定板、46 コイルバネ、61 エアシリンダ、63 ベローズ。

Claims (15)

  1. 平板を保持する主表面を有するステージと、
    前記主表面と対向し、ブランケットを保持する第1表面と、前記第1表面の裏側に配置される第2表面とを有するブランケット保持板と、
    前記第2表面と対向して配置される固定部材と、
    前記ブランケット保持板と前記固定部材との間に配置され、前記第2表面に対して圧力を付与する圧力付与部材とを備え、
    前記ブランケット保持板は、固定支持された固定支持部を有し、前記固定支持部から遠ざかるに従って前記主表面と前記第1表面との間の距離が増大するように湾曲する第1状態と、前記主表面と前記第1表面との間の距離が一定となるように延在する第2状態との間で弾性的に変形可能であり、
    前記固定部材の位置が保持された状態で、前記圧力付与部材から前記ブランケット保持板に対して圧力が付与されることによって、前記ブランケット保持板が前記第1状態から前記第2状態に変形し、ブランケットと平板とが接触する、印刷装置。
  2. 前記ブランケット保持板は、前記第1表面を挟んで前記固定支持部の反対側に設けられた支持部材を有する、請求項1に記載の印刷装置。
  3. 前記固定部材に接続され、前記支持部材を移動可能に支持する可動部材をさらに備える、請求項2に記載の印刷装置。
  4. 前記可動部材は、弾性部材により形成される、請求項3に記載の印刷装置。
  5. 前記弾性部材は、バネである、請求項4に記載の印刷装置。
  6. 前記弾性部材は、エアシリンダである、請求項4に記載の印刷装置。
  7. 前記圧力付与部材は、気体が吸排気されることにより容積が変化するバルーンである、請求項1から6のいずれか1項に記載の印刷装置。
  8. 前記圧力付与部材は、前記ブラケット保持板および前記固定部材とともに気密を保つ空間を形成し、伸縮性を有する封止部材である、請求項1から7のいずれか1項に記載の印刷装置。
  9. 前記封止部材は、ベローズにより形成される、請求項8に記載の印刷装置。
  10. 前記固定支持部は、前記主表面に保持された平板の頂面とほぼ同じ高さに設けられる、請求項1から9のいずれか1項に記載の印刷装置。
  11. 前記固定支持部は、前記主表面に保持された平板の頂面よりも高い位置に設けられる、請求項1から9のいずれか1項に記載の印刷装置。
  12. 前記圧力付与部材に気体が導入されることによって、前記ブランケット保持板に対して圧力が付与される、請求項1から11のいずれか1項に記載の印刷装置。
  13. 前記圧力付与部材に導入された気体の積算流量を調整することによって、前記ブランケット保持板に対して付与される圧力の大きさが調整される、請求項12に記載の印刷装置。
  14. 請求項1から13のいずれか1項に記載の印刷装置を用いた印刷方法であって、
    前記主表面に平板を保持する工程と、
    前記圧力付与部材から前記ブランケット保持板に対して圧力を付与することにより、前記固定支持部側から前記固定支持部より遠ざかる側に順に、前記平板とブランケットとを接触させる工程とを備える、印刷方法。
  15. 平板を保持する主表面を有するステージと、
    前記主表面上に配置され、ブランケットを保持するブランケット保持板と、
    前記ブランケット保持板に対して前記ステージの反対側に配置される固定部材とを備え、
    前記ブランケット保持板と前記固定部材との間の空間Aの体積をVaとし、前記ブランケット保持板と前記ステージに保持された平板との間の空間Bの体積をVbとし、前記固定部材と前記ステージに保持された平板との間の空間Cの体積をVcとしたときに、Vc=Va+Vbの関係が成立し、
    体積Vcを一定に保持した状態において、空間Bの内部に圧力を付与することにより、前記ブランケット保持板を変形させて体積Vbを増大させ、体積Vbの増大に伴って体積Vaが減少することにより、前記ブランケット保持板に保持されたブランケットが平板に接触する、印刷装置。
JP2008184229A 2008-07-15 2008-07-15 印刷装置および印刷方法 Expired - Fee Related JP5187840B2 (ja)

Priority Applications (1)

Application Number Priority Date Filing Date Title
JP2008184229A JP5187840B2 (ja) 2008-07-15 2008-07-15 印刷装置および印刷方法

Applications Claiming Priority (1)

Application Number Priority Date Filing Date Title
JP2008184229A JP5187840B2 (ja) 2008-07-15 2008-07-15 印刷装置および印刷方法

Publications (2)

Publication Number Publication Date
JP2010023249A true JP2010023249A (ja) 2010-02-04
JP5187840B2 JP5187840B2 (ja) 2013-04-24

Family

ID=41729554

Family Applications (1)

Application Number Title Priority Date Filing Date
JP2008184229A Expired - Fee Related JP5187840B2 (ja) 2008-07-15 2008-07-15 印刷装置および印刷方法

Country Status (1)

Country Link
JP (1) JP5187840B2 (ja)

Cited By (4)

* Cited by examiner, † Cited by third party
Publication number Priority date Publication date Assignee Title
JP2013111909A (ja) * 2011-11-30 2013-06-10 Dainippon Screen Mfg Co Ltd パターン転写装置
JP2013111908A (ja) * 2011-11-30 2013-06-10 Dainippon Screen Mfg Co Ltd 搬送装置
JP2013111907A (ja) * 2011-11-30 2013-06-10 Dainippon Screen Mfg Co Ltd パターン形成装置およびパターン形成方法
US8893620B2 (en) 2011-11-30 2014-11-25 SCREEN Holdings Co., Ltd. Printing apparatus and printing method with measurement of a carrier thickness

Citations (2)

* Cited by examiner, † Cited by third party
Publication number Priority date Publication date Assignee Title
JPH10340668A (ja) * 1997-06-04 1998-12-22 Fujitsu Ltd 表示パネルの隔壁形成装置
JP2008132743A (ja) * 2006-11-27 2008-06-12 Hidejiro Ono 印刷機及び印刷法

Patent Citations (2)

* Cited by examiner, † Cited by third party
Publication number Priority date Publication date Assignee Title
JPH10340668A (ja) * 1997-06-04 1998-12-22 Fujitsu Ltd 表示パネルの隔壁形成装置
JP2008132743A (ja) * 2006-11-27 2008-06-12 Hidejiro Ono 印刷機及び印刷法

Cited By (5)

* Cited by examiner, † Cited by third party
Publication number Priority date Publication date Assignee Title
JP2013111909A (ja) * 2011-11-30 2013-06-10 Dainippon Screen Mfg Co Ltd パターン転写装置
JP2013111908A (ja) * 2011-11-30 2013-06-10 Dainippon Screen Mfg Co Ltd 搬送装置
JP2013111907A (ja) * 2011-11-30 2013-06-10 Dainippon Screen Mfg Co Ltd パターン形成装置およびパターン形成方法
US8893620B2 (en) 2011-11-30 2014-11-25 SCREEN Holdings Co., Ltd. Printing apparatus and printing method with measurement of a carrier thickness
US8955432B2 (en) 2011-11-30 2015-02-17 SCREEN Holdings Co., Ltd. Pattern forming apparatus and pattern forming method

Also Published As

Publication number Publication date
JP5187840B2 (ja) 2013-04-24

Similar Documents

Publication Publication Date Title
KR100981692B1 (ko) 스탬프로부터 기판으로 패턴을 전사하기 위한 방법 및 디바이스
US9440254B2 (en) Method and apparatus for applying a sheet to a substrate
US10994470B2 (en) Structure stamp, device and method for embossing
US20040197712A1 (en) System for contact printing
TWI450770B (zh) 用於一撓性片材與一基材之接觸的方法與系統
CN100564056C (zh) 向曲面印刷的方法以及以该方法获得的印刷曲面体
JP2008254405A (ja) 印刷方法と印刷装置並びにこれを用いた液晶表示装置
JPH09240125A (ja) 物品の面をスタンピングするための装置および方法
JP5187840B2 (ja) 印刷装置および印刷方法
JP5869250B2 (ja) 印刷装置、印刷方法及びその印刷方法を実行させるためのプログラムを記録したコンピュータ読み取り可能な記録媒体
JP2010234714A (ja) 印刷装置および印刷方法
JP6207490B2 (ja) 電子デバイスパターンの印刷装置及びその印刷方法
KR20080039202A (ko) 노광장치
JP2008132743A (ja) 印刷機及び印刷法
JP2009137040A (ja) 画像形成方法および画像形成装置
JPWO2012133840A1 (ja) インプリント装置、インプリント方法、電子回路基板、及び電子機器
JP2010082841A (ja) 印刷方法、印刷装置および表示装置
JP2011104859A (ja) 画像形成方法および画像形成装置
JP2007331219A (ja) 印刷機および印刷方法
JP2005024819A (ja) 薄膜形成装置および液晶パネルの製造方法
KR20150059388A (ko) 인쇄 위치 정밀도 보정 방법
JP4978498B2 (ja) 基板貼付装置及び基板貼付方法
JP2017132052A (ja) 印刷装置
KR20250082621A (ko) 강성 가변형 스탬프 및 이를 이용한 전사 방법
JP2001341280A (ja) 印刷機

Legal Events

Date Code Title Description
A621 Written request for application examination

Free format text: JAPANESE INTERMEDIATE CODE: A621

Effective date: 20100826

A131 Notification of reasons for refusal

Free format text: JAPANESE INTERMEDIATE CODE: A131

Effective date: 20120424

A521 Written amendment

Free format text: JAPANESE INTERMEDIATE CODE: A523

Effective date: 20120612

TRDD Decision of grant or rejection written
A01 Written decision to grant a patent or to grant a registration (utility model)

Free format text: JAPANESE INTERMEDIATE CODE: A01

Effective date: 20121225

A61 First payment of annual fees (during grant procedure)

Free format text: JAPANESE INTERMEDIATE CODE: A61

Effective date: 20130117

FPAY Renewal fee payment (event date is renewal date of database)

Free format text: PAYMENT UNTIL: 20160201

Year of fee payment: 3

R150 Certificate of patent or registration of utility model

Free format text: JAPANESE INTERMEDIATE CODE: R150

LAPS Cancellation because of no payment of annual fees