JP2010023148A - 工作機械 - Google Patents

工作機械 Download PDF

Info

Publication number
JP2010023148A
JP2010023148A JP2008185393A JP2008185393A JP2010023148A JP 2010023148 A JP2010023148 A JP 2010023148A JP 2008185393 A JP2008185393 A JP 2008185393A JP 2008185393 A JP2008185393 A JP 2008185393A JP 2010023148 A JP2010023148 A JP 2010023148A
Authority
JP
Japan
Prior art keywords
main shaft
turning
spindle
taper portion
tool
Prior art date
Legal status (The legal status is an assumption and is not a legal conclusion. Google has not performed a legal analysis and makes no representation as to the accuracy of the status listed.)
Granted
Application number
JP2008185393A
Other languages
English (en)
Other versions
JP2010023148A5 (ja
JP5243124B2 (ja
Inventor
Toshiaki Saegusa
利明 三枝
Current Assignee (The listed assignees may be inaccurate. Google has not performed a legal analysis and makes no representation or warranty as to the accuracy of the list.)
Okuma Corp
Original Assignee
Okuma Corp
Okuma Machinery Works Ltd
Priority date (The priority date is an assumption and is not a legal conclusion. Google has not performed a legal analysis and makes no representation as to the accuracy of the date listed.)
Filing date
Publication date
Application filed by Okuma Corp, Okuma Machinery Works Ltd filed Critical Okuma Corp
Priority to JP2008185393A priority Critical patent/JP5243124B2/ja
Publication of JP2010023148A publication Critical patent/JP2010023148A/ja
Publication of JP2010023148A5 publication Critical patent/JP2010023148A5/ja
Application granted granted Critical
Publication of JP5243124B2 publication Critical patent/JP5243124B2/ja
Expired - Fee Related legal-status Critical Current
Anticipated expiration legal-status Critical

Links

Images

Landscapes

  • Machine Tool Positioning Apparatuses (AREA)
  • Machine Tool Units (AREA)

Abstract

【課題】装置の大型化を防ぎ、工具を取り付け可能な主軸を任意の角度で位置決めした状態で、主軸の剛性を高めた工作機械を提供する。
【解決手段】旋回主軸61を支持する主軸台のハウジング66A内に、旋回主軸の軸線方向に進退可能なスリーブ部材62と、旋回主軸に形成され旋回主軸の端部に向けて軸線方向に対し所定の角度傾斜した第1テーパ部T1と、スリーブ部材に形成され第1テーパ部と平行な第2テーパ部T2と、スリーブ部材に隣接しスリーブ部材の軸線方向に形成され第2テーパ部を第1テーパ部に向けて移動させ、第2テーパ部が第1テーパ部を押圧する押圧力を発生させる加圧流体が流入する第1加圧流体作動室65と、を備える。
【選択図】図2

Description

この発明は、工作物に加工を行う工具が取り付けられて回転可能に構成された主軸と、該主軸を旋回軸心回りで旋回割出し可能な旋回主軸と、を有する工作機械に関する。
例えば、特許文献1には、工具支持体を所定の回動軸心を中心に回動自在に設け、工具支持体に旋削工具や回転工具を装着使用する工作機械において、旋削加工時に工具支持側の剛性を向上させると共に、位置決め精度を向上させ、回転加工時に工具用主軸を細かい割り出し角度で素早く回動・位置決めする技術が開示されている。
特許文献1の工作機械では、上記の旋削工具を用いた旋削加工時には、刃物台本体の第1カップリング部材を、工具支持体の第2カップリングに係合させることにより、刃物台本体に対して工具支持体をクランプしている。
さらに、特許文献1の工作機械では、上記の回転工具を用いた回転加工時には、刃物台本体の第1摩擦クランプ面を、工具支持体の第2摩擦クランプ面に当接させることにより、刃物台本体に対して工具支持体をクランプしている。
上記の工作機械では、旋削加工時には、上記の第1カップリング部材と上記の第2カップリング部材との係合によって、刃物台本体に対し工具支持体を支持する際の剛性を向上させることができ、工具用主軸の位置決め精度を向上させている。
加えて、上記の工作機械では、回転加工時には、上記の第1摩擦クランプ面と上記の第2摩擦クランプ面との間の面摩擦を利用することにより、第1摩擦クランプ面と第2摩擦クランプ面との間を、簡易に素早くクランプ・アンクランプすると共に、工具用主軸を任意の角度で位置決めしている。
したがって、上記の工作機械では、各加工(旋削加工、回転加工)の形態に合わせて、刃物支持体に対して工具支持体をクランプする方法を選択することができる。
特開平10−328907号公報
ところで、一般に、工作物に対する加工時の加工状態が不安定になることにより、工具にびびり振動が発生することがある。工具にびびり振動が発生した場合には、該びびり振動に起因して、工作物の加工精度が低下し、工作物の仕上げ面に悪影響を及ぼすことが考えられる。このため、工作物に多様な加工を行うため、工具を取り付け可能な主軸を、任意の角度で位置決めした状態で、びびり振動の影響を受け難くするためには、前記主軸の剛性を高める必要がある。
しかしながら、上記特許文献1の工作機械では、工具を取り付け可能な主軸を支持する工具支持体の剛性を高めるために、第1カップリング部材と第2カップリング部材との係合箇所を増加させると、第1カップリング部材の全長及び第2カップリング部材の全長がそれぞれ長くなってしまう。これにより、第1カップリング部材を備える刃物台本体の寸法や第2カップリング部材を備える工具支持体の寸法がそれぞれ増加する。このため、刃物台本体の寸法や工具支持体の寸法の増加に伴って、工作機械が大型化することが懸念される。
この発明は、このような状況に鑑み提案されたものであって、装置の大型化を防ぐことができると共に、工具を取り付け可能な主軸を、任意の角度で位置決めした状態で、前記主軸の剛性を高めることができる工作機械を提供することを目的とする。
請求項1の発明に係る工作機械は、工作物に加工を行う工具が取り付けられて回転可能な主軸を有する主軸頭と、前記主軸頭に固定されて該主軸を旋回軸心回りで旋回割出し可能な旋回主軸と、を有する工作機械において、前記旋回主軸を支持する主軸台のハウジング内に、前記旋回主軸の軸線方向に進退可能なスリーブ部材と、前記旋回主軸に形成され、該旋回主軸の端部に向けて前記軸線方向に対して所定の角度傾斜した第1テーパ部と、前記スリーブ部材に形成され、前記第1テーパ部と平行な第2テーパ部と、を備えると共に、前記スリーブ部材に隣接し該スリーブ部材の軸線方向に形成されて、前記第2テーパ部を前記第1テーパ部に向けて移動させ、前記第2テーパ部が前記第1テーパ部を押圧する押圧力を発生させる加圧流体が流入する第1加圧流体作動室と、を備えることを特徴とする。
請求項1の発明に係る工作機械によれば、旋回主軸に形成された第1テーパ部に対し、該第1テーパ部に平行であってスリーブ部材に形成された第2テーパを面接触させることができると共に、加圧流体によって発生させた押圧力により、第1テーパ部と第2テーパ部とを圧接させることができる。これにより、主軸を有する主軸頭に固定された旋回主軸にブレーキ力を加えることができる。
なお、比較的小さい油圧力によって、旋回主軸に形成された第1テーパ部と、スリーブに形成された第2テーパ部とを圧接(密着)させることにより、旋回主軸が回転することを制動させることを効果的に行うことができるので、油圧ポンプ、油圧シリンダ等の構成を小型化することができ、総じて旋回主軸の回転を規制する機構の小型化、ひいては工作機械の小型化に寄与する。
請求項2の発明は、請求項1において、前記ハウジングと前記スリーブ部材との間に、前記ハウジングと接する前記旋回主軸の径方向に該旋回主軸を押圧し、前記旋回主軸の回転を規制する回転規制機構を備え、前記回転規制機構は、前記ハウジングと前記スリーブ部材との間に形成されて前記加圧流体が流入する第2加圧流体作動室と、前記加圧流体の圧力によって拡開し、前記ハウジングから前記旋回主軸の放射方向に向けて該旋回主軸を押圧する弾性部材と、を備えることを特徴とする。
請求項2の発明によれば、弾性部材が、主軸台のハウジングとスリーブ部材との間に形成された第2加圧流体作動室に流入する加圧流体の圧力によって拡開し、前記旋回主軸を、前記ハウジングから旋回主軸の放射方向に向けて押圧する。また、弾性部材によって、旋回主軸を、ハウジングから該旋回主軸の放射方向に向けて押圧することにより、旋回主軸に対し、押圧力を付与することができる。このため、前記押圧力によって、旋回主軸の回転を規制する摩擦力を増加させることができる。これにより、旋回主軸に固定された主軸が回転することを妨げることができる。
さらに、上記の第1テーパ部及び第2テーパ部からなる旋回主軸の回転を規制する機構と、弾性部材を備えた上記の回転規制機構とを併せ持つので、旋回主軸の回転を規制する機構を2つに分割することにより、各々の構成を一層小さくすることができ、各々の構成の配置の自由度が増すので、旋回主軸の回転を規制する機構の小型化、ひいては工作機械の小型化に一層寄与する。なお、同一の加圧流体により、第1テーパ部と第2テーパ部との間の圧接(密着)・離間や、弾性部材の拡開を行う場合には、旋回主軸の回転を規制する構造・制御を簡略化することができる。
請求項3の発明は、請求項1又は2において、前記加圧流体の圧力を増加させることにより、前記押圧力を増加させる押圧力調整部を備えることを特徴とする。
請求項3の発明によれば、押圧力調整部によって、第2テーパ部を第1テーパ部に移動させる押圧力を増加させ、該増加させた押圧力の大きさに応じ、第1テーパ部に対する第2テーパ部の拘束力を増加させることができる。
請求項4の発明は、請求項1ないし3のいずれかにおいて、前記第1テーパ部の表面又は前記第2テーパ部の表面のいずれか一方又は双方には、ダイヤモンドめっき層が形成されていることを特徴とする。
請求項4の発明によれば、硬度が高いダイヤモンドによって、第1テーパ部の表面又は第2テーパ部の表面のいずれか一方又は双方に、摩擦抵抗が大きい表面処理を施すことができる。これにより、第1テーパ部と第2テーパ部との間の摩擦力を増加させることができる。
本発明の工作機械によれば、比較的小さい油圧力によって、旋回主軸に形成された第1テーパ部と、スリーブに形成された第2テーパ部とを圧接(密着)させることにより、旋回主軸が回転することを制動させることを効果的に行うことができるので、油圧ポンプ、油圧シリンダ等の構成を小型化することができ、総じて旋回主軸の回転を規制する機構の小型化、ひいては工作機械の小型化に寄与する。また、上記の第1テーパ部及び第2テーパ部からなる旋回主軸の回転を規制する機構と、弾性部材を備えた上記の回転規制機構とを併せ持つので、旋回主軸の回転を規制する機構を2つに分割することにより、各々の構成を一層小さくすることができ、各々の構成の配置の自由度が増すので、旋回主軸の回転を規制する機構の小型化、ひいては工作機械の小型化に一層寄与する。なお、同一の加圧流体により、第1テーパ部と第2テーパ部との間の圧接(密着)・離間や、弾性部材の拡開を行う場合には、旋回主軸の回転を規制する構造・制御を簡略化することができる。
<実施形態>
本発明の実施形態を、図1ないし図3を参照しつつ説明する。図1は、複合加工旋盤1の全体斜視図である。複合加工旋盤1は、本発明の工作機械の一例である。複合加工旋盤1は、べッド10と、第1主軸台20と、第2主軸台30と、第1刃物台40と、第2刃物台50とを備えている。
ベッド10は、ガイドレール11を備えている。2本のガイドレール11同士は、ベッド10の傾斜面上に、平行に敷設されている。
第1主軸台20は、第1基台部21と、第1主軸部22とを備えている。第1基台部21は、ベッド10に固定されている。第1主軸部22には、チャック(図示せず。)を装着することができる。チャックには、ワークが把持される。
第2主軸台30は、第2基台部31と、第2主軸部32とを備えている。第2基台部31は、ガイドレール11と係合している。上記の第1主軸部22と同様に、第2主軸部32には、チャック(図示せず)を介し、ワークが把持される。
第1刃物台40は、支持ベース41と、主軸頭60とを備えている。コラム5によって、支持ベース41は、X方向へ移動可能に支持されている。また、コラム5は、ベッド10の上面において互いに平行に設けられた2つのガイドレール12上を、Z方向に移動させることができる。
第2刃物台50は、刃物台本体51と、タレットヘッド52とを備えている。刃物台本体51は、上記の第2基台部31と共に、ガイドレール11と係合している。タレットヘッド52には、各種の工具53を装着することができる。タレットヘッド52を回転割り出しすることにより、ワークの加工位置に、工具53が旋回割り出しされる。
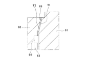
図2に示すように、支持ベース41は、旋回主軸61と、スリーブ62と、ピストンPと、支持ベース本体66とを備えている。旋回主軸61は、ベアリングBによって、支持ベース本体66に支持されている。主軸頭60には、該主軸頭60と直交する方向において、旋回主軸61が固定されている。旋回主軸61は、回転駆動機構70によって、回転駆動される。回転駆動機構70により、主軸頭60は、旋回軸線B1を中心にして、所定の角度に回転割り出しされる。ここでは、回転駆動機構70は、旋回主軸61と噛合する歯車を備えている。なお、主軸頭60には、工具主軸42が回転自在に挿入されている。工具主軸42は、主軸駆動機構(図示せず。)によって、回転駆動される。工具主軸42には、図1及び図2に示すように、工具43を装着することができる。工具主軸42は、本発明における主軸の一例であり、支持ベース本体66は、主軸台の一例である。旋回軸線B1は、本発明の旋回軸心の一例である。
スリーブ62は、支持ベース本体66のハウジング66A内に遊嵌されている。ハウジング66A及びスリーブ62の双方に、ボルト81によって、板バネ80を固定することにより、旋回主軸61が回転する場合であっても、スリーブ62は、ハウジング66A内を旋回主軸61の軸線方向に移動可能となり、回転することが規制される。スリーブ62には、第2テーパ面T2が形成されている。第2テーパ面T2は、スリーブ62の先端側に向けて、所定の角度で拡開する形状を有する。
上記の旋回主軸61には、第1テーパ面T1が形成されている。第1テーパ面T1は、上記の第2テーパ面T2と対向する位置に形成されている。上記の第2テーパ面T2は、第1テーパ面T1と平行に形成されている。
スリーブ62の上面と支持ベース66との間には、第2空室65が形成されている。第2空室65は、スリーブ62の軸線方向に形成されている。後述するように、第2空室65には、圧油が供給される。圧油によって、スリーブ62には、圧力が加えられる。これにより、スリーブ62は、該スリーブ62の軸線方向の下方側へ移動する。第2空室65に圧油が供給されない場合には、板バネ80によって、スリーブ62は、旋回主軸61の第1テーパ面T1と、スリーブ62の第2テーパ面T2とが接触しない位置に保持される。
第2空室65は、連通路68によって、上記の第1空室63と接続されている。このたため、第2空室65に供給された圧油は、連通路68を通じ、第1空室63にも供給される。
スリーブ62の下方には、ピストンPが、上下動可能に設けられている。ピストンPの上面と、支持ベース本体66の一面の内で前記ピストンPの上面に対向する面との間には、第3空室67が形成され、ピストンPの下向きの面と、支持ベース本体66の一面の内で前記ピストンPの下向きの面に対向する面との間には、第4空室75が形成されている。ピストンPの下面には、複数の突起部が設けられている。ピストンPが有する複数の突起部は、ピストンPの下面に対向する旋回主軸61及び支持ベース本体66にそれぞれ設けられた複数の突起部に噛合可能とされ、両突起部によって、カップリングを形成している。これにより、旋回主軸61が回転することが規制される。ここでは、上述したピストンPの突起部と、上述した旋回主軸61及び支持ベース本体66にそれぞれ設けられた突起部とが噛合する位置に、旋回主軸61を回転駆動させた状態で、旋回主軸61の回転が規制可能とされている。第3空室67に供給された圧油により、ピストンPは、スリーブ62の軸線方向の下方側に移動し、第4空室75に供給された圧油により、スリーブ62の軸線方向の上方側へ浮動可能とされている。
スリーブ62の外周には、弾性部材64が固着されている。弾性部材64の中央部付近は、全周に亘ってくり抜かれて薄肉に形成され、くり抜かれた部分の上方及び下方がそれぞれ厚肉に形成されている。これにより、弾性部材64の薄肉部分とスリーブ62との間に、第1空室63が形成されている。ここでは、弾性部材64は、鋼材等の金属で形成されている。本実施形態では、電子ビーム溶接法により、弾性部材64の上方厚肉部分及び下方厚肉部分を、スリーブ62にそれぞれ連結固着した。これにより、弾性部材64とスリーブ62とを歪ませることなく溶接し且つ強固に連結すると共に、弾性部材64とスリーブ62との間に隙間が生じることを防ぎ、第1空室63に圧油を供給しても、弾性部材64とスリーブ62との間から、圧油が漏れることを防止する。
図2に示すように、支持ベース本体66には、油圧回路が接続されている。油圧回路は、方向切換弁71と、パイロットチェック弁72と、電磁弁73と、増圧弁74とを備えている。
方向切換弁71の第1ポートは、第1ポンプ接続管路71Aを介し、油圧ポンプP1に接続されている。方向切換弁71の第2ポートは、第1タンク接続管路71Bを介し、タンクTに接続されている。
方向切換弁71の第3ポートは、第1油送管路72Aを介し、上記の第3空室67に接続されている。第1油送管路72Aには、パイロットチェック弁72が設けられている。方向切換弁71の第4ポートは、第2油送管路72Bを介し、第4空室75に接続されている。第2油送管路72Bには、パイロットチェック弁72のパイロットポートが接続されている。なお、タンクTには、上記の第4空室75から排出された油が戻される。油圧ポンプP1により、タンクTから上記の第3空室67に向けて、圧油が送られる。
電磁弁73の一方は、第2ポンプ接続管路73Aを介し、上記の油圧ポンプP1に接続されている。電磁弁73の他方は、第2タンク接続管路73Bを介し、上記のタンクTに接続されている。
上記の電磁弁73の一方は、第3油送管路74Aを介し、上記の第2空室65に接続されている。第3油送管路74Aには、増圧弁74が接続されている。上記の電磁弁73の他方には、バイパス管路74Bが接続されている。バイパス管路74Bは、第3油送管路74Aに設けられた油圧ポンプP2をバイパスする管路である。
次に、本発明の工作機械の実施形態として、複合加工旋盤1の動作について説明する。以下に、大きな負荷がかかる加工の一例として、旋削加工時の動作を説明する。旋削加工時には、旋回主軸61を所定の角度に割り出した状態で、ピストンPを下降させ、ピストンP、旋回主軸61及び支持ベース本体66の各突起部(カップリング)を噛合させた状態とし、第1テーパ面T1と第2テーパ面T2との間及び弾性部材64と旋回主軸61との間をそれぞれ離間させた状態とする。すなわち、先ず、油圧ポンプP1により、圧油が、方向切換弁71及び第2油送管路72Bを通じ、第4空室75に供給される。これにより、ピストンPは、スリーブ62の軸線方向の上方側へ移動する。このため、上述したピストンP、旋回主軸61及び支持ベース本体66の各突起部の噛合状態が解除される。
その後、回転駆動機構70により、旋回軸線B1を中心として、旋回主軸61を、所定の回転角度に回転割り出しする。この結果、旋回主軸61に固定された主軸頭60は、旋回軸線B1回りで旋回し、工具43(旋削工具)の向きが変更される。なお、このとき、所定の角度に回転割り出しをした後の旋回主軸61の突起部は、ピストンPの突起部と噛合可能な状態であることが必要である。
旋回主軸61の回転割り出しが完了すると、続いて、方向切替弁71を切り替えて、油圧ポンプP1により、圧油を、第3空室67に供給し、ピストンPを下降させる。このとき、第4空室75内の油は、タンクTに排出される。
支持ベース本体66の突起部を有する面からは、ピストンPに向けて、図示しないピンが突出可能とされ、且つ該ピンは、ピストンPに向けて付勢可能とされており、ピストンPの下降により、ピンが押し下げられることにより、ピストンP、旋回主軸61及び支持ベース本体66の各突起部の噛合状態が確認され、旋削加工が可能であることを判別する。この状態においては、主軸頭60の割り出し角度は、ピストンP、旋回主軸61及び支持ベース本体66の各突起部が噛合可能な位置に制限されるが、各突起部の噛合によって、ピストンP、旋回主軸61及び支持ベース本体66を強固にクランプすることができるため、大きな負荷がかかるワークに対する加工を、支障なく実現することができる。なお、ピストンP、旋回主軸61及び支持ベース本体66を強固にクランプする動作は、旋削加工に限定されず、回転工具を用いて上で、工具主軸42を回転させる回転加工にも適用可能である。
さらに、複合加工旋盤1において、任意の角度に主軸頭60を割り出して加工を行う一例として、回転工具を用いて、工具主軸42を回転させる回転加工時の動作を説明する。回転加工時には、先ず、油圧ポンプP1により、圧油が、方向切換弁71及び第2油送管路72Bを通じ、第4空室75に供給される。これにより、ピストンPは、スリーブ62の軸線方向の上方側へ移動する。このため、上述したピストンP、旋回主軸61及び支持ベース本体66の各突起部の噛合状態が解除される。
その後、上述した旋削加工時と同様に、旋回主軸61に固定された主軸頭60は、旋回軸線B1回りで旋回し、工具43(回転工具)の向きが変更される。なお、この場合には、旋回主軸61の突起部が、ピストンPの突起部と噛合可能な状態である必要はない。
旋回主軸61の回転割り出しが完了すると、油圧ポンプP1により、圧油が、電磁弁73及び第3油送管路74Aを通じ、上記の油圧ポンプP2に供給される。油圧ポンプP2は、圧油を増圧し、該増圧した圧油を、第2空室65に供給する。本実施形態では、前記圧油が、本発明の加圧流体の一例である。
第2空室65に供給された圧油により、スリーブ62には、該スリーブ62の軸線方向下側に向けて作用する圧力が加わる。これにより、上記の板バネ80の保持力に抗してスリーブ62が下降し、上記の第2テーパ面T2が、上記の第1テーパ面T1に押し付けられる。
なお、本実施形態では、第2空室65は、本発明の第1加圧流体作動室の一例である。増圧弁74は、本発明の押圧力調整部の一例である。スリーブ62の軸線方向下側に向けて作用する圧力は、本発明の押圧力の一例である。また、第1テーパ面T1は、本発明の第1テーパ部の一例であり、第2テーパ面T2は、本発明の第2テーパ部の一例である。スリーブ62は、本発明のスリーブ部材の一例である。
さらに、圧油は、第2空室65から連通部68を通過して、第1空室63に供給される。第1空室63に供給された圧油により、弾性部材64には、圧力が加えられる。この圧力によって、弾性部材64は、旋回主軸61の中心軸から放射する方向(該旋回主軸61の径方向)に向けて弾性変形し、該弾性部材64は、旋回主軸61の側面に密接する。これにより、旋回主軸61の回転を規制する摩擦力を増加させ、旋回主軸61に対し、ブレーキ力を加えることができる。本実施形態では、第1空室63は、本発明の第2加圧流体作動室(回転規制機構)の一例である。弾性部材64は、本発明の回転規制機構の一例である。
加えて、上記の油圧ポンプP2により、圧油がより増圧されると、第2テーパ面T2を第1テーパ面T1に押し付ける力が増加する。圧油の増圧に伴って、上記の弾性部材64に加わる押圧力が増加する。これによって、弾性部材64は、旋回主軸61の側面に強く押し付けられ、旋回主軸61に対するブレーキ力が増加する。
この状態において、上記の工具43により、ワークに対して旋削加工を行う際には、第2テーパ面T2が、第1テーパ面T1に強く押し付けられると共に、弾性部材64が、旋回主軸61の側面に強く押し付けられている。本実施形態では、第2テーパ面T2によって第1テーパ面T1に加えられる押付力と、弾性部材64が旋回主軸61に加えるブレーキ力とにより、旋削主軸61が回転することを制動する力を加えている。したがって、本実施形態では、旋回主軸61が回転することを制動する力により、主軸頭60(工具主軸42)が、所定の角度に回転割り出しされた状態で、旋回主軸61に固定された主軸頭60(工具主軸42)の剛性を高め、旋削加工時に生じ易いびびり振動が抑制される。これにより、本実施形態では、旋削加工時のワークの加工精度が低下することを防止している。複合加工旋盤1では、旋削加工時には、上述したように、ピストンPと、旋回主軸61及び支持ベース本体66との噛合状態が解除された状態で、主軸頭60(工具主軸42)が、所定の角度に回転割り出しされる。このため、ピストンPの突起部と、旋回主軸61及び支持ベース本体66にそれぞれ設けられた突起部とが噛合しない位置においても、旋回主軸61が回転することを規制することができる。
また、本実施形態では、図3に示すように、第1テーパ面T1の表面に、ダイヤモンドの砥粒をニッケルめっき層に固定することによって、ダイヤモンドめっき層69を形成した。
なお、本実施形態の複合加工旋盤1においては、旋回主軸61を旋回軸線B1回りで回転させながら、ワークに対する加工を行うことも可能である。この場合には、第2空室65へ圧油を供給することを停止すると共に、第4空室75に圧油を供給し、上述したピストンP、旋回主軸61及び支持ベース本体66の各突起部(カップリング)の噛合状態が解除されている。
<本実施形態の作用及び効果>
複合加工旋盤1では、上述したように、スリーブ62に形成された第2テーパ面T2が、旋回主軸61に形成された第1テーパ面T1を押し付けることが可能になる。これにより、第2テーパ面T2を第1テーパ面T1に圧接させることができ、主軸頭60(工具主軸42)に固定された旋回主軸61に対し、ブレーキ力を加えることができる。
さらに、複合加工旋盤1では、第1空室63に供給された圧油により、弾性部材64を、旋回主軸61の中心軸から放射する方向に向けて弾性変形させ、該弾性部材64を、旋回主軸61の側面に密接させている。これにより、旋回主軸61の側面を締め付けて、旋回主軸61が回転することを制動する力を発生させることができる。
したがって、複合加工旋盤1では、旋回主軸61にブレーキ力を加えることができると共に、旋回主軸61が回転することを制動する力を発生させることができるため、該ブレーキ力及び該旋回主軸61の回転を制動する力により、旋回主軸61によって、主軸頭60(工具主軸42)が、所定の角度に回転割り出しされた状態で、主軸頭60(工具主軸42)に固定された旋回主軸61の固定を促すことができる。このため、旋回主軸61の固定に伴って、主軸頭60(工具主軸42)の固定を促すことができ、該工具主軸42の剛性を高めることができる。
また、複合加工旋盤1では、比較的小さい油圧力によって、第2テーパ面T2を第1テーパ面T1に圧接させることにより、上述したように、主軸頭60(工具主軸42)に固定された旋回主軸61に対し、ブレーキ力を加え、旋回主軸61が回転することを制動する力を発生させることができる。このため、上記のブレーキ力を発生させるために必要な油圧力を、比較的小さくすることにより、増圧弁74の油圧ポンプを小型化することが可能になり、総じて旋回主軸61が回転することを制動させる機構の小型化、ひいては複合加工旋盤1の小型化が可能になる。
複合加工旋盤1では、上述したように、第2テーパ面T2が、第1テーパ面T1に押し付けられる。これにより、第1テーパ面T1に対し、第2テーパ面T2を面接触させることができる。このため、両テーパ面T1、T2の面接触の程度に応じ、第1テーパ面T1に対する第2テーパ面T2の拘束力を増加させることが可能となる。
複合加工旋盤1では、上述したように、増圧弁74の油圧ポンプP2により、第2空室65に供給される圧油が増圧される。第2空室65に供給される圧油が増圧されることに伴って、第2テーパ面T2を第1テーパ面T1に移動させる圧力が増加する。第2テーパ面T2を第1テーパ面T1に移動させる圧力を増加させることにより、第1テーパ面T1に対する第2テーパ面T2の拘束力を増加させることができる。
複合加工旋盤1では、硬度が高いダイヤモンドの砥粒を含むダイヤモンドめっき層69によって、第1テーパ面T1の表面に、摩擦抵抗が大きい表面処理を施すことができる。これにより、第1テーパ面T1と第2テーパ面T2との間の摩擦力を増加させることができる。その結果として、第1テーパ面T1に対する第2テーパ面T2の拘束力を増加させることができる。
本発明は、上述した実施形態に限定されるものではなく、発明の趣旨を逸脱しない範囲内において構成の一部を適宜変更して実施することができる。上記の弾性部材64は、鋼材等の金属によって形成したものに限らず、強度や耐磨耗性等の条件を満足させることができれば、例えば、樹脂等によって形成したものであってもよい。
また、上記の第1テーパ面T1に代えて、第2テーパ面T2にダイヤモンドめっき層を形成したり、第1テーパ面T1及び第2テーパ面T2の双方に、ダイヤモンドめっき層を形成してもよい。
さらに、上述した実施形態とは異なり、旋回主軸61の中心軸側に、スリーブ及び弾性部材を移動させた配置とし、弾性部材を、前記中心軸の側面に向けて弾性変形させて、該中心軸の側面に密接させてもよい。
加えて、上述した実施形態とは異なり、支持ベース41と支持ベース本体66とを一体に形成してもよい。
本発明の実施形態の複合加工旋盤の全体斜視図である。 第1刃物台の要部断面及び該第1刃物台に接続された油圧回路をそれぞれ示した図である。 第1テーパ面にダイヤモンドめっき層が形成された状態を示した図である。
符号の説明
1・・複合加工旋盤、42・・工具主軸、43・・工具、60・・主軸頭、61・・旋回主軸、62・・スリーブ、63・・第1空室、64・・弾性部材、65・・第2空室、66・・支持ベース本体、66A・・ハウジング、69・・ダイヤモンドめっき層、74・・増圧弁、T1・・第1テーパ面、T2・・第2テーパ面

Claims (4)

  1. 工作物に加工を行う工具が取り付けられて回転可能な主軸を有する主軸頭と、前記主軸頭に固定されて該主軸を旋回軸心回りで旋回割出し可能な旋回主軸と、を有する工作機械において、
    前記旋回主軸を支持する主軸台のハウジング内に、前記旋回主軸の軸線方向に進退可能なスリーブ部材と、
    前記旋回主軸に形成され、該旋回主軸の端部に向けて前記軸線方向に対して所定の角度傾斜した第1テーパ部と、
    前記スリーブ部材に形成され、前記第1テーパ部と平行な第2テーパ部と、を備えると共に、
    前記スリーブ部材に隣接し該スリーブ部材の軸線方向に形成されて、前記第2テーパ部を前記第1テーパ部に向けて移動させ、前記第2テーパ部が前記第1テーパ部を押圧する押圧力を発生させる加圧流体が流入する第1加圧流体作動室と、
    を備えることを特徴とする工作機械。
  2. 前記ハウジングと前記スリーブ部材との間に、前記ハウジングと接する前記旋回主軸の径方向に該旋回主軸を押圧し、前記旋回主軸の回転を規制する回転規制機構を備え、
    前記回転規制機構は、
    前記ハウジングと前記スリーブ部材との間に形成されて前記加圧流体が流入する第2加圧流体作動室と、
    前記加圧流体の圧力によって拡開し、前記ハウジングから前記旋回主軸の放射方向に向けて該旋回主軸を押圧する弾性部材と、
    を備えることを特徴とする請求項1に記載の工作機械。
  3. 前記加圧流体の圧力を増加させることにより、前記押圧力を増加させる押圧力調整部を備えることを特徴とする請求項1又は2に記載の工作機械
  4. 前記第1テーパ部の表面又は前記第2テーパ部の表面のいずれか一方又は双方には、ダイヤモンドめっき層が形成されていることを特徴とする請求項1ないし3のいずれかに記載の工作機械。
JP2008185393A 2008-07-16 2008-07-16 工作機械 Expired - Fee Related JP5243124B2 (ja)

Priority Applications (1)

Application Number Priority Date Filing Date Title
JP2008185393A JP5243124B2 (ja) 2008-07-16 2008-07-16 工作機械

Applications Claiming Priority (1)

Application Number Priority Date Filing Date Title
JP2008185393A JP5243124B2 (ja) 2008-07-16 2008-07-16 工作機械

Publications (3)

Publication Number Publication Date
JP2010023148A true JP2010023148A (ja) 2010-02-04
JP2010023148A5 JP2010023148A5 (ja) 2011-03-17
JP5243124B2 JP5243124B2 (ja) 2013-07-24

Family

ID=41729470

Family Applications (1)

Application Number Title Priority Date Filing Date
JP2008185393A Expired - Fee Related JP5243124B2 (ja) 2008-07-16 2008-07-16 工作機械

Country Status (1)

Country Link
JP (1) JP5243124B2 (ja)

Cited By (7)

* Cited by examiner, † Cited by third party
Publication number Priority date Publication date Assignee Title
DE102014217303A1 (de) 2013-09-12 2015-03-12 Okuma Corporation Spindelstock einer Werkzeugmaschine
CN107366645A (zh) * 2017-08-05 2017-11-21 苏州方德锐精密机电科技有限公司 一种磨粒流抛光机液压动力系统
CN107401539A (zh) * 2017-08-05 2017-11-28 苏州方德锐精密机电科技有限公司 一种速度可调式液压动力系统
JP2018528867A (ja) * 2015-09-01 2018-10-04 べクテック, アイエヌシー. 液圧式ワーク支持体用のクランプ機構
JP2019147212A (ja) * 2018-02-26 2019-09-05 パスカルエンジニアリング株式会社 回転軸のブレーキ装置及びそのブレーキ装置を備えたインデックステーブル
KR20200037614A (ko) * 2018-10-01 2020-04-09 주식회사 엘티아이 대용량 툴 매거진을 갖는 복합가공기
JP2021010951A (ja) * 2019-07-03 2021-02-04 オークマ株式会社 複合加工機の主軸装置

Citations (5)

* Cited by examiner, † Cited by third party
Publication number Priority date Publication date Assignee Title
JPH0319656U (ja) * 1989-07-03 1991-02-26
JPH09503458A (ja) * 1993-10-05 1997-04-08 コンフィバー・エービー 補強ファイバーをコンクリート注入型に加える方法および前記ファイバーをコンクリート注入型に供給し加えるための装置
JPH1015715A (ja) * 1996-06-28 1998-01-20 O M Ltd ターニングセンターの工具取付装置
JPH10328907A (ja) * 1997-05-23 1998-12-15 Yamazaki Mazak Corp 工作機械
JP2006346813A (ja) * 2005-06-16 2006-12-28 Kitamura Mach Co Ltd ロータリテーブル装置

Patent Citations (5)

* Cited by examiner, † Cited by third party
Publication number Priority date Publication date Assignee Title
JPH0319656U (ja) * 1989-07-03 1991-02-26
JPH09503458A (ja) * 1993-10-05 1997-04-08 コンフィバー・エービー 補強ファイバーをコンクリート注入型に加える方法および前記ファイバーをコンクリート注入型に供給し加えるための装置
JPH1015715A (ja) * 1996-06-28 1998-01-20 O M Ltd ターニングセンターの工具取付装置
JPH10328907A (ja) * 1997-05-23 1998-12-15 Yamazaki Mazak Corp 工作機械
JP2006346813A (ja) * 2005-06-16 2006-12-28 Kitamura Mach Co Ltd ロータリテーブル装置

Cited By (12)

* Cited by examiner, † Cited by third party
Publication number Priority date Publication date Assignee Title
DE102014217303A1 (de) 2013-09-12 2015-03-12 Okuma Corporation Spindelstock einer Werkzeugmaschine
JP2015054374A (ja) * 2013-09-12 2015-03-23 オークマ株式会社 工作機械の主軸台
CN104439296A (zh) * 2013-09-12 2015-03-25 大隈株式会社 机床的主轴台
JP2018528867A (ja) * 2015-09-01 2018-10-04 べクテック, アイエヌシー. 液圧式ワーク支持体用のクランプ機構
CN107366645A (zh) * 2017-08-05 2017-11-21 苏州方德锐精密机电科技有限公司 一种磨粒流抛光机液压动力系统
CN107401539A (zh) * 2017-08-05 2017-11-28 苏州方德锐精密机电科技有限公司 一种速度可调式液压动力系统
JP2019147212A (ja) * 2018-02-26 2019-09-05 パスカルエンジニアリング株式会社 回転軸のブレーキ装置及びそのブレーキ装置を備えたインデックステーブル
JP7093991B2 (ja) 2018-02-26 2022-07-01 パスカルエンジニアリング株式会社 回転軸のブレーキ装置及びそのブレーキ装置を備えたインデックステーブル
KR20200037614A (ko) * 2018-10-01 2020-04-09 주식회사 엘티아이 대용량 툴 매거진을 갖는 복합가공기
KR102102466B1 (ko) * 2018-10-01 2020-04-21 주식회사 엘티아이 대용량 툴 매거진을 갖는 복합가공기
JP2021010951A (ja) * 2019-07-03 2021-02-04 オークマ株式会社 複合加工機の主軸装置
JP7317598B2 (ja) 2019-07-03 2023-07-31 オークマ株式会社 複合加工機の主軸装置

Also Published As

Publication number Publication date
JP5243124B2 (ja) 2013-07-24

Similar Documents

Publication Publication Date Title
JP5243124B2 (ja) 工作機械
KR101676885B1 (ko) 머시닝 센터용 유니버셜 툴 마운팅 시스템
CN101254550B (zh) 转塔刀架及机床
CN102802847B (zh) 机床的主轴装置
JP2007290126A (ja) 穿孔ツールの調節方法及び装置
KR101927767B1 (ko) 5축 가공기
US7281306B2 (en) Machine tool
JP2003311502A (ja) 工作機械
JP6504947B2 (ja) タレット式旋盤のクーラント供給構造
EP3509777B1 (en) Method of machining a rotationally symmetric surface of a workpiece and system comprising a turning apparatus
JPH10337624A5 (ja)
JP5296447B2 (ja) 工作機械
JP2008006528A (ja) ワーク保持装置及びワーク加工方法
JP2020151808A (ja) 工具ホルダおよび工作機械
KR102736645B1 (ko) 공작기계의 주축 고정장치
KR101976904B1 (ko) 선반의 공구대
JP7766218B1 (ja) 研削用工具
JP3747443B2 (ja) ミーリングヘッドの主軸クランプ機構
KR101889805B1 (ko) 선반용 후면 스토퍼 지그
JP2011104703A (ja) ボーリングホルダ
JP4585096B2 (ja) 工作機械の旋回割出し装置
KR20180047105A (ko) 선반의 공구대
JP2590593Y2 (ja) 工作機械のワーク振れ止め装置
KR20140086043A (ko) 머시닝 센터용 공구 클램프 및 언클램프 장치
JP6990334B1 (ja) 工具クランプ装置

Legal Events

Date Code Title Description
A521 Request for written amendment filed

Free format text: JAPANESE INTERMEDIATE CODE: A523

Effective date: 20110127

A621 Written request for application examination

Free format text: JAPANESE INTERMEDIATE CODE: A621

Effective date: 20110127

A131 Notification of reasons for refusal

Free format text: JAPANESE INTERMEDIATE CODE: A131

Effective date: 20121120

A977 Report on retrieval

Free format text: JAPANESE INTERMEDIATE CODE: A971007

Effective date: 20121122

A521 Request for written amendment filed

Free format text: JAPANESE INTERMEDIATE CODE: A523

Effective date: 20130115

TRDD Decision of grant or rejection written
A01 Written decision to grant a patent or to grant a registration (utility model)

Free format text: JAPANESE INTERMEDIATE CODE: A01

Effective date: 20130305

A61 First payment of annual fees (during grant procedure)

Free format text: JAPANESE INTERMEDIATE CODE: A61

Effective date: 20130404

FPAY Renewal fee payment (event date is renewal date of database)

Free format text: PAYMENT UNTIL: 20160412

Year of fee payment: 3

R150 Certificate of patent or registration of utility model

Ref document number: 5243124

Country of ref document: JP

Free format text: JAPANESE INTERMEDIATE CODE: R150

Free format text: JAPANESE INTERMEDIATE CODE: R150

LAPS Cancellation because of no payment of annual fees