JP2010022090A - コアブロックの吊り上げ方法およびコアブロック吊り上げ装置 - Google Patents

コアブロックの吊り上げ方法およびコアブロック吊り上げ装置 Download PDF

Info

Publication number
JP2010022090A
JP2010022090A JP2008178019A JP2008178019A JP2010022090A JP 2010022090 A JP2010022090 A JP 2010022090A JP 2008178019 A JP2008178019 A JP 2008178019A JP 2008178019 A JP2008178019 A JP 2008178019A JP 2010022090 A JP2010022090 A JP 2010022090A
Authority
JP
Japan
Prior art keywords
core block
lifting
core
shaped portion
tongue
Prior art date
Legal status (The legal status is an assumption and is not a legal conclusion. Google has not performed a legal analysis and makes no representation as to the accuracy of the status listed.)
Granted
Application number
JP2008178019A
Other languages
English (en)
Other versions
JP5001913B2 (ja
Inventor
Shinichiro Katagi
真一郎 片木
Akira Masunaga
顕 増永
Current Assignee (The listed assignees may be inaccurate. Google has not performed a legal analysis and makes no representation or warranty as to the accuracy of the list.)
Mitsubishi Electric Corp
Original Assignee
Mitsubishi Electric Corp
Priority date (The priority date is an assumption and is not a legal conclusion. Google has not performed a legal analysis and makes no representation as to the accuracy of the date listed.)
Filing date
Publication date
Application filed by Mitsubishi Electric Corp filed Critical Mitsubishi Electric Corp
Priority to JP2008178019A priority Critical patent/JP5001913B2/ja
Publication of JP2010022090A publication Critical patent/JP2010022090A/ja
Application granted granted Critical
Publication of JP5001913B2 publication Critical patent/JP5001913B2/ja
Active legal-status Critical Current
Anticipated expiration legal-status Critical

Links

Images

Landscapes

  • Iron Core Of Rotating Electric Machines (AREA)
  • Manufacture Of Motors, Generators (AREA)

Abstract

【課題】自動積みしたコアブロックを吊り上げて組み立て場所に移動させて固定子コアを組み立てることができる。
【解決手段】3個以上のスルーボルト穴2が設けられたコア抜き板を積層したコアブロック1を底面側のスルーボルト穴の周囲に所定の空間8gができるように水平に置くステップ、棒状部31とこの棒状部の一端に棒状部にほぼ直交する舌形部32を有するコアブロック吊り上げ治具3を舌形部が下になるようにスルーボルト穴に上から挿入するステップ、空間に舌形部が入り舌形部がコアブロックの底面に係合するようにスルーボルト穴に挿入したコアブロック吊り上げ治具を水平方向に移動させるステップ、スルーボルト穴に挿入されたすべてのコアブロック吊り上げ治具の舌形部がコアブロックの底面100に係合する状態でコアブロック吊り上げ治具を上方に移動させることによりコアブロックを吊り上げるステップを有す。
【選択図】図1

Description

この発明はタービン発電機などの大型回転電機等のコアブロックの吊り上げ方法およびコアブロック吊り上げ装置に関するものである。
図4は従来の大型回転電機の固定子コア積み装置を用いた固定子コア積み作業を模式的に説明する側面断面図である。大型回転電機の固定子コア積み設備における固定子コア積み作業は、図4に示すように、固定子フレーム部材9の内周に固定されたコアボルト10に沿って下方から上方に向かって、扇形状の薄い鋼板からなる多数枚の固定子コア抜き板11が順次積層される。具体的には、扇形状の薄い鋼板からなる多数枚の積層前の固定子コア抜き板12を、クレーンで吊り下げ、この吊り下げられた積層前の固定子コア抜き板12をコア積み作業者13が手作業でコアボルト10に沿って下方から上方に向かって順次積層していく。
特開昭60−16154号公報(第6図及びその説明) 特開2002−171726号公報(図8及びその説明)
前述のような従来の固定子コア積み作業は、回転電機固定子コア組立作業として行われ、コア積み作業者13は手作業により固定子コア抜き板12を1枚ずつ何万枚も積み上げることで固定子コアを組み立てるという重筋作業をしいられており、厳しい作業環境におかれるという問題があった。
この発明は、前述のような実情に鑑みてなされたもので、自動積みしたコアブロックを吊り上げて組み立て場所に移動させて固定子コアを組み立てることを可能にするコアブロックの吊り上げ方法およびコアブロック吊り上げ装置を提供することを目的とするものである。
この発明に係るコアブロックの吊り上げ方法は、3個以上のスルーボルト穴が設けられたコア抜き板を積層したコアブロックを底面側の前記スルーボルト穴の周囲に所定の空間ができるように水平に置くステップ、棒状部とこの棒状部の一端に前記棒状部にほぼ直交するように設けられた舌形部を有するコアブロック吊り上げ治具を前記舌形部が下になるように前記スルーボルト穴に上から挿入するステップ、前記空間に前記舌形部が入り前記舌形部が前記コアブロックの底面に係合するように前記スルーボルト穴に挿入した前記コアブロック吊り上げ治具を水平方向に移動させるステップ、前記スルーボルト穴に挿入されたすべての前記コアブロック吊り上げ治具の前記舌形部が前記コアブロックの底面に係合する状態ですべての前記コアブロック吊り上げ治具を上方に移動させることにより前記コアブロックを吊り上げるステップを有するものである。
また、この発明に係るコアブロック吊り上げ装置は、3個以上のスルーボルト穴が設けられたコア抜き板を積層したコアブロックを吊り上げるコアブロック吊り上げ装置であって、棒状部とこの棒状部の一端に前記棒状部にほぼ直交するように設けられた舌形部を有する前記スルーボルト穴と同じ個数のコアブロック吊り上げ治具と、このコアブロック吊り上げ治具の前記舌形部がない端が前記舌形部が周方向の同じ側に向くようにかつ垂直に前記スルーボルト穴と対応する位置に取付けられた円盤状台板とを備えたものである。
この発明は、3個以上のスルーボルト穴が設けられたコア抜き板を積層したコアブロックを底面側の前記スルーボルト穴の周囲に所定の空間ができるように水平に置くステップ、棒状部とこの棒状部の一端に前記棒状部にほぼ直交するように設けられた舌形部を有するコアブロック吊り上げ治具を前記舌形部が下になるように前記スルーボルト穴に上から挿入するステップ、前記空間に前記舌形部が入り前記舌形部が前記コアブロックの底面に係合するように前記スルーボルト穴に挿入した前記コアブロック吊り上げ治具を水平方向に移動させるステップ、前記スルーボルト穴に挿入されたすべての前記コアブロック吊り上げ治具の前記舌形部が前記コアブロックの底面に係合する状態ですべての前記コアブロック吊り上げ治具を上方に移動させることにより前記コアブロックを吊り上げるステップを有しているので、自動積みしたコアブロックを吊り上げて組み立て場所に移動させて固定子コアを組み立てることができる効果がある。
また、この発明は、3個以上のスルーボルト穴が設けられたコア抜き板を積層したコアブロックを吊り上げるコアブロック吊り上げ装置であって、棒状部とこの棒状部の一端に前記棒状部にほぼ直交するように設けられた舌形部を有する前記スルーボルト穴と同じ個数のコアブロック吊り上げ治具と、このコアブロック吊り上げ治具の前記舌形部がない端が前記舌形部が周方向の同じ側に向くようにかつ垂直に前記スルーボルト穴と対応する位置に取付けられた円盤状台板とを備えているので、自動積みしたコアブロックを吊り上げて組み立て場所に移動させて固定子コアを組み立てることができる効果がある。
実施の形態1.
以下、この発明の実施の形態1を図1により説明する。図1は固定子コアのブロック吊り上げ方法の概念を模式的に例示する斜視図である。本実施の形態1は、固定子コアのコアバック部に設けたスルーボルト穴を利用して、固定子コア抜き板をブロック状に積み上げたコアブロックを、コアブロック吊り上げ治具により吊り上げる固定子コア吊り上げ方法および吊り上げ装置を例示するものである。また、本実施の形態1は、手作業による固定子コア積み作業を廃止して自動積みを実現するために導入する固定子コア自動積み装置を用いて積層したコアブロックを順次積み上げて固定子コアを組み立てるために、固定子コア抜き板のスルーボルト穴を利用して固定子コア組立作業場所にコアブロックを吊り上げて輸送するために、コアブロック吊り上げ治具を用いたコアブロック吊り上げ方法および吊り上げ装置を提供するものである。
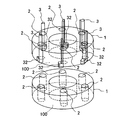
図1において、コアブロック1は、円周に沿って等間隔に穿設された3個以上の複数のスルーボルト穴2を有する固定子コア抜き板を、周知の固定子コア自動積み装置(図示省略)を用いて所定数積層された固定子コア抜き板積層体である。コアブロック1を構成する各固定子コア抜き板のスルーボルト穴2はそれぞれ重合し、コアブロック1の上面から下面まで貫通する一続きのスルーボルト穴2を構成している。このコアブロック1の上面から下面まで貫通する一続きのスルーボルト穴2は、コアブロック1の円周に沿って等間隔に3個以上の複数個存在する。
コアブロック1の所定間隔の3個以上の複数のスルーボルト穴2の各々にコアブロック吊り上げ治具3が挿通される。
スルーボルト穴の各々に挿通されるコアブロック吊り上げ治具3は、図示のように、何れも棒状部31と、この棒状部31の先端に棒状部31と一体をなして棒状部31とほぼ直交するように設けられた舌形部32とからなるL字形の治具である。
各治具3の棒状部31の長さは、コアブロック1のスルーボルト穴2の長さより長い。また、各治具3の棒状部31の少なくともスルーボルト穴2の内周壁に接する面は湾曲面とすることで、棒状部31が対応スルーボルト穴2の内周壁に当接した場合にも当該内周壁が損傷しにくいようにしてある。
3個以上の複数個のコアブロック吊り上げ治具3は、それらの舌形部32にてコアブロック1の質量を共同で保持し当該コアブロック1を共同で吊り上げ冶具を示したものである。
図4に示す従来の固定子コア積み装置を用いた固定子コア積み作業では、固定子コア抜き板11を一枚づつ何万枚もコア積み作業者13が手作業により積み上げており、コア積み作業者13は重筋作業をしいられていた。
このような問題点に対し、図1では、コア自動積み装置(図示省略)を用いて積層されたコアブロック1のスルーボルト穴2(積み上げられた複数のコアブロック1を、固定子フレームの端板にボルト締めするボルトを挿通する穴)を利用して、コアブロック1の質量を均等に受けるように、等間隔に位置する3個以上のスルーボルト穴2の各々にコアブロック吊り上げ治具3を挿入して、コアブロック吊り上げ治具3の先端の舌形部32を、コアブロック1の最下層の底面に半径方向放射状に設けたダクトピース8(図2に図示)間の空間部8g(図2に図示)において引っ掛け、各々のコアブロック吊り上げ治具3を同時に上方に引き上げることにより、コアロック1を吊り上げて、固定子コア組立場所にクレーン等で自動的に輸送し、固定子コア組立場所で、各々のコアブロック吊り上げ治具3を同時に下方に下降させ、固定子のフレーム内にコアブロック1を積み上げる一連の作業の自動化が可能となる。固定子コア自動積み装置を用いたコアブロック積み工法が実現でき、作業者を重筋作業から解放することが可能となる。
本実施の形態1は、前述のように、固定子コアを軸方向に締め付けるためのスルーボルト挿入穴をコアバック部に備えた鋼板、鋼板をブロック状に積み上げたコアブロック、コアブロック内において固定子コアを冷却するために固定子コアの積層方向位置に設けたダクトピース、先端に舌形部を有しコアブロック質量を保持できるL字型のコアブロック吊り上げ治具とを備え、コアブロック吊り上げ治具をコアブロックのスルーボルト穴に挿入するとともにコアブロック吊り上げ治具の先端舌形部をコアブロック最下層に位置するダクトピース部の隙間に引っ掛けて吊り上げることで、自動積みしたコアブロックを吊り上げて組み立て場所に移動させて固定子コアを組み立てることができるものである。
本実施の形態1は、観点を変えると、水平状態のコアブロックの等間隔の3個以上のスルーボルト穴の各々に、棒状部と舌形部とからなるL字形のコアブロック吊り上げ治具を挿入し、挿入後に前記各コアブロック吊り上げ治具を水平方向に移動して前記各コアブロック吊り上げ治具の前記舌形部を前記コアブロックの底面に係合した状態で前記各コアブロック吊り上げ治具を上方に移動させるので、自動積みしたコアブロックを吊り上げて組み立て場所に移動させて固定子コアを組み立てることができるコアブロックの吊り上げ方法およびコアブロック吊り上げ装置である。
更に具体的には、本実施の形態1は、3個以上のスルーボルト穴が設けられたコア抜き板を積層したコアブロックを底面側の前記スルーボルト穴の周囲に所定の空間ができるように水平に置くステップ、棒状部とこの棒状部の一端に前記棒状部にほぼ直交するように設けられた舌形部を有するコアブロック吊り上げ治具を前記舌形部が下になるように前記スルーボルト穴に上から挿入するステップ、前記空間に前記舌形部が入り前記舌形部が前記コアブロックの底面に係合するように前記スルーボルト穴に挿入した前記コアブロック吊り上げ治具を水平方向に移動させるステップ、すべての前記スルーボルト穴に挿入された前記コアブロック吊り上げ治具の前記前記舌形部が前記コアブロックの底面に係合する状態ですべての前記コアブロック吊り上げ治具を上方に移動させることにより前記コアブロックを吊り上げるステップを有するコアブロックの吊り上げ方法である。
また、本実施の形態1は、3個以上のスルーボルト穴が設けられたコア抜き板を積層したコアブロックを吊り上げるコアブロック吊り上げ装置であって、棒状部とこの棒状部の一端に前記棒状部にほぼ直交するように設けられた舌形部を有する前記スルーボルト穴と同じ個数のコアブロック吊り上げ治具と、このコアブロック吊り上げ治具の前記舌形部がない端が前記舌形部が周方向の同じ側に向くようにかつ垂直に前記スルーボルト穴と対応する位置に取付けられた円盤状台板とを備えたコアブロック吊り上げ装置である。
実施の形態2.
以下、この発明の実施の形態2を図2により説明する。図2は固定子コアのブロック吊り上げ方法の要部の具体例を一部断面で示す側面図である。本実施の形態2も、固定子コアのコアバック部に設けたスルーボルト穴を利用して、固定子コア抜き板をブロック状に積み上げたコアブロックを、コアブロック吊り上げ治具により吊り上げる固定子コア吊り上げ方法および吊り上げ装置を例示するものであり、また、手作業による固定子コア積み作業を廃止して自動積みを実現するために導入する固定子コア自動積み装置を用いて積層したコアブロックを順次積み上げて固定子コアを組み立てるために、固定子コア抜き板のスルーボルト穴を利用して固定子コア組立作業場所にコアブロックを吊り上げて輸送するために、コアブロック吊り上げ治具を用いたコアブロック吊り上げ方法および吊り上げ装置を提供するものである。また、本実施の形態2は、固定子コアのコアブロックを持ち上げる際に、コアブロック吊り上げ治具がスルーボルト穴の中で移動してコアブロックを保持できなくなり、コアブロックにずれが生じることを抑制するために、コアブロック吊り上げ治具とコアブロックの間に円筒状の断面を有したガイドを設置するようにしたものであり、コアブロックをコアブロック吊り上げ冶具の先端の舌形部でコアブロックの底をひっかけ吊り上げる際に、円筒断面のガイドをスルーボルト穴に接触させることで、コアブロックのずれによる固定子コアの不揃い(凹凸)を抑えることを可能とするものである。
図2は、図1のコアブロック吊り上げ冶具3の一つをコアブロック1の縦断側面より見た断面図である。
図2において、コアブロック吊り上げ治具3の棒状部31の周囲を囲む円筒状のガイド5が、コアブロック吊り上げ治具3を介してコアブロック1上部で吊り上げ治具固定用台板6に固定されている。コアブロック吊り上げ治具3の棒状部31の上端部(舌形部32と反対側の端部)には雄螺子311が形成され、雄螺子(螺合子)311に螺合する上下一対のナット(螺合子)71,72によりコアブロック吊り上げ治具3は吊り上げ治具固定用台板6に固定され、当該固定により、円筒状のガイド5も下側のナット72と舌形部32との間に介在し棒状部31を囲繞した状態に固定される。
なお、下側のナット72は、必ずしもナット(螺合子)である必要はなく、棒状部31と一体のフランジ、ボス等としてもよい。
各治具3の舌形部32の底面の長さはスルーボルト穴2の直径より短くしてある。また、各治具3の舌形部32の厚さt1は、コアブロック1の最下層の底面100に対向して半径方向放射状に設けられた複数のダクトピース(間隔片)8の厚さt2より薄くしてある。つまり、舌形部32の厚さt1とダクトピース8の厚さt2との大小関係はt1<t2としてある。
前段の段落[0024][0025]に記載の構成は、図1に図示の3個以上の複数個のコアブロック吊り上げ治具3の全てに共通の構成としてある。
コア自動積み装置(図示省略)を用いて積層されたコアブロック1のスルーボルト穴2(積み上げられた複数のコアブロック1を、固定子フレームの端板にボルト締めするボルトを挿通する穴)を利用して、コアブロック1の質量を均等に受けるように、等間隔に位置する3個以上のスルーボルト穴2の各々にコアブロック吊り上げ治具3を挿入して、各コアブロック吊り上げ治具3の先端の舌形部32を、コアブロック1の最下層の底面100に対向して半径方向放射状に設けられた複数のダクトピース(間隔片)8間の空間部8gにおいて前記底面100に引っ掛け、コアブロック吊り上げ治具3を上方に引き上げることにより、コアブロック1を吊り上げて、固定子コア組立場所にクレーン等で自動的に輸送し、固定子コア組立場所で、各々のコアブロック吊り上げ治具3を同時に下方に下降させ、固定子のフレーム内にコアブロック1を積み上げる一連の作業の自動化が可能となる。
コアブロック吊り上げ治具3の先端の舌形部32を引っ掛けてコアブロック1を吊り上げる際に、円筒状ガイド5の円筒状外周面51をスルーボルト穴2の周面21に接触させてコアブロック1の上部で吊り上げ治具用台板6により円筒状ガイド5を固定することで、コアブロック1を構成する層状に積層された複数枚の固定子コア抜き板のずれによる固定子コアの不揃い(凹凸)を抑えることを実現することができる。
本実施の形態2は、前述のように、固定子コアを軸方向に締め付けるためのスルーボルト挿入穴をコアバック部に備えた鋼板、鋼板をブロック状に積み上げたコアブロック、コアブロック内において固定子コアを冷却するために固定子コアの積層方向位置に設けたダクトピース、先端に舌形部を有しコアブロック質量を保持できるL字型のコアブロック吊り上げ治具とを備えたコア積み装置において、コアブロック吊り上げ治具をコアブロックのスルーボルト穴に挿入するとともにコアブロック吊り上げ治具の先端舌形部をコアブロック最下層に位置するダクトピース部の隙間に引っ掛けて吊り上げることで、コアブロックを輸送する固定子コアの吊り上げ方法であり固定子コアの吊り上げ装置であり、更には、固定子コアのコアブロックを持ち上げる際に、コアブロック吊り上げ治具がスルーボルト穴の中で移動してコアブロックを保持できなくなりコアブロックのずれによる固定子コアの不揃いが生じることを抑制するために、コアブロック吊り上げ治具とコアブロックの間に円筒状の断面を有したガイドを設置してあるコアブロックの吊り上げ方法およびコアブロック吊り上げ装置である。
本実施の形態2は、観点を変えると、水平状態のコアブロックの等間隔の3個以上のスルーボルト穴の各々に、棒状部と舌形部とからなるL字形のコアブロック吊り上げ治具を挿入し、挿入後に前記各コアブロック吊り上げ治具を水平方向に移動して前記各コアブロック吊り上げ治具の前記舌形部を前記コアブロックの底面に係合した状態で前記各コアブロック吊り上げ治具を上方に移動させることにより前記コアブロックを吊り上げる回転電機の固定子コア吊り上げ方法において、前記各コアブロック吊り上げ治具の各々に、前記棒状部を囲繞する筒状ガイドを配設し、前記各コアブロック吊り上げ治具を水平方向に移動することにより前記スルーボルト穴の周壁面に前記筒状ガイドの外周面が接するようにする回転電機のコアブロックの吊り上げ方法である。
具体的には、本実施の形態2は、3個以上のスルーボルト穴が設けられたコア抜き板を積層したコアブロックを底面側の前記スルーボルト穴の周囲に所定の空間ができるように水平に置くステップ、棒状部とこの棒状部の一端に前記棒状部にほぼ直交するように設けられた舌形部を有するコアブロック吊り上げ治具を前記舌形部が下になるように前記スルーボルト穴に上から挿入するステップ、前記空間に前記舌形部が入り前記舌形部が前記コアブロックの底面に係合するように前記スルーボルト穴に挿入した前記コアブロック吊り上げ治具を水平方向に移動させるステップ、すべての前記スルーボルト穴に挿入された前記コアブロック吊り上げ治具の前記前記舌形部が前記コアブロックの底面に係合する状態ですべての前記コアブロック吊り上げ治具を上方に移動させることにより前記コアブロックを吊り上げるステップを有するコアブロックの吊り上げ方法において、前記コアブロック吊り上げ治具が前記棒状部を囲む筒状ガイドを有するものであり、前記コアブロック吊り上げ治具を水平方向に移動させるステップで前記筒状ガイドの外周面が前記スルーボルト穴の周壁面に接するようにするコアブロックの吊り上げ方法である。
実施の形態3.
以下、この発明の実施の形態3を図3により説明する。図3は固定子コアのブロック吊り上げ方法の他の概念を模式的に例示する斜視図である。本実施の形態3も、固定子コアのコアバック部に設けたスルーボルト穴を利用して、固定子コア抜き板をブロック状に積み上げたコアブロックを、コアブロック吊り上げ治具により吊り上げる固定子コア吊り上げ方法および吊り上げ装置を例示するものであり、また、手作業による固定子コア積み作業を廃止して自動積みを実現するために導入する固定子コア自動積み装置を用いて積層したコアブロックを順次積み上げて固定子コアを組み立てるために、固定子コア抜き板のスルーボルト穴を利用して固定子コア組立作業場所にコアブロックを吊り上げて輸送するために、コアブロック吊り上げ治具を用いたコアブロック吊り上げ方法および吊り上げ装置を提供するものである。また、本実施の形態3は、円盤状の台板に円周方向に複数のコアブロック吊り上げ治具を配置して、コアブロックのスルーボルト穴にコアブロック吊り上げ治具を挿入した状態で、円盤を円周方向に回転させることで、円周方向に配置された複数のコアブロック吊り上げ治具を一度でコアブロックに引っ掛けて装着するようにしたものである。
図3において、円盤状台板6に、その円周方向に、コアブロック1の各スルーボルト穴2と同位置に各コアブロック吊り上げ治具3が間隔を隔てて取り付けられている。
円盤状台板6の下面に取り付けられた各コアブロック吊り上げ冶具3を、コアブロック1の対応するスルーボルト穴2に通して、円盤状台板6を円周方向に回転させて各コアブロック吊り上げ治具3の先端の各舌形部32をコアブロック1の底面100に引っ掛けることで、コアブロック吊り上げ冶具3によりコアブロック1を吊り上げることを実現する構造である。
例えば、図3において、円盤状台板6を周方向に時計回りに回転させることで、円盤状台板6に取り付けられた3個以上の複数個のコアブロック吊り上げ冶具3の先端の各舌形32がコアブロック1の底面100に一挙にひっかかり、その状態でコアブロック1を吊り上げることが可能である。また、3個以上の複数個のコアブロック吊り上げ冶具3をコアブロック1から取り外す際には、図3において、円盤状台板6を周方向に反時計回りで回転させ、複数個のコアブロック吊り上げ冶具3をまとめて一度に取り外すことが可能となり、コアブロック吊り上げ治具3のコアブロック1への取り付け取り外しの作業性が改善される。
本実施の形態3は、前述のように、固定子コアを軸方向に締め付けるためのスルーボルト挿入穴をコアバック部に備えた鋼板、鋼板をブロック状に積み上げたコアブロック、コアブロック内において固定子コアを冷却するために固定子コアの積層方向位置に設けたダクトピース、先端に舌形部を有しコアブロック質量を保持できるL字型のコアブロック吊り上げ治具とを備え、コアブロック吊り上げ治具をコアブロックのスルーボルト穴に挿入するとともにコアブロック吊り上げ治具の先端の舌形部をコアブロック最下層に位置するダクトピース部の隙間に引っ掛けて吊り上げることで、コアブロックを輸送するコアブロックの吊り上げ方法およびコアブロック吊り上げ装置であり、更には、円盤状台板に円周方向に複数のコアブロック吊り上げ治具を配置し、吊り上げ治具の先端舌形部を円周方向同一方向に向け、コアブロックのスルーボルト穴にコアブロック吊り上げ治具を挿入した状態で、円盤状台板を円周方向に回転させることで、円周方向に配置された複数のコアブロック吊り上げ治具の先端舌形部を一度にまとめてコアブロックに引っ掛けて装着することを特徴とするコアブロックの吊り上げ方法およびコアブロック吊り上げ装置である。
本実施の形態3は、観点を変えると、水平状態のコアブロックの等間隔の3個以上のスルーボルト穴の各々に、棒状部と舌形部とからなるL字形のコアブロック吊り上げ治具を挿入し、挿入後に前記各コアブロック吊り上げ治具を水平方向に移動して前記各コアブロック吊り上げ治具の前記舌形部を前記コアブロックの底面に係合した状態で前記各コアブロック吊り上げ治具を上方に移動させることにより前記コアブロックを吊り上げる回転電機のコアブロックの吊り上げ方法において、前記各コアブロック吊り上げ治具を共通の円盤状台板に取り付け、当該円盤状台板をその周方向に回動することによって、前記各コアブロック吊り上げ治具の前記舌形部を前記コアブロックの底面に係合させる回転電機のコアブロックの吊り上げ方法である。
また、更に観点を変えると、本実施の形態3の回転電機のコアブロックの吊り上げ方法およびコアブロック吊り上げ装置は、円盤状台板、およびこの円盤状台板に等間隔に3個以上取り付けられ夫々先端部に舌形部を有するL字状のコアブロック吊り上げ治具を備えているので、水平状態のコアブロックの等間隔の3個以上のスルーボルト穴の各々に、棒状部と舌形部とからなるL字形のコアブロック吊り上げ治具を挿入し、挿入後に前記各コアブロック吊り上げ治具を水平方向に移動して前記各コアブロック吊り上げ治具の前記舌形部を前記コアブロックの底面に係合した状態で前記各コアブロック吊り上げ治具を上方に移動させることで、自動積みしたコアブロックを吊り上げて組み立て場所に移動させて固定子コアを組み立てることができるものである。
また、具体的には、本実施の形態3は、3個以上のスルーボルト穴が設けられたコア抜き板を積層したコアブロックを底面側の前記スルーボルト穴の周囲に所定の空間ができるように水平に置くステップ、棒状部とこの棒状部の一端に前記棒状部にほぼ直交するように設けられた舌形部を有するコアブロック吊り上げ治具を前記舌形部が下になるように前記スルーボルト穴に上から挿入するステップ、前記空間に前記舌形部が入り前記舌形部が前記コアブロックの底面に係合するように前記スルーボルト穴に挿入した前記コアブロック吊り上げ治具を水平方向に移動させるステップ、すべての前記スルーボルト穴に挿入された前記コアブロック吊り上げ治具の前記前記舌形部が前記コアブロックの底面に係合する状態ですべての前記コアブロック吊り上げ治具を上方に移動させることにより前記コアブロックを吊り上げるステップを有するコアブロックの吊り上げ方法において、前記コアブロック吊り上げ治具の前記舌形部がない端が円盤状台版の前記スルーボルト穴に対応する位置に垂直に前記舌形部が周方向の同じ側に向くように取付けられており、コアブロック吊り上げ治具を水平方向に移動させるステップで前記円盤状台板を周方向に回動させるコアブロックの吊り上げ方法である。
また、具体的には、本実施の形態3は、3個以上のスルーボルト穴が設けられたコア抜き板を積層したコアブロックを底面側の前記スルーボルト穴の周囲に所定の空間ができるように水平に置くステップ、棒状部とこの棒状部の一端に前記棒状部にほぼ直交するように設けられた舌形部を有するコアブロック吊り上げ治具を前記舌形部が下になるように前記スルーボルト穴に上から挿入するステップ、前記空間に前記舌形部が入り前記舌形部が前記コアブロックの底面に係合するように前記スルーボルト穴に挿入した前記コアブロック吊り上げ治具を水平方向に移動させるステップ、すべての前記スルーボルト穴に挿入された前記コアブロック吊り上げ治具の前記前記舌形部が前記コアブロックの底面に係合する状態ですべての前記コアブロック吊り上げ治具を上方に移動させることにより前記コアブロックを吊り上げるステップを有するコアブロックの吊り上げ方法において、前記コアブロック吊り上げ治具が前記棒状部を囲む筒状ガイドを有するものであり、前記コアブロック吊り上げ治具を水平方向に移動させるステップで前記筒状ガイドの外周面が前記スルーボルト穴の周壁面に接するようにし、さらに前記コアブロック吊り上げ治具の前記舌形部がない端が円盤状台版の前記スルーボルト穴に対応する位置に垂直に前記舌形部が周方向の同じ側に向くように取付けられており、コアブロック吊り上げ治具を水平方向に移動させるステップで前記円盤状台板を周方向に回動させるコアブロックの吊り上げ方法である。
なお、各図中、同一符合は同一または相当部分を示す。
この発明の実施の形態1を示す図で、大型回転電機のコアブロック吊り上げ方法およびコアブロック吊り上げ装置の概念を模式的に例示する斜視図である。 この発明の実施の形態2を示す図で、大型回転電機のコアブロック吊り上げ方法およびコアブロック吊り上げ装置の要部の具体例を一部断面で示す側面図である。 この発明の実施の形態3を示す図で、大型回転電機のコアブロック吊り上げ方法およびコアブロック吊り上げ装置の他の概念を模式的に例示する斜視図である。 従来の回転電機の固定子コア積み装置を用いた固定子コア積み方法の概念図である。
符号の説明
1 コアブロック、
100 コアブロックの底面、
2 スルーボルト穴、
21 スルーボルト穴の周面、
3 コアブロック吊り上げ治具、
31 コアブロック吊り上げ治具の棒状部、
311 雄螺子、
32 吊り上げ治具先端の舌形部、
5 円筒状のガイド、
51 円筒状のガイドの円筒状外周面、
6 吊り上げ治具固定用台板(円盤状台板)、
711,712 ナット(螺合子)、
8 ダクトピース、
8g ダクトピース間の空間部、
9 固定子フレーム、
10 コアボルト、
11 固定子コア抜き板、
12 積層前の固定子コア抜き板、
13 コア積み作業者。

Claims (4)

  1. 3個以上のスルーボルト穴が設けられたコア抜き板を積層したコアブロックを底面側の前記スルーボルト穴の周囲に所定の空間ができるように水平に置くステップ、棒状部とこの棒状部の一端に前記棒状部にほぼ直交するように設けられた舌形部を有するコアブロック吊り上げ治具を前記舌形部が下になるように前記スルーボルト穴に上から挿入するステップ、前記空間に前記舌形部が入り前記舌形部が前記コアブロックの底面に係合するように前記スルーボルト穴に挿入した前記コアブロック吊り上げ治具を水平方向に移動させるステップ、前記スルーボルト穴に挿入されたすべての前記コアブロック吊り上げ治具の前記舌形部が前記コアブロックの底面に係合する状態ですべての前記コアブロック吊り上げ治具を上方に移動させることにより前記コアブロックを吊り上げるステップを有するコアブロックの吊り上げ方法。
  2. 請求項1に記載のコアブロックの吊り上げ方法において、前記コアブロック吊り上げ治具が前記棒状部を囲む筒状ガイドを有するものであり、前記コアブロック吊り上げ治具を水平方向に移動させるステップで前記筒状ガイドの外周面が前記スルーボルト穴の周壁面に接するようにすることを特徴とするコアブロックの吊り上げ方法。
  3. 請求項1または請求項2に記載のコアブロックの吊り上げ方法において、前記コアブロック吊り上げ治具の前記舌形部がない端が円盤状台版の前記スルーボルト穴に対応する位置に垂直に前記舌形部が周方向の同じ側に向くように取付けられており、コアブロック吊り上げ治具を水平方向に移動させるステップで前記円盤状台板を周方向に回動させることを特徴とするコアブロックの吊り上げ方法。
  4. 3個以上のスルーボルト穴が設けられたコア抜き板を積層したコアブロックを吊り上げるコアブロック吊り上げ装置であって、
    棒状部とこの棒状部の一端に前記棒状部にほぼ直交するように設けられた舌形部を有する前記スルーボルト穴と同じ個数のコアブロック吊り上げ治具と、このコアブロック吊り上げ治具の前記舌形部がない端が前記舌形部が周方向の同じ側に向くようにかつ垂直に前記スルーボルト穴と対応する位置に取付けられた円盤状台板とを備えたコアブロック吊り上げ装置。
JP2008178019A 2008-07-08 2008-07-08 コアブロックの吊り上げ方法およびコアブロック吊り上げ装置 Active JP5001913B2 (ja)

Priority Applications (1)

Application Number Priority Date Filing Date Title
JP2008178019A JP5001913B2 (ja) 2008-07-08 2008-07-08 コアブロックの吊り上げ方法およびコアブロック吊り上げ装置

Applications Claiming Priority (1)

Application Number Priority Date Filing Date Title
JP2008178019A JP5001913B2 (ja) 2008-07-08 2008-07-08 コアブロックの吊り上げ方法およびコアブロック吊り上げ装置

Publications (2)

Publication Number Publication Date
JP2010022090A true JP2010022090A (ja) 2010-01-28
JP5001913B2 JP5001913B2 (ja) 2012-08-15

Family

ID=41706446

Family Applications (1)

Application Number Title Priority Date Filing Date
JP2008178019A Active JP5001913B2 (ja) 2008-07-08 2008-07-08 コアブロックの吊り上げ方法およびコアブロック吊り上げ装置

Country Status (1)

Country Link
JP (1) JP5001913B2 (ja)

Citations (3)

* Cited by examiner, † Cited by third party
Publication number Priority date Publication date Assignee Title
JPS5528535U (ja) * 1978-08-15 1980-02-23
JP2000278918A (ja) * 1999-02-04 2000-10-06 Siemens Westinghouse Power Corp 現場でのステータ組立て方法
JP2007259620A (ja) * 2006-03-24 2007-10-04 Matsushita Electric Ind Co Ltd 固定子

Patent Citations (3)

* Cited by examiner, † Cited by third party
Publication number Priority date Publication date Assignee Title
JPS5528535U (ja) * 1978-08-15 1980-02-23
JP2000278918A (ja) * 1999-02-04 2000-10-06 Siemens Westinghouse Power Corp 現場でのステータ組立て方法
JP2007259620A (ja) * 2006-03-24 2007-10-04 Matsushita Electric Ind Co Ltd 固定子

Also Published As

Publication number Publication date
JP5001913B2 (ja) 2012-08-15

Similar Documents

Publication Publication Date Title
US9257873B2 (en) Method and apparatus for generator stator core separation
CN104272565B (zh) 维修包括用于支持定子的弹簧组件的定子架的方法
JP2010206853A (ja) 回転子、その製造方法、その製造装置、及びその回転子を搭載した圧縮機
JPH01303030A (ja) 回転電機の回転子
WO2014107368A2 (en) Rail system for installing a stator core in a frame
JP6869171B2 (ja) プレート振分装置
CN206389245U (zh) 电机定子叠压工装
JP5001913B2 (ja) コアブロックの吊り上げ方法およびコアブロック吊り上げ装置
JP2014011953A (ja) 電動機械のスロットからコイルを取り外すための方法及び装置
CN109937116B (zh) 零件定位用夹具及使用该零件定位用夹具的零件定位装置
JP2021097494A (ja) ロータ製造ライン、モータ製造ラインおよびロータ製造方法
EP2782223A1 (en) Laminated core manufacturing method and manufacturing device
KR101507249B1 (ko) 고효율 모터용 스파이럴 스테이터 코어의 가압 장치 및 방법
JP6546486B2 (ja) 回転子鉄心の磁石挿入装置及びその磁石挿入方法
JP2022092065A (ja) 回転電機の組立方法
JP5606168B2 (ja) 積層コアの転積方法及び積層コア
JP6495747B2 (ja) 積層鉄心の検査装置及び積層鉄心の検査方法
KR101507659B1 (ko) 고효율 모터용 스파이럴 스테이터 코어의 제조 장치 및 제조 방법
JP4519598B2 (ja) 回転電機の分解・組立装置及びその分解・組立方法
EP3156150B1 (en) Stacker and method for stacking a stator core of an electric machine
JP5987139B2 (ja) 固定子コイルの端部切断装置
KR20150079351A (ko) 고효율 모터용 스파이럴 스테이터 코어의 가압 장치 및 방법
KR20230158313A (ko) 회전자 코어팩 제조장치 및 제조방법
JP2019083606A (ja) 回転電機、固定子鉄心、および固定子の組み立て方法
JP2010130884A (ja) 回転電機及び回転電機の製造方法

Legal Events

Date Code Title Description
A621 Written request for application examination

Free format text: JAPANESE INTERMEDIATE CODE: A621

Effective date: 20091204

A521 Request for written amendment filed

Free format text: JAPANESE INTERMEDIATE CODE: A523

Effective date: 20110114

A977 Report on retrieval

Free format text: JAPANESE INTERMEDIATE CODE: A971007

Effective date: 20120417

TRDD Decision of grant or rejection written
A01 Written decision to grant a patent or to grant a registration (utility model)

Free format text: JAPANESE INTERMEDIATE CODE: A01

Effective date: 20120424

A01 Written decision to grant a patent or to grant a registration (utility model)

Free format text: JAPANESE INTERMEDIATE CODE: A01

A61 First payment of annual fees (during grant procedure)

Free format text: JAPANESE INTERMEDIATE CODE: A61

Effective date: 20120518

R151 Written notification of patent or utility model registration

Ref document number: 5001913

Country of ref document: JP

Free format text: JAPANESE INTERMEDIATE CODE: R151

FPAY Renewal fee payment (event date is renewal date of database)

Free format text: PAYMENT UNTIL: 20150525

Year of fee payment: 3

R250 Receipt of annual fees

Free format text: JAPANESE INTERMEDIATE CODE: R250

R250 Receipt of annual fees

Free format text: JAPANESE INTERMEDIATE CODE: R250

R250 Receipt of annual fees

Free format text: JAPANESE INTERMEDIATE CODE: R250

R250 Receipt of annual fees

Free format text: JAPANESE INTERMEDIATE CODE: R250

R250 Receipt of annual fees

Free format text: JAPANESE INTERMEDIATE CODE: R250

R250 Receipt of annual fees

Free format text: JAPANESE INTERMEDIATE CODE: R250

R250 Receipt of annual fees

Free format text: JAPANESE INTERMEDIATE CODE: R250

R250 Receipt of annual fees

Free format text: JAPANESE INTERMEDIATE CODE: R250

R250 Receipt of annual fees

Free format text: JAPANESE INTERMEDIATE CODE: R250

S111 Request for change of ownership or part of ownership

Free format text: JAPANESE INTERMEDIATE CODE: R313111

R350 Written notification of registration of transfer

Free format text: JAPANESE INTERMEDIATE CODE: R350

R250 Receipt of annual fees

Free format text: JAPANESE INTERMEDIATE CODE: R250