JP2010021092A - 開閉装置 - Google Patents

開閉装置 Download PDF

Info

Publication number
JP2010021092A
JP2010021092A JP2008182277A JP2008182277A JP2010021092A JP 2010021092 A JP2010021092 A JP 2010021092A JP 2008182277 A JP2008182277 A JP 2008182277A JP 2008182277 A JP2008182277 A JP 2008182277A JP 2010021092 A JP2010021092 A JP 2010021092A
Authority
JP
Japan
Prior art keywords
switch
lock
opening
closing operation
current interrupting
Prior art date
Legal status (The legal status is an assumption and is not a legal conclusion. Google has not performed a legal analysis and makes no representation as to the accuracy of the status listed.)
Granted
Application number
JP2008182277A
Other languages
English (en)
Other versions
JP5090276B2 (ja
Inventor
Tadahiro Yoshida
忠広 吉田
Taigen Kin
太▲げん▼ 金
Tomokazu Yoshida
友和 吉田
Current Assignee (The listed assignees may be inaccurate. Google has not performed a legal analysis and makes no representation or warranty as to the accuracy of the list.)
Mitsubishi Electric Corp
Original Assignee
Mitsubishi Electric Corp
Priority date (The priority date is an assumption and is not a legal conclusion. Google has not performed a legal analysis and makes no representation as to the accuracy of the date listed.)
Filing date
Publication date
Application filed by Mitsubishi Electric Corp filed Critical Mitsubishi Electric Corp
Priority to JP2008182277A priority Critical patent/JP5090276B2/ja
Publication of JP2010021092A publication Critical patent/JP2010021092A/ja
Application granted granted Critical
Publication of JP5090276B2 publication Critical patent/JP5090276B2/ja
Expired - Fee Related legal-status Critical Current
Anticipated expiration legal-status Critical

Links

Images

Landscapes

  • Driving Mechanisms And Operating Circuits Of Arc-Extinguishing High-Tension Switches (AREA)
  • Trip Switchboards (AREA)
  • High-Tension Arc-Extinguishing Switches Without Spraying Means (AREA)

Abstract

【課題】開閉器に所定の機械的インタロック機構を設けるだけで、この開閉器を収納する開閉器収納部に固定枠および特別なストッパを設ける必要のない開閉装置を提供する。
【解決手段】開閉器1の開閉操作機構5の動作に連動する機械的インタロック機構において、ロック部14を3個の関節部と2本のロッドで構成し、インタロックをオンにするときはロック部14をV字型に突出させて誤挿入、誤引き出しを防止し、オフにするときには直線状に復帰させて挿入、引き出しを可能とする。
【選択図】図3

Description

この発明は、引き出し可能な開閉器及びこれを収納する収納部を備えた開閉装置に関するものである。
開閉器の主回路への挿入及び引出が可能な従来の開閉装置は、電極が閉じた状態で開閉器を挿入すると負荷側での感電事故や接触子の溶着を引き起こすので、これを防止するために、例えば特許文献1に記載の発明のように開閉器が開極していないと、この開閉器を開閉装置の主回路部へ挿入できないという機械的インタロック機構を有している。この文献における開閉器は三相が一体となった構造である。ここで、機械的インタロック機構は開閉器側面に取り付けられた構造物であり、開閉器収納用の固定枠に取り付けたストッパとこの構造物とが干渉することで全体としてインタロック機構を構成している。
特開平7−227016号公報 段落0019 図2 図3
特許文献1に記載されている開閉器の機械的インタロック機構は、開閉器側に電極の開閉に連動するロック棒が設置され、開閉装置側に設置された固定枠に前記ロック棒と干渉するストッパが設けられ、誤挿入時(すなわち閉状態での開閉器の開閉装置への挿入時)はロック棒がストッパに衝突することにより開閉装置への開閉器の挿入を阻止する構造になっている。
このような構造の場合、開閉器の大きさ、構造が変われば、それぞれ別の規格のストッパ付きの枠を設けなければならないという問題があった。また、同じ開閉器でも設置の向きを変えればそれぞれを収納する枠に新たなストッパを別途設ける必要があり、設置環境の自由度が低いという問題があった。
この発明は、上記のような問題点を解決するためになされたものであり、開閉器に所定の機械的インタロック機構を設けるだけで、この開閉器を収納する開閉器収納部に固定枠および特別なストッパを設ける必要のない開閉装置を提供することを目的としている。
この発明に係る開閉装置は、
母線に接続される母線側導体と、
負荷に接続される負荷側導体と、
導体間に配設されて両者間の電気的な開閉機能を司る電流遮断部と、
電流遮断部の可動側導体を開閉させるための開閉操作機構と、
電流遮断部の可動側導体と開閉操作機構とを電気的に絶縁するための絶縁ロッドと、
電流遮断部の可動側導体に電流通電のため荷重を加えるためのばねと、
母線側導体、負荷側導体、電流遮断部、開閉操作機構、絶縁ロッド、及びばねを電気的に絶縁しながら支持するための絶縁フレームと、
絶縁フレームに支持され開閉操作機構に連動する機械的インタロック機構と、
を有する開閉器、
並びに、開閉器が挿入される開口部を有する開閉器収納部、
を備えた開閉装置において、
機械的インタロック機構は、電流遮断部が閉じている時は開閉器の一端面から挿入方向に直交する方向に突出し、開口部の縁に衝突することにより、開閉器の開閉器収納部への挿入を阻止するロック部を備えたものである。
この発明に係る開閉装置は、開閉器の電極の開閉状態に合わせてロック部が、挿入・引き出し方向に直交する方向に突出するとともに、開閉装置の開口部の縁がストッパの役割を果たすので、特別なストッパを別途用意して開閉装置に取り付ける必要がない。したがって、インタロック機構をシンプルに構成できるという効果がある。
また、ロック部は、挿入・引き出し方向に直交する方向に突出するので、開閉装置の開口部の上下左右の縁のどの場所でもストッパとして利用することができるという効果がある。
また、開閉器を開閉装置に対して縦方向にも横方向にも奥行き方向にも収納することができるので、設置環境の自由度が高いインタロック機構付きの開閉装置を安価に提供できるという効果がある。
実施の形態1.
図に基づいてこの発明の実施の形態1に係る開閉器1およびこれを収納して構成される開閉装置31を以下に説明する。
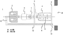
図1は開閉装置31の側断面図である。開閉装置31は、装置全体を収納するケース40と、各開閉器1を収納する開閉器収納部41と、開閉装置31の外部から導入され、各開閉器1に接続される母線32と、各開閉器1に接続される負荷側導線33とで構成される。
開閉器収納部41はケース40内に縦方向に並べてあり、開閉器1をケース40の前面図示左側から開閉器収納部41の開口部30を通して挿入、引き出しできる構造となっている。なお、開閉器1をケース40内の横方向に並べる構造でも良い。
図2(a)は本発明の実施の形態1による開閉器1を示す側断面図であり、図2(b)は正面図であって、機械的インタロック機構を取り付ける前の状態を示す。この開閉器1は、母線32に接続される母線側導体2と、負荷側導線33に接続される負荷側導体3と、母線側導体2および負荷側導体3の間に配設され、両者間の電気的な開閉機能を司る電流遮断部4と、電流遮断部4の可動側導体9を駆動させるための開閉操作機構5と、電流遮断部4の可動側導体9と開閉操作機構5とを電気的に絶縁するための絶縁ロッド6と、電流遮断部4の可動側導体9に電流通電のため荷重をかけるためのばね7と、母線側導体2および負荷側導体3と電流遮断部4と開閉操作機構5と絶縁ロッド6とばね7とを電気的に絶縁しながら支持するための絶縁フレーム8で構成される。
電流遮断部4は真空スイッチ管である。また開閉操作機構5は、電磁コイルに電流を通電することにより駆動される。母線側導体2および負荷側導体3は、金具10を介して絶縁フレーム8に固定され、開閉操作機構5はL字フレーム11を介して絶縁フレーム8に固定される。これで1相分の独立した開閉器1を構成している。
開閉器1は、この簡潔な構造で、開閉器に要求される所定の電気的および機械的要求を満たす。開閉操作機構5はリンク機構を介することなく電流遮断部4に直結して操作する単純な直線駆動となっている。この開閉器1を単純な開口部30もしくはガイドを設けた開閉器収納部41に挿入し、主回路に接続して使用する。
次に機械的インタロック機構を説明する。
図3、図4は、本実施の形態にかかる開閉器1及び開閉器収納部41の開口部近傍を示している。両図とも開閉装置31の開閉器収納部41の開口部30に加えて安全装置としての機械的インタロック機構をその構成品として取り付けた開閉器1を示しており、図3は電流遮断部4が閉極状態、図4は電流遮断部4が開極状態である場合を示している。取り付け金具類は省略している。
図3は、開閉装置31から開閉器1を引き出した状態で、開閉装置31に設けられた開口部30の右側が開閉装置31内部、左が外部となる。
機械的インタロック機構は、開閉操作機構5の端部に連結された連結部品12と、連結部品12に接続され、絶縁フレーム8に沿って配設されたロックアーム13と、ロックアーム13に連結され、開閉操作機構5の動作に連動して突出、又は突出を解除するロック部14とで構成されている。
なお、この明細書中で使用する「インタロック機構」とは、開閉器に付属した上述の機械的インタロック機構と、開閉装置開口部縁とで構成される。具体的には機械的インタロック機構と、開口部縁との干渉によって開閉器1の開閉装置31への挿入及び引き出しを規制し、或いは規制を解除する機構をいう。また、機械的インタロック機構の機能としてのオン、オフを言う場合には単に「インタロック」の用語を使用する。
機械的インタロック機構の細部を説明する。
ロック部14は、図4に示すように2本のロッド144、145と○印で示した関節部141、142、143で構成され、関節部で折れ曲がる仕様となっている。図右端の関節部143は絶縁フレーム8に固定されている。そして、ロッド145はこの関節部143を中心として回動可能である。中間の関節部142はロッド144の一端とロッド145の一端とを回動可能に接続する以外はどこにも固定されていない。関節部141はロックアーム13の一端とロッド144の一端とを回動可能に接続すると共に、絶縁フレーム8上を、図3左右方向に摺動可能に取り付けられている。これによってロックアーム13が図4の状態から右に動くと、連動してロック部14が図3に示すようにV字型となって下に突出し、インタロックがオンになる。
反対に、ロックアーム13が図3の状態から左に動くとロック部14は、ほぼ直線状態になってインタロックがオフになる。
図4に示すようにロック部14はインタロックがオフの状態でも完全に水平に伸びきることはなく、僅かに下側に曲がった状態(すなわち関節部142は関節部143よりも絶縁フレームから離れた位置)で静止する。この配置は、その後にインタロックをオンにする時に関節部141、142、143の動作を円滑にするためのものである。
ロックアーム13は高電圧充電部(母線側導体2、負荷側導体3、電流遮断部4)に近いため、連結部品12との間で所定の絶縁を保持する必要がある。そこで、ロックアーム13を絶縁物で構成することで絶縁を保持している。ここでは、ロックアーム13を絶縁物で構成したが、連結部品12を絶縁物にすることによって絶縁を保持しても良い。
次に、開閉器1を開閉装置31の開閉器収納部41へ挿入及び引き出しする方法について説明する。
図3の開閉器1は閉極状態であり、開閉装置31の開閉器収納部41へ挿入する前の状態である。この時、開閉操作機構5の動作に連動するインタロックがオンの状態となっている。開口部30からこの開閉器1を右方向横向きにスライドして開閉装置31の開閉器収納部41内(開口部30の右側)へ挿入しようとすると、ロック部14が開口部30の縁に突き当たり挿入できない。電極が閉じた状態で開閉器1を配電盤に誤挿入すると感電事故や接触子の溶着が起こる可能性があるが、インタロック機構によってこれを防止できる。
図4のように開閉操作機構5によって電極を開いてインタロックをオフとし、その後開閉器1を開閉装置31の開閉器収納部41内の所定の位置まで挿入した後に開閉器1の電極を閉じると、図5のように、開閉器収納部41内に設けたロック受け25内でロック部14が突出して干渉する。
すなわち、ロック受け25は図示しないが開閉装置31のケース40に固定されていて、ロック部14が真っ直ぐに伸びた状態ではロック受け25の端部を通過できるが、ロック部14がV字型に突出している状態では通過できない。
これによって、開閉器1の電極が閉じている状態では開閉器1を開閉装置31の外部に引き出せなくなる。引き出すときは開閉器1を開極してインタロックをオフし、引き出せばよい。
以上のように、この実施の形態1による開閉装置31では、開閉器1の電極の開閉状態に合わせてロック部14が、挿入・引き出し方向に直交する方向に突出するとともに、開閉装置31の開口部30の縁がストッパの役割を果たすので、特別なストッパを別途用意して開閉装置31に取り付ける必要がない。したがって、インタロック機構をシンプルに構成できる。
また、ロック部14は、挿入・引き出し方向に直交する方向に突出するので、開閉装置31の開口部30の上下左右の縁のどの場所でもストッパとして利用することができる。つまり、図3に示す開閉器1の長手方向、中心線(1点鎖線で図示)を回転軸として、90度、180度、270度回転させた状態で収納する構造としてもインタロック機構はいずれかの開口部30の縁をストッパとして構成できる。
また、開閉器1を開閉装置31の縦方向にも横方向にも奥行き方向にも収納することができるので、設置環境の自由度が高いインタロック機構付きの開閉装置31を安価に提供できる。
また、挿入後に干渉するロック受け25を設けることで、開閉器1の電極が閉じている状態で誤って開閉器1を開閉装置31から取り出す誤操作を防止できる。
また、開閉器1の主要な構成である電流遮断部4、開閉操作機構5、絶縁ロッド6、ばね7、母線側導体2、負荷側導体3を絶縁フレーム8の片側に固定し、絶縁フレーム8の反対側に機械的インタロック機構を配置したので、機械的インタロック機構が電流遮断部4の可動導体9から操作機構5までの可動部に干渉することなく、また、母線側導体2、負荷側導体3間(すなわち電流遮断部の両端)および負荷側導体3と操作機構5間の絶縁に影響を与えることなく、また開閉器1の外形寸法を大幅に拡大することなく構成できる。
実施の形態2.
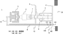
図6は本発明の実施の形態2による開閉器101のうち閉極状態の開閉器101および開閉器収納部41の開口部30近傍を示し、インタロックはオンの状態である。図7は開極状態の開閉器101および開閉器収納部41の開口部30近傍を示し、インタロックがオフの状態である。
また、図8(a)、8(b)はロック部114の斜視図及び側断面図である。
機械的インタロック機構を除く開閉器101の構造は実施の形態1の開閉器1と同じであるので共通部分は同一符号を用いて説明する。
図6、図7、図8(a)、(b)において、機械的インタロック機構は、開閉操作機構5の端部に一端を連結された連結部品112と、連結部品112の他端に接続され、絶縁フレーム8に沿って配設されたロックアーム113と、ロックアーム113の左右の動作を上下の動きに変換するロック棒17を主要構成要素とするロック部114とで構成される。
連結部品112は、開閉操作機構5の動作から独立して絶縁フレーム8に固定された金具16の支持軸15によって図6●印で示した点を支持されている。また連結部品112には支持軸15が摺動できるよう、図示しないが●印近傍長手方向に細長い穴を開けてある。この穴は開閉操作機構5の端部が左右に直線運動できるよう「遊び」を確保するためのものである。この「遊び」は開閉操作機構5と連結部品12の接続点の○部分に設けても良い。
穴に遊びがあるので、開閉操作機構5の動作に連動して、連結部品112は●印を中心に摺動しながら回動することができる。これにより、ロックアーム113は開閉操作機構5の動作方向と正反対の動きをする。
図8はロック部114の斜視図である。
ロック部114は、絶縁フレーム8の端部に固定した金具20に開けた穴46を通して支持されたシャフト45の周囲にばね18を巻回し、シャフト45の下端に、切り欠き部171を有するロック棒17を取り付けて構成されている。
図8(a)に示すようにロック棒17は4角柱の一部を斜めに切り欠いた形状をしている。切り欠き部171は、図6ではロック棒17の左側面に設けられていることになる。図8(b)はロック棒17の側面図である。図8(b)の破線はロック棒17の正面に設けた切り欠き部の断面を示している。なお、図示しないが、シャフト45の上端にはシャフトが抜け落ちないよう支持する部材が取り付けてある。
図6では、開閉器101は閉極状態であるため、ロックアーム113は図の左方向へ引かれており、ロック棒17は、ばね18の上下に伸びる力によって下方向に突出している。
一方、図7は開閉器101が開極した状態を示す。開閉操作機構5が開閉器101の電極を開くと、支持軸15を支点として連結部品112の下端は右方向に動き、連結部品112に連結されているロックアーム113も図の右方向へ押される。ロックアーム113の先端がロック棒17の切り欠き部171を図の左から右へ押し込むとロック棒17に取り付けたばね18が縮んでロック棒17が上方へ持ち上がりインタロックがオフの状態となる。
取り付け金具20に所定の厚みを持たせることでシャフト45は上下の移動しかできないからである。
ロックアーム113の先端は図6のように切り欠いていなくても構わない。
しかし、先端の上端を斜めに切り欠き、ロック棒17の切り欠き部171の表面と、ロックアーム113の先端の切り欠き部の表面を互いに平行に近づけ、ロックアーム113の先端がロック棒17の切り欠き部117を真横から押圧するようにすると、スムーズにロック棒17を上方へ押し上げることができる。
図8(a)に示すように、ロック棒17の両端部は切り欠かずに残している。ロック棒17の全体を斜めに切り欠くと、開閉器101の電極が閉じている状態で開閉器101を開閉器収納部41へ誤挿入する危険は防止できても、引き出し時の誤操作を防止できないからである。つまり、インタロックがオンで、開閉器101の電極が閉じていても、開閉器101を引き出そうとすると、切り欠き部が直接収納部の縁、或いは開閉器収納部41のロック受け25に衝突し、ばね18を縮めてロック棒が上がってしまう場合があるからである。ロック棒17の切り欠き部171の左右に垂直部分を残すことで、開閉器101が衝突しても、その力でロック棒17が上方に押し上げられることはない。
このような構成によれば、開閉器101を閉極した状態で横方向に開口部30に挿入しようとすると、図6のようにロック棒17と開口部30とが干渉し、開閉器収納部41への挿入が物理的に阻止される。また、開閉器101が開極しているときには、図7のように、ロック棒17が開口部30の縁よりも高い位置までロックアーム113によって押し上げられるので、縁に干渉することなく、開閉器101を開閉装置の開閉器収納部41に挿入することが出来る。
また、図5のロック部14がこの実施の形態ではロック部114に相当するので、実施の形態1と同様に、開閉器101が開閉器収納部41へ挿入された後、閉極した時にロック棒17を受けるロック受け25を設けることによって誤引き出しを防止する効果を得られる。
以上のように実施の形態2の開閉装置のインタロック機構も、実施の形態1の開閉装置31のインタロック機構と同様の効果を奏する。
実施の形態3.
図10及び図11に基づいてこの発明の実施の形態3に係る開閉器201およびこれを収納して構成される開閉装置231を以下に説明する。
図10は開閉装置231の側断面図である。開閉装置231は、図に示す装置全体を収納するケース40と、各開閉器201を収納する開閉器収納部241と、開閉装置231の外部から導入され、各開閉器201に接続される母線32と、各開閉器201に接続される負荷側導線33とで構成される。
開閉器収納部241はケース40内に縦方向に並べて設けてあり、開閉器201をケース40の前面から開閉器収納部241の開口部30を通して挿入、引き出しできる構造となっているが、各開閉器201を横方向に並べる構造でも良い。
図11は実施の形態3による開閉器201および開閉器収納部241の開口部近傍の断面図である。同図では、開閉器201は電流遮断部4から開閉操作機構5までの全体が縦向きで開閉装置231へ挿入される。開閉器201を構成する部品は、実施の形態1および2の場合と基本的に同じである。
L型ロックアーム213は、開閉操作機構5の動作から独立して絶縁フレーム8に固定された金具16の支持軸15によって●印で示した点を支持されている。実施の形態1では連結部品12とロックアーム13は独立した部品であって連結して使用していたが、この実施の形態ではL型の1つの部品としている。L型ロックアーム213には支持軸15を中心として摺動しながら回動できるよう、図示しないが●印近傍長手方向に細長い穴を開けてある。
この穴は開閉操作機構5の端部が左右に直線運動できるよう「遊び」を確保するためのものである。この「遊び」は開閉操作機構5とL型ロックアーム213の接続点の○部分に設けても良い。
図11では、開閉器201は閉極状態であるため、L型ロックアーム213のロック部214は図の下方向(挿入・引き出し方向に略直交する方向)へ下がっている。
一方、図12は開閉器201が開極した状態を示す。開閉操作機構5の開閉動作にともなって、L型ロックアーム213が支持軸15を中心に回動し、ロック部214は図のように上方に上がっている。
このような構成によれば、開閉器201を、電極が閉じた状態で縦向きにして開口部30を経由して開閉器収納部241に挿入しようとすると、図11のようにロック部214と開口部30の縁とが干渉し、開閉装置231への挿入を物理的に阻止できる。また、開閉器201が開極しているときには、図12のように開閉装置231の開口部30の縁にL型ロックアーム213のロック部214が干渉することなく、開閉器201を挿入することができる。
また、開閉器201が開閉器収納部241へ挿入された後、閉極した時にL型ロックアーム213のロック部214と干渉するロック受け36を設けることによって誤引き出しを防止できる。
また、機械的インタロック機構のロック部214が挿入方向に対し直交する方向に突出するという簡潔な構造とすることで、開閉器201自体を開閉装置231の高さ方向にも奥行方向にも収納することができ、設置環境の自由度が高いインタロック付きの開閉装置231を安価に提供できる。
以上のように、本実施の形態においても実施の形態1及び2と同様の効果を得られる。
さらに、L型ロックアーム213は1つの部品であるので、実施の形態1及び2より部品数を削減できる効果がある。
実施の形態4.
図13は本発明の実施の形態4による開閉器1および開閉器収納部341の開口部近傍を示す断面図である。開閉器1の機械的インタロック機構の構造は実施の形態1と同じである。本実施の形態では開閉器収納部341側に特徴を持たせている。開閉器収納部341内にロックガイド39を設けてある。このロックガイド39は平板でもU型の溝でもよく、開閉器収納部に所定の長さ延在するように設けられている。
図13において、開閉器1を挿入中、又は引き出し中には、ロック部14はロックガイド39が真下にあるので挿入方向と直交する方向に突出しない。ロック部14が挿入方向と直交する方向に突出しない限り連動する開閉器1の電極は閉じない。
従って、上記所定の長さを適切に設定すれば開閉器1を開閉器収納部341へ完全に収納するまでは誤操作による電極の閉極は起こらないことになる。すなわち、完全に挿入もしくは引き出しした場所でのみロック部14が突出できるようにロックガイド39を配置するだけでよい。
なお、このようなロックガイドは実施の形態3の開閉器201にも適用できる。
以上のようにこの実施の形態では、実施の形態1の効果に加えて、開閉器1の挿入・引き出しの全過程に渡って開閉器1の電極が開いた状態を保持できる。
したがって、実施の形態1以上に作業の安全性を確保できるという効果がある。
実施の形態5.
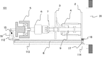
図14は本発明の実施の形態5による開閉器301の側断面図(左)及び正面図(右)である。同図では、機械的インタロック機構は、実施の形態1と同様に構成されている。開閉器301を周囲と絶縁する絶縁フレーム108はU字構造をなしている。
このような構成によれば、U字側面が絶縁バリヤの役目をなすため、負荷側導体3からロックアーム13を介した操作機構5もしくは連結部品12への電気的な絶縁性能が向上する。
さらに、絶縁フレーム108をU字構造とすることで、横方向に隣接する開閉器108同士の離隔距離を短縮することができる。
また、フレーム構造がU字になるため、絶縁フレーム108の強度向上にも貢献する。 このU字型の絶縁フレーム108は他の全ての実施の形態でも利用できる。
実施の形態6.
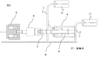
図15は本発明の実施の形態6による開閉器401である。同図では、機械的インタロック機構を構成する部品は図示していないが、実施の形態1乃至3のいずれかの一つと同様に構成されている。同図おいて、開閉器401は横向きで開閉器収納部へ挿入および引出しされることになる。そこで、母線側導体2および負荷側導体3は挿入方向、つまり図面の右方向へ曲げた形状をなしており、その先端に接触子37が取り付けられている。
このような構成によれば、接触子37を開閉器401とともに引出すことができるため、開閉器401の点検時に合わせて保守・点検が可能となる。
図16も本発明の実施の形態6による開閉器1である。同図でも、機械的インタロック機構を構成する部品は図示していないが、実施の形態1乃至3のいずれかの一つと同様に構成されている。同図おいて、開閉器1は縦向きで開閉装置へ挿入および引出しされることになる。同図の母線側導体2および負荷側導体3の先端に接触子27が取り付けられている。
なお、接触子27は他の全ての実施の形態でも利用できる。
本発明の実施の形態1の開閉装置の側断面図である。 本発明の実施の形態1の開閉器ののうち機械的インタロック機構を除く部分の側断面図および正面図である。 本発明の実施の形態1の開閉装置のうち閉極状態の開閉器と、開閉器収納部の開口部近傍とを示す側断面図である。 本発明の実施の形態1の開閉装置のうち開極状態の開閉器と、開閉器収納部の開口部近傍とを示す側断面図である。 本発明の実施の形態1の開閉装置のうち開閉器を開閉器収納部へ挿入後、閉極した状態を示す側断面図である。 本発明の実施の形態2の開閉装置のうち閉極状態の開閉器と、開閉器収納部の開口部近傍とを示す側断面図である。 本発明の実施の形態2の開閉装置のうち開極状態の開閉器と、開閉器収納部の開口部近傍とを示す側断面図である。 本発明の実施の形態2のロック棒の斜視図及び側断面図である。 金具16の斜視図である。 本発明の実施の形態3の開閉装置の側断面図である。 本発明の実施の形態3の開閉装置のうち閉極状態の開閉器と、開閉器収納部の開口部近傍とを示す側断面図である。 本発明の実施の形態3の開閉装置のうち開極状態の開閉器と、開閉器収納部の開口部近傍とを示す側断面図である。 本発明の実施の形態4の開閉装置のうち開極状態の開閉器と、開閉器収納部の開口部近傍とを示す側断面図である。 本発明の実施の形態5の開閉装置を構成する開閉器の側断面図と横断面図である。 本発明の実施の形態6の開閉装置を構成する横向きの開閉器を示す側断面図である。 本発明の実施の形態6の開閉装置を構成する縦向きの開閉器を示す側断面図である。
符号の説明
1,101,201,301 開閉器、2 母線側導体、3 負荷側導体、
4 電流遮断部、5 開閉操作機構、6 絶縁ロッド、7 ばね、8 絶縁フレーム、
9 可動側導体、10 金具、11 L字フレーム、12,112 連結部品、
13,113 ロックアーム、213 L型ロックアーム、
14,114,214 ロック部、141,142,143 関節部、
144,145 ロッド、15 支持軸、16 金具、17 ロック棒、
171 切り欠き部、18 ばね、20 金具、25,36 ロック受け、
27,37 接触子、30 開口部、31,131 開閉装置、32 母線、
33 負荷側導線、34,36 ロック受け、39 ロックガイド。40 ケース、
41,241 開閉器収納部、45 シャフト、46 穴。

Claims (8)

  1. 母線に接続される母線側導体と、
    負荷に接続される負荷側導体と、
    前記導体間に配設されて両者間の電気的な開閉機能を司る電流遮断部と、
    前記電流遮断部の可動側導体を開閉させるための開閉操作機構と、
    前記電流遮断部の可動側導体と前記開閉操作機構とを電気的に絶縁するための絶縁ロッドと、
    前記電流遮断部の可動側導体に電流通電のため荷重を加えるためのばねと、
    前記母線側導体、前記負荷側導体、前記電流遮断部、前記開閉操作機構、前記絶縁ロッド、及び前記ばねを電気的に絶縁しながら支持するための絶縁フレームと、
    前記絶縁フレームに支持され前記開閉操作機構に連動する機械的インタロック機構と、
    を有する開閉器、
    並びに、前記開閉器が挿入される開口部を有する開閉器収納部、
    を備えた開閉装置において、
    前記機械的インタロック機構は、前記電流遮断部が閉じている時は前記開閉器の一端面から挿入方向に直交する方向に突出し、前記開口部の縁に衝突することにより、前記開閉器の前記開閉器収納部への挿入を阻止するロック部を備えたことを特徴とする開閉装置。
  2. 前記開閉器収納部は、前記開閉器が収納された状態で、前記ロック部の移動を規制する部材を備えていることを特徴とする請求項1に記載の開閉装置。
  3. 前記機械的インタロック機構は、前記開閉操作機構の閉極操作および開極操作に連動して前記絶縁フレームに沿って前進および後退するロックアームと、2本のロッドの端部を屈折可能に連結した連結体の一端が前記ロックアームの先端に、他端が前記絶縁フレームの端部にそれぞれ回動可能に固定されてなり、前記ロックアームの前進に伴い前記連結体がV字型に突出するロック部を備えた請求項1又は請求項2に記載の開閉装置。
  4. 前記ロック部は中間点に設けた支点を中心として回転するL型のアームで構成され、前記開閉操作機構の閉極操作に伴い、前記支点を中心に回転して、前記開閉器の前記開閉器収納部への挿入方向に直交する方向に上記アームの一端が突出するものである請求項1又は請求項2に記載の開閉装置。
  5. 前記機械的インタロック機構は前記電流遮断部と連動するロックアームを備え、
    前記ロック部は、ばねと、このばねの伸縮に伴い前記開閉器の挿入方向に直交する方向に移動するロック棒を備え、
    前記電流遮断部が閉じている時には、前記ロックアームが前記ロック棒と隔離し、前記電流遮断部が開いている時には前記ロックアームが前記ロック棒を押圧して前記ばねを縮めて前記開閉器の挿入を可能ならしめることを特徴とする請求項1又は請求項2に記載の開閉装置。
  6. 前記開閉装置の前記開口部を経由して前記開閉器収納部への開閉器の出し入れの際、前記出し入れが完了するまで前記ロック部が突出しないよう規制するロックガイドを開閉器収納部に設けたことを特徴とする請求項3又は請求項4に記載の開閉装置。
  7. 母線に接続される前記導体と、負荷に接続される前記導体に接触子を設けたことを特徴とする請求項1乃至請求項6のいずれか1項に記載の開閉装置。
  8. 前記絶縁フレームをU字形状としたことを特徴とする請求項1乃至請求項7のいずれか1項に記載の開閉装置。
JP2008182277A 2008-07-14 2008-07-14 開閉装置 Expired - Fee Related JP5090276B2 (ja)

Priority Applications (1)

Application Number Priority Date Filing Date Title
JP2008182277A JP5090276B2 (ja) 2008-07-14 2008-07-14 開閉装置

Applications Claiming Priority (1)

Application Number Priority Date Filing Date Title
JP2008182277A JP5090276B2 (ja) 2008-07-14 2008-07-14 開閉装置

Publications (2)

Publication Number Publication Date
JP2010021092A true JP2010021092A (ja) 2010-01-28
JP5090276B2 JP5090276B2 (ja) 2012-12-05

Family

ID=41705768

Family Applications (1)

Application Number Title Priority Date Filing Date
JP2008182277A Expired - Fee Related JP5090276B2 (ja) 2008-07-14 2008-07-14 開閉装置

Country Status (1)

Country Link
JP (1) JP5090276B2 (ja)

Cited By (3)

* Cited by examiner, † Cited by third party
Publication number Priority date Publication date Assignee Title
CN106449231A (zh) * 2016-10-14 2017-02-22 上海市政工程设计研究总院(集团)有限公司 一种用于带四工位开关地埋变的机械组合锁
CN113131295A (zh) * 2019-12-30 2021-07-16 中国电力科学研究院有限公司 一种插头与插座的直流插接装置和方法
CN113937649A (zh) * 2021-10-22 2022-01-14 山东泰开真空开关有限公司 一种简易一体式低压开关柜抽屉联锁机构

Citations (5)

* Cited by examiner, † Cited by third party
Publication number Priority date Publication date Assignee Title
JPS61117514U (ja) * 1985-01-09 1986-07-24
JPH08287790A (ja) * 1995-04-11 1996-11-01 Meidensha Corp 遮断器投入操作用電磁石
JPH10336807A (ja) * 1998-06-01 1998-12-18 Hitachi Ltd 配電盤
JP2002135919A (ja) * 2000-10-27 2002-05-10 Taito Kogyo Kk スイッチギヤ
JP2004222381A (ja) * 2003-01-14 2004-08-05 Mitsubishi Electric Corp スイッチギヤ

Patent Citations (5)

* Cited by examiner, † Cited by third party
Publication number Priority date Publication date Assignee Title
JPS61117514U (ja) * 1985-01-09 1986-07-24
JPH08287790A (ja) * 1995-04-11 1996-11-01 Meidensha Corp 遮断器投入操作用電磁石
JPH10336807A (ja) * 1998-06-01 1998-12-18 Hitachi Ltd 配電盤
JP2002135919A (ja) * 2000-10-27 2002-05-10 Taito Kogyo Kk スイッチギヤ
JP2004222381A (ja) * 2003-01-14 2004-08-05 Mitsubishi Electric Corp スイッチギヤ

Cited By (4)

* Cited by examiner, † Cited by third party
Publication number Priority date Publication date Assignee Title
CN106449231A (zh) * 2016-10-14 2017-02-22 上海市政工程设计研究总院(集团)有限公司 一种用于带四工位开关地埋变的机械组合锁
CN106449231B (zh) * 2016-10-14 2024-02-06 上海市政工程设计研究总院(集团)有限公司 一种用于带四工位开关地埋变的机械组合锁
CN113131295A (zh) * 2019-12-30 2021-07-16 中国电力科学研究院有限公司 一种插头与插座的直流插接装置和方法
CN113937649A (zh) * 2021-10-22 2022-01-14 山东泰开真空开关有限公司 一种简易一体式低压开关柜抽屉联锁机构

Also Published As

Publication number Publication date
JP5090276B2 (ja) 2012-12-05

Similar Documents

Publication Publication Date Title
EP2296160B1 (en) Vacuum insulated switchgear
EP3016223B1 (en) Cradle with a door interlock device for a withdrawable vacuum circuit breaker
EP2309525B1 (en) Circuit breaker
JP5090276B2 (ja) 開閉装置
JP2018057062A (ja) スイッチギヤ
US10460898B2 (en) Circuit breakers
US10163587B2 (en) Interlock device of withdrawable arc eliminator
CN102656655B (zh) 电磁操作方式开关装置
JP2011078273A (ja) 配電盤の作業台車および配電盤
KR100987585B1 (ko) 배전반의 셀스위치 구동용 주축로드
JP6666225B2 (ja) 開閉装置、および、それを備えたスイッチギヤ
JP4870649B2 (ja) 配電盤
JP5538651B2 (ja) 配電盤のシャッタ装置
JP2008295124A (ja) 配電盤
JP4661432B2 (ja) 引出形回路遮断器
TWI878940B (zh) 配電盤
JPH0530615A (ja) 金属閉鎖形スイツチギヤ
JP4267237B2 (ja) ガス絶縁計器用変圧器
TW202529138A (zh) 開閉裝置
JP2017139847A (ja) スイッチギヤ
KR101864762B1 (ko) 3 포지션 조작장치
JPWO2020012599A1 (ja) スイッチギヤ
HK40120810A (zh) 配电盘
JPH0564325A (ja) 閉鎖形配電盤
JP2000261918A (ja) 配電盤

Legal Events

Date Code Title Description
A621 Written request for application examination

Free format text: JAPANESE INTERMEDIATE CODE: A621

Effective date: 20101004

A977 Report on retrieval

Free format text: JAPANESE INTERMEDIATE CODE: A971007

Effective date: 20120517

A131 Notification of reasons for refusal

Free format text: JAPANESE INTERMEDIATE CODE: A131

Effective date: 20120605

A521 Written amendment

Free format text: JAPANESE INTERMEDIATE CODE: A523

Effective date: 20120724

TRDD Decision of grant or rejection written
A01 Written decision to grant a patent or to grant a registration (utility model)

Free format text: JAPANESE INTERMEDIATE CODE: A01

Effective date: 20120904

A01 Written decision to grant a patent or to grant a registration (utility model)

Free format text: JAPANESE INTERMEDIATE CODE: A01

A61 First payment of annual fees (during grant procedure)

Free format text: JAPANESE INTERMEDIATE CODE: A61

Effective date: 20120912

FPAY Renewal fee payment (prs date is renewal date of database)

Free format text: PAYMENT UNTIL: 20150921

Year of fee payment: 3

R150 Certificate of patent (=grant) or registration of utility model

Free format text: JAPANESE INTERMEDIATE CODE: R150

LAPS Cancellation because of no payment of annual fees