JP2010020443A - 画面入力型画像表示システム - Google Patents
画面入力型画像表示システム Download PDFInfo
- Publication number
- JP2010020443A JP2010020443A JP2008178800A JP2008178800A JP2010020443A JP 2010020443 A JP2010020443 A JP 2010020443A JP 2008178800 A JP2008178800 A JP 2008178800A JP 2008178800 A JP2008178800 A JP 2008178800A JP 2010020443 A JP2010020443 A JP 2010020443A
- Authority
- JP
- Japan
- Prior art keywords
- coordinate
- electrode
- electrodes
- digital data
- auxiliary
- Prior art date
- Legal status (The legal status is an assumption and is not a legal conclusion. Google has not performed a legal analysis and makes no representation as to the accuracy of the status listed.)
- Granted
Links
Images
Classifications
-
- G—PHYSICS
- G06—COMPUTING OR CALCULATING; COUNTING
- G06F—ELECTRIC DIGITAL DATA PROCESSING
- G06F3/00—Input arrangements for transferring data to be processed into a form capable of being handled by the computer; Output arrangements for transferring data from processing unit to output unit, e.g. interface arrangements
- G06F3/01—Input arrangements or combined input and output arrangements for interaction between user and computer
- G06F3/03—Arrangements for converting the position or the displacement of a member into a coded form
- G06F3/041—Digitisers, e.g. for touch screens or touch pads, characterised by the transducing means
- G06F3/045—Digitisers, e.g. for touch screens or touch pads, characterised by the transducing means using resistive elements, e.g. a single continuous surface or two parallel surfaces put in contact
Landscapes
- Engineering & Computer Science (AREA)
- General Engineering & Computer Science (AREA)
- Theoretical Computer Science (AREA)
- Human Computer Interaction (AREA)
- Physics & Mathematics (AREA)
- General Physics & Mathematics (AREA)
- Position Input By Displaying (AREA)
Abstract
【解決手段】タッチセンサ3のX座標電極とY座標電極の間の容量変化を検出する検出回路4と、検出回路4の検出出力をデジタルデータに変換するアナログ−デジタル・コンバータ5と、タッチされた座標を判定するタッチパネル制御回路6と、タッチパネル制御回路6のタッチ座標データを入力すると共に、装置全体を統括制御する主制御回路7と、表示装置1の表示を制御する表示制御回路2とを備え、主制御回路7は、タッチ座標データからユーザのタッチの発生とその座標を判断し、当該判断された座標に応じた表示信号を表示制御回路2を通して表示装置1に供給し、表示に反映させる。
【選択図】図1
Description
前記タッチセンサは、
前記表示装置の表示面上で二次元マトリクス状に配置されて押圧による容量変化を検出するための複数のX座標電極と、該X座標電極と絶縁層を介して交叉配置した複数のY座標電極と、該X座標電極間毎に引き出される複数のX座標補助電極と、該Y座標補助電極間毎に引き出される複数のY座標補助電極とを有しており、
前記X座標電極と前記Y座標電極の間の容量変化を検出する検出回路と、前記検出回路の検出出力をデジタルデータに変換するアナログ−デジタル・コンバータと、タッチされた座標を判定するタッチパネル制御回路と、前記タッチパネル制御回路のタッチ座標データを入力すると共に、装置全体を統括制御する主制御回路と、前記表示装置の表示を制御する表示制御回路と、を備え、
前記主制御回路は、前記タッチ座標データからユーザのタッチの発生とその座標を判断し、当該判断された座標に応じた表示信号を前記表示制御回路を通して前記表示装置に供給し、表示に反映させることを特徴とする。
前記複数のX座標補助電極と絶縁膜を介して配置される前記複数のY座標補助電極は、前記Y座標電極に対し垂直方向に延在され、長さが同じで線幅はそれぞれ異なって形成され、前記X座標補助電極のそれぞれと交差して配置されていることを特徴とする。
該非接触時のデジタルデータ値と最も差のあるデジタルデータ値を示したX座標電極のデジタルデータ値のレベルに応じて、前記複数のX座標補助電極よりタッチされたX座標補助電極の座標を判定し、該非接触時のデジタルデータ値と最も差のあるデジタルデータ値を示したY座標電極のデジタルデータ値のレベルに応じて、前記複数のY座標補助電極よりタッチされたY座標補助電極の座標を判定することにより、接触位置の座標を出力することを特徴とする。
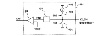
図1は、本発明の画面入力型画像表示システムの実施例1を示す概略構成図である。図1において、表示装置1に重ね合わせてタッチパネル3が貼り合わされて画面入力型画像表示装置が構成される。表示装置1は、液晶表示パネル、有機ELパネルなどである。タッチパネル3は静電容量結合方式のタッチパネルであり、このタッチパネル3にスタイラスペン等が接触(タッチ)したことによる容量変化を検出回路4が検出する。この容量変化の検出結果に基づく検出回路4の検出出力CMPはアナログ−デジタル・コンバータ(ADC)5を介してタッチパネル制御回路6に渡され、タッチされた座標(X座標、Y座標)が判定される。判定されたタッチ座標データPOSは画面入力型画像表示装置の全体を制御する主制御回路(システム制御回路、マイコンやCPU等で構成される)7に転送される。主制御回路7は、タッチ座標データPOSからユーザのタッチの発生とその座標を判断し、それに応じた表示信号SIGを表示制御回路2を通して表示装置1に供給し、表示に反映させる。検出回路4やADC5はタッチパネル制御回路6により制御される。
次に、図11を参照して本発明の実施例2を説明する。図11は図3と対応した図となっている。前記した実施例1では、図3で説明したように、XY両座標電極より線幅の異なった複数の座標補助電極を引き出すことで(メッシュ形状)、各座標補助電極にタッチされたときの静電容量の変化が異なり、位置に応じた静電容量の変化を作り出したが、実施例2では、図11に示すように、X座標補助電極は図3と同様であるが、Y座標補助電極1101〜1104は三角形の同一形状であり、且つX座標補助電極間に配置される(くさび形状)。上記三角形の形状とすることで、先端部(一番線幅が細い部分)から後端部(一番線幅が太い部分)にかけて線幅が太くなることから、上記Y座標補助電極のどの箇所をタッチしても、静電容量の変化は全て異なり、位置に応じた静電容量の変化を作り出すことが可能となる。また、実施例1で説明した図3のXY電極の形状はメッシュ形状であるが、本実施例の図11のXY電極の形状はくさび形状であるため、X座標補助電極とY座標補助電極は交差しないため交差容量が存在せず、より理想値に近い静電容量の変化を作り出すことが可能となる。なお、本実施例ではXY両座標補助電極の本数を4本ずつとしたが、これに限らず、実施例1で示した式1および式2を満たすことが出来れば、XY両座標補助電極の本数を増加し、分解能を高めることが可能となる。また、Y座標補助電極の後端部とY座標電極を接続してるが、これに限らず、先端部とY座標電極を接続しても問題ない。以上より、実施例2により、Y座標補助電極の形状を同一の三角形の形状とし、X座標補助電極間に配置することで、より詳細な座標検出が可能となり、ユーザの操作性向上を実現できる。
次に、図12を参照して本発明の実施例3を説明する。前記した実施例1では、図9で説明したように、上記配線抵抗および寄生容量などによるCNT増加係数AおよびBと、各座標補助電極のリファレンスCNT値と、タッチされたXY電極のライン数XL・YLをかけた値を算出し、ピークCNTであるMCNTX・MCNTYと上記算出値を比較し、XY両座標補助電極の座標を検出した。
Claims (6)
- 表示装置の表示面上のタッチ位置の二次元座標を検出するタッチセンサを備えた画面入力型画像表示システムであって、
前記タッチセンサは、
前記表示装置の表示面上で二次元マトリクス状に配置されて押圧による容量変化を検出するための複数のX座標電極と、該X座標電極と絶縁層を介して交叉配置した複数のY座標電極と、該X座標電極間毎に引き出される複数のX座標補助電極と、該Y座標補助電極間毎に引き出される複数のY座標補助電極とを有しており、
前記複数のX座標補助電極は、前記X座標電極に対し垂直方向に延在され、長さが同じで線幅はそれぞれ異なって形成され、前記複数のX座標補助電極と絶縁膜を介して配置される前記複数のY座標補助電極は、前記Y座標電極に対し垂直方向に延在され、長さが同じで線幅はそれぞれ異なって形成され、前記X座標補助電極のそれぞれと交差して配置され、前記複数のX座標補助電極、および前記複数のX座標補助電極は、隣接する一対のX座標電極と隣接する一対のY座標電極で囲まれる領域に形成され、前記複数のX座標補助電極は、それらの並設方向にかけて順次線幅が大きくなっており、前記複数のY座標補助電極は、それらの並設方向にかけて順次線幅が大きくなっている電極形状を有しており、
前記タッチセンサの前記X座標電極と前記Y座標電極の間の容量変化を検出する検出回路と、前記検出回路の検出出力をデジタルデータに変換するアナログ−デジタル・コンバータと、タッチされた座標を判定するタッチパネル制御回路と、前記タッチパネル制御回路のタッチ座標データを入力すると共に、装置全体を統括制御する主制御回路と、前記表示装置の表示を制御する表示制御回路と、を備え、前記主制御回路は、前記タッチ座標データからユーザのタッチの発生とその座標を判断し、当該判断された座標に応じた表示信号を前記表示制御回路を通して前記表示装置に供給し、表示に反映させる画面入力型画像表示システムにおいて、
前記タッチパネル制御回路は、前記アナログ−デジタル・コンバータより出力された複数のX座標電極のデジタルデータより、非接触時のデジタルデータ値と最も差のあるデジタルデータ値を示したX座標電極の座標を接触座標として判定し、前記アナログ−デジタル・コンバータより出力された複数のY座標電極のデジタルデータより、非接触時のデジタルデータ値と最も差のあるデジタルデータ値を示したY座標電極の座標を接触座標として判定し、
該非接触時のデジタルデータ値と最も差のあるデジタルデータ値を示したX座標電極のデジタルデータ値のレベルに応じて、前記複数のX座標補助電極よりタッチされたX座標補助電極の座標を判定し、該非接触時のデジタルデータ値と最も差のあるデジタルデータ値を示したY座標電極のデジタルデータ値のレベルに応じて、前記複数のY座標補助電極よりタッチされたY座標補助電極の座標を判定することにより、接触位置の座標を出力することを特徴とする画面入力型画像表示システム。 - 前記複数のY座標補助電極は、前記Y座標電極に対し垂直方向に延在された同形の三角形状をなし、絶縁膜を介して配置される前記X座標補助電極と交差することなく交互に配列されており、前記複数のX座標補助電極、および前記複数のX座標補助電極は、隣接する一対のX座標電極と隣接する一対のY座標電極で囲まれる領域に形成され、前記複数のX座標補助電極は、前記Y座標補助電極の延在方向と同方向に延在され、長さが同じで線幅はそれぞれ異なって形成され、前記複数のX座標補助電極は、その並設方向に順次線幅が大きくなっており、三角形状をなす前記Y座標補助電極は、その幅広の部分において前記Y座標電極に接続されていることを特徴とする請求項1に記載の画面入力型画像表示システム。
- 前記タッチパネル制御回路は、各X座標補助電極および各Y座標補助電極にタッチされた場合のデジタルデータ値を保持する記憶回路を備え、タッチされたX座標電極およびY座標電極のデジタルデータ値と前記記憶回路に保持した値と比較することによって、タッチされたX座標補助電極およびY座標補助電極の座標を判定することを特徴とする請求項1及び請求項2に記載の画面入力型画像表示システム。
- タッチされた各X座標電極および各Y座標電極にてデジタルデータ値の差が生じ、該デジタルデータ値の差が各X座標電極および各Y座標電極の座標に応じたある係数により算出可能な場合、前記記憶回路に該係数を保持し、タッチされたX座標電極およびY座標電極の座標と、前記記憶回路に保持された係数と、前記記憶回路に保持された各X座標補助電極および各Y座標補助電極にタッチされた場合のデジタルデータ値にて、座標判定基準となるライン毎のX座標補助電極およびY座標補助電極のデジタルデータ値を算出し、タッチされたX座標電極およびY座標電極のデジタルデータ値と前記算出した判定基準となるライン毎のX座標補助電極およびY座標補助電極のデジタルデータ値と比較し、タッチされたX座標補助電極およびY座標補助電極の座標を判定することを特徴とする請求項3に記載の画面入力型画像表示システム。
- タッチされた各X座標電極および各Y座標電極にてデジタルデータ値の差が生じた場合、各X座標電極の各X座標補助電極および各Y座標電極の各Y座標補助電極ごとのタッチされた場合のデジタルデータ値を前記記憶回路に保持し、タッチされたX座標電極およびY座標電極のデジタルデータ値と前記記憶回路に保持された各X座標電極の各X座標補助電極および各Y座標電極の各Y座標補助電極ごとのデジタルデータ値と比較し、タッチされたX座標補助電極およびY座標補助電極の座標を判定することを特徴とする請求項3に記載の画面入力型画像表示システム。
- 前記複数のY座標補助電極は、前記Y座標電極に対し垂直方向に延在された同形の三角形状をなし、絶縁膜を介して配置される前記X座標補助電極と交差することなく交互に配列されており、前記複数のX座標補助電極、および前記複数のX座標補助電極は、隣接する一対のX座標電極と隣接する一対のY座標電極で囲まれる領域に形成され、前記複数のX座標補助電極は、前記Y座標補助電極の延在方向と同方向に延在され、長さが同じで線幅はそれぞれ異なって形成され、前記複数のX座標補助電極は、その並設方向に順次線幅が大きくなっており、三角形状をなす前記Y座標補助電極は、その幅広の部分において前記Y座標電極に接続されている電極形状を有する画面入力型画像表示システムにおいて、
前記タッチパネル制御回路は、前記アナログ−デジタル・コンバータより出力された複数のX座標電極のデジタルデータより、非接触時のデジタルデータ値と最も差のあるデジタルデータ値を示したX座標電極の座標を接触座標として判定し、前記アナログ−デジタル・コンバータより出力された複数のY座標電極のデジタルデータより、非接触時のデジタルデータ値と最も差のあるデジタルデータ値を示したY座標電極の座標を接触座標として判定し、該非接触時のデジタルデータ値と最も差のあるデジタルデータ値を示したX座標電極のデジタルデータ値のレベルに応じて、前記複数のX座標補助電極よりタッチされたX座標補助電極の座標を判定し、該非接触時のデジタルデータ値と最も差のあるデジタルデータ値を示したY座標電極のデジタルデータ値のレベルに応じて、前記複数のY座標補助電極よりタッチされたY座標補助電極の座標を判定し、接触位置の座標を出力することを特徴とする請求項1及び請求項2に記載の画面入力型画像表示システム。
Priority Applications (2)
| Application Number | Priority Date | Filing Date | Title |
|---|---|---|---|
| JP2008178800A JP4954154B2 (ja) | 2008-07-09 | 2008-07-09 | 画面入力型画像表示システム |
| US12/499,831 US8072436B2 (en) | 2008-07-09 | 2009-07-09 | Screen input-type image display system |
Applications Claiming Priority (1)
| Application Number | Priority Date | Filing Date | Title |
|---|---|---|---|
| JP2008178800A JP4954154B2 (ja) | 2008-07-09 | 2008-07-09 | 画面入力型画像表示システム |
Publications (2)
| Publication Number | Publication Date |
|---|---|
| JP2010020443A true JP2010020443A (ja) | 2010-01-28 |
| JP4954154B2 JP4954154B2 (ja) | 2012-06-13 |
Family
ID=41504726
Family Applications (1)
| Application Number | Title | Priority Date | Filing Date |
|---|---|---|---|
| JP2008178800A Active JP4954154B2 (ja) | 2008-07-09 | 2008-07-09 | 画面入力型画像表示システム |
Country Status (2)
| Country | Link |
|---|---|
| US (1) | US8072436B2 (ja) |
| JP (1) | JP4954154B2 (ja) |
Cited By (5)
| Publication number | Priority date | Publication date | Assignee | Title |
|---|---|---|---|---|
| JP2011044003A (ja) * | 2009-08-21 | 2011-03-03 | Smk Corp | 容量判別装置及び静電容量式タッチパネル |
| JP2012073783A (ja) * | 2010-09-28 | 2012-04-12 | Sony Corp | タッチ検出機能付き表示装置および電子機器 |
| KR20130014317A (ko) * | 2011-07-28 | 2013-02-07 | 티피케이 터치 솔루션즈 (씨아먼) 인코포레이티드 | 터치 패널 및 그의 작동 방법 |
| JP2013168125A (ja) * | 2012-02-14 | 2013-08-29 | Samsung Display Co Ltd | タッチパネル |
| JP2014098967A (ja) * | 2012-11-13 | 2014-05-29 | Tokai Rika Co Ltd | タッチ式入力装置 |
Families Citing this family (18)
| Publication number | Priority date | Publication date | Assignee | Title |
|---|---|---|---|---|
| JP2010165032A (ja) | 2009-01-13 | 2010-07-29 | Hitachi Displays Ltd | タッチパネルディスプレイ装置 |
| KR101577952B1 (ko) * | 2009-03-10 | 2015-12-17 | 삼성디스플레이 주식회사 | 터치 패널 장치 |
| US9916045B2 (en) | 2009-10-26 | 2018-03-13 | Amtel Corporation | Sense electrode design |
| TWI408580B (zh) * | 2009-10-30 | 2013-09-11 | Hannstar Display Corp | 投射電容式觸控感測器 |
| US8674709B2 (en) * | 2010-05-13 | 2014-03-18 | Silicon Works Co., Ltd. | Circuit and method for measuring capacitance value of touch screen |
| JP5757118B2 (ja) * | 2011-03-23 | 2015-07-29 | ソニー株式会社 | 情報処理装置、情報処理方法及びプログラム |
| JP5956989B2 (ja) * | 2011-06-08 | 2016-07-27 | シャープ株式会社 | 座標位置検出装置 |
| US9116581B2 (en) * | 2011-08-24 | 2015-08-25 | Cypress Semiconductor Corporation | Edge accuracy in a capacitive sense array |
| US8860690B2 (en) | 2011-12-15 | 2014-10-14 | Atmel Corporation | Touch sensor with capacitive nodes having a capacitance that is approximately the same |
| TWI461979B (zh) * | 2012-03-19 | 2014-11-21 | Mstar Semiconductor Inc | 應用於觸控螢幕的控制系統 |
| JP6131123B2 (ja) * | 2013-06-25 | 2017-05-17 | 株式会社ジャパンディスプレイ | タッチパネル付表示装置 |
| US9612677B2 (en) * | 2013-06-28 | 2017-04-04 | Atmel Corporation | Pseudo driven shield |
| CN104951128B (zh) * | 2014-03-31 | 2019-10-18 | Lg伊诺特有限公司 | 具有用于感测图案的交叉结构的触摸面板 |
| US20170172243A1 (en) * | 2014-04-03 | 2017-06-22 | The Uab Research Foundation | Protective helmets for disaster situations |
| CN105320313B (zh) * | 2014-05-28 | 2020-07-21 | 群创光电股份有限公司 | 触控面板 |
| CN104765489B (zh) * | 2015-03-19 | 2018-05-01 | 业成光电(深圳)有限公司 | 触控显示装置及触控显示装置的控制系统 |
| JP6526584B2 (ja) * | 2016-02-19 | 2019-06-05 | 株式会社ジャパンディスプレイ | タッチ検出装置、タッチ検出機能付き表示装置及び制御方法 |
| US11868572B2 (en) * | 2021-12-14 | 2024-01-09 | Wuhan China Star Optoelectronics Semiconductor Display Technology Co., Ltd. | Touch panel and touch device |
Citations (2)
| Publication number | Priority date | Publication date | Assignee | Title |
|---|---|---|---|---|
| JPH1115591A (ja) * | 1997-06-20 | 1999-01-22 | Japan Aviation Electron Ind Ltd | 静電結合型タブレット装置 |
| JP2009122969A (ja) * | 2007-11-15 | 2009-06-04 | Hitachi Displays Ltd | 画面入力型画像表示装置 |
Family Cites Families (9)
| Publication number | Priority date | Publication date | Assignee | Title |
|---|---|---|---|---|
| US6288707B1 (en) * | 1996-07-29 | 2001-09-11 | Harald Philipp | Capacitive position sensor |
| US7663607B2 (en) * | 2004-05-06 | 2010-02-16 | Apple Inc. | Multipoint touchscreen |
| US20060250376A1 (en) * | 2005-05-03 | 2006-11-09 | Alps Electric Co., Ltd. | Display device |
| GB2428306B (en) * | 2005-07-08 | 2007-09-26 | Harald Philipp | Two-dimensional capacitive position sensor |
| US7864160B2 (en) * | 2005-10-05 | 2011-01-04 | 3M Innovative Properties Company | Interleaved electrodes for touch sensing |
| JP4720568B2 (ja) | 2006-03-24 | 2011-07-13 | ソニー株式会社 | ユーザ入力装置及びユーザ入力方法 |
| JP4967780B2 (ja) * | 2007-04-20 | 2012-07-04 | セイコーエプソン株式会社 | 座標入力装置及び表示装置 |
| DE112008001245T5 (de) * | 2007-05-07 | 2010-03-04 | Atmel Corp., San Jose | Zweidimensionaler Positionssensor |
| JP4932667B2 (ja) * | 2007-10-17 | 2012-05-16 | 株式会社 日立ディスプレイズ | 画面入力型画像表示システム |
-
2008
- 2008-07-09 JP JP2008178800A patent/JP4954154B2/ja active Active
-
2009
- 2009-07-09 US US12/499,831 patent/US8072436B2/en active Active
Patent Citations (2)
| Publication number | Priority date | Publication date | Assignee | Title |
|---|---|---|---|---|
| JPH1115591A (ja) * | 1997-06-20 | 1999-01-22 | Japan Aviation Electron Ind Ltd | 静電結合型タブレット装置 |
| JP2009122969A (ja) * | 2007-11-15 | 2009-06-04 | Hitachi Displays Ltd | 画面入力型画像表示装置 |
Cited By (10)
| Publication number | Priority date | Publication date | Assignee | Title |
|---|---|---|---|---|
| JP2011044003A (ja) * | 2009-08-21 | 2011-03-03 | Smk Corp | 容量判別装置及び静電容量式タッチパネル |
| JP2012073783A (ja) * | 2010-09-28 | 2012-04-12 | Sony Corp | タッチ検出機能付き表示装置および電子機器 |
| US9019231B2 (en) | 2010-09-28 | 2015-04-28 | Japan Display Inc. | Display device with touch detection function and electronic unit |
| US9507479B2 (en) | 2010-09-28 | 2016-11-29 | Japan Display Inc. | Display device with touch detection function and electronic unit |
| KR20130014317A (ko) * | 2011-07-28 | 2013-02-07 | 티피케이 터치 솔루션즈 (씨아먼) 인코포레이티드 | 터치 패널 및 그의 작동 방법 |
| KR101579891B1 (ko) * | 2011-07-28 | 2015-12-23 | 티피케이 터치 솔루션즈 (씨아먼) 인코포레이티드 | 터치 패널 및 그의 작동 방법 |
| US9495043B2 (en) | 2011-07-28 | 2016-11-15 | Tpk Touch Solutions (Xiamen) Inc. | Touch panel and operation method thereof |
| JP2013168125A (ja) * | 2012-02-14 | 2013-08-29 | Samsung Display Co Ltd | タッチパネル |
| KR101859515B1 (ko) * | 2012-02-14 | 2018-05-21 | 삼성디스플레이 주식회사 | 터치 패널 |
| JP2014098967A (ja) * | 2012-11-13 | 2014-05-29 | Tokai Rika Co Ltd | タッチ式入力装置 |
Also Published As
| Publication number | Publication date |
|---|---|
| US20100007628A1 (en) | 2010-01-14 |
| JP4954154B2 (ja) | 2012-06-13 |
| US8072436B2 (en) | 2011-12-06 |
Similar Documents
| Publication | Publication Date | Title |
|---|---|---|
| JP4954154B2 (ja) | 画面入力型画像表示システム | |
| JP4932667B2 (ja) | 画面入力型画像表示システム | |
| TWI614647B (zh) | 力感測x-y觸控感測器 | |
| CN113383299B (zh) | 触摸传感器及包括其的触摸输入装置 | |
| TWI465972B (zh) | A coordinate input device and a display device provided with the same | |
| JP5193942B2 (ja) | 静電容量型タッチパネル装置 | |
| JP5717764B2 (ja) | 5線抵抗性タッチスクリーンの圧力測定回路および方法 | |
| US20140015796A1 (en) | Capacitive Sensor with Reduced Noise | |
| JP2022172340A5 (ja) | ||
| US9612704B2 (en) | Apparatus and method for sensing touch | |
| CN101452360A (zh) | 电容式触控屏幕用的感测装置 | |
| JP5832772B2 (ja) | タッチパネル、タッチパネルシステム、および電子機器 | |
| US20150212620A1 (en) | Touch Panel And Touch Screen Having The Same | |
| KR20240140094A (ko) | 폴리비닐리덴 플루오라이드 압전 필름을 사용한 터치 감지 | |
| JP6104370B2 (ja) | 容量センサー配列および容量センサー配列を備えるタッチセンサー式スクリーン | |
| KR101746845B1 (ko) | 터치 입력장치 및 터치위치 검출방법 | |
| KR101585918B1 (ko) | 터치 검출 장치 | |
| KR20170025109A (ko) | 플렉서블 터치 스크린을 포함하는 터치 검출 장치 |
Legal Events
| Date | Code | Title | Description |
|---|---|---|---|
| A621 | Written request for application examination |
Free format text: JAPANESE INTERMEDIATE CODE: A621 Effective date: 20110202 |
|
| A711 | Notification of change in applicant |
Free format text: JAPANESE INTERMEDIATE CODE: A712 Effective date: 20110218 |
|
| RD03 | Notification of appointment of power of attorney |
Free format text: JAPANESE INTERMEDIATE CODE: A7423 Effective date: 20110218 |
|
| A977 | Report on retrieval |
Free format text: JAPANESE INTERMEDIATE CODE: A971007 Effective date: 20111215 |
|
| A131 | Notification of reasons for refusal |
Free format text: JAPANESE INTERMEDIATE CODE: A131 Effective date: 20111220 |
|
| A521 | Request for written amendment filed |
Free format text: JAPANESE INTERMEDIATE CODE: A523 Effective date: 20120130 |
|
| TRDD | Decision of grant or rejection written | ||
| A01 | Written decision to grant a patent or to grant a registration (utility model) |
Free format text: JAPANESE INTERMEDIATE CODE: A01 Effective date: 20120214 |
|
| A01 | Written decision to grant a patent or to grant a registration (utility model) |
Free format text: JAPANESE INTERMEDIATE CODE: A01 |
|
| A61 | First payment of annual fees (during grant procedure) |
Free format text: JAPANESE INTERMEDIATE CODE: A61 Effective date: 20120313 |
|
| R150 | Certificate of patent or registration of utility model |
Ref document number: 4954154 Country of ref document: JP Free format text: JAPANESE INTERMEDIATE CODE: R150 Free format text: JAPANESE INTERMEDIATE CODE: R150 |
|
| FPAY | Renewal fee payment (event date is renewal date of database) |
Free format text: PAYMENT UNTIL: 20150323 Year of fee payment: 3 |
|
| R250 | Receipt of annual fees |
Free format text: JAPANESE INTERMEDIATE CODE: R250 |
|
| R250 | Receipt of annual fees |
Free format text: JAPANESE INTERMEDIATE CODE: R250 |
|
| R250 | Receipt of annual fees |
Free format text: JAPANESE INTERMEDIATE CODE: R250 |
|
| R250 | Receipt of annual fees |
Free format text: JAPANESE INTERMEDIATE CODE: R250 |
|
| R250 | Receipt of annual fees |
Free format text: JAPANESE INTERMEDIATE CODE: R250 |
|
| R250 | Receipt of annual fees |
Free format text: JAPANESE INTERMEDIATE CODE: R250 |
|
| R250 | Receipt of annual fees |
Free format text: JAPANESE INTERMEDIATE CODE: R250 |
|
| S531 | Written request for registration of change of domicile |
Free format text: JAPANESE INTERMEDIATE CODE: R313531 |
|
| S533 | Written request for registration of change of name |
Free format text: JAPANESE INTERMEDIATE CODE: R313533 |
|
| R350 | Written notification of registration of transfer |
Free format text: JAPANESE INTERMEDIATE CODE: R350 |
|
| R250 | Receipt of annual fees |
Free format text: JAPANESE INTERMEDIATE CODE: R250 |
|
| R250 | Receipt of annual fees |
Free format text: JAPANESE INTERMEDIATE CODE: R250 |
|
| S111 | Request for change of ownership or part of ownership |
Free format text: JAPANESE INTERMEDIATE CODE: R313117 |
|
| R350 | Written notification of registration of transfer |
Free format text: JAPANESE INTERMEDIATE CODE: R350 |
|
| R250 | Receipt of annual fees |
Free format text: JAPANESE INTERMEDIATE CODE: R250 |
|
| S111 | Request for change of ownership or part of ownership |
Free format text: JAPANESE INTERMEDIATE CODE: R313113 |
|
| R350 | Written notification of registration of transfer |
Free format text: JAPANESE INTERMEDIATE CODE: R350 |
|
| R250 | Receipt of annual fees |
Free format text: JAPANESE INTERMEDIATE CODE: R250 |
