JP2010019904A - 画像形成装置 - Google Patents

画像形成装置 Download PDF

Info

Publication number
JP2010019904A
JP2010019904A JP2008177953A JP2008177953A JP2010019904A JP 2010019904 A JP2010019904 A JP 2010019904A JP 2008177953 A JP2008177953 A JP 2008177953A JP 2008177953 A JP2008177953 A JP 2008177953A JP 2010019904 A JP2010019904 A JP 2010019904A
Authority
JP
Japan
Prior art keywords
protective cover
opening
main body
closing
image forming
Prior art date
Legal status (The legal status is an assumption and is not a legal conclusion. Google has not performed a legal analysis and makes no representation as to the accuracy of the status listed.)
Granted
Application number
JP2008177953A
Other languages
English (en)
Other versions
JP5288914B2 (ja
Inventor
Atsushi Kawarago
淳 川原子
Current Assignee (The listed assignees may be inaccurate. Google has not performed a legal analysis and makes no representation or warranty as to the accuracy of the list.)
Canon Inc
Original Assignee
Canon Inc
Priority date (The priority date is an assumption and is not a legal conclusion. Google has not performed a legal analysis and makes no representation as to the accuracy of the date listed.)
Filing date
Publication date
Application filed by Canon Inc filed Critical Canon Inc
Priority to JP2008177953A priority Critical patent/JP5288914B2/ja
Publication of JP2010019904A publication Critical patent/JP2010019904A/ja
Application granted granted Critical
Publication of JP5288914B2 publication Critical patent/JP5288914B2/ja
Expired - Fee Related legal-status Critical Current
Anticipated expiration legal-status Critical

Links

Images

Landscapes

  • Electrophotography Configuration And Component (AREA)

Abstract

【課題】ユーザが誤って回転部の保護カバーを開けてしまうことを防止して安全性を高めた画像形成装置を安価に提案する。
【解決手段】上ユニット3の開閉軸4に対して反開閉端側に位置する反開閉側端部3aとプリンタ本体2間に、閉操作時の上ユニット3の反開閉側端部3aとプリンタ本体2間の干渉を防ぐ隙間を形成する逃げ部9と、上ユニット3の逃げ部9を覆う保護カバー7と、を備え、保護カバー7は、上ユニット3の開閉操作に連動し、上ユニット3が閉状態では逃げ部9を覆う位置に位置し、かつ、上ユニット3の開操作によって反開閉側端部3aが逃げ部9の隙間を狭める方向に移動すると、その反開閉側端部3aの回転を妨げない位置に退避する構成となっている画像形成装置であって、保護カバー7が前記逃げ部9の隙間を露出させる方向に移動しないように、前記保護カバー7の移動軌跡を規制する規制手段としてのストッパ7bを設けた。
【選択図】図2

Description

本発明は、複写機・プリンタ、ファクシミリ等の画像形成装置に関し、詳しくは装置筺体の技術に関する。
従来、複写機・プリンタ等の画像形成装置には、装置本体の上部に回転開閉体としての開閉ユニットが回転自在に取り付けられており、メンテナンス時などに回転させて開閉ユニットを開く構成のものがあった。
たとえば、特許文献1には、装置本体としての下筺体と、回転開閉体としての上筺体とを有する事務機器が提案されている。すなわち、下筺体と、下筺体に回転可能に設けられ回転操作によって開閉される構成の回転開閉体としての上筺体と、を備えている。上筺体の回転中心に対して反開閉端側に位置する上筺体の反開閉側端部と下筺体間には、閉操作時における上筺体の反開閉側端部と下筺体間の干渉を防ぐ逃げ部が設けられている。
この逃げ部に指が入った状態で上筺体を開くと、上筺体の反開閉側端部と下筺体との間で指が挟まれてしまうので、従来から逃げ部の隙間を覆う保護カバーを設け、逃げ部に指が入る事を防止していた。
しかし、保護カバーは逃げ部を避けて外側に出っ張る構成となってしまう。そこで、特許文献1では、保護カバーが外側に出っ張らないように、保護カバーを逃げ部内に配置し、上筺体を開いた際に、開閉操作に連動し、保護カバーを上筺体の反開閉側端部の回転を妨げない位置に退避させるようになっていた。
特開平06−336072号公報
しかしながら、上記した従来の画像形成装置では、保護カバーによって逃げ部の隙間が覆われているものの、保護カバーが退避移動可能となっているために、ユーザが誤って保護カバーを移動させて逃げ部を開いてしまうおそれがあった。そのため、依然として指を挟む恐れがあり、より一層の安全対策が要請されている。
本発明は、上記した従来技術の問題を解決するためになされたもので、その目的は、ユーザが誤って保護カバーを移動させようとしても移動できないようにして、より安全性の高い画像形成装置を提供することにある。
上記目的を達成するために、本願発明は、装置本体と、該装置本体に回転自在に支持され、回転操作によって開閉される回転開閉体と、該回転開閉体の回転中心に対して反開閉端側に位置する反開閉側端部と装置本体間に設けられ、閉操作時の回転開閉体の反開閉側端部と装置本体間の干渉を防ぐ逃げ部と、該逃げ部を覆う保護カバーと、を有し、該保護カバーの一端は、前記装置本体と回転開閉体の内のいずれか一方に回転自在に支持され、保護カバーの他端は、前記装置本体と回転開閉体の内の他方側に延びて逃げ部を覆う構成で、回転開閉体の開操作時には、前記保護カバーが回動して前記保護カバーの他端である自由端が前記装置本体と回転開閉体のうちの他方の外面側に退避する構成の画像形成装置において、前記保護カバーの移動軌跡を規制する規制手段を設けたことを特徴とする。
以上説明したように、本発明によれば、保護カバーの移動軌跡を規制する規制部材を設
けたので、ユーザが誤って保護カバーを開けようとしても保護カバーが必要以上に回転しなくなり、逃げ部が露出して指が挟まれるおそれがない。したがって、より一層の安全性向上を図ることができる。
以下に本発明を図示の実施例に基づいて詳細に説明する。
図1は、本発明の実施例1に係る画像形成装置としてのプリンタの概略斜視図である。このプリンタ1は、装置本体を構成するプリンタ本体2と、プリンタ本体2に開閉軸4を介して回転自在に支持され回転操作によって開閉される回転開閉体としての上ユニット3とから構成される。上ユニット3は通常は閉じられ、作業者がメンテナンスなどを行う時に開かれる。
上ユニット3の回転中心たる開閉軸4は、プリンタ本体2の一端から上方に突出する支持部5に設けられ、上ユニット3は、開閉軸4を中心に矢印A方向に開かれる。
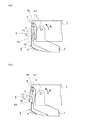
図2及び図3は、図1の開閉軸近傍の支持構造が示されている。
この上ユニット3の回転中心である開閉軸4に対して反開閉端側に位置する反開閉側端部3aと装置本体間としてのプリンタ本体2間には、開操作時の上ユニット3の反開閉側端部3aとプリンタ本体2間の干渉を防ぐ逃げ部9が設けられている。そして、この逃げ部9を覆う保護カバー7が設けられ、指が逃げ部9に挟まれることを防止している。
逃げ部9は、上ユニット3が閉じた状態では隙間が開き、上ユニット3を開くと、反対に反開閉側端部3aが逃げ部9の隙間を閉じる方向に移動する。そして、この逃げ部9を覆う保護カバー7が設けられている。
保護カバー7の一端は上ユニット3に回転自在に支持され、保護カバー7の他端である自由端が上ユニット3に対して他方側の装置本体側となるプリンタ本体2側に延びて逃げ部9を覆う構成となっている。保護カバー7の一端は、上ユニット3の回転中心である開閉軸4と略平行に、上ユニット3に設けられた別の回転中心である回転軸8を中心として回転する構成となっている。この例では、上ユニット3の反開閉側端部3a付近に設けられている。
上ユニット3の開操作時には、保護カバー7が回動し、保護カバー7の自由端が上ユニット3に対して他方側のプリンタ本体2の外面、図示例では、保護カバー7に隣接する本体カバー6の外面側に退避する構成となっている。
保護カバー7には、保護カバー7の移動軌跡を規制する規制手段としてのストッパ7bが設けられている。ストッパ7bは、保護カバー7の内側に連結され、プリンタ本体2と上ユニット3のうちの保護カバー7の自由端が退避する側、この例ではプリンタ本体2の本体カバー6の内側に係合して保護カバー7の移動軌跡を規制する構成となっている。
保護カバー7は、図示例では、閉状態での逃げ部9に嵌まり込むカバー本体7cと、カバー本体7cを支持する支持アーム7dとを有し、上記ストッパ7bは支持アーム7dからカバー本体7cと分岐している。カバー本体7cとストッパ7bは、所定の隙間を介して対向配置されている。この例では保護カバー7のカバー本体7cの付け根部にて保護カバー7と連結され、プリンタ本体2側に向かって下方に延びている。
保護カバー7の自由端、すなわちカバー本体7cの自由端には、その内側に上ユニット3の開操作時に、プリンタ本体2が当接する退避案内部7aが設けられている。この退避案内部7aは、逃げ部9から保護カバー7の自由端を外側に押し出す方向に案内するもので、先端に向かって薄肉となる方向に傾斜する傾斜面となっている。
退避案内部7aに当接するのは、プリンタ本体側の本体カバー6の逃げ部9に面する逃げ部側端部6aである。この逃げ部側端部6aに保護カバー7の退避案内部7aが当接し、退避案内部7aに沿って保護カバー7の自由端が本体カバー6の外面側に逃がされるようになっている。この逃げ部側端部6aは内側に屈曲している。
次に、上ユニット3が閉じた状態から開いた状態までの各部材の動作を説明する。
図2(a)は、図1のプリンタ1における上ユニット3が閉じた状態を示す概略断面図である。
すなわち、保護カバー7のカバー本体7cが逃げ部9に嵌まり込み、上ユニット3の反開閉側端部3aとプリンタ本体2の本体カバー6の外面と面一の状態となっている。カバー本体7cの自由端は、本体カバー6の逃げ部側端部6aに突き当てられている。
図2(b)は、図1のプリンタ1における上ユニット3が閉じた状態で、保護カバー7が開かれた状態を示す概略断面図である。
このように、上ユニット3が閉じられた状態で、保護カバー7を開こうとした場合、ストッパ7bが上ユニット3の開閉に必要な回転角度以上回転するのを防ぐ。保護カバー7は、ストッパ7bが本体カバー6の逃げ部側端部6aに当接することによって、それ以上回転することはない。
すなわち、ストッパ7bは、保護カバー7が回動することによって生じるプリンタ本体2の本体カバー6の外面との間の隙間を、作業者の指が入り込まない隙間に維持する。
次に、図3(a)は、図1のプリンタ1における上ユニット3が開いた状態を示す概略断面図、図3(b)は、図1のプリンタ1における上ユニット3が開いた状態で、保護カバー7が開かれた状態を示す概略断面図である。
図3(a)のように、上ユニット3が開かれた状態では、上ユニット3の開操作によって上ユニット3の反開閉側端部3aが下方に移動する。保護カバー7下端の自由端が本体カバー6の退避案内部7aの傾斜面に沿って、プリンタ本体2の本体カバー6より外側に逃がされ、本体カバー6の外面に沿って下方に移動する。
一方、ストッパ7bの自由端部は本体カバー6の内面に沿って下方に移動し、本体カバー6の逃げ部側端部6aがストッパ7bの付け根部に突き当たって上ユニット3の開き操作が規制される。
そして、この開状態から、保護カバー7を開こうとしても、図3(b)に示すように、ストッパ7bは、本体カバー6の内面に当接し、それ以上開くことはない。
すなわち、ストッパ7bは、保護カバー7が回動することによって生じるプリンタ本体2の本体カバー6の外面との間の隙間を、作業者の指が入り込まない隙間に維持する。
よって、上ユニット3が閉じられた状態、開かれた状態、あるいはその中間状態において、ユーザが誤って保護カバー7を開けようとしても、保護カバー7は、ストッパ7bが本体カバー6の逃げ部側端部6aあるいは内面に突き当たり、それ以上開くことはない。このため、ユーザが誤って保護カバー7を開けてしまうことによる怪我を防止することができる。
また、本実施例1の構成では、保護カバー7にストッパ7bを設け、本体カバー6に逃げ部側端部6aを設けるのみでよく、安価に構成することが出来る。
したがって、安価な構成によって、保護カバー7が必要以上に回転しなくなり、保護カバー7との隙間に作業者の指が入り込まないようにできる。そのため、ユーザが誤って上ユニット3の保護カバー7を開けてしまい、保護カバー7の隙間から指を入れてしまうこ
とによる怪我を防止することができる。
尚、本実施例1においては、ストッパ7bは、保護カバー7に一体に設けられているが、別体、または複数部材での構成であっても、本実施例における効果及び利点が同様に得られることは言うまでもない。
次に、本発明の実施例2について説明する。
図4及び図5は、本発明の実施例2に係る画像形成装置の上ユニットが閉じた状態から、開いた状態までを示している。
図4は、プリンタおける上ユニットが閉じた状態の回転支持部の概略断面図、図5(a)は、上ユニットが開いた状態の回転支持部の概略断面図、図5(b)は、上ユニットが開いた状態で、かつ保護カバーが開かれた状態を示す概略断面図である。
この実施例も、実施例1と同様の画像形成装置としてのプリンタに適用されるものである。すなわち、装置本体としてのプリンタ本体102と、プリンタ本体102に回転自在に支持され回転操作によって開閉される回転開閉体としての上ユニット103とから構成される。上ユニット103の回転中心たる開閉軸104は、プリンタ本体102に設けられ、上ユニット103は、開閉軸104を中心に矢印B方向に開かれる。開閉軸104は、プリンタ本体102から上方に突出する支持部105に取り付けられている。
上ユニット103の反開閉端側に位置する反開閉側端部103aとプリンタ本体102間には、上ユニット103の反開閉側端部103aとプリンタ本体102間の干渉を防ぐ逃げ部110が設けられている。さらに、この逃げ部110を覆う保護カバー107が設けられている。
保護カバー107の一端はプリンタ本体102に回転自在に支持され、保護カバー107の他端である自由端が上ユニット103側に延びて逃げ部110を覆っている。上ユニット103の開操作時には、保護カバー107が回動し、保護カバー107の自由端が上ユニット103の外面側に退避する構成となっている。
この例では、保護カバー107は上下方向に延び、その一端である下端が上ユニット103の開閉軸104と略平行にプリンタ本体102に設けられた回転中心としての回転軸108を中心として回転自在に取り付けられている。
一方、保護カバー107の移動軌跡を規制する規制手段としての規制機構111が設けられている。
この規制機構111は、保護カバー107に沿って直線的に延びるガイド部としてのガイド孔107bと、一端109aが上ユニット103に回転可能に支持され、他端が保護カバー107のガイド孔107bに係合するストッパ109とによって構成される。ストッパ109の他端はガイド孔107bに対して摺動自在でかつ回転自在に支持され、スライドリンク機構を構成している。また、上ユニット103の反開閉側端部103aには、ストッパ109の回転を所定の範囲に規制する突起104aが設けられている。
この実施例でも、保護カバー107は、閉状態での逃げ部110に嵌まり込むカバー本体107cと、カバー本体107cを支持する支持アーム107dとを有し、上記ガイド孔107bはカバー本体107cの側縁に沿って設けられている。
カバー本体107cは、支持アーム107dを介して回転中心である回転軸108に回転自在に支持されており、この支持アーム107dは、U字形状に屈曲する構成となっている。
保護カバー107のカバー本体107cの自由端の内側面には、反開閉側端部103aが当接してカバー本体107cの自由端を反開閉側端部103aの外面に案内する退避案
内部107aが設けられている。この退避案内部107aは、逃げ部110から保護カバー107の自由端を外側に押し出す方向に案内するもので、先端に向かって薄肉となる方向に傾斜する傾斜面となっている。
退避案内部107aに当接するのは、上ユニット103の反開閉側端部103aの逃げ部110に面する角部103bである。この角部103bに保護カバー7の退避案内部107aが当接し、退避案内部107aに沿って保護カバー107の自由端が反開閉側端部103aの外面側に逃がされるようになっている。
次に、上記プリンタの上ユニット103の開閉操作について説明する。
図4に示すように、上ユニット103が閉じられた状態では、保護カバー107のカバー本体107cは垂直に保持され、逃げ部110内に嵌り込んだ状態となっている。カバー本体107cの自由端である上端は、上ユニット103の反開閉側端部103aの角部103bに近接あるいは当接している。また、カバー本体107cの下端は、プリンタ本体102の本体カバー106の逃げ部側端部106aと近接あるいは当接している。
一方、ストッパ109もカバー本体107cと同様ほぼ垂直に保持され、自由端109b(下方端)は、カバー本体107cのガイド孔107bの上端に係合している。この状態で、保護カバー107を開こうとしても、カバー本体107cの自由端と上ユニット103の反開閉側端部103aとの間の隙間が小さく、指が掛からない。仮に、指が掛かったとしても、ストッパ109がカバー本体107cとほぼ垂直に直線的に延びており、回転させることができない。
次に、図5(a)に示すように、上ユニット103を開方向に回転させると、反開閉側端部103aが、プリンタ本体102側の本体カバー106の逃げ部側端部106aに向かって移動する。
この移動によって、保護カバー107の自由端部に設けられた退避案内部107aに反開閉側端部103aの角部103bが突き当たり、保護カバー107の自由端部は反開閉側端部103aの外面に沿って移動する。
同時に、ストッパ109のスライド端部109bが、カバー本体107cのガイド孔107bに沿って下方にスライドし、カバー本体107の回転方向とは反対方向に移動する。
上ユニット103が完全に開くと、支持アーム107dの屈曲部107eが、プリンタ本体102の本体カバー106の逃げ部側端部106aに突き当たり、上ユニット103の開き角度が規制される。
この状態で保護カバー107を回転させようとしても、図5(b)に示すように、ストッパ109の回転が、上ユニット103に設けられた突起104aによって規制される。さらに、ストッパ109の他端が、ガイド孔107bに当接し、保護カバー107が、上ユニット103の開閉に必要な回転角度以上に開くことはない。すなわち、保護カバー107が回動することによって生じる上ユニット103の反開閉側端部103a外面との間の隙間は、作業者の指が入り込まない隙間に維持している。
よって、上ユニット103が閉じられた状態、または閉じられた状態で、ユーザが誤って保護カバー107を開けようとしても、保護カバー107は、ストッパ109がガイド孔107bに当接することによってそれ以上開くことはない。
このため、ユーザが誤って保護カバー107を開けてしまうことによる怪我を防止することができる。また、本実施例は、保護カバー107にガイド孔107bを設け、回転側にストッパ109を設けるのみでよく、安価に構成することが出来る。
尚、本実施形態においては、保護カバー107にガイド孔107bを設け、回転部側に回転範囲を規制したストッパ109を設けた構成であるが、保護カバー107の他端の軌跡を別の手段で規制してもよい。このようにしても、本実施例2における効果及び利点が同様に得られることは言うまでもない。
また、実施例1に記載のような保護カバー7及びストッパ7bの構成を上下逆にして、保護カバー7の一端をプリンタ本体2に回転自在に支持し、保護カバー7の自由端が回転開閉体側となる上ユニット3側に延びて逃げ部9を覆う構成としてもよい。その場合には、上ユニット3の開操作時に、保護カバー7が回動して保護カバー7の自由端が上ユニット3の外面側に退避する。また、ストッパ7bが上ユニット3の反開閉側端部の外面カバー(不図示)に係合するように構成される。
また、実施例2に記載のような保護カバー107及びストッパ109の構成を上下逆にして、保護カバー107の一端を上ユニット103に回転自在に支持する構成としてもよい。保護カバー107の他端である自由端はプリンタ本体102側に延びて逃げ部110を覆う。そして、上ユニット103の開操作時には、保護カバー107の自由端がプリンタ本体102の外面側に退避する構成となる。また、ストッパは、一端がプリンタ本体102に回転可能に支持され、他端が保護カバー107に沿ったガイド孔107bに摺動自在でかつ回転自在に支持するように構成される。
なお、本発明はプリンタを例にとって説明したが、プリンタに限定されるものではなく、コピー、複写機、ファクシミリ、印刷機等、装置本体に対して回転して開閉する回転開閉体を備えた筺体構造を有する種々の画像形成装置に適用可能である。また、本発明は、上記実施例に限定されるものではなく、本発明の趣旨を逸脱しない範囲で、種々の形態をとることができることはもちろんである。
本発明の実施例1に係るプリンタの全体構成を示す概略斜視図である。 (a)は、同プリンタの上ユニットが閉じた状態を示す概略断面図、(b)は、同プリンタにおける上ユニットが閉じた状態で保護カバーが開かれた状態を示す概略断面図である。 (a)は、同プリンタの上ユニットが開いた状態を示す概略断面図、(b)は、同プリンタにおける上ユニットが開いた状態で保護カバーが開かれた状態を示す概略断面図である。 本発明の実施例2に係るプリンタの上ユニットが閉じた状態を示す概略断面図である。 (a)は同プリンタの上ユニットが開いた状態を示す概略断面図、(b)は同プリンタにおける上ユニットが開いた状態で保護カバーが開かれた状態を示す概略断面図である。
符号の説明
1・・・・・・・・・プリンタ
2・・・・・・・・・プリンタ本体(装置本体)
3・・・・・・・・・上ユニット(回転開閉体)
3a・・・・・・・反開閉側端部
4・・・・・・・・・開閉軸(回転中心)
5・・・・・・・・・支持部
6・・・・・・・・・カバー本体
6a・・・・・・・逃げ部側端部
7・・・・・・・・・保護カバー
7a・・・・・・・退避案内部
7b・・・・・・・ストッパ
7c・・・・・・・カバー本体
7d・・・・・・・支持アーム
8・・・・・・・・・回転軸(回転中心)
9・・・・・・・・・逃げ部
102・・・・・・・プリンタ本体(装置本体)
103・・・・・・・上ユニット(回転開閉体)
103a・・・・・・反開閉側端部
103b・・・・・・角部
104・・・・・・・開閉軸(回転中心)
104a・・・・・・突起
105・・・・・・・支持部材
106・・・・・・・本体カバー
106a・・・・・・逃げ部側端部
107・・・・・・・保護カバー
107a・・・・・・退避案内部
107b・・・・・・ガイド孔
107c・・・・・・カバー本体
107d・・・・・・支持アーム
107e・・・・・・屈曲部
108・・・・・・・回転軸(回転中心)
109・・・・・・・ストッパ
109b・・・・・自由端
110・・・・・・・逃げ部
111・・・・・・・規制機構(規制手段)

Claims (7)

  1. 装置本体と、
    該装置本体に回転自在に支持され、回転操作によって開閉される回転開閉体と、
    該回転開閉体の回転中心に対して反開閉端側に位置する反開閉側端部と装置本体間に設けられ、開操作時の回転開閉体の反開閉側端部と装置本体間の干渉を防ぐ逃げ部と、
    該逃げ部を覆う保護カバーと、を有し、
    該保護カバーの一端は、前記装置本体と回転開閉体の内のいずれか一方に回転自在に支持され、保護カバーの他端は、前記装置本体と回転開閉体の内の他方側に延びて逃げ部を覆う構成で、回転開閉体の開操作時には、前記保護カバーが回動して前記保護カバーの他端である自由端が前記装置本体と回転開閉体のうちの他方の外面側に退避する構成の画像形成装置において、
    前記保護カバーの移動軌跡を規制する規制手段を設けたことを特徴とする画像形成装置。
  2. 規制手段は、保護カバーの内側に連結されるストッパによって構成され、該ストッパは、装置本体と回転開閉体のうちの保護カバーの自由端が退避する側の外面カバーの内側に係合して保護カバーの移動軌跡を規制する構成となっている請求項1に記載の画像形成装置。
  3. 規制手段は、一端が装置本体と回転開閉体のいずれか一方に回転可能に支持され、他端が保護カバーに沿ったガイド部に摺動自在でかつ回転自在に支持されるストッパによって構成される請求項1に記載の画像形成装置。
  4. 保護カバーの一端は装置本体に回転自在に支持され、保護カバーの他端である自由端が回転開閉体側に延びて逃げ部を覆う構成で、回転開閉体の開操作時には、前記保護カバーが回動して保護カバーの自由端が前記回転開閉体の外面側に退避する構成となっている請求項1乃至3のいずれかの項に記載の画像形成装置。
  5. 保護カバーの一端は回転開閉体に回転自在に支持され、保護カバーの他端である自由端が装置本体側に延びて逃げ部を覆う構成で、回転開閉体の開操作時には、前記保護カバーが回動して保護カバーの自由端が前記装置本体の外面側に退避する構成となっている請求項1乃至3のいずれかの項に記載の画像形成装置。
  6. 規制手段は、保護カバーが回動することによって生じる装置本体と回転開閉体の内の一方の外面との間の隙間を、作業者の指が入り込まない隙間に維持する構成となっている請求項1乃至5のいずれかの項に記載の画像形成装置。
  7. 保護カバーの自由端には、回転開閉体の開操作時に、装置本体と回転開閉体の内の一方が保護カバーの自由端に当接し、逃げ部から保護カバーの自由端を外側に押し出す方向に案内するための退避案内部が設けられている請求項1乃至6のいずれかの項に記載の画像形成装置。
JP2008177953A 2008-07-08 2008-07-08 画像形成装置 Expired - Fee Related JP5288914B2 (ja)

Priority Applications (1)

Application Number Priority Date Filing Date Title
JP2008177953A JP5288914B2 (ja) 2008-07-08 2008-07-08 画像形成装置

Applications Claiming Priority (1)

Application Number Priority Date Filing Date Title
JP2008177953A JP5288914B2 (ja) 2008-07-08 2008-07-08 画像形成装置

Publications (2)

Publication Number Publication Date
JP2010019904A true JP2010019904A (ja) 2010-01-28
JP5288914B2 JP5288914B2 (ja) 2013-09-11

Family

ID=41704905

Family Applications (1)

Application Number Title Priority Date Filing Date
JP2008177953A Expired - Fee Related JP5288914B2 (ja) 2008-07-08 2008-07-08 画像形成装置

Country Status (1)

Country Link
JP (1) JP5288914B2 (ja)

Cited By (3)

* Cited by examiner, † Cited by third party
Publication number Priority date Publication date Assignee Title
JP2011252959A (ja) * 2010-05-31 2011-12-15 Canon Inc 画像形成装置
JP2013200166A (ja) * 2012-03-23 2013-10-03 Anritsu Sanki System Co Ltd X線検査装置
JP2023533288A (ja) * 2020-07-09 2023-08-02 コヴィディエン リミテッド パートナーシップ 外科デバイスのための電動ハンドル組立体

Citations (6)

* Cited by examiner, † Cited by third party
Publication number Priority date Publication date Assignee Title
JPS63253370A (ja) * 1987-04-09 1988-10-20 Ricoh Co Ltd 事務機
JPH01288609A (ja) * 1987-08-14 1989-11-20 Genus Internatl 弾性ヒンジを持つ物品及び弾性ヒンジを持つケース
JPH02145862U (ja) * 1989-05-10 1990-12-11
JPH06336072A (ja) * 1993-05-28 1994-12-06 Ricoh Co Ltd 事務機器
JPH0881070A (ja) * 1994-09-12 1996-03-26 Tohoku Ricoh Co Ltd 画像形成装置の防音装置
JP2003086963A (ja) * 2001-09-11 2003-03-20 Meidensha Corp 筺 体

Patent Citations (6)

* Cited by examiner, † Cited by third party
Publication number Priority date Publication date Assignee Title
JPS63253370A (ja) * 1987-04-09 1988-10-20 Ricoh Co Ltd 事務機
JPH01288609A (ja) * 1987-08-14 1989-11-20 Genus Internatl 弾性ヒンジを持つ物品及び弾性ヒンジを持つケース
JPH02145862U (ja) * 1989-05-10 1990-12-11
JPH06336072A (ja) * 1993-05-28 1994-12-06 Ricoh Co Ltd 事務機器
JPH0881070A (ja) * 1994-09-12 1996-03-26 Tohoku Ricoh Co Ltd 画像形成装置の防音装置
JP2003086963A (ja) * 2001-09-11 2003-03-20 Meidensha Corp 筺 体

Cited By (4)

* Cited by examiner, † Cited by third party
Publication number Priority date Publication date Assignee Title
JP2011252959A (ja) * 2010-05-31 2011-12-15 Canon Inc 画像形成装置
JP2013200166A (ja) * 2012-03-23 2013-10-03 Anritsu Sanki System Co Ltd X線検査装置
JP2023533288A (ja) * 2020-07-09 2023-08-02 コヴィディエン リミテッド パートナーシップ 外科デバイスのための電動ハンドル組立体
US12349902B2 (en) 2020-07-09 2025-07-08 Covidien Lp Powered handle assembly for surgical devices

Also Published As

Publication number Publication date
JP5288914B2 (ja) 2013-09-11

Similar Documents

Publication Publication Date Title
US11306523B2 (en) Pinch-preventing safety hinge for hinged door
US7065835B2 (en) Slide hinge for small-sized information terminal
JP6144129B2 (ja) スライディングドア
KR101472994B1 (ko) 경첩용 안전커버 장치
CN1981659A (zh) 开关头盔颌保护罩的装置
JP2007186884A (ja) ヒンジ
JP5288914B2 (ja) 画像形成装置
CN103119919A (zh) 开闭装置用盖结构
JP5121913B2 (ja) カバー装置およびそれを備えた電子機器、並びにカバー装置を備えた撮像装置
JP3965492B2 (ja) スライドドアのインタロック装置
JP2020106742A (ja) 原稿圧着板開閉装置並びにこの原稿圧着板開閉装置を備えた事務機器
JP2015060688A (ja) 保護カバー
JP4904222B2 (ja) 扉開閉機構及び冷蔵庫
JP2009100816A (ja) 配線カバー装置
JP3687367B2 (ja) レンズバリア開閉機構
JP2008161549A (ja) 洗濯機
TWI745914B (zh) 具有可遮蔽媒體閘道開口之蓋體的影像形成裝置及其托盤結構
KR101500865B1 (ko) 회전이동 보조기구
JP2010281910A (ja) 光コネクタ装置
JPH0485895A (ja) 携帯型電子機器
JP3042438B2 (ja) 空気調和機
TWI531893B (zh) 電子裝置
JP4656953B2 (ja) ドアーガード
CN108407472A (zh) 打印机
JP4778353B2 (ja) 試料処理装置

Legal Events

Date Code Title Description
A621 Written request for application examination

Free format text: JAPANESE INTERMEDIATE CODE: A621

Effective date: 20110708

A977 Report on retrieval

Free format text: JAPANESE INTERMEDIATE CODE: A971007

Effective date: 20120919

A131 Notification of reasons for refusal

Free format text: JAPANESE INTERMEDIATE CODE: A131

Effective date: 20120925

A521 Request for written amendment filed

Free format text: JAPANESE INTERMEDIATE CODE: A523

Effective date: 20121126

TRDD Decision of grant or rejection written
A01 Written decision to grant a patent or to grant a registration (utility model)

Free format text: JAPANESE INTERMEDIATE CODE: A01

Effective date: 20130507

A61 First payment of annual fees (during grant procedure)

Free format text: JAPANESE INTERMEDIATE CODE: A61

Effective date: 20130604

R151 Written notification of patent or utility model registration

Ref document number: 5288914

Country of ref document: JP

Free format text: JAPANESE INTERMEDIATE CODE: R151

LAPS Cancellation because of no payment of annual fees