JP2010019903A - 露光装置 - Google Patents

露光装置 Download PDF

Info

Publication number
JP2010019903A
JP2010019903A JP2008177948A JP2008177948A JP2010019903A JP 2010019903 A JP2010019903 A JP 2010019903A JP 2008177948 A JP2008177948 A JP 2008177948A JP 2008177948 A JP2008177948 A JP 2008177948A JP 2010019903 A JP2010019903 A JP 2010019903A
Authority
JP
Japan
Prior art keywords
photomask
exposure
exposure apparatus
support region
station
Prior art date
Legal status (The legal status is an assumption and is not a legal conclusion. Google has not performed a legal analysis and makes no representation as to the accuracy of the status listed.)
Granted
Application number
JP2008177948A
Other languages
English (en)
Other versions
JP5123766B2 (ja
Inventor
Takeshi Miyake
健 三宅
Current Assignee (The listed assignees may be inaccurate. Google has not performed a legal analysis and makes no representation or warranty as to the accuracy of the list.)
San Ei Giken Inc
Original Assignee
San Ei Giken Inc
Priority date (The priority date is an assumption and is not a legal conclusion. Google has not performed a legal analysis and makes no representation as to the accuracy of the date listed.)
Filing date
Publication date
Application filed by San Ei Giken Inc filed Critical San Ei Giken Inc
Priority to JP2008177948A priority Critical patent/JP5123766B2/ja
Publication of JP2010019903A publication Critical patent/JP2010019903A/ja
Application granted granted Critical
Publication of JP5123766B2 publication Critical patent/JP5123766B2/ja
Expired - Fee Related legal-status Critical Current
Anticipated expiration legal-status Critical

Links

Images

Landscapes

  • Container, Conveyance, Adherence, Positioning, Of Wafer (AREA)
  • Exposure And Positioning Against Photoresist Photosensitive Materials (AREA)

Abstract

【課題】フォトマスクの交換を容易にする。
【解決手段】露光装置は、露光ステーションと作業ステーションとの間を往復移動する支持台を備える。支持台は、フォトマスク4の中央部を支持可能な中央支持領域21と、フォトマスク4の周縁部を支持可能な周縁支持領域22とを備えている。支持台は、作業ステーションにてフォトマスク4を中央支持領域21および周縁支持領域22上に受け取り、フォトマスク4を露光ステーションまで運ぶ。周縁支持領域22は、フォトマスク4が露光位置へ動かされたときに、フォトマスク支持機構の一部9との干渉を避けるための凹所25を備えている。
【選択図】図7

Description

本発明は、露光装置であって、位置合わせマークを含むパターンが描かれたフィルム状のフォトマスクの周縁部に張力を加えてフォトマスクをパターンとともに弾性的に変形させることにより、フォトマスクと基板とを位置合わせし、その後、露光によってパターンを基板に転写するための露光装置に関する。
上述した形式の露光装置は特開平7−49575号公報において知られている。かかる露光装置は、露光ステーションと、作業ステーションと、これらのステーション間を往復移動可能な基板支持台とを備えている。
露光ステーションにおいては、フォトマスクがフォトマスク支持機構によって露光位置に取り付けられ且つ張力を加えられる。一方、基板は露光位置におけるフォトマスクと対向するように配置され且つフォトマスクと位置合わせされる。位置合わせ終了後、光源からの光によって露光が行われる。
作業ステーションは露光ステーションから離間した位置に設けられている。作業ステーションにおいては、未露光の基板が基板支持台にローディングされる。基板は基板支持台によって露光ステーションへと移され、そこでフォトマスクと位置合わせをされた後、露光される。露光後の基板は、基板支持台によって作業ステーションへと移され、そこでアンローディングされる。基板支持台には新たな未露光の基板がローディングされ、上記の手順が繰り返される。
上述した形式の露光装置においては、フォトマスクの交換は難しい作業である。フォトマスクを取り付け且つ張力を加えるようになされたフォトマスク支持機構は複数のアクチュエータを含み、これらのアクチュエータからフィルム状のフォトマスクを取り外し、さらに別のフォトマスクをアクチュエータに取り付ける必要があるからである。そのため、特別なフォトマスク交換装置を別途用意して利用する場合もあった。
上述した形式の露光装置には、基板およびフォトマスクを水平にして露光するタイプのものと、垂直にして露光するタイプのものとがある。特に水平タイプのものにおいては、下方を向いて取り付けられているフォトマスクを交換することになり、作業の困難性は一層高くなる。
そこで本発明の課題は、特別なフォトマスク交換装置を必要とすることなく、既存の設備を改良するだけで簡単にフォトマスクを交換できるようにすることにある。
本発明によれば、
位置合わせマークを含むパターンが描かれたフィルム状のフォトマスクの周縁部に張力を加えて該フォトマスクを前記パターンとともに弾性的に変形させることにより、該フォトマスクと基板とを位置合わせし、その後、露光によって前記パターンを前記基板に転写するための露光装置であって、
露光ステーションにして、前記フォトマスクが、フォトマスク支持機構によって露光位置に取り付けられ且つ前記張力を加えられ、前記基板が、前記露光位置における前記フォトマスクと対向するように配置され且つ該フォトマスクと位置合わせされ、その後、前記露光が行われるところの露光ステーションと、
該露光ステーションから離間した位置に設けられた作業ステーションと、
前記露光ステーションと前記作業ステーションとの間を往復移動する支持台と、
を備え、
前記支持台は、未露光の前記基板を前記作業ステーションにてローディングされて該基板を前記露光ステーションへと運び、且つ、露光済みの前記基板を前記露光ステーションから前記作業ステーションまで運んで該基板を前記作業ステーションにてアンローディングするようになされている、露光装置において、
前記支持台は、前記フォトマスクの中央部を支持可能な中央支持領域と、前記フォトマスクの前記周縁部を支持可能な周縁支持領域とを備えており、
前記支持台は、前記作業ステーションにて前記フォトマスクを前記中央支持領域および前記周縁支持領域上に受け取り、該フォトマスクを前記露光ステーションまで運び、該露光ステーションにて前記フォトマスクを前記露光位置へと動かすことができるようになされており、
前記周縁支持領域は、前記フォトマスクが前記露光位置へ動かされたときに、前記フォトマスク支持機構の一部との干渉を避けるための凹所を備えている、
露光装置が提供される。
前記フォトマスクの前記周縁部には複数の長穴が形成されており、前記フォトマスク支持機構の前記一部は、前記複数の長穴と係合する複数のフックであり、前記凹所は前記長穴と整合する位置に設けられ且つ前記フックの一部を受け入れるようにすることができる。
前記周縁支持領域を、前記中央支持領域から分離して形成し、且つ、該中央支持領域よりも後退した位置へと移動可能とすることができる。
前記周縁支持領域を、前記中央支持領域の四辺にそれぞれ隣接する4個の長方形部材により形成してもよい。
前記周縁支持領域を、前記中央支持領域の周囲を取り囲む2個のL字形部材により形成してもよい。
前記周縁支持領域を、前記中央支持領域の周囲を取り囲む単一の額縁形部材により形成してもよい。
前記中央支持領域および前記周縁支持領域には、前記フォトマスクまたは前記基板を吸着保持するための、負圧源に連通する負圧吸着穴または負圧吸着パッドを設けてもよい。
本発明の露光装置によれば、基板搬送用の支持台をフォトマスクも搬送できるように改良することにより、フォトマスクの交換を容易かつ短時間に行うことができる。高価なフォトマスク交換装置を別途用意することもない。フォトマスクの交換を自動化することも可能である。
図1は、本発明による露光装置の側断面図である。レベルフット1を介して床面2上に支持された露光装置のハウジング3の内部空間は、露光ステーションEと作業ステーションWとに区分される。
露光ステーションEには、フォトマスク4を露光位置に取り付けるフォトマスク支持機構5が配置されている。フォトマスク支持機構5は、額縁形状のフォトマスク支持ベース6と、フォトマスク支持ベース6に周囲を保持された透明なガラス板7と、フォトマスク支持ベース6の下面に取り付けられた複数のアクチュエータ8(図2も参照)とを備えている。流体圧シリンダ装置であるアクチュエータ8の伸縮ロッドはフック9を形成している。
図3に示すように、フィルム状のフォトマスク4の周縁部には複数の長穴10が形成されている。図1および図2に示すように、これらの長穴10内にフック9を挿入し、アクチュエータ8を作動させてフック9を後退させると、フック9は長穴10の縁に引っ掛かる。このようにしてフォトマスク4は、ガラス板7の下面に接することにより平面を保ちながら、フォトマスク支持機構5によって支持される。
複数のアクチュエータ8の作動を個別に制御することにより、フォトマスク4の周縁部に加えられる張力を各辺に沿って、または、局所的に変化させることができる。それによって、フォトマスク4に描かれたパターン(位置合わせマークを含む)の寸法および形状を弾性的に変化させ、フォトマスク4と基板11(図1)とを精度良く位置合わせすることができる。
なお、フォトマスク支持ベース6には、フォトマスク4および基板11に付された位置合わせマークを読みとるためのカメラ12およびその移動機構13、ならびに、基板11に対してフォトマスク4をXYθ方向に移動させる機構(図示せず)が搭載されることが多い。
露光ステーションEと作業ステーションWとの間にはガイドレール14が延びており、ガイドレール14上には支持台15が搭載されている。支持台15は駆動機構(図示せず)によって露光ステーションEと作業ステーションWとの間を移動可能である。
支持台15の従来の機能は、基板11を作業ステーションWと露光ステーションEとの間で搬送することにあった。未露光の基板11が作業ステーションWにて支持台15にローディングされ、露光ステーションEへと運ばれる。露光ステーションEにてフォトマスク4と位置合わせされた基板11は、上方の光源(図示せず)からの光16によって露光され、フォトマスク4に描かれたパターン(その領域を図2および図3にて符号17を付した二点鎖線で示す)を転写される。露光後の基板11は、支持台15によって作業ステーションWまで戻り、そこでアンローディングされる。その後、新たな未露光の基板11が支持台15にローディングされ、露光処理手順が繰り返される。
本発明では、この支持台15に、さらにフォトマスク搬送機能を持たせた。それにより、フォトマスク4の交換作業に支持台15を利用することが可能になった。本発明の露光装置における支持台15は、図4および図5に示すように、シリンダ部18と、シリンダ部18に対して伸縮するように組み付けられたロッド部19と、ロッド部19の先端に取り付けられた長方形のベース板20と、ベース板20の上面に固着されベース板20より一回り小さい長方形をしたテーブル21と、テーブル21の周囲を取り囲むように配置された環状部材22と、環状部材22の下方にてベース板20に取り付けられた複数の駆動機構23とを備える。駆動機構23は、流体圧シリンダ装置とされ、その伸縮可能なロッド23aの先端が環状部材22の下面に固着されている。
かかる構成のもとでは、ロッド部19を伸縮させることにより、テーブル21および環状部材22は同期して上下動する。また、ロッド23aを伸縮させることにより、環状部材22をテーブル21から独立して上下動させることができる。
図5に示す実施形態においては、環状部材22はテーブル21の周囲を取り囲む単一の額縁形部材とされているが、これをテーブル21の四辺にそれぞれ隣接する4個の長方形部材により形成してもよい。あるいはまた、テーブル21の周囲を取り囲む2個のL字形部材により形成してもよい。さらに、本発明の別の実施形態においては、テーブル21と環状部材22とを一体のものとし、駆動機構23を省略することもできる。
従来、テーブル21は基板11を支持するものとして機能していたが、本発明においては、図4および図5に示すように、テーブル21はフォトマスク4の中央部を支持可能な中央支持領域としても機能する。一方、環状部材22は、フォトマスク4の周縁部を支持可能な周縁支持領域として機能する。
支持台15上にフォトマスク4の中央部を確実に保持するために、テーブル21の表面には複数の負圧吸着穴(図示せず)が設けられており、これらの吸着穴は負圧源(図示せず)に連通されている。これらの吸着穴は、基板11を搬送する際には、基板11を吸着保持する手段として機能する。一方、環状部材22の表面には、フォトマスク4の周縁部を確実に保持するために、複数の吸着パッド24(図5)が設けられている。吸着パッド24もまた、図示しない別の負圧源に連通されている。テーブル21における吸着穴は吸着パッドに替えてもよく、また環状部材22における吸着パッド24は吸着穴に替えてもよい。
図5に示すように、環状部材22には複数の凹所25が設けられている。図5と図2とを対比すると分かるように、凹所25は、フォトマスク4の周縁部に形成された長穴10とそれぞれ整合する位置に設けられている。凹所25の役割については後述する。
本発明による露光装置においてフォトマスク4を取り付けおよび交換する手順を説明する。まず、作業ステーションWにおいて支持台15上にフォトマスク4が置かれる。フォトマスク4は、周縁部の各長穴10が環状部材22の各凹所25と整合するように正確に位置決めして置かれる。フォトマスク4の正確な配置を支援するため、フォトマスク4の長穴10のいくつかと係合可能な位置決めピン26(図5)を環状部材22上に設けてもよい。この位置決めピン26は、フォトマスク4の正確な配置が確定された時点で役割を終えるので、必要なときに突出し、それ以外のときは引き込められるような構成としてもよい。
次に、負圧源を作動させることによりテーブル21上の吸着穴および環状部材22上の吸着パッド23に負圧を作用させ、フォトマスク4の中央部をテーブル21上に吸着保持し、周縁部を環状部材22上に吸着保持する。このとき、図4に示すように、環状部材22の上面の高さがテーブル21の上面の高さと一致するよう、駆動機構23による調整がなされている。
フォトマスク4を吸着保持した支持台15は作業ステーションWから露光ステーションEまで移動する。支持台15が露光ステーションEで停止したとき、図6に示すように、各アクチュエータ8から伸長した位置にあるフック9の先端部がフォトマスク4の周縁部の各長穴10の中央に位置するよう、支持台15の停止位置は制御されている。
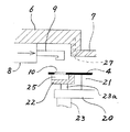
次に、支持台15のロッド部19(図4)を伸長させてベース板20を持ち上げ、図7に示すように、フォトマスク4をガラス板7の下面に接触させる。このとき、アクチュエータ8のフック9の先端部はフォトマスク4の長穴10内に入り込んでこれを貫通するが、長穴10と整合する位置に凹所25が形成されているため、フック9の先端部が環状部材22と干渉することはない。
アクチュエータ8を作動させてフック9を引き込めることにより、フック9は長穴10の縁部と完全に係合し、フォトマスク4には張力が加えられる。このようにして、フォトマスク4は、アクチュエータ8を含むフォトマスク支持機構5によって露光位置に平面状態で取り付けられることになる。額縁形状のフォトマスク支持ベース6の内周縁部の下面をガラス板7の下面と同一平面とし、この内周縁部の下面に複数の負圧吸着穴27を設けてもよい。吸着穴27に連通する負圧源(図示せず)を作動させてフォトマスク4をフォトマスク支持ベース6の内周縁部の下面に吸着保持することにより、フォトマスク4がガラス板7に沿った平面状態を維持することを保証する。負圧吸着穴27による吸着保持力は、フォトマスク4と基板11とが位置合わせされた後、露光による熱を受けて伸びやすい状態になったフォトマスク4をガラス板7に沿った適正位置に確実に保持する役割を果たす。
その後、フォトマスク4の下面に対する負圧吸着を解放し、支持台15のロッド部19を後退させることにより、テーブル21および環状部材22はフォトマスク4から離れて下降する。次に支持台15は、基板11を搬送するために作業ステーションWへと戻る。
フォトマスク4を交換するために取り外す際には、上述した手順と逆の手順を行えばよいことは容易に理解できよう。
また、フォトマスク4の取り付け、取り外しおよび搬送は、容易に自動化可能であることも理解されよう。
フォトマスク4が設置された後、露光を行うときには、基板11が支持台15によって作業ステーションWと露光ステーションEとの間を搬送されるが、この動作は従来のものと変わらないので詳細は述べない。しかしながら、基板11はフォトマスク4よりも小さいので、基板11の搬送時および露光時には環状部材22は必要ない。したがって、基板11を支持していない環状部材22の上面が露光時にフォトマスク4の下面と干渉するおそれを完全になくすため、基板11を扱っているときの支持台15においては、駆動機構23のロッド23aを短縮させて環状部材22をテーブル21よりも後退した位置へと移動させておくとよい。
上述した実施形態の説明は、基板およびフォトマスクを水平にして露光するタイプのものについてなされたが、基板およびフォトマスクを垂直にして露光するタイプのものについても本発明は適用可能である。
本発明による露光装置の一実施形態の側断面図。 フォトマスク支持機構によって露光位置に取り付けられたフォトマスクの底面図。 フォトマスクの平面図。 フォトマスクを載せた支持台を示す断片側面図。 支持台のテーブルおよび環状部材を示す上面図。 フォトマスクがフォトマスク支持機構に取り付けられる直前の様子を示す断片断面側面図。 フォトマスクがフォトマスク支持機構に取り付けられた直後の様子を示す断片断面側面図。
符号の説明
1 レベルフット、2 床面、3 ハウジング、4 フォトマスク、5 フォトマスク支持機構、6 フォトマスク支持ベース、7 ガラス板、8 アクチュエータ、9 フック、10 長穴、11 基板、12 カメラ、13 カメラの移動機構、14 ガイドレール、15 支持台、16 光、17 パターン、18 シリンダ部、19 ロッド部、20 ベース板、21 テーブル、22 環状部材、23 駆動機構、23a 駆動機構のロッド、24 吸着パッド、25 凹所、26 位置決めピン、27 吸着穴、E 露光ステーション、W 作業ステーション。

Claims (7)

  1. 位置合わせマークを含むパターンが描かれたフィルム状のフォトマスクの周縁部に張力を加えて該フォトマスクを前記パターンとともに弾性的に変形させることにより、該フォトマスクと基板とを位置合わせし、その後、露光によって前記パターンを前記基板に転写するための露光装置であって、
    露光ステーションにして、前記フォトマスクが、フォトマスク支持機構によって露光位置に取り付けられ且つ前記張力を加えられ、前記基板が、前記露光位置における前記フォトマスクと対向するように配置され且つ該フォトマスクと位置合わせされ、その後、前記露光が行われるところの露光ステーションと、
    該露光ステーションから離間した位置に設けられた作業ステーションと、
    前記露光ステーションと前記作業ステーションとの間を往復移動する支持台と、
    を備え、
    前記支持台は、未露光の前記基板を前記作業ステーションにてローディングされて該基板を前記露光ステーションへと運び、且つ、露光済みの前記基板を前記露光ステーションから前記作業ステーションまで運んで該基板を前記作業ステーションにてアンローディングするようになされている、露光装置において、
    前記支持台は、前記フォトマスクの中央部を支持可能な中央支持領域と、前記フォトマスクの前記周縁部を支持可能な周縁支持領域とを備えており、
    前記支持台は、前記作業ステーションにて前記フォトマスクを前記中央支持領域および前記周縁支持領域上に受け取り、該フォトマスクを前記露光ステーションまで運び、該露光ステーションにて前記フォトマスクを前記露光位置へと動かすことができるようになされており、
    前記周縁支持領域は、前記フォトマスクが前記露光位置へ動かされたときに、前記フォトマスク支持機構の一部との干渉を避けるための凹所を備えている、
    露光装置。
  2. 請求項1に記載の露光装置において、
    前記フォトマスクの前記周縁部には複数の長穴が形成されており、前記フォトマスク支持機構の前記一部は、前記複数の長穴と係合する複数のフックであり、前記凹所は前記長穴と整合する位置に設けられ且つ前記フックの一部を受け入れるようになされている、露光装置。
  3. 請求項1または2に記載の露光装置において、
    前記周縁支持領域は、前記中央支持領域から分離して形成されており、且つ、該中央支持領域よりも後退した位置へと移動可能となされている、露光装置。
  4. 請求項3に記載の露光装置において、
    前記周縁支持領域が、前記中央支持領域の四辺にそれぞれ隣接する4個の長方形部材により形成されている、露光装置。
  5. 請求項3に記載の露光装置において、
    前記周縁支持領域が、前記中央支持領域の周囲を取り囲む2個のL字形部材により形成されている、露光装置。
  6. 請求項3に記載の露光装置において、
    前記周縁支持領域が、前記中央支持領域の周囲を取り囲む単一の額縁形部材により形成されている、露光装置。
  7. 請求項1ないし6のいずれかに記載の露光装置において、
    前記中央支持領域および前記周縁支持領域には、前記フォトマスクまたは前記基板を吸着保持するための、負圧源に連通する負圧吸着穴または負圧吸着パッドが設けられている、露光装置。
JP2008177948A 2008-07-08 2008-07-08 露光装置 Expired - Fee Related JP5123766B2 (ja)

Priority Applications (1)

Application Number Priority Date Filing Date Title
JP2008177948A JP5123766B2 (ja) 2008-07-08 2008-07-08 露光装置

Applications Claiming Priority (1)

Application Number Priority Date Filing Date Title
JP2008177948A JP5123766B2 (ja) 2008-07-08 2008-07-08 露光装置

Publications (2)

Publication Number Publication Date
JP2010019903A true JP2010019903A (ja) 2010-01-28
JP5123766B2 JP5123766B2 (ja) 2013-01-23

Family

ID=41704904

Family Applications (1)

Application Number Title Priority Date Filing Date
JP2008177948A Expired - Fee Related JP5123766B2 (ja) 2008-07-08 2008-07-08 露光装置

Country Status (1)

Country Link
JP (1) JP5123766B2 (ja)

Cited By (2)

* Cited by examiner, † Cited by third party
Publication number Priority date Publication date Assignee Title
KR101282874B1 (ko) 2011-10-31 2013-07-05 주식회사 케이피에스 노광 마스크 및 이를 이용한 마스크 필름 클램핑 장치 및 마스크 필름 클램핑 방법
JP2023114874A (ja) * 2022-02-07 2023-08-18 竹田東京プロセスサービス株式会社 位置決め装置及び処理システム

Citations (5)

* Cited by examiner, † Cited by third party
Publication number Priority date Publication date Assignee Title
JPS62268138A (ja) * 1986-05-16 1987-11-20 Hitachi Electronics Eng Co Ltd 角形マスク基板支持機構
JPH0822131A (ja) * 1994-07-08 1996-01-23 Sanee Giken Kk 露光における位置合わせ装置
JPH10161320A (ja) * 1996-11-28 1998-06-19 Sanee Giken Kk 露光装置
JPH11240129A (ja) * 1998-02-24 1999-09-07 Sanee Giken Kk スクリーン印刷装置
JP2007316561A (ja) * 2006-04-24 2007-12-06 Nsk Ltd 露光装置及び露光方法

Patent Citations (5)

* Cited by examiner, † Cited by third party
Publication number Priority date Publication date Assignee Title
JPS62268138A (ja) * 1986-05-16 1987-11-20 Hitachi Electronics Eng Co Ltd 角形マスク基板支持機構
JPH0822131A (ja) * 1994-07-08 1996-01-23 Sanee Giken Kk 露光における位置合わせ装置
JPH10161320A (ja) * 1996-11-28 1998-06-19 Sanee Giken Kk 露光装置
JPH11240129A (ja) * 1998-02-24 1999-09-07 Sanee Giken Kk スクリーン印刷装置
JP2007316561A (ja) * 2006-04-24 2007-12-06 Nsk Ltd 露光装置及び露光方法

Cited By (2)

* Cited by examiner, † Cited by third party
Publication number Priority date Publication date Assignee Title
KR101282874B1 (ko) 2011-10-31 2013-07-05 주식회사 케이피에스 노광 마스크 및 이를 이용한 마스크 필름 클램핑 장치 및 마스크 필름 클램핑 방법
JP2023114874A (ja) * 2022-02-07 2023-08-18 竹田東京プロセスサービス株式会社 位置決め装置及び処理システム

Also Published As

Publication number Publication date
JP5123766B2 (ja) 2013-01-23

Similar Documents

Publication Publication Date Title
JP5279397B2 (ja) インプリント装置、インプリント方法、およびデバイス製造方法
JP6120453B2 (ja) 基板印刷装置
JP2011155285A5 (ja) 交換方法、露光方法及びデバイス製造方法
JP2012084927A5 (ja) ロード方法、露光方法及び露光装置、並びにデバイス製造方法
KR20090064306A (ko) 스크린 인쇄기
CN109803829A (zh) 丝网印刷机
TW201800876A (zh) 物體交換方法、物體交換系統、曝光裝置、平面顯示器之製造方法、及元件製造方法
JP5123766B2 (ja) 露光装置
JP6027794B2 (ja) 搬送治具
KR20060036846A (ko) 웨이퍼 휨 방지 장치
KR102614210B1 (ko) 기판 반송 장치, 노광 장치, 플랫 패널 디스플레이의 제조 방법, 디바이스 제조 방법, 기판 반송 방법, 및 노광 방법
JP2008300389A (ja) 基板搬送装置
JP6861335B2 (ja) 部品実装装置および部品実装方法
KR101489055B1 (ko) 패턴 형성 장치
WO2019234822A1 (ja) 印刷装置および印刷装置の使用方法
JPWO2019234791A1 (ja) スクリーン印刷機
JP5117456B2 (ja) 露光装置
JP6347285B2 (ja) 物体処理装置、露光装置、露光方法及びデバイス製造方法
TW201919968A (zh) 基板搬運裝置、曝光裝置、平板顯示器的製造方法、元件製造方法、基板搬運方法以及曝光方法
JP6036958B2 (ja) 露光装置
JP2010056382A (ja) フラックス塗布装置
TWI854664B (zh) 圖案形成方法、半導體裝置之製造方法、及壓印裝置
TW201919967A (zh) 基板搬運裝置、曝光裝置、平板顯示器的製造方法、元件製造方法、基板搬運方法以及曝光方法
JP5831773B2 (ja) 搬送装置、物体処理装置、搬送方法及び物体処理方法
JP6631655B2 (ja) 露光装置、フラットパネルディスプレイの製造方法及びデバイスの製造方法

Legal Events

Date Code Title Description
A621 Written request for application examination

Free format text: JAPANESE INTERMEDIATE CODE: A621

Effective date: 20110610

A977 Report on retrieval

Free format text: JAPANESE INTERMEDIATE CODE: A971007

Effective date: 20120921

TRDD Decision of grant or rejection written
A01 Written decision to grant a patent or to grant a registration (utility model)

Free format text: JAPANESE INTERMEDIATE CODE: A01

Effective date: 20120928

A01 Written decision to grant a patent or to grant a registration (utility model)

Free format text: JAPANESE INTERMEDIATE CODE: A01

A61 First payment of annual fees (during grant procedure)

Free format text: JAPANESE INTERMEDIATE CODE: A61

Effective date: 20121026

FPAY Renewal fee payment (event date is renewal date of database)

Free format text: PAYMENT UNTIL: 20151102

Year of fee payment: 3

R150 Certificate of patent or registration of utility model

Free format text: JAPANESE INTERMEDIATE CODE: R150

Ref document number: 5123766

Country of ref document: JP

Free format text: JAPANESE INTERMEDIATE CODE: R150

R250 Receipt of annual fees

Free format text: JAPANESE INTERMEDIATE CODE: R250

R250 Receipt of annual fees

Free format text: JAPANESE INTERMEDIATE CODE: R250

R250 Receipt of annual fees

Free format text: JAPANESE INTERMEDIATE CODE: R250

R250 Receipt of annual fees

Free format text: JAPANESE INTERMEDIATE CODE: R250

R250 Receipt of annual fees

Free format text: JAPANESE INTERMEDIATE CODE: R250

R250 Receipt of annual fees

Free format text: JAPANESE INTERMEDIATE CODE: R250

LAPS Cancellation because of no payment of annual fees