JP2010019873A - 液晶表示パネル - Google Patents

液晶表示パネル Download PDF

Info

Publication number
JP2010019873A
JP2010019873A JP2008177487A JP2008177487A JP2010019873A JP 2010019873 A JP2010019873 A JP 2010019873A JP 2008177487 A JP2008177487 A JP 2008177487A JP 2008177487 A JP2008177487 A JP 2008177487A JP 2010019873 A JP2010019873 A JP 2010019873A
Authority
JP
Japan
Prior art keywords
liquid crystal
display panel
crystal display
slit
upper electrode
Prior art date
Legal status (The legal status is an assumption and is not a legal conclusion. Google has not performed a legal analysis and makes no representation as to the accuracy of the status listed.)
Granted
Application number
JP2008177487A
Other languages
English (en)
Other versions
JP5246758B2 (ja
Inventor
Shinichiro Nomura
慎一郎 野村
Kimitaka Kamijo
公高 上條
Tae Nakahara
多惠 中原
Current Assignee (The listed assignees may be inaccurate. Google has not performed a legal analysis and makes no representation or warranty as to the accuracy of the list.)
Epson Imaging Devices Corp
Original Assignee
Epson Imaging Devices Corp
Priority date (The priority date is an assumption and is not a legal conclusion. Google has not performed a legal analysis and makes no representation as to the accuracy of the date listed.)
Filing date
Publication date
Application filed by Epson Imaging Devices Corp filed Critical Epson Imaging Devices Corp
Priority to JP2008177487A priority Critical patent/JP5246758B2/ja
Publication of JP2010019873A publication Critical patent/JP2010019873A/ja
Application granted granted Critical
Publication of JP5246758B2 publication Critical patent/JP5246758B2/ja
Active legal-status Critical Current
Anticipated expiration legal-status Critical

Links

Images

Landscapes

  • Liquid Crystal (AREA)

Abstract

【課題】液晶表示パネルの表面を押した際に発生するリップルリップルが消失し易くした、延伸方向が異なる2つのスリット部分が結合されたスリットを有するFFSモードの液晶表示パネルを提供すること。
【解決手段】本発明の液晶表示パネルは、複数のスリット20Aが形成された上電極22と、前記上電極22と絶縁膜を介して基板側に形成された下電極と、前記上電極22と絶縁膜の表面を被覆するように形成された配向膜と、を備え、前記複数のスリット20Aのそれぞれは、電圧無印加状態における液晶配向方向(ラビング方向Rと同じ)と平行に形成された直線部分20a1と、前記直線部分20a1と直交する方向を軸として前記直線部分20a1の両端からそれぞれ互いに対称に離間する方向に延伸する延伸部分20a2、20a3と、を備えていることを特徴とする。
【選択図】図1

Description

本発明は、FFS(Fringe Field Switching)モードの液晶表示パネルに関し、特に、延伸方向が異なる2つのスリット部分が結合されたスリットを有するFFSモードの液晶表示パネルに関するものである。
液晶表示パネルはCRT(陰極線管)と比較して軽量、薄型、低消費電力という特徴があるため、表示用として多くの電子機器に使用されている。液晶表示パネルは、配向膜に対してラビング処理を行うことにより液晶分子と所定方向に整列させており、これらの液晶分子の向きを電界により変えて、光の透過量ないし反射量を変化させて画像を表示させるものである。
液晶表示パネルの液晶層に電界を印加する方法として、縦電界方式のものと横電界方式のものとがある。縦電界方式の液晶表示パネルは、液晶層を挟んで配置される一対の電極により、概ね縦方向の電界を液晶分子に印加するものである。この縦電界方式の液晶表示パネルとしては、TN(Twisted Nematic)モード、VA(Vertical Alignment)モード、MVA(Multi-domain Vertical Alignment)モード等のものが知られている。横電界方式の液晶表示パネルは、液晶層を挟んで配設される一対の基板のうちの一方の内面側に一対の電極を互いに絶縁して設け、概ね横方向の電界を液晶分子に対して印加するものである。この横電界方式の液晶表示パネルとしては、一対の電極が平面視で重ならないIPS(In-Plane Switching)モードのものと、平面視で重なるFFSモードのものとが知られている。
このうち、FFSモードの液晶表示パネルは、絶縁膜を介して上電極と下電極とからなる一対の電極をそれぞれ異なる層に配置し、上電極にスリット状の開口を設け、このスリットを通る概ね横方向の電界を液晶層に印加するものである。このFFSモードの液晶表示パネルは、広い視野角を得ることができると共に画像コントラストを改善できるという効果があるので、近年、多く用いられるようになってきている。
ところで、カラー表示用の液晶表示パネルにおいては、通常、R(赤色)・G(緑色)・B(青色)の3つのサブ画素が横並びに形成され、これらの3つのサブ画素の組み合わせで1画素(1ピクセル)が設定される。通常、1画素は略正方形であるため、1サブ画素は縦長の長方形となる。そこで、FFSモードの液晶表示パネルにおいては、上電極に形成されているスリットの両端では所望する方向の電界を形成することができないため、特許文献1及び2に示されているように、スリットの延伸方向を縦方向にして開口率の低下を低減している。
また、FFSモードの液晶表示パネルでは、スリットはラビング方向に対して僅かに傾斜するように延伸させて、同一方向に液晶分子が回転することができるようにしている。カラー表示用の液晶表示パネルにおいては、このスリットの傾斜角度を正負の2つの領域に分けるマルチドメイン化により、視野角による色の変化を低減することができる。しかしながら、スリットの両端は所望する方向の電界を形成することができないので、延伸方向が異なるスリットを分離させると、スリットの端部の数が増えるために開口率が低くなる。そこで、下記特許文献3に開示されている液晶表示パネルでは、異なる方向に延伸するスリットを連結することによって開口率が広いマルチドメイン化を達成している。
特開2002−014374号公報 特開2003−322869号公報 特開2007−264231号公報
上述のように、延伸方向が異なる2つのスリットを形成すると、それぞれのスリットの側において液晶分子の配向方向が異なるドメインが形成されるため、高開口率かつ広視野角特性が得られるという利点がある。しかしながら、延伸方向が異なる2つのスリットを連結して「く」字状とすると、それぞれの配向方向が異なるドメインが互いに行き来するため、配向乱れ(リップル)が発生し、特に液晶表示パネルの表面を押した際に発生するリップルが消えないという問題点が生じる。
本発明は上記問題点に鑑みてなされたものであって、本発明の目的は、液晶表示パネルの表面を押した際に発生するリップルリップルが消失し易くした、延伸方向が異なる2つのスリット部分が結合されたスリットを有するFFSモードの液晶表示パネルを提供することにある。
上記目的を達成するため、本発明の液晶表示パネルは、液晶層を挟持して対向配置された一対の基板を有し、前記一対の基板の一方には、複数のスリットが形成された上電極と、前記上電極と絶縁膜を介して前記基板側に形成された下電極と、前記上電極と絶縁膜の表面を被覆するように形成された配向膜と、を備えた液晶表示パネルであって、前記複数のスリットのそれぞれは、電圧無印加状態における液晶配向方向と平行に形成された直線部分と、前記直線部分と直交する方向を軸として前記直線部分の両端からそれぞれ互いに対称に離間する方向に延伸する延伸部分と、を備えていることを特徴とする。
本発明の液晶表示パネルは、複数のスリットが形成された上電極と、前記上電極と絶縁膜を介して前記基板側に形成された下電極と、前記上電極と絶縁膜の表面を被覆するように形成された配向膜と、を備えている。係る構成によって本発明の液晶表示パネルはFFSモードで作動するものとなる。なお、絶縁膜としては酸化ケイ素ないし窒化ケイ素等の無機絶縁膜を使用し得る。更に、上電極及び下電極としてはITO(Indium Tin Oxide)ないしIZO(Indium Zinc Oxide)等の透明導電性材料が使用される。また、本発明の液晶表示パネルにおいては、上電極及び下電極共に画素電極ないし共通電極として作動し得る。
また、本発明の液晶表示パネルおいては、上電極の複数のスリットのそれぞれは、電圧無印加状態における液晶配向方向と平行に形成された直線部分と、前記直線部分と直交する方向を軸として前記直線部分の両端からそれぞれ互いに対称に離間する方向に延伸する延伸部分と、を備えている。このようなスリットの形状は、あたかもスリットが「く」字状の屈曲部に直線部分が形成された状態となり、この直線部分が電圧無印加状態における液晶配向方向と平行に配置された状態となる。なお、本発明における電圧無印加状態における液晶配向方向は、配向膜がラビング処理されている場合は、このラビング方向に一致する。
スリットの直線部分と延伸部分とはそれぞれ液晶分子の配向方向が異なるドメインが生じるが、スリットの直線部分と延伸部分とでは平面視で電界の方向に変化があるため、配向方向が異なるドメインが互いに行き来し難くなる。しかも、スリットの直線部分が電圧無印加状態における液晶配向方向と平行に形成されていると、電圧無印加状態における液晶配向と電界の方向とのなす角度が90°に近いので、液晶分子に与えられる回転力は小さい。それに対し、スリットの延伸部分では、電圧無印加状態における液晶配向と電界の方向とのなす角度が小さくなるので、スリットの直線部分よりも液晶分子に与えられる回転力は大きくなる。従って、本発明の液晶表示パネルによれば、液晶表示パネルの表面から押圧されたときに液晶分子の回転角が変化してリップルが生じても、スリットの延伸部分では液晶分子に与えられる回転力が強いために元の状態に戻り易くなる。
加えて、本発明の液晶表示パネルでは、スリットの延伸部分は、直線部分と直交する方向を軸として直線部分の両端からそれぞれ互いに対称に離間する方向に延伸されている。このように、延伸方向が異なる2つのスリット部分が形成されていると、それぞれのスリット部分において液晶分子の配向方向が異なるドメインが形成されるため、広視野角特性が得られるようになる。
また、液晶表示パネルは、駆動電圧の変化に伴って液晶の複屈折率が変化した結果として、光透過率が変化する。この特性は、電圧透過率(VT)特性と称されている。このような駆動電圧の変化による液晶表示パネルの光透過率の変動は、光の波長によって変動する量が変わってくるため、色付きという現象を生じる。また、FFSモードの液晶表示パネルの場合、上電極のスリットの長手方向と電圧無印加状態における液晶配向方向とのなす角度によってVT特性が変動する。
本発明の液晶表示パネルにおいては、上電極のスリットの直線部分と延伸部分とでは、それぞれ電圧無印加状態における液晶配向方向となす角の大きさが異なっている。このような構成を備えていると、スリットの直線部分と延伸部分とでは電圧無印加状態における液晶配向方向とのなす角度が異なることとなるので、スリットの直線部分と延伸部分とでは異なるVT特性を備えていることになる。このように、上電極のスリットが複数のVT特性を備えていると、複数のVT特性は重畳されてその包絡線で表されるVT特性を有するものとなる。そのため、本発明の液晶表示パネルによれば、視野角特性が良好で色付きの生じ難い液晶表示パネルを得ることができるようになる。
また、本発明の液晶表示パネルにおいては、前記スリットのそれぞれは、前記直線部分の長さが5μm〜10μmであり、前記延伸部分の長さは前記直線部分の長さよりも長いことが好ましい。
係る態様の液晶表示パネルにおいては、スリットの直線部分と延伸部分とはそれぞれ液晶分子の配向方向が異なるドメインを生じる。このスリットの直線部分は、液晶表示パネルの表面から押圧されたときに生じたリップルが消失しやすくなる作用を備えているが、視野角特性向上には直接役立たないため、スリットの直線部分の長さは延伸部分の長さよりも短い方が好ましい。上電極に形成するスリットの直線部分の長さが5μm未満であると、実質的にスリットの直線部分が存在していない状態と同様になり、液晶の配向方向が異なるドメインが互いに行き来きし易くなるので、好ましくない。また、スリットの直線部分の長さが10μmを超えると、サブ画素のサイズが小さいために、スリットの延伸部の長さを直線部分よりも長くできなくなるので、視野角特性の向上効果が失われる。
また、本発明の液晶表示パネルにおいては、前記スリットの直線部分と前記延伸部分とのなす鋭角部分の角度は15°〜25°であることが好ましい。
スリットの直線部分と延伸部分とのなす鋭角部分の角度が15°未満であると、実質的に全てのスリットを直線状とした場合と同様になり、視野角特性の向上効果が失われる。スリットの直線部分と延伸部分とのなす鋭角部分の角度が25°を超えると、視野角特性は良好となるが、液晶の配向方向が異なるドメインの境界が目立つようになるので、表示画質の低下に繋がる。係る態様の液晶表示パネルによれば、スリットの直線部分と延伸部分とのなす鋭角部分の角度を15°〜25°としたので、良好な視野角特性を達成した上で表示画質が良好な液晶表示パネルが得られる。
また、本発明の液晶表示パネルにおいては、前記電圧無印加状態における液晶配向方向は、前記液晶表示パネルに形成されている信号線の延在方向であることが好ましい。
カラー表示用の液晶表示パネルにおいては、通常、1サブ画素は縦長の長方形となる。FFSモードの液晶表示パネルにおいては、上電極に形成されているスリットの両端部では所望する方向の電界を形成することができないため、スリット両端部の数が多いと開口率が低下する。係る態様の液晶表示パネルにおいては、電圧無印加状態における液晶配向方向が液晶表示パネルに形成されている信号線の延在方向とされている上、スリットの直線部が電圧無印加状態における液晶配向方向と平行となるようにされている。そのため、係る態様の液晶表示パネルによれば、正常な表示ができないスリット状開口の閉鎖端部の面積を減少させつつ、面積効率よく上電極にスリットを形成配置することができるので、開口率が大きく明るい表示が可能な液晶表示パネルが得られる。
また、本発明の液晶表示パネルにおいては、前記下電極は、前記基板に形成された層間膜の表面に形成されていることが好ましい。
下電極が前記基板に形成された層間膜の表面に形成されていると、FFSモードの液晶表示パネルを構成する下電極、絶縁膜及び上電極が全て層間膜上に配置されることになる。そのため、係る態様の液晶表示パネルによれば、各画素領域の広い面積範囲に渉って上電極及び下電極を配置することができるようになり、開口率がより大きく明るい表示が可能なFFSモードの液晶表示パネルが得られる。なお、層間膜としては、透明性が良好で、電気絶縁性に優れた感光性又は非感光性の樹脂材料を適宜選択して使用し得る。
以下、図面を参照して本発明の最良の実施形態を説明する。ただし、以下に示す実施形態は、本発明の技術思想を具体化するための一例を示すものであって、本発明を第1実施形態に特定することを意図するものではなく、特許請求の範囲に含まれるその他の実施形態のものも等しく適応しうるものである。なお、この明細書における説明のために用いられた各図面においては、各層や各部材を図面上で認識可能な程度の大きさとするため、各層や各部材毎に縮尺を異ならせて表示しており、必ずしも実際の寸法に比例して表示されているものではない。
図1は第1実施形態のFFSモードの液晶表示パネルの1サブ画素分の平面図である。図2Aは図1のIIA−IIA線に沿った断面図であり、図2Bは図1のIIB−IIB線に沿った断面図である。図3は図1に示す1つのスリットの各部の形状関係を示す模式図である。図4はスリットと電圧無印加状態における液晶配向方向とのなす角とVT特性との関係を表すグラフである。図5は第2実施形態の液晶表示パネルの1サブ画素分の平面図である。
[第1実施形態]
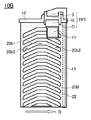
第1実施形態の液晶表示パネル10Aを図1〜図3を用いて説明する。この液晶表示パネル10Aは、アレイ基板ARと、カラーフィルタ基板CFとを備えている。アレイ基板ARは、ガラス基板等の第1の透明基板11の表示領域の表面には、マトリクス状に複数の走査線12及び信号線13が互いにゲート絶縁膜14で絶縁された状態で交差するように形成されており、更に、表示領域の周縁部にはコモン配線(図示省略)が形成されている。これらの走査線12及び信号線13で囲まれたそれぞれの領域が1サブ画素を形成する。また、第1の透明基板11には画素毎にスイッチング素子として例えばTFTが形成されており、このTFTを含む第1の透明基板11の表面全体に亘って例えば窒化ケイ素層ないし酸化ケイ素層からなるパッシベーション膜15で被覆されている。
そして、パッシベーション膜15の表面には有機材料からなる層間膜16が形成されており、この層間膜16及びパッシベーション膜15にはTFTのドレイン電極Dに対応する位置にコンタクトホール17が形成されている。そして、層間膜16の表面には、TFTが形成されている領域及びコンタクトホール17が形成されている領域を除いて、表面を覆うようにITOないしIZO等の透明導電性材料からなる下電極18が形成されている。この下電極18は、図示しない表示領域の周縁部でコモン配線に接続されており、共通電極として作動する。
下電極18が形成された第1の透明基板11の表面全体に亘って窒化ケイ素層ないし酸化ケイ素層からなる絶縁膜19が形成されている。この絶縁膜19の表面には、それぞれのサブ画素にITOないしIZO等の透明導電性材料からなる上電極22が形成されている。そして、この上電極22には、所定形状のスリット20Aが形成されている。なお、このスリット20Aの詳細については後述する。
また、上電極22は、コンタクトホール17を介してTFTのドレイン電極Dと電気的に接続されており、画素電極として作動する。なお、上電極22と下電極18のどちらをTFTのドレイン電極Dと接続するか及びどちらをコモン配線と電気的に接続するかは任意である。また、上電極22の表面及びスリット20Aの内部を含み、表示領域全体に亘って第1の配向膜24が形成されている。この第1の配向膜24は液晶分子を所定の方向に配向させるために所定の方向Rにラビング処理されている。このラビング処理は本発明における電圧無印加状態における液晶配向方向を特定するための一例を示すものである。
また、カラーフィルタ基板CFは、図2A及び図2Bに示したように、ガラス基板等の第2の透明基板25の表面に、アレイ基板ARの走査線12、信号線13、コンタクトホール17及びTFTに対応する位置を被覆するように遮光膜26が形成されている。更に、遮光膜26で囲まれた第2の透明基板25の表面には、所定の色のカラーフィルタ層27が形成されている。また、遮光膜26及びカラーフィルタ層27の表面を被覆するようにオーバーコート層28が形成されている。そして、オーバーコート層28の表面には第2の配向膜29が形成されている。この第2の配向膜29は、第1の配向膜とは180°ずれた方向にラビング処理されている。
そして、アレイ基板ARの上電極22とカラーフィルタ基板CFのカラーフィルタ層27とが互いに対向するように、アレイ基板ARとカラーフィルタ基板CFとが対向配置され、その間に液晶30が封入されている。更に、アレイ基板ARの外側に第1の偏光板31及びバックライト装置(図示省略)が配置され、カラーフィルタ基板CFの外側に第2の偏光板32が配置されて第1実施形態の液晶表示パネル10Aが完成される。
ここで、第1実施形態の液晶表示パネル10Aの1つのスリット20Aの各部分の形状について、図1及び図3を用いて説明する。このスリット20Aのそれぞれは、配向膜24のラビング方向Rと平行に延びる直線部分20a1、この直線部分20a1と直交する方向を軸として、この直線部分20a1の両端からそれぞれ互いに対称に離間する方向に延伸する延伸部分20a2及び20a3とが形成されている。すなわち、スリット20Aは、あたかも「く」字状の屈曲部に直線部分が形成された状態となり、この直線部分が第1の配向膜24のラビング方向Rと平行に配置された状態となっている。
FFSモードの液晶表示パネルにおいては、上電極と下電極との間に生じる電界の方向は、スリットの辺の法線方向となる。そのため、第1実施形態の液晶表示パネル10Aでは、スリット20Aの直線部分20a1と延伸部分20a2、20a3とは、それぞれ液晶分子の配向方向が異なるドメインが生じるが、平面視で電界の方向に変化があるので、配向方向が異なるドメインが互いに行き来し難くなる。
また、スリット20Aの直線部分20a1はラビング方向Rと平行に形成されている。そのため、スリット20Aの直線部分20a1では、ラビング方向Rと電界の方向とのなす角度が90°に近いので、液晶分子に与えられる回転力は小さい。それに対し、スリット20Aの延伸部分20a2、20a3では、ラビング方向Rと電界の方向とのなす角度が90°よりも小さくなるので、スリット20Aの直線部分20a1よりも液晶分子に与えられる回転力は大きくなる。そのため、第1実施形態の液晶表示パネル10Aによれば、液晶表示パネル10Aの表面から押圧されたときに液晶分子の回転角が変化してリップルが生じても、スリット20Aの延伸部分20a2、20a3では液晶分子に与えられる回転力が強いために元の状態に戻り易くなる。
しかも、第1実施形態の液晶表示パネル10Aでは、上電極22のスリット20Aの延伸部分20a2、20a3は、直線部分20a1と直交する方向を軸として直線部分20a1の両端からそれぞれ互いに対称に離間する方向に延伸されている。このように、延伸方向が異なる2つのスリット部分が形成されていると、それぞれのスリット部分において液晶分子の配向方向が異なるドメインが形成されるため、広視野角特性が得られるようになる。
また、第1実施形態の液晶表示パネル10Aでは、スリット20Aの直線部分20a1と延伸部分20a2、20a3とのなす鋭角部分の角度θは、15°≦θ≦25°の関係を満たすように選定されている。しかも、スリット20Aの直線部分20a1の長さLは、5μm≦L≦15μmの関係を満たすように選定され、延伸部分20a2及び20a3の長さは直線部分20a1の長さよりも長くなるように選定されている。
スリット20Aの直線部分20a1と延伸部分20a2、20a3とのなす鋭角部分の角度θが15°未満であると、実質的に全てのスリットを直線状とした場合と同様になり、視野角特性の向上効果が失われる。また、スリット20Aの直線部分20a1と延伸部分20a2、20a3とのなす鋭角部分の角度θが25°を超えると、視野角特性は良好となるが、液晶の配向方向が異なるドメインの境界が目立つようになるので、表示画質の低下に繋がる。したがって、第1実施形態の液晶表示パネル10Aでは、スリット20Aの直線部分20a1と延伸部分20a2、20a3とのなす鋭角部分の角度を15°〜25°とすることにより、良好な視野角特性を達成した上で表示画質が良好な液晶表示パネル10Aが得られる。
更に、第1実施形態の液晶表示パネル10Aにおいては、スリット20Aの直線部分20a1は、液晶表示パネル10Aの表面から押圧されたときに生じたリップルが消失しやすくなる作用を備えているが、視野角特性向上には直接役立たないため、延伸部分20a2、20a3の長さよりも短い方がよい。直線部分20a1の長さが5μm未満であると、実質的にスリット20Aの直線部分20a1が存在していない状態と同様になり、液晶の配向方向が異なるドメインが互いに行き来きし易くなる。また、スリット20Aの直線部分20a1の長さが10μmを超えると、サブ画素のサイズが小さいために、延伸部分20a2、20a3の長さを直線部分20a1よりも長くできなくなるので、視野角特性の向上効果が失われるようになる。
また、一般に、液晶表示パネルは、電圧透過率(VT)特性として知られているように、駆動電圧の変化に伴って液晶の複屈折率が変化した結果として、光透過率が変化する。このような駆動電圧の変化による光透過率の変動は、光の波長によって変動する量が変わってくるため、色付きという現象を生じる。また、FFSモードの液晶表示パネルの場合、上電極のスリットの長手方向とラビング方向とのなす角度によってVT特性が変動する。この関係を図4に示した。すなわち、図4の曲線θ1及びθ2は、スリットの長手方向とラビング方向とのなす角度がそれぞれθ1及びθ2の場合を示している。
第1実施形態の液晶表示パネル10Aでは、上電極のスリット20Aの直線部分20a1と延伸部分20a2、20a3とでは、それぞれラビング方向Rとなす角の大きさが異なっている。そのため、第1実施形態の液晶表示パネル10Aでは、スリット20Aの直線部分20a1と延伸部分20a2、20a3とでは異なるVT特性を備えていることになる。このように、上電極22のスリット20Aが複数のVT特性を備えていると、複数のVT特性は重畳されてその包絡線で表されるVT特性を有するものとなる。そのため、第1実施形態の液晶表示パネル10Aによれば、視野角特性が良好で色付きの生じ難い液晶表示パネルを得ることができるようになる。
なお、上述したように、延伸方向が異なる2つのスリットを「く」字状に連結すると、延伸方向が異なる2つのスリットによってそれぞれ形成される液晶分子の配向方向が異なるドメインが互いに行き来できる。そのため、延伸方向が異なる2つのスリットを「く」字状に連結したFFSモードの液晶表示パネルでは、押し試験等を行った際にそのまま異常配向領域が片側に残るリップル不良が発生することがある。第1実施形態の液晶表示パネル10Aにおいても、スリット20Aの直線部分20a1と延伸部分20a2、20a3とはそれぞれ液晶分子の配向方向が異なるドメインが生じる。しかしながら、第1実施形態の液晶表示パネル10Aにおいては、スリット20Aの直線部分20a1と延伸部分20a2、20a3とでは平面視で電界の方向に変化があるため、配向方向が異なるドメインが互いに行き来し難くなる。
しかも、第1実施形態の液晶表示パネル10Aにおいては、ラビング方向Rは、液晶表示パネル10Aに形成されている信号線13に沿った方向とされている。カラー表示用の液晶表示パネルにおいては、通常、1サブ画素は縦長の長方形となる。FFSモードの液晶表示パネルにおいては、上電極に形成されているスリットの両端部では所望する方向の電界を形成することができないため、スリット両端部の数が多いと開口率が低下する。そこで、第1実施形態の液晶表示パネル10Aにおいては、ラビング方向Rが液晶表示パネル10Aに形成されている信号線13に沿った方向とされている上、スリット20Aの直線部20a1がラビング方向Rと平行となるようにしている。このような第1実施形態の液晶表示パネル10Aによれば、正常な表示ができないスリット20Aの閉鎖端部の面積を減少させつつ、面積効率よく上電極22にスリット20Aを形成することができるので、開口率が大きく明るい表示が可能な液晶表示パネルが得られる。
なお、第1実施形態の液晶表示パネル10Aとしては、下電極18が層間膜16の表面に形成されている例を示した。このように下電極18が層間膜16の表面に形成されていると、FFSモードの液晶表示パネル10Aを構成する下電極18、絶縁膜19及び上電極22が全て層間膜16上に配置されることになる。そのため、第1実施形態の液晶表示パネル10Aによれば、各画素領域の広い面積範囲に渉って上電極22及び下電極16を配置することができるようになるので、開口率がより大きく明るい表示が可能なFFSモードの液晶表示パネル10Aが得られる。この層間膜16の形成材料としては、透明性が良好で、電気絶縁性に優れた感光性又は非感光性の樹脂材料を適宜選択して使用することができる。
[第2実施形態]
第1実施形態の液晶表示パネル10Aでは、ラビング方向Rが液晶表示パネル10Aに形成されている信号線13に沿った方向としたものを示した。しかしながら、本発明の液晶表示パネルは、ラビング方向Rが走査線12に沿って延伸しているものも同様の作用効果を奏する。このようなスリット20Bの直線状のスリット20b1が走査線12に沿って延伸している第2実施形態の液晶表示パネル10Bを図5に示した。この第2実施形態の液晶表示パネル10Bにおいては、スリット20Bはラビング方向Rと平行に延伸する直線部分20b1と、その直線部分20b1の両端からそれぞれ互いに対称に離間する方向に延伸する延伸部分20b2、20b3とを備えている。なお、第2実施形態の液晶表示パネル10Bは、スリット20Bの構成が相違するのみで他の構成部分は第1実施形態の液晶表示パネル10Aと同様である。そのため、図5においては、第1実施形態の液晶表示パネル10Aと同一構成部分には同一の参照符号を付与してその詳細な説明は省略する。この第2実施形態の液晶表示パネル10Bにおいても、実質的に第1実施形態の液晶表示パネル10Aと同様の効果を奏することができる。
第1実施形態のFFSモードの液晶表示パネルの1サブ画素分の平面図である。 図2Aは図1のIIA−IIA線に沿った断面図であり、図2Bは図1のIIB−IIB線に沿った断面図である。 図1に示す1つのスリットの各部の形状関係を示す模式図である。 スリットと電圧無印加状態における液晶配向方向とのなす角とVT特性との関係を表すグラフである。 第2実施形態の液晶表示パネルの1サブ画素分の平面図である。
符号の説明
10A、10B:液晶表示パネル 11:第1の透明基板 12:走査線 13:信号線 14:ゲート絶縁膜 15:パッシベーション膜 16:層間膜 17:コンタクトホール 18:下電極18:絶縁膜 20A、20B:スリット 20a1、20b1:スリットの直線部分 20a2、20a3、20b2、20b3:スリットの延伸部分 22:上電極 24:第1の配向膜 25:第2の透明基板 26:遮光膜 27:カラーフィルタ層 28:オーバーコート層 29:第2の配向膜 30:液晶 31:第1の偏光板 32:第2の偏光板 AR:アレイ基板 CF:カラーフィルタ基板

Claims (5)

  1. 液晶層を挟持して対向配置された一対の基板を有し、前記一対の基板の一方には、複数のスリットが形成された上電極と、前記上電極と絶縁膜を介して前記基板側に形成された下電極と、前記上電極と絶縁膜の表面を被覆するように形成された配向膜と、を備えた液晶表示パネルにおいて、
    前記複数のスリットのそれぞれは、電圧無印加状態における液晶配向方向と平行に形成された直線部分と、
    前記直線部分と直交する方向を軸として前記直線部分の両端からそれぞれ互いに対称に離間する方向に延伸する延伸部分と、
    を備えていることを特徴とする液晶表示パネル。
  2. 前記スリットのそれぞれは、前記直線部分の長さが5μm〜10μmであり、前記延伸部分の長さは前記直線部分の長さよりも長いことを特徴とする請求項1に記載の液晶表示パネル。
  3. 前記スリットの直線部分と前記延伸部分とのなす鋭角部分の角度は15°〜25°であることを特徴とする請求項1に記載の液晶表示パネル。
  4. 前記電圧無印加状態における液晶配向方向は、前記液晶表示パネルに形成されている信号線の延在方向であることを特徴とする請求項1に記載の液晶表示パネル。
  5. 前記下電極は、前記基板に形成された層間膜の表面に形成されていることを特徴とする請求項1〜4のいずれかに記載の液晶表示パネル。
JP2008177487A 2008-07-08 2008-07-08 液晶表示パネル Active JP5246758B2 (ja)

Priority Applications (1)

Application Number Priority Date Filing Date Title
JP2008177487A JP5246758B2 (ja) 2008-07-08 2008-07-08 液晶表示パネル

Applications Claiming Priority (1)

Application Number Priority Date Filing Date Title
JP2008177487A JP5246758B2 (ja) 2008-07-08 2008-07-08 液晶表示パネル

Publications (2)

Publication Number Publication Date
JP2010019873A true JP2010019873A (ja) 2010-01-28
JP5246758B2 JP5246758B2 (ja) 2013-07-24

Family

ID=41704879

Family Applications (1)

Application Number Title Priority Date Filing Date
JP2008177487A Active JP5246758B2 (ja) 2008-07-08 2008-07-08 液晶表示パネル

Country Status (1)

Country Link
JP (1) JP5246758B2 (ja)

Cited By (3)

* Cited by examiner, † Cited by third party
Publication number Priority date Publication date Assignee Title
US9207503B2 (en) 2013-04-25 2015-12-08 Japan Display Inc. Liquid crystal display device
US9946116B2 (en) 2011-10-07 2018-04-17 Samsung Display Co., Ltd. Liquid crystal display device having reduced color shift
JP2021170141A (ja) * 2016-11-30 2021-10-28 株式会社ジャパンディスプレイ 液晶表示装置

Citations (7)

* Cited by examiner, † Cited by third party
Publication number Priority date Publication date Assignee Title
JP2000356786A (ja) * 1999-06-16 2000-12-26 Nec Corp 液晶表示装置
JP2002182230A (ja) * 2000-10-10 2002-06-26 Hyundai Display Technology Inc フリンジフィールドスイッチングモード液晶表示装置
JP2003195330A (ja) * 2001-12-27 2003-07-09 Hitachi Ltd 液晶表示装置
US20050231676A1 (en) * 2004-04-20 2005-10-20 Innolux Display Corp. Fringe field switching mode liquid crystal display device for reducing color shift
JP2007034151A (ja) * 2005-07-29 2007-02-08 Hitachi Displays Ltd 液晶表示装置
JP2007047797A (ja) * 2005-08-09 2007-02-22 Samsung Electronics Co Ltd 薄膜トランジスタ表示板
US20080151169A1 (en) * 2006-12-22 2008-06-26 Lg.Philips Lcd Co., Ltd. Liquid crystal display device and method of fabricating the same

Patent Citations (7)

* Cited by examiner, † Cited by third party
Publication number Priority date Publication date Assignee Title
JP2000356786A (ja) * 1999-06-16 2000-12-26 Nec Corp 液晶表示装置
JP2002182230A (ja) * 2000-10-10 2002-06-26 Hyundai Display Technology Inc フリンジフィールドスイッチングモード液晶表示装置
JP2003195330A (ja) * 2001-12-27 2003-07-09 Hitachi Ltd 液晶表示装置
US20050231676A1 (en) * 2004-04-20 2005-10-20 Innolux Display Corp. Fringe field switching mode liquid crystal display device for reducing color shift
JP2007034151A (ja) * 2005-07-29 2007-02-08 Hitachi Displays Ltd 液晶表示装置
JP2007047797A (ja) * 2005-08-09 2007-02-22 Samsung Electronics Co Ltd 薄膜トランジスタ表示板
US20080151169A1 (en) * 2006-12-22 2008-06-26 Lg.Philips Lcd Co., Ltd. Liquid crystal display device and method of fabricating the same

Cited By (6)

* Cited by examiner, † Cited by third party
Publication number Priority date Publication date Assignee Title
US9946116B2 (en) 2011-10-07 2018-04-17 Samsung Display Co., Ltd. Liquid crystal display device having reduced color shift
US9207503B2 (en) 2013-04-25 2015-12-08 Japan Display Inc. Liquid crystal display device
US9664962B2 (en) 2013-04-25 2017-05-30 Japan Display Inc. Liquid crystal display device
JP2021170141A (ja) * 2016-11-30 2021-10-28 株式会社ジャパンディスプレイ 液晶表示装置
US11860487B2 (en) 2016-11-30 2024-01-02 Japan Display Inc. Liquid crystal display device
US12169337B2 (en) 2016-11-30 2024-12-17 Japan Display Inc. Liquid crystal display device

Also Published As

Publication number Publication date
JP5246758B2 (ja) 2013-07-24

Similar Documents

Publication Publication Date Title
US12164200B2 (en) Liquid crystal display panel
JP5513751B2 (ja) 液晶表示パネル
JP5301251B2 (ja) 液晶表示装置
JP5492586B2 (ja) 液晶表示パネル及び電子機器
US9151994B2 (en) Display panel
JP2010014847A (ja) 液晶表示パネル
JP2009128905A (ja) 液晶ディスプレイ装置
KR101592917B1 (ko) 횡전계형 액정표시장치
JP5127485B2 (ja) 液晶表示装置
JP5513859B2 (ja) 液晶表示パネル
JP2009186869A (ja) 液晶表示装置
JP5132341B2 (ja) 液晶表示パネル
TWI518422B (zh) 顯示面板
JP5660765B2 (ja) 液晶表示パネル
JP5339351B2 (ja) 液晶表示パネル
US8953134B2 (en) Liquid crystal display panel
JP5143583B2 (ja) 液晶表示パネル
KR101897744B1 (ko) 횡전계형 액정표시장치
JP2019128429A (ja) 液晶表示装置
JP5246758B2 (ja) 液晶表示パネル
JP2010002674A (ja) 液晶表示パネル
JP5207946B2 (ja) 液晶表示パネル
WO2015012092A1 (ja) 液晶表示装置
JP5202938B2 (ja) 液晶表示装置
JP5376425B2 (ja) 液晶表示パネル

Legal Events

Date Code Title Description
A711 Notification of change in applicant

Free format text: JAPANESE INTERMEDIATE CODE: A711

Effective date: 20100526

RD02 Notification of acceptance of power of attorney

Free format text: JAPANESE INTERMEDIATE CODE: A7422

Effective date: 20100526

A621 Written request for application examination

Free format text: JAPANESE INTERMEDIATE CODE: A621

Effective date: 20110516

A711 Notification of change in applicant

Free format text: JAPANESE INTERMEDIATE CODE: A711

Effective date: 20120330

A977 Report on retrieval

Free format text: JAPANESE INTERMEDIATE CODE: A971007

Effective date: 20121017

A131 Notification of reasons for refusal

Free format text: JAPANESE INTERMEDIATE CODE: A131

Effective date: 20121211

A521 Request for written amendment filed

Free format text: JAPANESE INTERMEDIATE CODE: A523

Effective date: 20130204

TRDD Decision of grant or rejection written
A01 Written decision to grant a patent or to grant a registration (utility model)

Free format text: JAPANESE INTERMEDIATE CODE: A01

Effective date: 20130312

RD03 Notification of appointment of power of attorney

Free format text: JAPANESE INTERMEDIATE CODE: A7423

Effective date: 20130328

A61 First payment of annual fees (during grant procedure)

Free format text: JAPANESE INTERMEDIATE CODE: A61

Effective date: 20130404

R150 Certificate of patent or registration of utility model

Ref document number: 5246758

Country of ref document: JP

Free format text: JAPANESE INTERMEDIATE CODE: R150

Free format text: JAPANESE INTERMEDIATE CODE: R150

FPAY Renewal fee payment (event date is renewal date of database)

Free format text: PAYMENT UNTIL: 20160419

Year of fee payment: 3

R250 Receipt of annual fees

Free format text: JAPANESE INTERMEDIATE CODE: R250

R250 Receipt of annual fees

Free format text: JAPANESE INTERMEDIATE CODE: R250

R250 Receipt of annual fees

Free format text: JAPANESE INTERMEDIATE CODE: R250

R250 Receipt of annual fees

Free format text: JAPANESE INTERMEDIATE CODE: R250

R250 Receipt of annual fees

Free format text: JAPANESE INTERMEDIATE CODE: R250

R250 Receipt of annual fees

Free format text: JAPANESE INTERMEDIATE CODE: R250

S111 Request for change of ownership or part of ownership

Free format text: JAPANESE INTERMEDIATE CODE: R313111

R350 Written notification of registration of transfer

Free format text: JAPANESE INTERMEDIATE CODE: R350

R250 Receipt of annual fees

Free format text: JAPANESE INTERMEDIATE CODE: R250

R250 Receipt of annual fees

Free format text: JAPANESE INTERMEDIATE CODE: R250

R250 Receipt of annual fees

Free format text: JAPANESE INTERMEDIATE CODE: R250

R250 Receipt of annual fees

Free format text: JAPANESE INTERMEDIATE CODE: R250

S111 Request for change of ownership or part of ownership

Free format text: JAPANESE INTERMEDIATE CODE: R313113

R350 Written notification of registration of transfer

Free format text: JAPANESE INTERMEDIATE CODE: R350