JP2010019379A - 筒状粘弾性ダンパーの製造方法 - Google Patents
筒状粘弾性ダンパーの製造方法 Download PDFInfo
- Publication number
- JP2010019379A JP2010019379A JP2008181824A JP2008181824A JP2010019379A JP 2010019379 A JP2010019379 A JP 2010019379A JP 2008181824 A JP2008181824 A JP 2008181824A JP 2008181824 A JP2008181824 A JP 2008181824A JP 2010019379 A JP2010019379 A JP 2010019379A
- Authority
- JP
- Japan
- Prior art keywords
- cylindrical
- viscoelastic
- viscoelastic body
- cylinder member
- sheet
- Prior art date
- Legal status (The legal status is an assumption and is not a legal conclusion. Google has not performed a legal analysis and makes no representation as to the accuracy of the status listed.)
- Granted
Links
- 238000004519 manufacturing process Methods 0.000 title claims abstract description 22
- 238000000034 method Methods 0.000 title claims abstract description 12
- 239000011162 core material Substances 0.000 claims abstract description 45
- 239000011344 liquid material Substances 0.000 claims abstract description 20
- 230000001070 adhesive effect Effects 0.000 claims abstract description 19
- 238000001704 evaporation Methods 0.000 claims abstract description 5
- NIXOWILDQLNWCW-UHFFFAOYSA-N acrylic acid group Chemical group C(C=C)(=O)O NIXOWILDQLNWCW-UHFFFAOYSA-N 0.000 claims description 34
- 239000000853 adhesive Substances 0.000 claims description 17
- LFQSCWFLJHTTHZ-UHFFFAOYSA-N Ethanol Chemical compound CCO LFQSCWFLJHTTHZ-UHFFFAOYSA-N 0.000 claims description 12
- 238000006116 polymerization reaction Methods 0.000 claims description 6
- 238000010521 absorption reaction Methods 0.000 abstract description 3
- 238000004804 winding Methods 0.000 abstract description 3
- 229910000831 Steel Inorganic materials 0.000 description 30
- 239000010959 steel Substances 0.000 description 30
- 238000012360 testing method Methods 0.000 description 30
- 239000000178 monomer Substances 0.000 description 27
- 239000000463 material Substances 0.000 description 24
- NIXOWILDQLNWCW-UHFFFAOYSA-M Acrylate Chemical compound [O-]C(=O)C=C NIXOWILDQLNWCW-UHFFFAOYSA-M 0.000 description 22
- 125000000217 alkyl group Chemical group 0.000 description 13
- 239000007788 liquid Substances 0.000 description 11
- 229920005989 resin Polymers 0.000 description 11
- 239000011347 resin Substances 0.000 description 11
- 229920000642 polymer Polymers 0.000 description 10
- -1 acryl Chemical group 0.000 description 9
- 238000012719 thermal polymerization Methods 0.000 description 9
- 239000003190 viscoelastic substance Substances 0.000 description 9
- 239000000203 mixture Substances 0.000 description 8
- JOYRKODLDBILNP-UHFFFAOYSA-N Ethyl urethane Chemical compound CCOC(N)=O JOYRKODLDBILNP-UHFFFAOYSA-N 0.000 description 7
- 238000013016 damping Methods 0.000 description 7
- 125000004432 carbon atom Chemical group C* 0.000 description 6
- 125000003178 carboxy group Chemical group [H]OC(*)=O 0.000 description 6
- 229910052751 metal Inorganic materials 0.000 description 6
- 239000002184 metal Substances 0.000 description 6
- 230000009466 transformation Effects 0.000 description 6
- SMZOUWXMTYCWNB-UHFFFAOYSA-N 2-(2-methoxy-5-methylphenyl)ethanamine Chemical compound COC1=CC=C(C)C=C1CCN SMZOUWXMTYCWNB-UHFFFAOYSA-N 0.000 description 5
- RSWGJHLUYNHPMX-UHFFFAOYSA-N Abietic-Saeure Natural products C12CCC(C(C)C)=CC2=CCC2C1(C)CCCC2(C)C(O)=O RSWGJHLUYNHPMX-UHFFFAOYSA-N 0.000 description 5
- KHPCPRHQVVSZAH-HUOMCSJISA-N Rosin Natural products O(C/C=C/c1ccccc1)[C@H]1[C@H](O)[C@@H](O)[C@@H](O)[C@@H](CO)O1 KHPCPRHQVVSZAH-HUOMCSJISA-N 0.000 description 5
- 239000012295 chemical reaction liquid Substances 0.000 description 5
- 238000012790 confirmation Methods 0.000 description 5
- 230000000737 periodic effect Effects 0.000 description 5
- 229920000058 polyacrylate Polymers 0.000 description 5
- 239000003505 polymerization initiator Substances 0.000 description 5
- 230000009467 reduction Effects 0.000 description 5
- 230000004044 response Effects 0.000 description 5
- 238000003860 storage Methods 0.000 description 5
- KHPCPRHQVVSZAH-UHFFFAOYSA-N trans-cinnamyl beta-D-glucopyranoside Natural products OC1C(O)C(O)C(CO)OC1OCC=CC1=CC=CC=C1 KHPCPRHQVVSZAH-UHFFFAOYSA-N 0.000 description 5
- 125000000391 vinyl group Chemical group [H]C([*])=C([H])[H] 0.000 description 5
- 229920002554 vinyl polymer Polymers 0.000 description 5
- FIHBHSQYSYVZQE-UHFFFAOYSA-N 6-prop-2-enoyloxyhexyl prop-2-enoate Chemical compound C=CC(=O)OCCCCCCOC(=O)C=C FIHBHSQYSYVZQE-UHFFFAOYSA-N 0.000 description 4
- CERQOIWHTDAKMF-UHFFFAOYSA-N Methacrylic acid Chemical compound CC(=C)C(O)=O CERQOIWHTDAKMF-UHFFFAOYSA-N 0.000 description 4
- 238000004364 calculation method Methods 0.000 description 4
- 229920001971 elastomer Polymers 0.000 description 4
- 239000000806 elastomer Substances 0.000 description 4
- 229920006332 epoxy adhesive Polymers 0.000 description 4
- 238000005065 mining Methods 0.000 description 4
- KWVGIHKZDCUPEU-UHFFFAOYSA-N 2,2-dimethoxy-2-phenylacetophenone Chemical compound C=1C=CC=CC=1C(OC)(OC)C(=O)C1=CC=CC=C1 KWVGIHKZDCUPEU-UHFFFAOYSA-N 0.000 description 3
- GOXQRTZXKQZDDN-UHFFFAOYSA-N 2-Ethylhexyl acrylate Chemical compound CCCCC(CC)COC(=O)C=C GOXQRTZXKQZDDN-UHFFFAOYSA-N 0.000 description 3
- OKKJLVBELUTLKV-UHFFFAOYSA-N Methanol Chemical compound OC OKKJLVBELUTLKV-UHFFFAOYSA-N 0.000 description 3
- WHNWPMSKXPGLAX-UHFFFAOYSA-N N-Vinyl-2-pyrrolidone Chemical compound C=CN1CCCC1=O WHNWPMSKXPGLAX-UHFFFAOYSA-N 0.000 description 3
- 239000011324 bead Substances 0.000 description 3
- 238000006243 chemical reaction Methods 0.000 description 3
- 239000003822 epoxy resin Substances 0.000 description 3
- 238000011156 evaluation Methods 0.000 description 3
- 239000003999 initiator Substances 0.000 description 3
- FQPSGWSUVKBHSU-UHFFFAOYSA-N methacrylamide Chemical compound CC(=C)C(N)=O FQPSGWSUVKBHSU-UHFFFAOYSA-N 0.000 description 3
- ZDHCZVWCTKTBRY-UHFFFAOYSA-N omega-Hydroxydodecanoic acid Natural products OCCCCCCCCCCCC(O)=O ZDHCZVWCTKTBRY-UHFFFAOYSA-N 0.000 description 3
- 229920000647 polyepoxide Polymers 0.000 description 3
- 230000000379 polymerizing effect Effects 0.000 description 3
- 150000003505 terpenes Chemical class 0.000 description 3
- 235000007586 terpenes Nutrition 0.000 description 3
- IANQTJSKSUMEQM-UHFFFAOYSA-N 1-benzofuran Chemical compound C1=CC=C2OC=CC2=C1 IANQTJSKSUMEQM-UHFFFAOYSA-N 0.000 description 2
- CYUZOYPRAQASLN-UHFFFAOYSA-N 3-prop-2-enoyloxypropanoic acid Chemical compound OC(=O)CCOC(=O)C=C CYUZOYPRAQASLN-UHFFFAOYSA-N 0.000 description 2
- VTYYLEPIZMXCLO-UHFFFAOYSA-L Calcium carbonate Chemical compound [Ca+2].[O-]C([O-])=O VTYYLEPIZMXCLO-UHFFFAOYSA-L 0.000 description 2
- 239000004606 Fillers/Extenders Substances 0.000 description 2
- YIVJZNGAASQVEM-UHFFFAOYSA-N Lauroyl peroxide Chemical compound CCCCCCCCCCCC(=O)OOC(=O)CCCCCCCCCCC YIVJZNGAASQVEM-UHFFFAOYSA-N 0.000 description 2
- 239000004677 Nylon Substances 0.000 description 2
- 125000003118 aryl group Chemical group 0.000 description 2
- CQEYYJKEWSMYFG-UHFFFAOYSA-N butyl acrylate Chemical compound CCCCOC(=O)C=C CQEYYJKEWSMYFG-UHFFFAOYSA-N 0.000 description 2
- 230000000052 comparative effect Effects 0.000 description 2
- 238000002425 crystallisation Methods 0.000 description 2
- 230000008025 crystallization Effects 0.000 description 2
- 239000000945 filler Substances 0.000 description 2
- 230000009477 glass transition Effects 0.000 description 2
- 238000002156 mixing Methods 0.000 description 2
- 229920001778 nylon Polymers 0.000 description 2
- 150000002924 oxiranes Chemical class 0.000 description 2
- 230000002093 peripheral effect Effects 0.000 description 2
- 239000011342 resin composition Substances 0.000 description 2
- 239000007787 solid Substances 0.000 description 2
- 229920001187 thermosetting polymer Polymers 0.000 description 2
- 239000002562 thickening agent Substances 0.000 description 2
- 239000013008 thixotropic agent Substances 0.000 description 2
- DTGKSKDOIYIVQL-WEDXCCLWSA-N (+)-borneol Chemical group C1C[C@@]2(C)[C@@H](O)C[C@@H]1C2(C)C DTGKSKDOIYIVQL-WEDXCCLWSA-N 0.000 description 1
- NALFRYPTRXKZPN-UHFFFAOYSA-N 1,1-bis(tert-butylperoxy)-3,3,5-trimethylcyclohexane Chemical compound CC1CC(C)(C)CC(OOC(C)(C)C)(OOC(C)(C)C)C1 NALFRYPTRXKZPN-UHFFFAOYSA-N 0.000 description 1
- MSAHTMIQULFMRG-UHFFFAOYSA-N 1,2-diphenyl-2-propan-2-yloxyethanone Chemical compound C=1C=CC=CC=1C(OC(C)C)C(=O)C1=CC=CC=C1 MSAHTMIQULFMRG-UHFFFAOYSA-N 0.000 description 1
- UICXTANXZJJIBC-UHFFFAOYSA-N 1-(1-hydroperoxycyclohexyl)peroxycyclohexan-1-ol Chemical compound C1CCCCC1(O)OOC1(OO)CCCCC1 UICXTANXZJJIBC-UHFFFAOYSA-N 0.000 description 1
- NQUXRXBRYDZZDL-UHFFFAOYSA-N 1-(2-prop-2-enoyloxyethyl)cyclohexane-1,2-dicarboxylic acid Chemical compound OC(=O)C1CCCCC1(CCOC(=O)C=C)C(O)=O NQUXRXBRYDZZDL-UHFFFAOYSA-N 0.000 description 1
- XLPJNCYCZORXHG-UHFFFAOYSA-N 1-morpholin-4-ylprop-2-en-1-one Chemical compound C=CC(=O)N1CCOCC1 XLPJNCYCZORXHG-UHFFFAOYSA-N 0.000 description 1
- LZHUBCULTHIFNO-UHFFFAOYSA-N 2,4-dihydroxy-1,5-bis[4-(2-hydroxyethoxy)phenyl]-2,4-dimethylpentan-3-one Chemical compound C=1C=C(OCCO)C=CC=1CC(C)(O)C(=O)C(O)(C)CC1=CC=C(OCCO)C=C1 LZHUBCULTHIFNO-UHFFFAOYSA-N 0.000 description 1
- IEQWWMKDFZUMMU-UHFFFAOYSA-N 2-(2-prop-2-enoyloxyethyl)butanedioic acid Chemical compound OC(=O)CC(C(O)=O)CCOC(=O)C=C IEQWWMKDFZUMMU-UHFFFAOYSA-N 0.000 description 1
- JAHNSTQSQJOJLO-UHFFFAOYSA-N 2-(3-fluorophenyl)-1h-imidazole Chemical compound FC1=CC=CC(C=2NC=CN=2)=C1 JAHNSTQSQJOJLO-UHFFFAOYSA-N 0.000 description 1
- OEPOKWHJYJXUGD-UHFFFAOYSA-N 2-(3-phenylmethoxyphenyl)-1,3-thiazole-4-carbaldehyde Chemical compound O=CC1=CSC(C=2C=C(OCC=3C=CC=CC=3)C=CC=2)=N1 OEPOKWHJYJXUGD-UHFFFAOYSA-N 0.000 description 1
- GJKGAPPUXSSCFI-UHFFFAOYSA-N 2-Hydroxy-4'-(2-hydroxyethoxy)-2-methylpropiophenone Chemical compound CC(C)(O)C(=O)C1=CC=C(OCCO)C=C1 GJKGAPPUXSSCFI-UHFFFAOYSA-N 0.000 description 1
- KMNCBSZOIQAUFX-UHFFFAOYSA-N 2-ethoxy-1,2-diphenylethanone Chemical compound C=1C=CC=CC=1C(OCC)C(=O)C1=CC=CC=C1 KMNCBSZOIQAUFX-UHFFFAOYSA-N 0.000 description 1
- NLGDWWCZQDIASO-UHFFFAOYSA-N 2-hydroxy-1-(7-oxabicyclo[4.1.0]hepta-1,3,5-trien-2-yl)-2-phenylethanone Chemical class OC(C(=O)c1cccc2Oc12)c1ccccc1 NLGDWWCZQDIASO-UHFFFAOYSA-N 0.000 description 1
- YRNDGUSDBCARGC-UHFFFAOYSA-N 2-methoxyacetophenone Chemical compound COCC(=O)C1=CC=CC=C1 YRNDGUSDBCARGC-UHFFFAOYSA-N 0.000 description 1
- RIWRBSMFKVOJMN-UHFFFAOYSA-N 2-methyl-1-phenylpropan-2-ol Chemical compound CC(C)(O)CC1=CC=CC=C1 RIWRBSMFKVOJMN-UHFFFAOYSA-N 0.000 description 1
- DXPPIEDUBFUSEZ-UHFFFAOYSA-N 6-methylheptyl prop-2-enoate Chemical compound CC(C)CCCCCOC(=O)C=C DXPPIEDUBFUSEZ-UHFFFAOYSA-N 0.000 description 1
- HRPVXLWXLXDGHG-UHFFFAOYSA-N Acrylamide Chemical compound NC(=O)C=C HRPVXLWXLXDGHG-UHFFFAOYSA-N 0.000 description 1
- NLHHRLWOUZZQLW-UHFFFAOYSA-N Acrylonitrile Chemical compound C=CC#N NLHHRLWOUZZQLW-UHFFFAOYSA-N 0.000 description 1
- IJGRMHOSHXDMSA-UHFFFAOYSA-N Atomic nitrogen Chemical compound N#N IJGRMHOSHXDMSA-UHFFFAOYSA-N 0.000 description 1
- 239000004342 Benzoyl peroxide Substances 0.000 description 1
- OMPJBNCRMGITSC-UHFFFAOYSA-N Benzoylperoxide Chemical compound C=1C=CC=CC=1C(=O)OOC(=O)C1=CC=CC=C1 OMPJBNCRMGITSC-UHFFFAOYSA-N 0.000 description 1
- 239000004593 Epoxy Substances 0.000 description 1
- UFHFLCQGNIYNRP-UHFFFAOYSA-N Hydrogen Chemical compound [H][H] UFHFLCQGNIYNRP-UHFFFAOYSA-N 0.000 description 1
- CERQOIWHTDAKMF-UHFFFAOYSA-M Methacrylate Chemical compound CC(=C)C([O-])=O CERQOIWHTDAKMF-UHFFFAOYSA-M 0.000 description 1
- GYCMBHHDWRMZGG-UHFFFAOYSA-N Methylacrylonitrile Chemical compound CC(=C)C#N GYCMBHHDWRMZGG-UHFFFAOYSA-N 0.000 description 1
- OFOBLEOULBTSOW-UHFFFAOYSA-N Propanedioic acid Natural products OC(=O)CC(O)=O OFOBLEOULBTSOW-UHFFFAOYSA-N 0.000 description 1
- 229920000297 Rayon Polymers 0.000 description 1
- VYPSYNLAJGMNEJ-UHFFFAOYSA-N Silicium dioxide Chemical compound O=[Si]=O VYPSYNLAJGMNEJ-UHFFFAOYSA-N 0.000 description 1
- XUIMIQQOPSSXEZ-UHFFFAOYSA-N Silicon Chemical compound [Si] XUIMIQQOPSSXEZ-UHFFFAOYSA-N 0.000 description 1
- KDYFGRWQOYBRFD-UHFFFAOYSA-N Succinic acid Natural products OC(=O)CCC(O)=O KDYFGRWQOYBRFD-UHFFFAOYSA-N 0.000 description 1
- GWEVSGVZZGPLCZ-UHFFFAOYSA-N Titan oxide Chemical compound O=[Ti]=O GWEVSGVZZGPLCZ-UHFFFAOYSA-N 0.000 description 1
- 150000008062 acetophenones Chemical class 0.000 description 1
- 150000001252 acrylic acid derivatives Chemical class 0.000 description 1
- 239000003522 acrylic cement Substances 0.000 description 1
- 229920000800 acrylic rubber Polymers 0.000 description 1
- 239000000654 additive Substances 0.000 description 1
- 239000002390 adhesive tape Substances 0.000 description 1
- 125000002723 alicyclic group Chemical group 0.000 description 1
- 125000001931 aliphatic group Chemical group 0.000 description 1
- 229910052782 aluminium Inorganic materials 0.000 description 1
- XAGFODPZIPBFFR-UHFFFAOYSA-N aluminium Chemical compound [Al] XAGFODPZIPBFFR-UHFFFAOYSA-N 0.000 description 1
- PNEYBMLMFCGWSK-UHFFFAOYSA-N aluminium oxide Inorganic materials [O-2].[O-2].[O-2].[Al+3].[Al+3] PNEYBMLMFCGWSK-UHFFFAOYSA-N 0.000 description 1
- 235000019400 benzoyl peroxide Nutrition 0.000 description 1
- 230000005587 bubbling Effects 0.000 description 1
- 229920005549 butyl rubber Polymers 0.000 description 1
- 229910000019 calcium carbonate Inorganic materials 0.000 description 1
- 239000000919 ceramic Substances 0.000 description 1
- 239000003153 chemical reaction reagent Substances 0.000 description 1
- 239000004927 clay Substances 0.000 description 1
- 229910052570 clay Inorganic materials 0.000 description 1
- 239000008119 colloidal silica Substances 0.000 description 1
- 238000013329 compounding Methods 0.000 description 1
- 150000001875 compounds Chemical class 0.000 description 1
- 238000002788 crimping Methods 0.000 description 1
- 238000013461 design Methods 0.000 description 1
- 239000012933 diacyl peroxide Substances 0.000 description 1
- 150000001991 dicarboxylic acids Chemical class 0.000 description 1
- 229910001873 dinitrogen Inorganic materials 0.000 description 1
- 238000006073 displacement reaction Methods 0.000 description 1
- 230000000694 effects Effects 0.000 description 1
- 238000010894 electron beam technology Methods 0.000 description 1
- 238000000295 emission spectrum Methods 0.000 description 1
- 229920005558 epichlorohydrin rubber Polymers 0.000 description 1
- 230000001747 exhibiting effect Effects 0.000 description 1
- 239000000835 fiber Substances 0.000 description 1
- 238000005187 foaming Methods 0.000 description 1
- 239000011521 glass Substances 0.000 description 1
- 125000000623 heterocyclic group Chemical group 0.000 description 1
- 239000012943 hotmelt Substances 0.000 description 1
- 239000001257 hydrogen Substances 0.000 description 1
- 229910052739 hydrogen Inorganic materials 0.000 description 1
- 150000002432 hydroperoxides Chemical class 0.000 description 1
- 238000002347 injection Methods 0.000 description 1
- 239000007924 injection Substances 0.000 description 1
- 238000003780 insertion Methods 0.000 description 1
- 230000037431 insertion Effects 0.000 description 1
- 230000009878 intermolecular interaction Effects 0.000 description 1
- 229920003049 isoprene rubber Polymers 0.000 description 1
- VZCYOOQTPOCHFL-UPHRSURJSA-N maleic acid Chemical compound OC(=O)\C=C/C(O)=O VZCYOOQTPOCHFL-UPHRSURJSA-N 0.000 description 1
- 239000011976 maleic acid Substances 0.000 description 1
- 238000005259 measurement Methods 0.000 description 1
- 238000002844 melting Methods 0.000 description 1
- 230000008018 melting Effects 0.000 description 1
- 125000005641 methacryl group Chemical group 0.000 description 1
- 125000002496 methyl group Chemical group [H]C([H])([H])* 0.000 description 1
- LVHBHZANLOWSRM-UHFFFAOYSA-N methylenebutanedioic acid Natural products OC(=O)CC(=C)C(O)=O LVHBHZANLOWSRM-UHFFFAOYSA-N 0.000 description 1
- 150000002763 monocarboxylic acids Chemical class 0.000 description 1
- 125000004108 n-butyl group Chemical group [H]C([H])([H])C([H])([H])C([H])([H])C([H])([H])* 0.000 description 1
- XNGIFLGASWRNHJ-UHFFFAOYSA-N o-dicarboxybenzene Natural products OC(=O)C1=CC=CC=C1C(O)=O XNGIFLGASWRNHJ-UHFFFAOYSA-N 0.000 description 1
- 150000002894 organic compounds Chemical class 0.000 description 1
- 125000000466 oxiranyl group Chemical group 0.000 description 1
- 125000000913 palmityl group Chemical group [H]C([*])([H])C([H])([H])C([H])([H])C([H])([H])C([H])([H])C([H])([H])C([H])([H])C([H])([H])C([H])([H])C([H])([H])C([H])([H])C([H])([H])C([H])([H])C([H])([H])C([H])([H])C([H])([H])[H] 0.000 description 1
- 150000002978 peroxides Chemical class 0.000 description 1
- 125000005634 peroxydicarbonate group Chemical group 0.000 description 1
- 239000003208 petroleum Substances 0.000 description 1
- 239000005011 phenolic resin Substances 0.000 description 1
- 229920000728 polyester Polymers 0.000 description 1
- 229920000036 polyvinylpyrrolidone Polymers 0.000 description 1
- 239000001267 polyvinylpyrrolidone Substances 0.000 description 1
- 235000013855 polyvinylpyrrolidone Nutrition 0.000 description 1
- 239000007870 radical polymerization initiator Substances 0.000 description 1
- 239000002994 raw material Substances 0.000 description 1
- 239000002964 rayon Substances 0.000 description 1
- 230000002787 reinforcement Effects 0.000 description 1
- 230000000452 restraining effect Effects 0.000 description 1
- 238000007142 ring opening reaction Methods 0.000 description 1
- 239000003566 sealing material Substances 0.000 description 1
- 229910052710 silicon Inorganic materials 0.000 description 1
- 239000010703 silicon Substances 0.000 description 1
- 239000004094 surface-active agent Substances 0.000 description 1
- CIHOLLKRGTVIJN-UHFFFAOYSA-N tert‐butyl hydroperoxide Chemical compound CC(C)(C)OO CIHOLLKRGTVIJN-UHFFFAOYSA-N 0.000 description 1
- OGIDPMRJRNCKJF-UHFFFAOYSA-N titanium oxide Inorganic materials [Ti]=O OGIDPMRJRNCKJF-UHFFFAOYSA-N 0.000 description 1
- VZCYOOQTPOCHFL-UHFFFAOYSA-N trans-butenedioic acid Natural products OC(=O)C=CC(O)=O VZCYOOQTPOCHFL-UHFFFAOYSA-N 0.000 description 1
- XLYOFNOQVPJJNP-UHFFFAOYSA-N water Substances O XLYOFNOQVPJJNP-UHFFFAOYSA-N 0.000 description 1
Images
Landscapes
- Vibration Prevention Devices (AREA)
Abstract
【解決手段】筒もしくは柱状の芯材1と、筒状の外筒部材3と、前記芯材1と前記外筒部材3との間に充填された粘弾性体(振動吸収部材)2を含む粘弾性ダンパー10の製造方法であって、筒もしくは柱状の芯材1を用意すること、前記芯材1の周りに接着性を持ったシート状粘弾性体2を、筒状の外筒部材3の内側サイズに適合する外側サイズとなるように巻きつけること、前記芯材1の周りに巻きつけたシート状粘弾性体2の外側表面、及び/又は前記筒状の外筒部材3の内側表面に液状物を塗布すること、前記液状物を塗布した後、前記シート状粘弾性体2を、前記筒状の外筒部材3に挿入すること、前記液状物を蒸発させ又は反応させることにより、前記シート状粘弾性体2と前記外筒部材3との接着性を向上させること、を含む粘弾性ダンパー10の製造方法。
【選択図】図1
Description
筒もしくは柱状の芯材を用意すること、
前記芯材の周りに接着性を持ったシート状粘弾性体を、筒状の外筒部材の内側サイズに適合する外側サイズとなるように巻きつけること、
前記芯材の周りに巻きつけたシート状粘弾性体の外側表面、及び/又は前記筒状の外筒部材の内側表面に液状物を塗布すること、
前記液状物を塗布した後、前記シート状粘弾性体を、前記筒状の外筒部材に挿入すること、
前記液状物を蒸発させ又は反応させることにより、前記シート状粘弾性体と前記外筒部材との接着性を向上させること、
を含む、粘弾性ダンパーの製造方法を提供する。
このような粘弾性ダンパーは、筒もしくは柱状の芯材を用意し、その周りに接着性を持ったシート状粘弾性体を、筒状の外筒部材の内側サイズに適合する外側サイズとなるように巻きつけ、この芯材の周りに巻きつけたシート状粘弾性体の外側表面、及び/又は前記筒状の外筒部材の内側表面に液状物をを塗布し、前記液状物を塗布した後、前記シート状粘弾性体を、前記筒状の外筒部材に挿入し、その液状物を蒸発させ又は反応させることにより、シート状粘弾性体と前記外筒部材との接着性を向上させることを含む、方法によって製造される。
棒状部材の鋼棒(材質SS400、直径16mm、長さ230mm)を芯にしてそのまわりにアクリル系粘弾性体シート(住友スリーエム社製 SJ−2105 スコッチダンプ粘弾性ポリマー、1.7mm厚さ、140mm幅)を巻き付けて、直径約36mmの円柱物を得た。円柱物で、アクリル系粘弾性体シートの巻き終わりの端部はシートの厚さ分の段差が生じた。
なお、IOAはイソオクチルアクリレート(3M社製)であり、AAはアクリル酸(東亜合成株式会社製)であり、HDDAは1,6−ヘキサンジオールジアクリレート(共栄社化学株式会社製 ライトアクリレートTM1, 6HX-A)であり、パーロイルTMLはジラウロイルパーオキサイド(日油株式会社製)である。
IOA 87.5質量部、AA 12.5質量部、光開始剤としてIrgacure 651(CIBA-GEIGY社製、2,2−ジメトキシ−2−フェニルアセトフェノン)0.04質量部を均一になるまでフラスコ中で攪拌し、窒素ガスによるバブリングを行い、光波長300〜400nmかつ351nmに最大発光スペクトルを有する蛍光黒色電球(Sylvania F20T12B)で積算量90mJ/cm2の紫外線を照射し、反応率10%、粘度1,000mPa・sの重合性プレポリマーを作成した。
上述のアクリル系反応液体を円柱物の表面および円筒状部材の内面にうすく塗布した後、円筒状部材の鋼管(材質SS400、外径42.7mm、厚さ3.2mm、長さ150mm)に挿入した。組み立てられた円筒状試験体を熱オーブン内(80℃)にて12時間置いた。外筒部分と内芯部分の間に強固に密着した外観上均一な粘弾性体層が得られた。
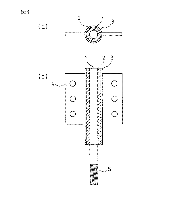
円筒状部材の鋼管として、その側面に接続用プレートがあらかじめ溶接された円筒状部材の鋼管を用いた以外は上記と同様にして円筒状試験体を作製した。図1に示すとおり、円筒形粘弾性ダンパー10において、芯材1としての鋼材と、円筒状部材3との間に粘弾性体2が配置されている。円筒状部材3にはその側面に接続用プレート4が溶接されており、芯材の端部はねじ山5になっている。円筒状部材の接続用プレート4及び芯材のネジ山5を振動試験機に接続した。また、円筒状粘弾性ダンパーを平面積層型ダンパーと比較するために、鋼板(60mmX150mmX厚さ12mm)の両面に粘弾性体シート(50mm×50mm×5mm厚)を貼り付けて、さらに各々の粘弾性体シートの上に、鋼材(60mmX150mmX厚さ9mm)を貼り付けて、2面せん断タイプの平面積層型ダンパーも作製した。
上述の試験により、図2に示すとおりの履歴曲線が得られる。得られた履歴曲線において、Fmax(最大荷重), Umax(最大変形)を求め、ダンパー特性値の計算を行う。半波2(1サイクル目の荷重が負となる部分であって、図中、斜線部分で示している)について評価を行う。
<計算方法>
(1)対象とする半波2における履歴曲線の面積をEDとし、最大変形Umaxを用いて、粘弾性ダンパーの損失剛性K’’を求める。変位=0の点、つまり速度最大の点における荷重がK’’×Umaxで表されることより、K’’は粘弾性ダンパーの粘性を示す指標である。楕円の面積(=エネルギー吸収量)が、
(3)粘弾性ダンパーの粘性と弾性の比を表す損失係数ηを、次式により求める。
実施例1と同様にして、棒状部材の鋼棒にアクリル系粘弾性シートを巻き付けて、直径約30mmの円柱物を得た。上記の円柱物の表面および円筒状の鋼管(材質SS400、外径34mm、厚さ2.3mm、長さ150mm)の内面に、3M社製2液系エポキシ接着剤3MTMスコッチウェルド(Scotch−Weld)TMDP-105クリアを塗布した後、円筒状の鋼管に挿入した。組み立てられた円筒状試験体を室温にて24時間置いた。外筒部分と内芯部分の間に強固に密着した外観上均一な粘弾性体層が得られた。
実施例1と同様にして、粘弾性特性値評価用の円筒状試験体を作製した後、この試験体を振動試験機に取り付けて、温度20℃、振動数1 Hzのもとで、せん断歪50%、100%、200%、300%、350%、400%、450%、500%、550%、600%、650%での振動試験を行った。上記の歪を周期的に加えたときに、応答として周期的な荷重が生じて、局部的にも凸凹のないスムーズな楕円形状を示す、荷重−変形の履歴曲線が得られた。また、各せん断歪での振動試験の後に、再度、せん断歪50%での確認載荷試験を行ったが、大幅な荷重の低下、大幅な粘弾性体の剥離は見られなかった。例として、せん断歪100%での振動試験の結果を図4に示す。
実施例2と同様にして得られた円柱物の表面および円筒状の鋼管(材質SS400、外径34mm、厚さ2.3mm、長さ150mm)の内面に、3M社製2液系ウレタン接着剤3MTMスコッチウェルド(Scotch−Weld)TMDP-620NS BLACKを塗布した後、円筒状の鋼管に挿入した。組み立てられた円筒状試験体を室温にて24時間置いた。外筒部分と内芯部分の間に強固に密着した外観上均一な粘弾性体層が得られた。
本例のサンプルについて、実施例1と同様にして振動試験を行った。上記の歪を周期的に加えたときに、応答として周期的な荷重が生じて、局部的にも凸凹のないスムーズな楕円形状を示す、荷重−変形の履歴曲線が得られた。また、各せん断歪での振動試験の後に、再度、せん断歪50%での確認載荷試験を行ったが、大幅な荷重の低下、大幅な粘弾性体の剥離は見られなかった。例として、せん断歪100%での振動試験の結果を図5に示す。
アルミパンに注がれた和光純薬製試薬一級エタノール約100ml中に、実施例2と同様にして得られた円柱物を浸漬してその表面、および円筒状の鋼管(材質SS400、外径34mm、厚さ2.3mm、長さ150mm)の内面にエタノールを塗布した。その後、円柱物を円筒状の鋼管に挿入した。組み立てられた円筒状試験体を熱オーブン内(80℃)にて15時間置いた。外筒部分と内芯部分の間に強固に密着した外観上均一な粘弾性体層が得られた。
本例のサンプルについて、実施例1と同様にして振動試験を行った。上記の歪を周期的に加えたときに、応答として周期的な荷重が生じて、局部的にも凸凹のないスムーズな楕円形状を示す、荷重−変形の履歴曲線が得られた。また、各せん断歪での振動試験の後に、再度、せん断歪50%での確認載荷試験を行ったが、大幅な荷重の低下、大幅な粘弾性体の剥離は見られなかった。例として、せん断歪100%での振動試験の結果を図6に示す。
アクリル系粘弾性シート(住友スリーエム社製 SJ−2105 スコッチダンプ粘弾性ポリマー、幅20cm、長さ40cm、厚さ1.7mm)をあらかじめ4層に積層した後、幅15mmX長さ40cmのひも状に切断した。そのひも状物を棒状部材の鋼棒(材質SS400、直径16mm、長さ230mm)に端よりなるべく隙間なく巻き付けていき、直径約30mm、長さ約10cmの円柱物を得た。
上述のアクリル系反応液体を円柱物の表面および円筒状の鋼管(材質SS400、外径34mm、厚さ2.3mm、長さ150mm)の内面に塗布した後、円筒状部材の鋼管に挿入した。組み立てられた円筒状試験体を熱オーブン内(80℃)にて15時間置いた。外筒部分と内芯部分の間に強固に密着した外観上均一な粘弾性体層が得られた。
本例のサンプルについて、実施例1と同様にして振動試験を行った。上記の歪を周期的に加えたときに、応答として周期的な荷重が生じて、局部的にも凸凹のないスムーズな楕円形状を示す、荷重−変形の履歴曲線が得られた。また、各せん断歪での振動試験の後に、再度、せん断歪50%での確認載荷試験を行ったが、大幅な荷重の低下、大幅な粘弾性体の剥離は見られなかった。例として、せん断歪100%での振動試験の結果を図7に示す。
円筒状部材の鋼管(内径36mm)の内側に鋼棒(直径16mm)を挿入設置して、底面は鋼板とシーリング材にてシールして筒体を組み立てた。鋼管内部の隙間に、アクリル系反応液を注入した。組み立てられた筒体を熱オーブン内(80℃)にて12時間置いた。
鋼管と鋼棒の間に固体層が得られたが、大きな気泡が多数存在しており、粘弾性体層は均一ではなく、鋼棒を引っ張ると、粘弾性体層は容易に破断された。
実施例1と同様に、鋼棒を芯にしてそのまわりにアクリル系粘弾性体シートを巻き付けて、直径約36mmの円柱物を得た。アクリル系反応液を円柱物の表面に塗布することなく、円柱物を鋼管に挿入しようとしたが、端部で引っ掛かり挿入できなかった。
1 芯材
2 粘弾性体
3 円筒状部材
Claims (4)
- 筒もしくは柱状の芯材と、筒状の外筒部材と、前記芯材と前記外筒部材との間に充填された粘弾性体(振動吸収部材)を含む粘弾性ダンパーの製造方法であって、
筒もしくは柱状の芯材を用意すること、
前記芯材の周りに接着性を持ったシート状粘弾性体を、筒状の外筒部材の内側サイズに適合する外側サイズとなるように巻きつけること、
前記芯材の周りに巻きつけたシート状粘弾性体の外側表面、及び/又は前記筒状の外筒部材の内側表面に液状物を塗布すること、
前記液状物を塗布した後、前記シート状粘弾性体を、前記筒状の外筒部材に挿入すること、
前記液状物を蒸発させ又は反応させることにより、前記シート状粘弾性体と前記外筒部材との接着性を向上させること、
を含む、粘弾性ダンパーの製造方法。 - 前記液状物はアクリル系重合性接着剤であり、前記液状物を重合反応によって硬化させることで前記シート状粘弾性体と前記外筒部材との接着性を向上させる、請求項1に記載の方法。
- 前記液状物はエタノールであり、それを蒸発させることで前記シート状粘弾性体と前記外筒部材との接着性を向上させる、請求項1に記載の方法。
- 請求項1〜3のいずれか1項に記載の方法により製造される、粘弾性ダンパー。
Priority Applications (1)
| Application Number | Priority Date | Filing Date | Title |
|---|---|---|---|
| JP2008181824A JP5784870B2 (ja) | 2008-07-11 | 2008-07-11 | 筒状粘弾性ダンパーの製造方法 |
Applications Claiming Priority (1)
| Application Number | Priority Date | Filing Date | Title |
|---|---|---|---|
| JP2008181824A JP5784870B2 (ja) | 2008-07-11 | 2008-07-11 | 筒状粘弾性ダンパーの製造方法 |
Publications (2)
| Publication Number | Publication Date |
|---|---|
| JP2010019379A true JP2010019379A (ja) | 2010-01-28 |
| JP5784870B2 JP5784870B2 (ja) | 2015-09-24 |
Family
ID=41704489
Family Applications (1)
| Application Number | Title | Priority Date | Filing Date |
|---|---|---|---|
| JP2008181824A Expired - Fee Related JP5784870B2 (ja) | 2008-07-11 | 2008-07-11 | 筒状粘弾性ダンパーの製造方法 |
Country Status (1)
| Country | Link |
|---|---|
| JP (1) | JP5784870B2 (ja) |
Cited By (1)
| Publication number | Priority date | Publication date | Assignee | Title |
|---|---|---|---|---|
| JP2015227396A (ja) * | 2014-05-30 | 2015-12-17 | 株式会社日本触媒 | 振動減衰材用樹脂組成物 |
Citations (11)
| Publication number | Priority date | Publication date | Assignee | Title |
|---|---|---|---|---|
| JPS6313935A (ja) * | 1986-05-27 | 1988-01-21 | Hayakawa Rubber Co Ltd | 拘束型制振管状体 |
| JPH01192937A (ja) * | 1988-01-28 | 1989-08-03 | Nec Corp | パイプ結合構造 |
| JPH0251720U (ja) * | 1988-10-07 | 1990-04-12 | ||
| JP3036568U (ja) * | 1996-10-04 | 1997-04-22 | 郷商事株式会社 | 制振用部材 |
| JPH09239855A (ja) * | 1996-03-12 | 1997-09-16 | Bridgestone Corp | 複合積層体の製造方法 |
| JP2000291708A (ja) * | 1999-04-01 | 2000-10-20 | Kurashiki Kako Co Ltd | 防振ブッシュ及びその製造方法 |
| JP2001141120A (ja) * | 1999-11-15 | 2001-05-25 | Goh Shoji Co Inc | 制振用部材 |
| JP2001279952A (ja) * | 2000-03-31 | 2001-10-10 | Kawaguchi Metal Industries Co Ltd | 免震トリガー機構及びトリガー材 |
| JP2004306528A (ja) * | 2003-04-09 | 2004-11-04 | Mitsubishi Electric Corp | エポキシ樹脂注型物品 |
| JP2004353798A (ja) * | 2003-05-30 | 2004-12-16 | Kurashiki Kako Co Ltd | 防振装置及びその製造方法 |
| JP2005330400A (ja) * | 2004-05-20 | 2005-12-02 | Riken Technos Corp | 熱可塑性樹脂組成物 |
-
2008
- 2008-07-11 JP JP2008181824A patent/JP5784870B2/ja not_active Expired - Fee Related
Patent Citations (11)
| Publication number | Priority date | Publication date | Assignee | Title |
|---|---|---|---|---|
| JPS6313935A (ja) * | 1986-05-27 | 1988-01-21 | Hayakawa Rubber Co Ltd | 拘束型制振管状体 |
| JPH01192937A (ja) * | 1988-01-28 | 1989-08-03 | Nec Corp | パイプ結合構造 |
| JPH0251720U (ja) * | 1988-10-07 | 1990-04-12 | ||
| JPH09239855A (ja) * | 1996-03-12 | 1997-09-16 | Bridgestone Corp | 複合積層体の製造方法 |
| JP3036568U (ja) * | 1996-10-04 | 1997-04-22 | 郷商事株式会社 | 制振用部材 |
| JP2000291708A (ja) * | 1999-04-01 | 2000-10-20 | Kurashiki Kako Co Ltd | 防振ブッシュ及びその製造方法 |
| JP2001141120A (ja) * | 1999-11-15 | 2001-05-25 | Goh Shoji Co Inc | 制振用部材 |
| JP2001279952A (ja) * | 2000-03-31 | 2001-10-10 | Kawaguchi Metal Industries Co Ltd | 免震トリガー機構及びトリガー材 |
| JP2004306528A (ja) * | 2003-04-09 | 2004-11-04 | Mitsubishi Electric Corp | エポキシ樹脂注型物品 |
| JP2004353798A (ja) * | 2003-05-30 | 2004-12-16 | Kurashiki Kako Co Ltd | 防振装置及びその製造方法 |
| JP2005330400A (ja) * | 2004-05-20 | 2005-12-02 | Riken Technos Corp | 熱可塑性樹脂組成物 |
Cited By (1)
| Publication number | Priority date | Publication date | Assignee | Title |
|---|---|---|---|---|
| JP2015227396A (ja) * | 2014-05-30 | 2015-12-17 | 株式会社日本触媒 | 振動減衰材用樹脂組成物 |
Also Published As
| Publication number | Publication date |
|---|---|
| JP5784870B2 (ja) | 2015-09-24 |
Similar Documents
| Publication | Publication Date | Title |
|---|---|---|
| JP6791138B2 (ja) | 粘着シート及び積層体とその製造方法 | |
| JP2008174658A (ja) | 粘着剤用組成物および該組成物を用いた粘着シート、粘着剤付き部材 | |
| JP2009057550A (ja) | 粘着材 | |
| JP6066390B1 (ja) | 粘着剤組成物及び粘着シート、並びに、粘着シートを備えるタッチパネル及び表示装置 | |
| JP2009013361A (ja) | 両面粘着テープ | |
| WO2006088099A1 (ja) | 光学部材用粘着剤、光学部材用粘着剤の製造方法 | |
| JP5197111B2 (ja) | 制振材組成物およびこれを用いた制振構造体 | |
| CN111334198A (zh) | Uv双组份双固化型结构胶 | |
| CN102471643B (zh) | 用于粘接应用的超快速的热/室温粘合剂组合物 | |
| JP2018022053A5 (ja) | ||
| JP2019089947A (ja) | 粘着シート、積層体の製造方法および積層体 | |
| JP2018036468A5 (ja) | ||
| JP5784870B2 (ja) | 筒状粘弾性ダンパーの製造方法 | |
| JP5571332B2 (ja) | 粘弾性ダンパー用プライマー組成物および粘弾性ダンパー | |
| JP4606078B2 (ja) | アクリル系粘弾性体材料 | |
| JP6021716B2 (ja) | 光硬化性粘着剤組成物 | |
| KR20120023123A (ko) | 광경화성 조성물 | |
| JP7136536B2 (ja) | ディスプレイ用封止剤 | |
| JP2019137849A (ja) | ディスプレイ用封止剤 | |
| JP6370382B2 (ja) | 液晶シール剤、および液晶表示パネルの製造方法 | |
| JP2019006860A (ja) | 画像表示装置用粘着シート | |
| JP6693491B2 (ja) | 粘着シート、積層体の製造方法および積層体 | |
| JP2020193279A (ja) | 粘着シート、積層体の製造方法および積層体 | |
| JP6579254B1 (ja) | 積層体及び積層体の製造方法 | |
| JP2018022055A5 (ja) |
Legal Events
| Date | Code | Title | Description |
|---|---|---|---|
| A621 | Written request for application examination |
Free format text: JAPANESE INTERMEDIATE CODE: A621 Effective date: 20110509 |
|
| A977 | Report on retrieval |
Free format text: JAPANESE INTERMEDIATE CODE: A971007 Effective date: 20120822 |
|
| A131 | Notification of reasons for refusal |
Free format text: JAPANESE INTERMEDIATE CODE: A131 Effective date: 20120828 |
|
| A521 | Written amendment |
Free format text: JAPANESE INTERMEDIATE CODE: A523 Effective date: 20121106 |
|
| A131 | Notification of reasons for refusal |
Free format text: JAPANESE INTERMEDIATE CODE: A131 Effective date: 20130528 |
|
| A02 | Decision of refusal |
Free format text: JAPANESE INTERMEDIATE CODE: A02 Effective date: 20140107 |
|
| A521 | Written amendment |
Free format text: JAPANESE INTERMEDIATE CODE: A523 Effective date: 20140501 |
|
| A911 | Transfer of reconsideration by examiner before appeal (zenchi) |
Free format text: JAPANESE INTERMEDIATE CODE: A911 Effective date: 20140618 |
|
| A912 | Removal of reconsideration by examiner before appeal (zenchi) |
Free format text: JAPANESE INTERMEDIATE CODE: A912 Effective date: 20140718 |
|
| A601 | Written request for extension of time |
Free format text: JAPANESE INTERMEDIATE CODE: A601 Effective date: 20150306 |
|
| A521 | Written amendment |
Free format text: JAPANESE INTERMEDIATE CODE: A523 Effective date: 20150528 |
|
| A61 | First payment of annual fees (during grant procedure) |
Free format text: JAPANESE INTERMEDIATE CODE: A61 Effective date: 20150723 |
|
| R150 | Certificate of patent or registration of utility model |
Ref document number: 5784870 Country of ref document: JP Free format text: JAPANESE INTERMEDIATE CODE: R150 |
|
| LAPS | Cancellation because of no payment of annual fees |
